|
|
(21), (22) Заявка: 2004103806/03, 09.02.2004
(24) Дата начала отсчета срока действия патента:
09.02.2004
(30) Конвенционный приоритет:
28.11.2003 KZ 2003/1625.1
(43) Дата публикации заявки: 27.07.2005
(45) Опубликовано: 20.02.2006
(56) Список документов, цитированных в отчете о поиске:
RU 2181430 С1, 20.04.2002. RU 2182961 С2, 27.05.2002. RU 2147066 С1, 27.03.2000. RU 2170340 С1, 10.07.2001. SU 618985 А1, 27.11.1999. RU 2087671 С1, 20.08.1997. SU 866137 А, 26.09.1981. RU 2058477 С1, 20.04.1996. RU 2109931 С1, 27.04.1998. US 5133410 A, 28.07.1992. US 6167868 B1, 02.01.2001.
Адрес для переписки:
480016, г.Алматы, ул. Фурманова, 8, Товарищество с ограниченной ответственностью “Научно-внедренческий центр Алмас”
|
(72) Автор(ы):
Мендебаев Токтамыс Нусипхулович (KZ), Набиев Махамбет Давитович (KZ)
(73) Патентообладатель(и):
Товарищество с ограниченной ответственностью “Научно-внедренческий центр Алмас” (KZ)
|
(54) СПОСОБ И УСТРОЙСТВО РАЗРАБОТКИ НЕФТЯНОЙ ЗАЛЕЖИ
(57) Реферат:
Изобретение относится к нефтяной промышленности и может найти применение при разработке многопластовой нефтяной залежи. Способ включает бурение из вертикальной скважины открытых стволов с расположением в продуктивном пласте многоярусно один над другим в вертикальной плоскости. Стволы проводят в виде перфорационных каналов, нисходящих в сторону вертикальной скважины и на каждом ярусе радиально отходящих от нее в длину и ширину продуктивного пласта. Способ реализуется устройством, включающим цилиндрический корпус с внутренним каналом, отбурочный снаряд с буровым наконечником и соединенный с корпусом распорный узел. Распорный узел содержит конусный шток и выдвижные плашки, при этом нижняя часть конусного штока распорного узла выполнена в виде кольцевого буртика, контактирующего с выдвижными плашками в транспортном положении. Внутренний канал выполнен сквозным и ступенчатым, переходящим в желобообразный клин. Отбурочный снаряд расположен во внутреннем канале с возможностью продольного перемещения и вращения вокруг своей оси и снабжен гидравлически выдвигаемым кулачком с возможностью выхода кулачка из желобообразного клина для бурения перфорационного канала. Изобретения позволяют улучшить условия извлечения нефти из продуктивного пласта за счет формирования взаимодействующих по окружности радиальных потоков нефти, сходящихся в каждом ярусе вертикальной скважины. 2 н.п. ф-лы, 2 ил. 
Изобретение относится к области нефтяной промышленности и может найти применение при разработке многопластовой нефтяной залежи.
Известен способ разработки, включающий бурение вертикальных скважин с боковыми горизонтальными стволами, проведенными по простиранию продуктивного пласта. Журнал «Нефтяное хозяйство», №11, 1998.
Недостаток данного способа заключается в невозможности проводки радиальных скважин в одной горизонтальной плоскости в длину и ширину продуктивного пласта, из-за чего снижается приток нефти в вертикальную скважину, а также возникает необходимость закрепления горизонтальных стволов, перфорация труб, все это влечет затраты и сложность в исполнении, что ограничивает отбор нефти из продуктивных пластов.
За прототип принят способ разработки нефтяной залежи, согласно которому с целью увеличения нефтеотдачи из вертикальной скважины бурят два открытых горизонтальных ствола с расположением в продуктивном пласте один над другим в одной вертикальной плоскости. RU 000218143000, кл. Е 21 В 43/16, 2002. Изобретения стран мира вып.63 №8/2002, с.18.
Однако этот способ также не обеспечивает проводку радиально боковых стволов в одном ярусе вертикальной скважины, охватывающих длину и ширину продуктивного пласта, не создается система взаимодействующих горизонтальных скважин в процессе нефтедобычи, что снижает эффективность разработки нефтяной залежи.
Известно устройство, позволяющее выполнять радиальное разбуривание нескольких боковых стволов скважин через стенку металлической обсадной колонны за один спуск-подъемный рейс инструмента. Патент США №6167968, кл. Е 21 В 43/16, 2002.
Данное устройство пригодно для бурения прилегающего грунта вертикальной скважины и по своим техническим возможностям не может провести горизонтальные стволы в длину и ширину продуктивного пласта.
В качестве ближайшего аналога принято устройство для разработки нефтяной залежи, включающее цилиндрический корпус с внутренним каналом, отбурочный снаряд с буровым наконечником и соединенный с корпусом распорный узел. Патент RU 2182961 С2, кл. Е 21 В 43/11, опубл. 27.05.2002, 8 с.
Недостатком данного устройства является сложность конструкции, ограниченная глубина сверления перфорационных каналов в породе пласта на глубину проникновения фильтрата бурового раствора и более, например до трех метров, из-за чего не обеспечивается объемный охват перфорационными каналами продуктивного пласта в длину и ширину, вследствие чего снижается поступления нефти в скважину.
Кроме того, при этом не предусматривается перекрытие ранее пройденных боковых стволов, тем самым нарушается циркуляция промывочной жидкости и отложение бурового шлама в них.
Задача изобретения – создание гидродинамической системы всасывания нефти из продуктивного пласта путем его разрыхления открытыми радиальными перфорационными каналами.
Технический результат – улучшение условий извлечения нефти из продуктивного пласта за счет формирования взаимодействующих по окружности радиальных потоков нефти, сходящихся в каждом ярусе вертикальной скважины.
Это достигается тем, что в известном способе разработки нефтяной залежи бурением из вертикальной скважины открытых стволов с расположением в продуктивном пласте многоярусно один над другим в вертикальной плоскости, согласно изобретению указанные стволы проводят в виде перфорационных каналов, на каждом ярусе радиально отходящих от вертикальной скважины в длину и ширину продуктивного пласта, причем указанные каналы проводят нисходящими в сторону вертикальной скважины.
Тем самым увеличивается разрыхление продуктивного пласта, его охват перфорационными каналами, формирующими направленные потоки нефти, радиально движущиеся по нисходящей линии в сторону вертикальной скважины, в результате чего за счет пластового давления, силы тяжести потоки нефти в перфорационных каналах приобретают динамическое ускорение, создается межканальная и межярусная гидродинамическая система эжекции – всасывание нефти из продуктивного пласта в вертикальную скважину, улучшаются условия извлечения нефти и повышается эффективность разработки залежи нефти.
Предлагаемый способ реализуется устройством, включающим цилиндрический корпус с внутренним каналом, отбурочный снаряд с буровым наконечником и соединенный с корпусом распорный узел, согласно изобретению распорный узел содержит конусный шток и выдвижные плашки, при этом нижняя часть конусного штока распорного узла выполнена в виде кольцевого буртика, контактирующего с выдвижными плашками в транспортном положении, внутренний канал выполнен сквозным и ступенчатым, переходящим в желобообразный клин, отбурочный снаряд расположен во внутреннем канале с возможностью продольного перемещения и вращения вокруг своей оси и снабжен гидравлически выдвигаемым кулачком с возможностью выхода кулачка из желобообразного клина для бурения перфорационного канала.
Выполнением распорного узла содержащим выдвижные плашки и конусный шток, имеющий в нижней части кольцевой буртик, обеспечивается спуск в скважину распорного узла в висячем положении, раскрепление в рабочем положении и его совместный подъем с цилиндрическим корпусом.
Выполнением внутреннего канала сквозным и ступенчатым, переходящим в желобообразный клин, расположением отбурочного снаряда во внутреннем канале с возможностью продольного перемещения и вращения вокруг своей оси обеспечивается одновременное перекрытие входа ранее пройденных радиальных перфорационных каналов за исключением разбуриваемого в данный момент, тем самым исключается нарушение циркуляции промывочной жидкости в скважине и попадание бурового шлама с разбуриваемого перфорационного канала в другие каналы, осложняющие процесс бурения. Ступень во внутреннем канале является упорной поверхностью для отбурочного снаряда при его движении вверх и служит для подъема устройства, а также совместно с гидравлически выдвигаемым кулачком позволяет ориентировать устройство в вертикальной скважине.
Снабжением отбурочного снаряда гидравлически выдвигаемым кулачком с возможностью выхода кулачка из желобообразного клина для бурения перфорационного канала достигается в процессе бурения прижатие отбурочного снаряда к висячему боку перфорационного канала кулачком, ориентированно скользящим без вращения по лежащему боку перфорационного канала, чем и обеспечивается проводка указанных каналов нисходящими в сторону вертикальной скважины.
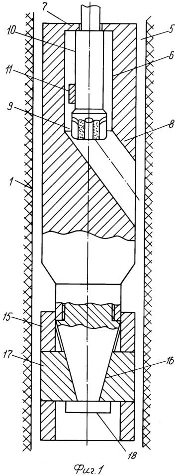
На фиг.1 изображен общий вид устройства в транспортном положении в вертикальной скважине 1, а на фиг.2 – в процессе образования перфорационного канала 2 с висячем боком 3 и лежащим боком 4.
Устройство содержит цилиндрический корпус 5 со сквозным внутренним каналом 6, имеющим ступени 7, внутренний канал 6 выполнен переходящим в желобообразный клин 8, в котором с возможностью продольного перемещения и вращения вокруг своей оси размещен отбурочный снаряд, состоящий из бурового наконечника 9, колонкового набора 10, снабженного гидравлическим выдвигаемым кулачком 11, причем колонковый набор 10 посредством трубы 12 и шарнира 13 соединен с колонной бурильных труб 14.
При этом цилиндрический корпус 5 связан с распорным узлом 15, содержащим конусный шток 16 и выдвижные плашки 17, причем нижняя часть конусного штока 16 выполнена в виде кольцевого буртика 18, контактирующего с выдвижными плашками 17 в транспортном положении.
Предлагаемый способ осуществляется устройством следующим образом.
Собранное устройство спускают в вертикальную скважину 1 (фиг.1) и фиксируют в продуктивном пласте, отмечают угол поворота корпуса 5 относительно сторон света, подачей расчетного количества промывочной жидкости выдвигают кулачок 11 до соприкосновения со стенками сквозного внутреннего канала 6, придавая жесткость устройству, после этого передают осевую нагрузку через колонну бурильных труб 14 и корпус 5 на конусный шток 16 распорного узла 15, под действием чего выдвигают плашки 17 до упора со стенками вертикальной скважины 1. Таким образом раскрепляют устройство в скважине. Затем подачу промывочной жидкости прекращают, отбурочный снаряд, состоящий из бурового наконечника 9, колонкового набора 10, посредством трубы 12 и шарнира 13 соединенный с колонной бурильных труб 14, выводят из сквозного внутреннего канала 6 без вращения, после упора бурового наконечника 9 в стенку вертикальной скважины 1 включают подачу промывочной жидкости и вращения отбурочного снаряда, образуя перфорационный канал 2, при этом гидравлически выдвигаемый кулачок 11, ориентированно без вращения скользя по лежащему боку 4 перфорационного канала 2, прижимает отбурочный снаряд к висячему боку 3, чем и обеспечивается проводка перфорационного канала 2 нисходящими в сторону вертикальной скважины 1. После того, как будет пройден перфорационный канал 2, подачу промывочной жидкости прекращают, кулачок 11 приводят в транспортное положение и отбурочный снаряд затаскивают обратно во внутренний канал 6 с желобообразным клином 8, зацепляя верхним концом колонкового набора 10 за ступени 7 приподнимают устройство в скважине 1, конусный шток 16, двигаясь вверх, возвращает в исходное положение плашки 17, которые опираются на кольцевой буртик 18 и приводят в свободное движение распорный узел 15. Далее, в висячем положении устройства включают подачу промывочной жидкости, кулачок 11, соприкасаясь со стенками сквозного внутреннего канала 6, обеспечивает жесткую связь между цилиндрическим корпусом 5 и отбурочным снарядом, устройство ориентируют в требуемом направлении и закрепляют в скважине 1, после чего процесс проводки очередного перфорационного канала повторяется.
Завершив проводку радиальных перфорационных каналов одного яруса, устройство приводят в транспортное положение и извлекают на дневную поверхность.
Затем вертикальную скважину 1 углубляют до отметки следующего яруса обычным образом, в скважину 1 вновь опускают собранное устройство, предварительно удлинив цилиндрический корпус 5 для перекрытия перфорационных каналов верхнего яруса, далее процесс проводки перфорационных каналов нижнего яруса повторяется.
Таким образом, отличительные признаки предлагаемого способа и устройства разработки нефтяной залежи обеспечивают по сравнению с известными способами и устройствами создание гидродинамической системы всасывания нефти из продуктивного пласта путем его разрыхления открытыми радиальными перфорационными каналами, проведенными нисходящими в сторону вертикальной скважины.
Формула изобретения
1. Способ разработки нефтяной залежи, включающий бурение из вертикальной скважины открытых стволов с расположением в продуктивном пласте многоярусно один над другим в вертикальной плоскости, отличающийся тем, что указанные стволы проводят в виде перфорационных каналов, на каждом ярусе радиально отходящих от вертикальной скважины в длину и ширину продуктивного пласта, причем указанные каналы проводят нисходящими в сторону вертикальной скважины.
2. Устройство разработки нефтяной залежи, включающее цилиндрический корпус с внутренним каналом, отбурочный снаряд с буровым наконечником и соединенный с корпусом распорный узел, отличающееся тем, что распорный узел содержит конусный шток и выдвижные плашки, при этом нижняя часть конусного штока распорного узла выполнена в виде кольцевого буртика, контактирующего с выдвижными плашками в транспортном положении, внутренний канал выполнен сквозным и ступенчатым, переходящим в желобообразный клин, отбурочный снаряд расположен во внутреннем канале с возможностью продольного перемещения и вращения вокруг своей оси и снабжен гидравлически выдвигаемым кулачком с возможностью выхода кулачка из желобообразного клина для бурения перфорационного канала.
РИСУНКИ
|
|