|
|
(21), (22) Заявка: 2004101683/03, 13.01.2004
(24) Дата начала отсчета срока действия патента:
13.01.2004
(43) Дата публикации заявки: 20.06.2005
(45) Опубликовано: 20.02.2006
(56) Список документов, цитированных в отчете о поиске:
RU 2082870 C1, 27.06.1997. SU 1802081 A, 15.03.1993. RU 2079635 C1, 20.05.1997. SU 771326 A, 15.10.1985. SU 841432 A1, 30.05.1986. US 4044827 A, 30.08.1977.
Адрес для переписки:
450081, г.Уфа, ул. Руставелли, 27/3, кв.50, А.В. Турбиной
|
(72) Автор(ы):
Евстигнеев Виктор Алексеевич (RU), Турбина Анна Викторовна (RU), Турбин Дмитрий Валерьевич (RU), Евстигнеев Алексей Викторович (RU)
(73) Патентообладатель(и):
Евстигнеев Виктор Алексеевич (RU)
|
(54) УСТРОЙСТВО ДЛЯ РАЗДЕЛЕНИЯ СТВОЛА СКВАЖИНЫ
(57) Реферат:
Изобретение относится к нефтедобывающей промышленности и может использоваться для разделения ствола скважины, например, при проведении ремонтных работ или для изоляции продуктивного пласта от поврежденных участков обсадной колонны. Устройство выполнено с возможностью доставки в заданный интервал скважины на колонне насосно-компрессорных труб, нижняя часть которых оборудована самоосвобождающим замком. Устройство включает расширяемый патрубок, выполненный с возможностью воздействия на него расклиниватель, упор, выполненный с дисковым ограничителем и срезом по боковой поверхности. Расклиниватель установлен в упор через отверстие в дисковом ограничителе и выполнен с поверхностью для удара и со срезом на боковой поверхности, повторяющим форму бокового среза упора. Расширяемый патрубок имеет конусную форму. Упор с расклинивателем размещены внутри расширяемого патрубка. Повышается надежность. 3 з.п. ф-лы, 1 ил. 
Изобретение относится к нефтедобывающей промышленности и может использоваться для разделения ствола скважины, например, при проведении ремонтных работ в скважине или для изоляции продуктивного пласта от поврежденных участков обсадной колонны.
Известны устройства для разделения ствола скважины в частности цементно-металлические (В.А.Харьков. Капитальный ремонт нефтяных и газовых скважин, 1969 г.).
Известны также устройства для разделения ствола скважины, основанные на его расширении и прижатии к обсадной колонне (авт. свид. СССР №909114, кл. Е 21 В 29/00, 1982 г.).
Наиболее близким устройством того же назначения к заявляемому изобретению по совокупности признаков, является устройство для разделения ствола скважины, выполненное с возможностью доставки в заданный интервал скважины на колонне насосно-компрессорных труб, нижняя часть которой оборудована самоосвобождающимся замком, включающее расширяемый патрубок и выполненный с возможностью воздействия на него расклиниватель (патент RU 2082870, кл. Е 21 В 29/00) – принят за прототип.
К причинам, препятствующим достижению указанного ниже технического результата, при использовании известного устройства, принятого за прототип, является его ненадежность из-за возможности прорыва воды в горизонтальный ствол.
Технический результат – улучшение надежности работы устройства.
Указанный технический результат при осуществлении изобретения достигается тем, что известное устройство для разделения ствола скважины, выполненное с возможностью доставки в заданный интервал скважины на колонне насосно-компрессорных труб, нижняя часть которой оборудована самоосвобождающимся замком, включающее расширяемый патрубок и выполненный с возможностью воздействия на него расклиниватель, снабжено упором, выполненным с дисковым ограничителем и срезом по боковой поверхности, расклиниватель установлен в упор через отверстие в дисковом ограничителе и выполнен с поверхностью для удара и со срезом на боковой поверхности, повторяющим форму бокового среза упора, расширяемый патрубок имеет конусную форму, при этом упор с расклинивателем размещены внутри расширяемого патрубка, поверхность для удара расклинивателя выполнена в виде конуса с прорезями, устройство также снабжено уплотнительными элементами, установленными на внешней боковой поверхности расширяемого патрубка и под дисковым ограничителем, при этом расширяемый патрубок выполнен из полиэтилена, а упор и расклиниватель из дюралюминия.
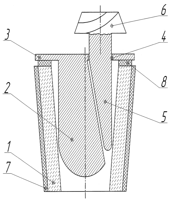
Устройство для разделения ствола скважины, выполненное с возможностью доставки в заданный интервал скважины на колонне насосно-компрессорных труб, нижняя часть которой оборудована самоосвобождающим замком, включает расширяемый патрубок 1 из эластичного материала (полиэтилена), имеющий конусную форму, упор 2, выполненный с дисковым ограничителем 3 в верхней части и срезом по боковой поверхности, при этом в упор через отверстие 4 в дисковом ограничителе установлен расклиниватель 5, с поверхностью для удара 6 в верхней части в виде конуса с продольными или спиральными прорезями, на боковой поверхности расклинивателя выполнен срез, повторяющий форму бокового среза упора, при этом упор и расклиниватель размещены внутри расширяемого патрубка, устройство также снабжено уплотнительными элементами 7, установленными на внешней боковой поверхности расширяемого патрубка 1 и 8 под дисковым ограничителем.
Устройство работает следующим образом.
Устройство для разделения ствола скважины, включающее расширяемый патрубок с размещенными внутри упором 2 и расклинивателем 5, изготовленным из дюралюминия, доставляют в заданный интервал на колонне насосно-компрессорных труб (не показана), нижняя часть которой оборудована самоосвобождающимся замком и бойком из дюралюминия. Далее внутрь насосно-компрессорных труб опускают колонну штанг, сила тяжести которой оказывает воздействие (усилие) на расклиниватель 5, на его поверхность для удара 6, в верхней части, выполненную в виде конуса с продольными или спиральными прорезями, конус под воздействием усилия раскрывается и предотвращает тем самым заклинивание штанги во время удара. Расклиниватель 5 через отверстие 4 дискового ограничителя 3 по боковому срезу упора 2, перемещается внутрь расширяемого патрубка 1 и создает усилие на внутреннюю поверхность боковых стенок патрубка – полиэтиленового конуса, которые в свою очередь раздвигаются и плотно прилегают к внутренней стенке обсадной колонны скважины, надежно перекрывая ствол скважины, при этом уплотнительный элемент 7 способствует более полному прилеганию патрубка 1, а уплотнительный элемент 8 обеспечивает лучшую герметичность устройства.
Таким образом, за счет такого выполнения заявляемого устройства для разделения ствола скважины, надежно обеспечивается герметизация и разделение ствола скважины.
Формула изобретения
1. Устройство для разделения ствола скважины, выполненное с возможностью доставки в заданный интервал скважины на колонне насосно-компрессорных труб, нижняя часть которой оборудована самоосвобождающим замком, включающее расширяемый патрубок и выполненный с возможностью воздействия на него расклиниватель, отличающееся тем, что оно снабжено упором, выполненным с дисковым ограничителем и срезом по боковой поверхности, расклиниватель установлен в упор через отверстие в дисковом ограничителе и выполнен с поверхностью для удара и со срезом на боковой поверхности, повторяющим форму бокового среза упора, расширяемый патрубок имеет конусную форму, при этом упор с расклинивателем размещены внутри расширяемого патрубка.
2. Устройство по п.1, отличающееся тем, что поверхность для удара расклинивателя выполнена в виде конуса с прорезями.
3. Устройство по п.1 или 2, отличающееся тем, что оно снабжено уплотнительными элементами, установленными на внешней боковой поверхности расширяемого патрубка и под дисковым ограничителем.
4. Устройство по п.1 или 2, отличающееся тем, что расширяемый патрубок выполнен из полиэтилена, а упор и расклиниватель из – дюралюминия.
РИСУНКИ
|
|