|
|
(21), (22) Заявка: 2004103522/03, 06.02.2004
(24) Дата начала отсчета срока действия патента:
06.02.2004
(43) Дата публикации заявки: 27.07.2005
(45) Опубликовано: 20.02.2006
(56) Список документов, цитированных в отчете о поиске:
US 2559315 A, 03.07.1951. SU 810937 A, 07.03.1981. SU 1032167 A, 30.07.1983. RU 2183252 C1, 10.06.2002. SU 976022 А, 23.11.1982. US 2295630 A, 15.09.1942. US 4023847 A, 17.05.1977.
Адрес для переписки:
443026, г.Самара, Красноглинское ш., 68, А.В. Чеповецкому
|
(72) Автор(ы):
Чеповецкий Александр Васильевич (RU), Чеповецкая Инна Николаевна (RU), Чеповецкая Эльвина Александровна (RU)
(73) Патентообладатель(и):
Чеповецкий Александр Васильевич (RU), Чеповецкая Инна Николаевна (RU), Чеповецкая Эльвина Александровна (RU)
|
(54) НАРУЖНАЯ ОСВОБОЖДАЮЩАЯСЯ ТРУБОЛОВКА
(57) Реферат:
Изобретение относится к бурению и капитальному ремонту скважин, в частности к ловильному инструменту. Труболовка содержит корпус с внутренней спиральной конической поверхностью и с винтовым уступом, установленный в корпусе с возможностью осевого перемещения спиральный ленточный захватывающий элемент с поводковым флажком в нижней его части. На наружной поверхности элемента выполнена спиральная коническая поверхность, а на внутренней – винтовая ловильная нарезка, направляющее кольцо и направляющее приспособление. В нижней части корпуса эксцентрично его оси выполнена внутренняя кольцевая поверхность на спиральной конической поверхности. Под внутренней кольцевой поверхностью эксцентрично оси корпуса над резьбой в нижней его части выполнено кольцевое седло. На внутренней кольцевой поверхности и на внутренней поверхности седла на глубину винтового уступа в корпусе выполнен продольный уступ с возможностью взаимодействия с нижним концом захватывающего элемента и боковой поверхностью флажка. В верхней части на наружной поверхности направляющего кольца эксцентрично его оси выполнена кольцевая посадочная шейка. Шейка неподвижно размещена в эксцентричном кольцевом седле корпуса на внутренней поверхности флажка с возможностью его осевого и радиального перемещения. Повышается надежность освобождения труболовки. 3 ил. 
Изобретение относится к бурению и капитальному ремонту скважин, в частности к ловильному инструменту, и предназначено для захвата и извлечения из скважины аварийной колонны труб.
Известна наружная освобождающаяся труболовка, содержащая корпус, спиральный ленточный захватывающий элемент, установленный в корпусе с возможностью осевого перемещения, причем на наружной поверхности спирального ленточного захватывающего элемента и на внутренней поверхности корпуса выполнена спиральная коническая поверхность, а на внутренней поверхности спирального ленточного захватывающего элемента выполнена винтовая ловильная нарезка, и приспособление (1. Патент США №2174077, МКИ 294-86.17, 1937). Недостатком указанной труболовки является низкая надежность освобождения из-за возможности заклинивания труболовки на аварийной трубе при кручении без осевых нагрузок.
Наиболее близким техническим решением из известных является наружная освобождающаяся труболовка, содержащая корпус с внутренней спиральной конической поверхностью и с винтовым уступом, установленный в корпусе с возможностью осевого перемещения спиральный ленточный захватывающий элемент с поводковым флажком в нижней его части, на наружной поверхности спирального ленточного захватывающего элемента выполнена спиральная коническая поверхность, а на внутренней – винтовая ловильная нарезка, направляющее кольцо с поводковым пальцем, установленным в продольном пазу спиральной конической поверхности корпуса, и приспособление (2. Патент США №2559315, МКИ 294-86.17, 1948; или Overshot with Spiral Grapple (наружная освобождающаяся труболовка), продольный разрез (общий вид), изображена – см. Bowen Tools, Inc. 1978-1979, General cataloq, стр.949).
Недостатком указанной труболовки является низкая надежность освобождения труболовки из-за возможности перекоса, деформации, малой устойчивости спирального ленточного захватывающего элемента и надежности его контакта с аварийной трубой при кручении без осевых нагрузок, поскольку наличие установленного в продольном пазу спиральной конической поверхности корпуса поводкового пальца направляющего кольца не оказывает существенного влияния на надежность освобождения труболовки.
Цель изобретения – повышение надежности освобождения труболовки.
Указанная цель достигается тем, что в нижней части корпуса эксцентрично его оси выполнена внутренняя кольцевая поверхность на длину шага спиральной конической поверхности, а под внутренней эксцентричной кольцевой поверхностью в корпусе эксцентрично оси корпуса над резьбой в нижней его части выполнено кольцевое седло, причем на внутренней эксцентричной кольцевой поверхности и на внутренней поверхности эксцентричного кольцевого седла на глубину винтового уступа в корпусе выполнен продольный уступ с возможностью взаимодействия с нижним концом спирального ленточного захватывающего элемента и боковой поверхностью поводкового флажка, нижний конец спирального ленточного захватывающего элемента посредством продольной торцевой поверхности и продольной боковой поверхности поводкового флажка связан с корпусом посредством продольного уступа в корпусе на его внутренней эксцентричной кольцевой поверхности и на внутренней поверхности эксцентричного кольцевого седла, при этом в верхней части на наружной поверхности направляющего кольца эксцентрично его оси выполнена кольцевая посадочная шейка, которая неподвижно размещена в эксцентричном кольцевом седле корпуса на внутренней поверхности поводкового флажка с возможностью его осевого и радиального перемещения в корпусе.
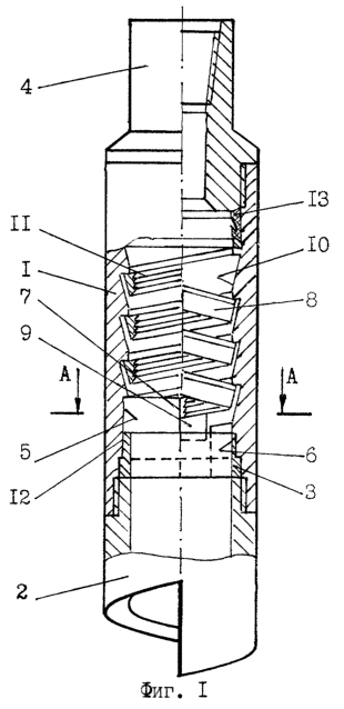
На фиг.1 изображена наружная освобождающаяся труболовка (спиральный ленточный захватывающий элемент в крайнем верхнем свободном положении), продольный разрез (общий вид); на фиг.2 – сечение А-А на фиг.1; на фиг.3 – продольный разрез (общий вид) другого варианта соединения нижней части труболовки с направляющей воронкой.
Труболовка включает в себя корпус 1. В нижней части корпуса имеется резьба, например, внутренняя для присоединения направляющего приспособления, например направляющей воронки 2. В корпусе 1 в нижней его части на верхнем торце направляющей воронки 2 размещено направляющее кольцо 3. В верхней части корпуса имеется резьба для присоединения корпуса 1 труболовки посредством переводника 4 к колонне ловильного инструмента. В нижней части корпуса 1 эксцентрично его оси выполнена внутренняя кольцевая поверхность 5. Под внутренней эксцентричной кольцевой поверхностью 5 в корпусе 1 эксцентрично оси корпуса 1 над резьбой в нижней его части выполнено кольцевое седло 6. На внутренней эксцентричной кольцевой поверхности 5 и на внутренней поверхности эксцентричного кольцевого седла 6 корпуса 1 выполнен продольный уступ 7, который образован выполненным при этом продольным пазом. В корпусе 1 установлен с возможностью осевого перемещения спиральный ленточный захватывающий элемент 8. В нижней части спирального ленточного захватывающего элемента 8 неподвижно установлен и жестко закреплен поводковый флажок 9, обеспечивающий беспрепятственный заход аварийной трубы вовнутрь труболовки. На внутренней поверхности корпуса 1 и на наружной поверхности спирального ленточного захватывающего элемента 8 выполнена спиральная коническая поверхность 10, например левая для правой колонны ловильного инструмента.
Для обеспечения максимальной подъемной силы, которая прикладывается к труболовке при извлечении колонны труб из скважины, угол наклона конической поверхности 10 корпуса 1 и спирального ленточного захватывающего элемента 8 при соответствующей длине зоны захвата трубы выполнен из условия обеспечения прочности соединения труболовки с трубой, близкой к пределу прочности извлекаемой колонны труб, и обеспечения самозаклинивания спирального ленточного захватывающего элемента 8. Спиральная коническая поверхность 10 образует винтовой уступ в корпусе 1. Высота внутренней эксцентричной кольцевой поверхности 5 выполнена в корпусе 1 на длину шага спиральной конической поверхности 10 корпуса 1 или может быть выполнена на 2/3 длины шага спиральной конической поверхности 10. Диаметр внутренней эксцентричной кольцевой поверхности 5 и диаметр внутренней поверхности эксцентричного кольцевого седла 6 позволяют свободно устанавливать спиральный ленточный захватывающий элемент 8 с поводковым флажком 9 в транспортное положение внутри корпуса 1. Продольный паз в корпусе 1, выполненный на внутренней эксцентричной кольцевой поверхности 5 и на внутренней поверхности эксцентричного кольцевого седла 6, образует боковой поверхностью продольный уступ 7, который выполнен в корпусе 1 с возможностью взаимодействия с нижним концом спирального ленточного захватывающего элемента 8 и боковой поверхностью поводкового флажка 9. Высота продольного уступа 7 эксцентричной кольцевой поверхности 5 в корпусе 1 выполнена на глубину винтового уступа спиральной конической поверхности 10 корпуса 1. В зависимости от увеличения типоразмера захватываемой трубы высота продольного уступа 7 эксцентричной кольцевой поверхности 5 в корпусе 1 может быть выполнена соответственно меньше высоты винтового уступа спиральной конической поверхности 10 корпуса 1. На противоположной боковой поверхности продольного паза по отношению к продольному уступу 7 продольный паз на внутренней эксцентричной кольцевой поверхности 5 корпуса 1 переходит в спиральную коническую поверхность 10 корпуса 1. В продольном пазу на внутренней эксцентричной кольцевой поверхности 5 и на внутренней поверхности эксцентричного кольцевого седла 6 в корпусе 1 расположен поводковый флажок 9 спирального ленточного захватывающего элемента с возможностью осевого и радиального перемещения. При этом нижний конец спирального ленточного захватывающего элемента 8 посредством продольной торцевой поверхности и продольной боковой поверхности поводкового флажка 9 связан с корпусом 1 посредством продольного уступа 7, размещенного на внутренней эксцентричной кольцевой поверхности 5 и на внутренней поверхности эксцентричного кольцевого седла 6, выполненных в нижней части корпуса 1, что обеспечивает надежную передачу вращающего момента от корпуса 1 к спиральному ленточному захватывающему элементу 8 при освобождении труболовки от аварийной трубы.
Продольный уступ 7 эксцентричной кольцевой поверхности 5 и внутренней поверхности эксцентричного кольцевого седла 6 в корпусе 1 выполнен, например, с клинообразным профилем, односторонне сужающимся в радиальном направлении к оси корпуса 1, что повышает жесткость отвода нижнего конца спирального ленточного захватывающего элемента 8 от поверхности трубы и устойчивость центрирования труболовки на наружной поверхности трубы при кручении без осевых нагрузок в процессе проведения рабочего цикла освобождения труболовки. Продольный нижний конец спирального ленточного захватывающего элемента 8 имеет клинообразный профиль, односторонне сужающийся в радиальном направлении от его оси. Продольная поверхность нижнего конца спирального ленточного захватывающего элемента 8 и контактирующая с ней поверхность продольного уступа 7 выполнены равнонаклонными к образующей цилиндрической поверхности в продольном пазу корпуса 1.
Для увеличения, например, несущей способности (грузоподъемности) труболовки спиральная коническая поверхность 10, например, корпуса 1 может быть выполнена или с цилиндрической поверхностью, образующей ленточную винтовую поверхность в нижней части спиральной конической поверхности 10 корпуса 1, или другой формы. Винтовой уступ спиральной конической поверхности 10 корпуса 1 и контактирующий с ним в крайнем верхнем положении верхний винтовой торец спирального ленточного захватывающего элемента 8 могут быть выполнены или под прямым углом к оси корпуса 1, или с клинообразным профилем для центрирования труболовки либо при заходе аварийной трубы внутрь труболовки, либо при ее освобождении от аварийной трубы, а именно: винтовой уступ спиральной конической поверхности 10 в корпусе 1 – с клинообразным профилем, односторонне сужающимся к оси корпуса 1, а верхний винтовой торец спирального ленточного захватывающего элемента 8 – с клинообразным профилем, односторонне расширяющимся от его оси.
Для обеспечения сцепления с наружной поверхностью аварийной трубы и для обеспечения освобождения труболовки на внутренней поверхности спирального ленточного захватывающего элемента 8 предусмотрена винтовая ловильная нарезка 11, имеющая то же направление и шаг, что и спиральная коническая поверхность 10. Винтовая ловильная нарезка 11 имеет соответствующее число заходов и выполнена, например, с упорным треугольным профилем для увеличения сцепления с наружной поверхностью аварийной трубы.
В верхней части на наружной поверхности направляющего кольца 3 эксцентрично его оси выполнена кольцевая посадочная шейка 12. При этом высота и наружный диаметр эксцентричной кольцевой посадочной шейки 12 выполнены с возможностью свободного осевого и радиального перемещения поводкового флажка 9 в продольном пазу корпуса 1. В эксцентричном кольцевом седле 6 корпуса 1 на внутренней поверхности поводкового флажка 9 неподвижно размещена эксцентричная кольцевая посадочная шейка 12 направляющего кольца 3, образуя неподвижное эксцентриковое соединение его с корпусом 1. Посредством эксцентрикового соединения направляющее кольцо 3 с эксцентричной кольцевой посадочной шейкой 12 закреплено в корпусе 1 от вращения.
Внутренний диаметр направляющего кольца 3 выполнен больше наружного диаметра захватываемой трубы с обеспечением соответствующего зазора для обеспечения свободного прохождения ее внутрь труболовки.
В корпусе 1 над спиральной конической поверхностью 10 для создания герметичности между наружной поверхностью аварийной трубы и внутренней поверхностью труболовки устанавливается на упорном кольце уплотнение 13, например, манжетное, которое позволяет восстанавливать циркуляцию промывочной жидкости, производить интенсивную промывку, устанавливать нефтяные и кислотные ванны.
Нижний конец направляющей воронки 2 для обеспечения совмещения осей труболовки и извлекаемой колонны труб может быть выполнен или с вырезом по винтовой линии, образующей уступ, и с конической фаской на внутренней поверхности; или для обеспечения захвата вблизи высаженной части, либо замковой части, либо других выступов трубы с кольцевой конической фаской на внутренней поверхности; или в случае отклонения верхнего конца извлекаемой колонны труб от центра скважины с вырезом по спиральной линии, переходящим в фигурный продольный паз с отводным крюком для обеспечения отвода верхнего конца извлекаемых труб из «каверны» скважины или от стенки скважины и ввода внутрь труболовки.
Для центрирования труболовки в скважине, когда диаметр скважины значительно больше диаметра извлекаемых труб, наружный диаметр нижней части направляющей воронки 2 может быть выполнен по диаметру скважины с обеспечением соответствующего зазора для прохождения труболовки в скважине.
В рамках изобретения может быть выполнен другой вариант соединения нижней части труболовки с направляющей воронкой для обеспечения захвата труб малых диаметров (фиг.3). При этом направляющее кольцо может быть выполнено неразъемно с направляющей воронкой 2 в виде кольцевой посадочной шейки, выполненной концентрично в верхней части над резьбой направляющей воронки 2. Кольцевая посадочная шейка направляющей воронки 2 концентрично размещена в эксцентричном кольцевом седле 6 корпуса 1 на внутренней поверхности поводкового флажка 9. Причем высота и наружный диаметр кольцевой посадочной шейки направляющей воронки 14 выполнены с возможностью свободного осевого и радиального перемещения поводкового флажка 9 в продольном пазу корпуса 1.
Перед проведением ловильных работ «аварийную голову» извлекаемых труб подготавливают к ловильным работам. Для этого верхнюю часть извлекаемых труб или затрубное пространство между стенкой скважины и извлекаемой трубой очищают либо обрабатывают при помощи соответствующих кольцевых или торцовых фрез, армированных твердым сплавом.
Подготовленная к работе труболовка присоединяется к колонне ловильного инструмента и опускается в скважину. При близком подходе к «голове» извлекаемых труб начинают медленно опускать труболовку. Направляющая воронка 2 совмещает ось труболовки с осью извлекаемой колонны труб. Если труболовка встала на верхний торец извлекаемых труб, то, выбрав полный вес ловильного инструмента, осторожно поворачивают труболовку вправо и медленно опускают ловильный инструмент. Момент входа трубы в труболовку ощущается толчком и четко фиксируется колебанием стрелки индикатора веса. Затем труболовку опускают без вращения. При движении труболовки вниз поводковый флажок 9 направляет верхний торец трубы вовнутрь труболовки. Под действием веса ловильного инструмента спиральный ленточный захватывающий элемент 8, внутренний диаметр которого меньше наружного диаметра трубы, при контакте с трубой, упруго деформируясь, разжимается в радиальном направлении и надвигается на трубу. Спиральный ленточный захватывающий элемент 8 благодаря силам упругости обжимает стенку трубы и поднимается в крайнее верхнее положение до упора его верхнего винтового торца в винтовой уступ корпуса 1. Труболовка проходит «голову» извлекаемой трубы и вводится в зону недеформированной части трубы. Затем производят натяжку инструмента. Корпус 1 при этом перемещается вверх. Спиральный ленточный захватывающий элемент 8 вследствие плотного контакта со стенкой трубы под действием сил трения заклинивается между стенкой трубы и спиральной конической поверхностью 7 корпуса 1. В результате осуществляется надежный захват аварийной колонны труб.
При необходимости освободить труболовку от прихваченных труб сначала разгружают ловильный инструмент, т.е. создают его весом осевую силу, достаточную для расклинивания корпуса 1 и спирального ленточного захватывающего элемента 8 с обеспечением гарантированного зазора между их спиральными коническими поверхностями 10. Корпус 1 при этом перемещается вниз до упора его винтового уступа в верхнюю торцевую 2 поверхность спирального ленточного захватывающего элемента 8. Спиральный ленточный захватывающий элемент 8, внутренняя поверхность которого прижата силами упругости к наружной поверхности трубы, занимает крайнее верхнее положение. Затем, вращая инструмент вправо, одновременно медленно поднимают труболовку. Спиральный ленточный захватывающий элемент 8 упирается своим нижним концом и боковой поверхностью верхней части поводкового флажка 6 в продольный уступ 7 корпуса 1. В результате корпус 1 передает крутящий момент спиральному ленточному захватывающему элементу 8 с поводковым флажком 9, надежно удерживая спиральный ленточный захватывающий элемент 8 без перекоса в крайнем верхнем положении от винтового перемещения или смещения вниз по спиральной конической поверхности 10 корпуса 1, благодаря высокой прочности на изгиб, на смятие и на срез продольного уступа 7 в корпусе 1. При этом наличие продольного уступа 7 в корпусе 1 на внутренней эксцентричной кольцевой поверхности 5 и на внутренней поверхности эксцентричного кольцевого седла 6 корпуса 1 повышенной прочности и жесткости предотвращает деформацию спирального ленточного захватывающего элемента 8, повышая его устойчивость и надежность контакта с трубой при кручении (вращении) труболовки без осевой нагрузки. Продольный уступ 7 с клинообразным профилем эксцентричной кольцевой поверхности 5 и эксцентричной кольцевой поверхности седла 6 в корпусе 1 при вращении инструмента центрирует труболовку на трубе, повышая надежность отвода нижнего конца спирального ленточного захватывающего элемента 8 от наружной поверхности трубы, что уменьшает момент сопротивления свинчиванию труболовки при ее освобождении от трубы. Спиральный ленточный захватывающий элемент 8, не имея возможности поворачиваться относительно корпуса 1, вращаясь с труболовкой, начинает вывинчиваться по трубе посредством винтовой ловильной нарезки 11. Продолжая вращать и одновременно поднимать ловильный инструмент, в результате производят надежное освобождение труболовки от аварийной колонны «свинчиванием».
Применение предлагаемой труболовки позволит за счет повышения надежности освобождения труболовки от прихваченной колонны труб сократить время, затрачиваемое на ликвидацию аварий, в результате предотвращения затрат времени на ликвидацию «своих» аварий, связанных с извлечением из скважины оставшихся труб и неосвобожденной труболовки.
Формула изобретения
Наружная освобождающаяся труболовка, содержащая корпус с внутренней спиральной конической поверхностью и с винтовым уступом, установленный в корпусе с возможностью осевого перемещения спиральный ленточный захватывающий элемент с поводковым флажком в нижней его части, на наружной поверхности спирального ленточного захватывающего элемента выполнена спиральная коническая поверхность, а на внутренней – винтовая ловильная нарезка, направляющее кольцо и направляющее приспособление, отличающаяся тем, что в нижней части корпуса, эксцентрично его оси выполнена внутренняя кольцевая поверхность на длину шага спиральной конической поверхности, а под внутренней эксцентричной кольцевой поверхностью в корпусе эксцентрично оси корпуса над резьбой в нижней его части выполнено кольцевое седло, причем на внутренней эксцентричной кольцевой поверхности и на внутренней поверхности эксцентричного кольцевого седла на глубину винтового уступа в корпусе выполнен продольный уступ с возможностью взаимодействия с нижним концом спирального ленточного захватывающего элемента и боковой поверхностью поводкового флажка, при этом в верхней части на наружной поверхности направляющего кольца, эксцентрично его оси выполнена кольцевая посадочная шейка, которая неподвижно размещена в эксцентричном кольцевом седле корпуса на внутренней поверхности поводкового флажка с возможностью его осевого и радиального перемещения.
РИСУНКИ
|
|