|
|
(21), (22) Заявка: 2004121881/03, 16.07.2004
(24) Дата начала отсчета срока действия патента:
16.07.2004
(45) Опубликовано: 20.02.2006
(56) Список документов, цитированных в отчете о поиске:
SU 1712581 A, 15.02.1992. SU 976020 A, 27.05.1981. SU 1070989 A1, 30.08.1994. RU 2172387 C2, 20.08.2001. US 4976322 A, 11.12.1990.
Адрес для переписки:
423236, Республика Татарстан, г. Бугульма, ул. М. Джалиля, 32, “ТатНИПИнефть”, сектор создания и развития промышленной собственности
|
(72) Автор(ы):
Ибрагимов Наиль Габдулбариевич (RU), Абдрахманов Габдрашит Султанович (RU), Ибатуллин Равиль Рустамович (RU), Хамитьянов Нигаматьян Хамитович (RU), Вильданов Наиль Назымович (RU), Филиппов Виталий Петрович (RU), Багнюк Сергей Леонидович (RU), Манаков Геннадий Павлович (RU)
(73) Патентообладатель(и):
Открытое акционерное общество “Татнефть” им. В.Д. Шашина (RU)
|
(54) УСТРОЙСТВО ДЛЯ ПЕРЕКРЫТИЯ ЗОН ОСЛОЖНЕНИЯ БУРЕНИЯ В СКВАЖИНЕ
(57) Реферат:
Изобретение относится к нефтегазодобывающей промышленности, а именно к устройствам для перекрытия зон осложнения бурения в скважинах. Устройство содержит перекрыватель из профильных и цилиндрических труб, башмак с элементом для отсоединения его от перекрывателя, развальцеватели, узел соединения с колонной бурильных труб и шаровой обратный клапан. Нижний развальцеватель соединен с верхним концом перекрывателя и имеет приспособление для соединения с элементом для отсоединения башмака. Седло обратного клапана размещено над перекрывателем и имеет перекрестные каналы, одни из которых сообщают полость бурильных труб с затрубным пространством, а другие – с полостью перекрывателя. Элемент для отсоединения башмака от перекрывателя выполнен в виде двухступенчатого выступа, на нижней ступени которого выполнены продольные шлицы, а на верхней – кольцевые канавки. Приспособление нижнего развальцевателя выполнено в виде колпака, в который ввинчена втулка с торцевыми выступами и прорезями, соответствующими шлицам нижней ступени башмака, и имеющая кольцевые канавки с вмонтированными в них стопорными элементами в виде разрезных пружинных колец, выполненных с возможностью взаимодействия с кольцевыми канавками верхней ступени выступа башмака при отсоединении его от перекрывателя. Расширяются технологические возможности и повышается работоспособность. 4 ил. 
Изобретение относится к нефтегазодобывающей промышленности, а именно к устройствам для перекрытия зон осложнения бурения в скважинах.
Известно устройство для изоляции зон осложнения бурения в скважинах, содержащее перекрыватель из профильных и цилиндрических труб, на нижнем конце которого установлен башмак с шаровым обратным клапаном и резьбой для отсоединения его от перекрывателя (патент РФ №2208125, кл. МПК Е 21 В 29/10, 2003 г.). Причем шар клапана расположен в боковом углублении и подпружинен.
Недостатком этого устройства является низкая работоспособность, поскольку не всегда удается отсоединить башмак от перекрывателя из-за повреждения его резьбы развальцевателем при одновременном развальцовывании перекрывателя и ввинчивании ниппельной резьбы развальцевателя в муфтовую резьбу башмака. Кроме того, вследствие попадания в башмак скважинного шлама, затруднен выход запорного элемента обратного клапана из углубления в стенке башмака, а также не обеспечивается герметичное закрытие клапана, что затрудняет создание необходимого давления при расширении труб перекрывателя.
Наиболее близким к заявляемому по технической сущности и количеству совпадающих существенных признаков является устройство для перекрытия зоны осложнения бурения в скважине, включающее перекрыватель из профильных и цилиндрических труб, на нижнем цилиндрическом участке которого закреплен башмак с элементом для отсоединения его от перекрывателя, и развальцеватели, нижний из которых соединен с верхним концом перекрывателя и имеет приспособление для взаимодействия с элементом для отсоединения башмака, узел соединения развальцевателей с колонной бурильных труб и обратный клапан, содержащий седло (авт. свид. СССР №1712581, кл. МПК Е 21 В 29/10, 33/13, 1992 г.).
Недостатками этого устройства являются ограниченность его функциональных возможностей и низкая работоспособность. Так, в случае установки обратного клапана с шаровым запорным элементом в башмаке, невозможно осуществлять промывку скважины, следствием чего является попадание во внутреннюю полость перекрывателя и пространство за его наружной стенкой шлама, в результате чего становится невозможным не только герметичное закрытие клапана, но и установка перекрывателя или даже недоспуск его до необходимого интервала, особенно в горизонтальных и наклонно-направленных скважинах. Осуществление другого варианта, когда шар сбрасывают в трубы после спуска перекрывателя в скважину, также не всегда возможно, поскольку конструкции некоторых развальцевателей, например, наиболее работоспособных, со сферическим вальцующим элементом, не позволяют осуществлять эту операцию из-за отсутствия проходного канала необходимой величины.
Кроме того, в известном устройстве башмак при отсоединении от перекрывателя падает на забой скважины, что создает дополнительные трудности, связанные с его последующим разбуриванием.
Технической задачей изобретения является расширение технологических возможностей устройства и повышение его работоспособности.
Это достигается тем, что в описываемом устройстве для перекрытия зон осложнения бурения в скважине, включающем перекрыватель из профильных и цилиндрических труб, на нижнем цилиндрическом участке которого закреплен башмак с элементом для отсоединения его от перекрывателя, и развальцеватели, нижний из которых соединен с верхним концом перекрывателя и имеет приспособление для взаимодействия с элементом для отсоединения башмака от перекрывателя, узел соединения устройства с колонной бурильных труб и шаровой обратный клапан, содержащий седло, согласно изобретению седло шарового обратного клапана размещено над перекрывателем и выполнено с перекрестными каналами, одни из которых служат для сообщения полости колонны бурильных труб с затрубным пространством, а другие – с полостью перекрывателя; элемент для отсоединения башмака от перекрывателя выполнен в виде двухступенчатого выступа, на нижней ступени которого выполнены продольные шлицы, а на верхней – кольцевые канавки, при этом приспособление нижнего развальцевателя для взаимодействия с элементом для отсоединения башмака от перекрывателя выполнено в виде колпака, в который ввинчена втулка с торцевыми выступами и прорезями, соответствующими шлицам нижней ступени выступа башмака, и имеющая кольцевые канавки с вмонтированными в них стопорными элементами в виде разрезных пружинных колец, выполненных с возможностью взаимодействия с кольцевыми канавками верхней ступени выступа башмака при отсоединении его от перекрывателя.
Это позволяет расширить технологические возможности и повысить работоспособность устройства за счет обеспечения возможности промывки скважины при спуске в нее устройства при использовании в его компоновке развальцевателей различных модификаций.
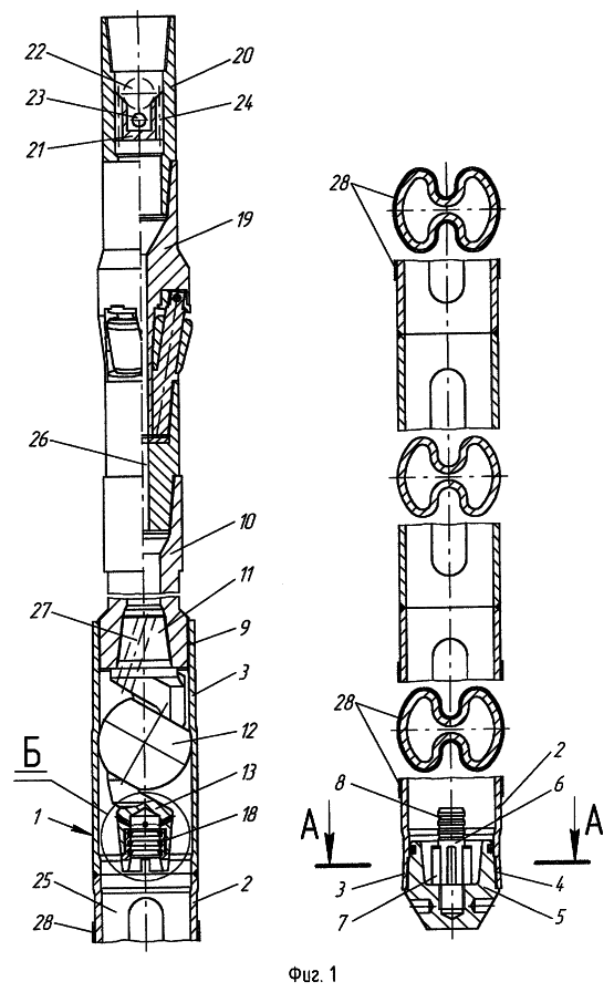
На фиг.1 показано устройство для перекрытия зон осложнения бурения в скважине в транспортном положении (разрез); на фиг.2 – вид “Б” на фиг.1 (увеличено); на фиг.3 – сечение А-А на фиг.1 (увеличено); на фиг.4 – устройство после перекрытия зоны осложнения бурения в скважине.
Устройство для перекрытия зон осложнения бурения в скважине содержит перекрыватель 1 (фиг.1), скомпонованный из профильных 2 и цилиндрических 3 труб. На нижнем цилиндрическом участке 4 с помощью резьбы 5 закреплен башмак 6 с элементом для отсоединения его от перекрывателя 1, выполненным в виде двухступенчатого выступа 7, на нижней ступени которого выполнены продольные шлицы 8 (фиг.1, 3), а на верхней – кольцевые канавки 9. Верхний конец перекрывателя 1 с помощью правой сквозной резьбы 10 соединен посредством переходника 11 с нижним развальцевателем 12 со сферическим вальцующим элементом 13, снабженным приспособлением для взаимодействия с элементом для отсоединения башмака 6 от перекрывателя 1, выполненным в виде колпака 14 (фиг.1, 2), в который ввинчена втулка 15 с торцевыми выступами 16 и прорезями 17, соответствующими шлицам 8 нижней ступени выступа 7 башмака 6, и имеющая кольцевые канавки 18 с вмонтированными в них стопорными элементами в виде разрезных пружинных колец 19. Верхний развальцеватель 20 (в примере роликового типа) соединен с нижним развальцевателем 12 переходником 11 и имеет узел 21 для соединения устройства с колонной бурильных труб (не показана), в котором установлено седло 22 для шарового обратного клапана 23 с перекрестными каналами 24 и 25, первые из которых предназначены для сообщения полости колонны бурильных труб с затрубным пространством, а другие – с полостью 26 перекрывателя 1 через проходные каналы 27 и 28 соответственно верхнего 20 и нижнего 12 развальцевателей. Концы перекрывателя снабжены наружными герметизирующими средствами 29.
Работает устройство следующим образом.
Устройство заполняют буферной жидкостью, например гидрофобной водонефтяной эмульсией, с помощью узла 21 присоединяют к колонне бурильных труб и спускают в скважину, в интервал установки перекрывателя 1. При этом через каналы 24 происходит заполнение колонны бурильных труб скважинной жидкостью и, при необходимости, производят промывку скважины с одновременным выравниванием параметров промывочной жидкости с учетом условий в скважине.
Затем в бурильные трубы сбрасывают шаровой клапан 23, который, достигая седла 22, перекрывает каналы 24; после чего нагнетанием жидкости через каналы 25 в устройстве создают давление, под действием которого профильные трубы 2, расширяясь, прижимаются к стенкам скважины (фиг.4). Далее вращением колонны бурильных труб вправо вывинчивают переходник 11 с нижним развальцевателем 12 из резьбы 10 верхнего конца перекрывателя 1 и, создавая нагрузку, развальцовывают резьбовые соединения, а также недожимы, оставшиеся после расширения профильных труб 2 внутренним давлением. При этом верхний развальцеватель 20 развальцовывает цилиндрические трубы 3 и калибрует весь перекрыватель 1 до плотного прижатия стенок всех его труб к стенкам скважины. Герметизирующие средства 29 усиливают надежность перекрытия зоны осложнения бурения скважины. По достижении вальцующим элементом 13 башмака 6 его колпак 14 начинает взаимодействовать с элементом для отсоединения башмака 6 от перекрывателя 1, в процессе которого торцевые выступы 16 и прорези 17 втулки 15 (фиг.3) входят в зацепление со шлицами 8 нижней ступени выступа 7 башмака 6, а разрезные пружинные кольца 19, западая в кольцевые канавки 9 верхней ступени выступа 7, захватывают башмак 6, который при дальнейшем вращении развальцевателей 12 и 20 вывинчивается из резьбы 5 нижнего цилиндрического участка 4 перекрывателя 1.
Далее скважину испытывают с целью определения качества изоляции зоны осложнения бурения и поднимают из нее развальцеватели. При этом жидкость из бурильных труб сливается в скважину по проходным каналам 27 и 28 развальцевателей 12 и 20.
Изобретение позволяет расширить технологические возможности устройства при использовании в нем развальцевателей различной конструктивной модификации и повысить работоспособность за счет исключения попадания шлама в его внутреннюю полость и клапанный узел.
Формула изобретения
Устройство для перекрытия зон осложнения бурения в скважине, включающее перекрыватель из профильных и цилиндрических труб, на нижнем конце которого закреплен башмак с элементом для отсоединения его от перекрывателя, и развальцеватели, нижний из которых соединен с верхним концом перекрывателя и имеет приспособление для взаимодействия с элементом для отсоединения башмака от перекрывателя, узел соединения устройства с колонной бурильных труб и шаровой обратный клапан, содержащий седло, отличающееся тем, что седло шарового обратного клапана размещено над перекрывателем и выполнено с перекрестными каналами, одни из которых служат для сообщения полости колонны бурильных труб с затрубным пространством, а другие – с полостью перекрывателя, элемент для отсоединения башмака от перекрывателя выполнен в виде двухступенчатого выступа, на нижней ступени которого выполнены продольные шлицы, а на верхней – кольцевые канавки, при этом приспособление нижнего развальцевателя для взаимодействия с элементом для отсоединения башмака от перекрывателя выполнено в виде колпака, в который ввинчена втулка с торцевыми выступами и прорезями, соответствующими шлицам нижней ступени выступа башмака, и имеющая кольцевые канавки с вмонтированными в них стопорными элементами в виде разрезных пружинных колец, выполненных с возможностью взаимодействия с кольцевыми канавками верхней ступени выступа башмака при отсоединении его от перекрывателя.
РИСУНКИ
|
|