|
(21), (22) Заявка: 2004108275/03, 22.03.2004
(24) Дата начала отсчета срока действия патента:
22.03.2004
(43) Дата публикации заявки: 20.10.2005
(45) Опубликовано: 20.02.2006
(56) Список документов, цитированных в отчете о поиске:
SU 1593327 A1, 20.08.2000. SU 1282591 A1, 10.12.1999. SU 1707177 A1, 23.01.1992. SU 1714071 A1, 23.02.1992. SU 1779737 A1, 07.12.1992. RU 2015749 C1, 15.07.1994. RU 2186929 C2, 10.08.2002. RU 2186961 C2, 10.08.2002. US 5311955 A, 17.05.1994.
Адрес для переписки:
452613, Республика Башкортостан, г. Октябрьский, 26 мкр., 12, Р.Ш. Муфазалову
|
(72) Автор(ы):
Муфазалов Роберт Шакурович (RU), Зарипов Ралиф Каримович (RU), Климова Лилия Робертовна (RU), Климов Тимур Владимирович (RU)
(73) Патентообладатель(и):
Муфазалов Роберт Шакурович (RU), Зарипов Ралиф Каримович (RU), Климова Лилия Робертовна (RU), Климов Тимур Владимирович (RU)
|
(54) ГИДРОАКУСТИЧЕСКОЕ УСТРОЙСТВО ДЛЯ БУРЕНИЯ СКВАЖИНЫ
(57) Реферат:
Изобретение относится к буровому породоразрушающему инструменту, особенно для проводки глубоких скважин в геологически осложненных условиях и для вскрытия бурением продуктивного пласта. Устройство может быть использовано без конструктивных изменений для диспергирования бурового и цементного растворов непосредственно в скважине в процессе выполнения технологических операций. Цель изобретения – создание высокоэффективной конструкции гидроакустического устройства для проводки глубоких скважин в геологически осложненных условиях и сохранения естественной продуктивности пласта в процессе его первичного вскрытия. Это достигается тем, что гидроакустическое устройство для бурения скважины имеет эжекционный узел для создания депрессии на забой скважины и узел генерирования гидроакустических волн. Узел генерирования гидроакустических волн установлен в корпусе долота и выполнен в виде вихревой камеры, а эжекционный узел выполнен на корпусе устройства в виде продольного паза, в нижней части которого установлено сопло. Для получения модулированных гидроакустических волн, вихревая камера выполнена подпружиненной. Эжекционный узел может быть выполнен в корпусе устройства в виде струйного аппарата или в виде трубки Вентури с соплом, с камерой смешения и диффузором. Для расширения функциональных возможностей узел генерирования гидроакустических волн и эжекционный узел для создания депрессии выполнены в модульном исполнении и могут быть использованы для бурения скважины, каждый в отдельности. 5 з.п. ф-лы, 12 ил. 
Изобретение относится к буровому породоразрушающему инструменту, особенно для проводки глубоких скважин в геологически осложненных условиях и для вскрытия бурением продуктивного пласта.
Прототипом предлагаемого изобретения является гидроакустическое устройство для бурения скважины, включающее корпус с промывочным каналом, узел генерирования гидроакустических волн, эжекционный узел для создания депрессии и буровое долото (см. АС СССР №1593327, кл. Е 21 В 10/18, 2000 г.).
Недостатком прототипа является слабое депрессионное и гидроакустическое воздействие на забой скважины в процессе бурения. Это значительно ухудшает технико-экономические показатели бурения. Кроме того, ухудшает качество вскрытия продуктивного горизонта, приводит к загрязнению пласта и существенному снижению его продуктивности.
Указанные недостатки прототипа устраняются в предложенном устройстве.
Целью и техническим результатом изобретения является разработка и создание высокоэффективной конструкции гидроакустического устройства для проводки глубоких скважин в геологически осложненных условиях и сохранение естественной продуктивности пласта в процессе его первичного вскрытия.
Для достижения цели и технического результата в конструкции гидроакустического устройства для бурения скважины, содержащего корпус с промывочным каналом, узел генерирования гидроакустических волн, эжекционный узел для создания депрессии и буровое долото, согласно изобретению узел генерирования гидроакустических волн установлен в корпусе долота и выполнен в виде вихревой камеры с тангенциальными входными каналами и центральным выходным каналом, а эжекционный узел выполнен на корпусе устройства в виде продольных пазов, в нижней части которого установлены сопла, над соплами пазы имеют сужающийся участок, выше которого пазы выполнены расширяющимися, кроме того, промывочный канал корпуса гидравлически сообщается с соплами и тангенциальными входными каналами вихревой камеры (см. фиг.1 и 2).
Кроме того, вихревая камера снабжена камерой предварительного закручивания потока с тангенциальными входными каналами, установленной на вихревой камере, причем тангенциальные входные каналы камеры предварительного закручивания потока и вихревой камеры имеют одинаковое вращательное направление (см. фиг.3).
Пазы эжекционного узла выполнены по винтовой линии (см. фиг.4), вихревая камера может быть выполнена или цилиндрической, или конической, или сферической, или эллиптической формы (по осевому сечению вихревой камеры), а центральный выходной канал вихревой камеры выполнен расширяющимся (см. фиг.1, 5, 8).
Для создания пульсирующего потока и модулированных гидроакустических волн корпус устройства снабжен седлом, а вихревая камера выполнена подпружиненной и снабжена кольцевым плечиком для взаимодействия с седлом корпуса и верхним торцом пружины, а нижний торец пружины соединен с корпусом долота (см. фиг.5, 6 и 8).
Для создания глубокой депрессии эжекционный узел выполнен в виде струйного аппарата и включает сопла, камеру смешения и диффузор, причем камера смешения имеет боковое окно для входа инжектируемой жидкости (см. фиг.8-10).
Для расширения технологических и функциональных возможностей применения устройства узел генерирования гидроакустических волн и эжекционный узел для создания депрессии выполнены в модульном исполнении и могут быть использованы для бурения скважины каждый в отдельности (см. фиг.11, 12).
Обоснование некоторых отличительных признаков.
В предложенном устройстве в отличие от прототипа узел генерирования гидроакустических волн выполнен в виде вихревой камеры с тангенциальными входными и центральным выходным каналами. Вихревые камеры при определенных соотношениях геометрических размеров являются мощными гидродинамическими излучателями волн с широким спектром частот. Кроме того, вихревые камеры создают в центральной части забоя зону разрежения. Это способствует разрушению забоя и улучшает его очистку от выбуренной породы.
Эжекционный узел, выполненный в виде струйного аппарата, способствует созданию более глубокой депрессии, снижению дифференциального давления на забой. Забой скважины одновременно подвергается депрессионному и гидроакустическому воздействиям. При этом на забое скважины создаются механоактивационные процессы с проявлением гидродинамической и гидроакустической кавитации. Гидроакустические волны и кавитационные эффекты способствуют разрушению поверхностного слоя забоя. Депрессионное воздействие активизирует возникновение кавитации, снижению энергоемкости процесса разрушения породы.
Кавитационные пузырьки образуются прежде всего в тех местах, где давление Р в жидкости становится ниже некоторого критического значения Рк, соответствующего порогу кавитации. Кавитация возникает в результате потери устойчивости зародышей кавитации (наличие микроскопических газовых пузырьков, многофазности и т.д.), попадающих в область пониженного давления в гидроакустическом поле, и быстрого их роста.
Количественно момент возникновения кавитации и степень ее развития оценивается критическим числом кавитации, которое определяется по формуле ,
где Рo – гидростатическое давление жидкости, находящегося в гидроакустическом поле; Рн – давление насыщенного пара жидкости; Pa – амплитуда гидроакустического давления.
Анализ этой формулы показывает, что при неизменных значениях Рн и Рa уменьшение гидростатического давления жидкости Рo путем создания депрессии в зоне воздействия гидроакустических волн приводит к снижению критического числа (порога) кавитации.
Таким образом, при одновременном воздействии на забой депрессией и гидроакустической энергией создаются благоприятные условия для интенсивного развития кавитационного явления, что приводит к интенсификации процесса разрушения забоя и очистки от выбуренной породы.
Камера предварительного закручивания потока, установленная на вихревой камере, обеспечивает предварительное вращательное движение потока перед вихревой камерой в том же направлении, что и в вихревой камере, и позволяет получить определенную начальную тангенциальную скорость на входе в вихревую камеру. Это, в свою очередь, повысит акустический КПД и эффективность воздействия на забой.
Подпружиненная вихревая камера совершает автоколебания в потоке буровой жидкости. При этом вихревая камера генерирует модулированные гидроакустические волны (см. фиг.7), высокочастотные волны в модуляции с низкочастотными увеличивают глубину гидроакустического воздействия на забой.
Для выполнения отдельных технологических операций узел генерирования гидроакустических волн и эжекционный узел для создания депрессии выполнены в модульном исполнении. Например, при бурении интервалов с аномально высокими пластовыми давлениями (АВПД) нужно использовать устройство без эжекционного узла, а при бурении продуктивного горизонта с аномально низким пластовым давлением (АНПД) нужно использовать устройство с эжекционным узлом.
Сущность изобретения поясняется приведенными чертежами:
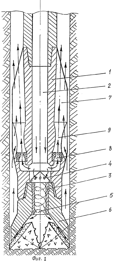
– на фиг.1 изображен общий вид гидроакустического устройства для бурения скважины в разрезе с узлом генерирования гидроакустических волн и эжекционным узлом для создания депрессии;
– на фиг.2 – продольные пазы, выполненные на корпусе устройства;
– на фиг.3 – общий вид устройства в разрезе с камерой предварительного закручивания потока, установленной на вихревой камере;
– на фиг.4 – пазы эжекционного узла, выполненные по винтовой линии;
– на фиг.5 и 6 – гидроакустическое устройство, выполненное с подпружиненной вихревой камерой, на фиг.5 – положение, когда седло закрыто, на фиг.6 – положение, когда седло открыто;
– на фиг.7 – амплитудно-частотная характеристика с подпружиненной вихревой камерой;
– на фиг.8, 9 и 10 – эжекционный узел, выполненный в виде струйного аппарата с камерой смешения и диффузором;
– на фиг 11 – эжекционный узел с долотом в модульном исполнении (без гидроакустического узла);
– на фиг.12 – узел генерирования гидроакустических волн с конической и цилиндрической вихревой камерой в модульном исполнении (без эжекционного узла);
Устройство (см. фиг.1-6, 8) состоит из корпуса 1 с промывочным каналом 2, узла генерирования гидроакустических волн, выполненного в виде вихревой камеры 3 с тангенциальными входными каналами 4 и центральным выходным каналом 5, долота 6, эжекционного узла, выполненного на корпусе 1 в виде продольных пазов 7, сопл 8. Над соплами пазы имеют сужающийся участок 9. С целью повышения акустического КПД вихревая камера 3 снабжена камерой 10 предварительного закручивания потока. Камера 10 имеет тангенциальные входные каналы 11. Тангенциальные каналы 4 и 11 имеют одинаковое вращательное направление (см. фиг.3). С целью создания вращательно-восходящего потока в межтрубном пространстве пазы 7 выполнены по винтовой линии (см. фиг.4). С целью получения требуемой амплитудно-частотной характеристики вихревая камера 3 может быть выполнена или цилиндрической, или конической, или сферической, или эллиптической (см. фиг.1, 3, 5, 12).
С целью получения пульсирующего потока и модулированных гидроакустических волн (см. фиг.7) и повышения эффективности воздействия на породу корпус 1 устройства снабжен седлом 12, а вихревая камера 3 выполнена подпружиненной и снабжена кольцевым плечиком 13. Кольцевой плечик сопрягается с седлом 12. Пружина 14 установлена между кольцевым плечиком 13 и торцом корпуса долота 6 (см. фиг.5, 6 и 8).
Для создания глубокой депрессии и снижения дифференциального давления на забой (пласт) эжекционный узел выполнен в виде струйного аппарата и включает сопла 8, камеру смешения 15 и диффузор 16 (см. фиг.8, 9 и 10). Камера смешения 15 имеет боковое окно 17 для поступления инжектируемой жидкости.
Устройство работает следующим образом (см. фиг.1). Буровая жидкость по бурильной колонне подается в промывочный канал 2 корпуса 1. Затем часть потока по тангенциальным каналам 4 поступает в вихревую камеру 3, а другая часть потока через сопла 8 в продольные пазы 7, далее в межтрубное пространство.
В вихревой камере 3 поток приобретает интенсивное вращательное движение по спирали. При этом в вихревой камере 3 и центральной зоне забоя образуется разрежение. В результате периодического проскока буровой жидкости из призабойной зоны в вихревую камеру на центральном выходном канале 5 генерируются гидроакустические импульсы давления автоколебательного характера, т.е. соблюдается принцип работы вихревого свистка.
Поток буровой жидкости, попавший в сопло 8, в виде струи по продольным пазам 7 направляется по межтрубному пространству вверх. При этом сопла 8 и продольные пазы 7 с сужающими участками 9 работают как струйный эжектор, обеспечивая снижение забойного давления ниже сопла 8. В результате забой скважины одновременно подвергается гидроакустическому и депрессионному воздействиям, что приводит к интенсификации процесса разрушения забоя скважины.
Принцип работы устройства, показанного на фиг.5 и 8, не отличается от принципа работы устройства, показанного на фиг.1, а отличается модуляцией генерируемых волн. Рассмотрим получение модулированных гидроакустических волн (см. фиг.5, 6, 7).
При подаче буровой жидкости через промывочный канал 2 устройства над вихревой камерой 3 создается давление, под воздействием которого камера перемещается вниз (см.фиг.6), сжимая пружину 14. При этом между седлом 12 и кольцевым плечиком 13 образуется кольцевой зазор 18, и часть буровой жидкости через кольцевой зазор подается на забой. Давление буровой жидкости над вихревой камерой 3 снижается, а под действием пружины 14 вихревая камера 3 возвращается в исходное положение, закрывая кольцевой зазор 18 (см. фиг.7). Поток буровой жидкости через вихревую камеру 3 увеличивается, это приводит к увеличению амплитудно-частотных параметров генерируемых волн, и цикл повторяется.
Подпружиненная вихревая камера 3 переходит в автоколебательный режим работы, генерируя в призабойной зоне модулированные гидроакустические волны. Модуляция волн зависит от жесткости пружины 14, массы вихревой камеры 3, плотности, вязкости и расхода буровой жидкости.
Гидроакустические волны, депрессионное воздействие и кавитационные эффекты способствуют высокоэффективно вести бурение глубоких скважин в геологически осложненных условиях, сохранению естественной продуктивности пласта в процессе первичного его вскрытия. Устройство без конструктивных изменений может быть использовано в качестве гидроакустического диспергатора, эмульгатора, гомогенизатора многофазных жидкостей, для диспергирования бурового и тампонажного растворов непосредственно в скважине в процессе выполнения технологических операций.
Устройство имеет простую конструкцию, надежность в работе, технологичность в изготовлении.
Формула изобретения
1. Гидроакустическое устройство для бурения скважины, включающее корпус с промывочным каналом, узел генерирования гидроакустических волн, эжекционный узел для создания депрессии и буровое долото, отличающееся тем, что узел генерирования гидроакустических волн установлен в корпусе долота и выполнен в виде вихревой камеры с тангенциальными входными каналами и центральным выходным каналом, а эжекционный узел выполнен на корпусе устройства в виде продольных пазов, в нижней части которых установлены сопла, над соплами пазы имеют сужающийся участок, выше которого пазы выполнены расширяющимися, кроме того, промывочный канал корпуса гидравлически сообщается с соплами и тангенциальными входными каналами вихревой камеры.
2. Устройство по п.1, отличающееся тем, что вихревая камера снабжена камерой предварительного закручивания потока с тангенциальными входными каналами, установленной на вихревой камере, причем тангенциальные входные каналы камеры предварительного закручивания потока и вихревой камеры имеют одинаковое вращательное направление.
3. Устройство по п.1, отличающееся тем, что пазы на корпусе устройства выполнены по винтовой линии, вихревая камера выполнена или цилиндрической, или конической, или сферической, или эллиптической форм, а центральный выходной канал вихревой камеры выполнен расширяющимся.
4. Устройство по п.1, отличающееся тем, что корпус устройства снабжен седлом, а вихревая камера выполнена подпружиненной и снабжена кольцевым плечиком для взаимодействия с седлом корпуса и верхним торцом пружины, а нижний торец пружины соединен с корпусом долота.
5. Устройство по п.1, отличающееся тем, что эжекционный узел выполнен в корпусе устройства в виде струйного аппарата и включает сопла, камеру смешения и диффузор, причем камера смешения имеет боковое окно для входа инжектируемой жидкости.
6. Устройство по любому из пп.1-5, отличающееся тем, что узел генерирования гидроакустических волн и эжекционный узел для создания депрессии выполнены в модульном исполнении и могут быть использованы для бурения скважины каждый в отдельности.
РИСУНКИ
|