|
|
(21), (22) Заявка: 2004104175/03, 16.02.2004
(24) Дата начала отсчета срока действия патента:
16.02.2004
(43) Дата публикации заявки: 20.07.2005
(45) Опубликовано: 20.02.2006
(56) Список документов, цитированных в отчете о поиске:
RU 2116426 C1, 27.07.1998. DE 3001213 A1, 23.07.1981. DE 3047029 A1, 15.07.1981. GB 2321492 A, 29.07.1998. DE 3239177 A1, 03.05.1984.
Адрес для переписки:
143900, Московская обл., г. Балашиха, ш.Энтузиастов, 7, ООО НПП “Модуль-К”
|
(72) Автор(ы):
Клейменов Игорь Анатольевич (RU), Тепляков Николай Николаевич (RU)
(73) Патентообладатель(и):
Общество с ограниченной ответственностью “НПП “Модуль-К” (RU)
|
(54) ПРОТИВОПОЖАРНАЯ ДВЕРЬ И РИГЕЛЬ ДЛЯ ПРОТИВОПОЖАРНОЙ ДВЕРИ
(57) Реферат:
Изобретение относится к области строительства, а именно к конструкциям противопожарных дверей. Изобретение позволит повысить огнестойкость двери. Противопожарная дверь включает, по меньшей мере, одно дверное полотно, содержащее металлическую оболочку, образующую наружные поверхности дверного полотна, теплоизоляцию, раму жесткости и замок с защелкой, дверную раму с притвором, и петли, крепящие дверное полотно к дверной раме. Теплоизоляция дверного полотна выполнена многослойной, включающей два наружных слоя, примыкающие к металлической оболочке, но не связанные с ней, и, по меньшей мере, один внутренний слой. Наружные слои теплоизоляции выполнены из материала, имеющего более высокий коэффициент теплопроводности и более высокую жесткость по сравнению с материалом внутреннего слоя, рама жесткости размещена внутри дверного полотна и выполнена из П-образного профиля, средняя часть которого жестко связана с торцевыми поверхностями дверного полотна по периметру. Обе полки размещены во внутреннем слое теплоизоляции. Дверь снабжена двумя ригелями, срабатывающими при нагреве, установленными на торцевых поверхностях дверного полотна в углах со стороны притвора на расстоянии, максимально удаленном от петель. 2 н. и 17 з.п. ф-лы, 10 ил. 
Изобретение относится к области противопожарной техники, в частности к противопожарным дверям и другим подобным устройствам, пассивно защищающим проемы в конструкциях от открытого пламени.
Техническая проблема, решаемая при создании противопожарных дверей, заключается в создании простой конструкции, способной надежно защитить закрытое помещение от открытого пламени в течение определенного периода времени, т.е. конструкции, обладающей необходимой огнестойкостью.
В известном уровне техники эта проблема решалась различными путями.
Известно огнестойкое дверное полотно, включающее стальные листы, образующие наружные поверхности полотна, огнестойкий минераловатный заполнитель высокой плотности и слои клеящей композиции, содержащей жидкий силикат щелочного металла и минеральный порошок, которое снабжено асбестовыми прокладками, размещенными между внутренними поверхностями стальных листов и минераловатным заполнителем и соединенными с указанными листами и заполнителем посредством слоев клеящей композиции, содержащей смесь мела, каолина и золы-уноса, при этом минераловатный заполнитель выполнен из шлаковаты, а наружные поверхности стальных листов покрыты слоем огнезащитной краски (см., например, патент РФ №2158817, МПК Е 06 В 5/16, опубл. 2000.11.10). Наличие асбестовых прокладок повышает огнестойкость дверного полотна данной конструкции, однако она имеет следующие недостатки: во-первых, приклеивание асбестовых прокладок к стальным листам и к заполнителю, а также покрытие полотна огнезащитной краской усложняют и удорожают процесс изготовления двери; во-вторых, эти технологические операции вносят нестабильность в качество изготовляемой продукции; в-третьих, известно, что материалы на основе асбеста являются хрупкими, поэтому приклеивание асбестовых прокладок к стальным листам, имеющим отличный от асбеста коэффициент линейного и объемного расширения, приведет при деформации двери от нагрева к их преждевременному разрушению; в-четвертых, отсутствие в конструкции ребер жесткости снижает ее сопротивляемость термическим деформациям и, в-пятых, фиксация дверного полотна только посредством замковой защелки и петель приведет к появлению просветов в верхнем и нижнем углах двери при ее деформации от нагрева, т. е. к снижению огнестойкости двери в целом.
Наиболее близкой к настоящему изобретению является противопожарная дверь «ДКС», состоящая из дверной рамы с ограничивающим дверной проем притвором, к которой на петлях закреплено фиксирующееся в прижатом к притвору положении с помощью ригеля дверное полотно, образованное соединенными друг с другом оболочками из тонколистовой стали с размещенной во внутреннем пространстве между оболочками термостойкой изоляцией и подкрепленное расположенной в этом пространстве по периметру замкнутой рамой жесткости, образованной стальными профилями, в которой толщина рамы меньше расстояния между внутренними поверхностями оболочек, при этом опорная поверхность рамы жесткости прижата к оболочке, расположенной со стороны открывания двери, а зазор между торцами полок рамы жесткости, перпендикулярных ее опорной поверхности, и оболочкой полотна, расположенной со стороны притвора, заполнен термостойкой изоляцией (см. патент РФ №2116426, МПК Е 06 В 5/16, опубл. 1998.07.27). Наличие рамы жесткости повышает огнестойкость этой конструкции по сравнению с описанной выше конструкцией, однако это справедливо только в случае возникновения пожара со стороны притвора, когда рама жесткости отделена от воздействия температуры слоем термостойкой изоляции, при пожаре с другой стороны рама будет нагреваться вместе с оболочкой. Наличие только волокнистой термостойкой изоляции не обеспечивает высокой огнестойкости, а главное ее стабильности. Кроме того, как и в предыдущем случае, в данной конструкции отсутствует фиксация углов дверного полотна и хотя, по мнению авторов, это не приведет к образованию зазоров, нарушающих огнестойкость конструкции, с этим можно согласиться только в случае достаточно широкой дверной рамы.
Из уровня техники известны устройства, обеспечивающие фиксацию дверного полотна противопожарной двери при помощи трех взаимосвязанных посредством тяг выдвижных ригелей (см., например, проспект фирмы NEMEF). Однако подобная конструкция ригелей имеет следующие недостатки. Согласно требованиям, предъявляемым к условиям эксплуатации, дверное полотно противопожарной двери должно быть неразборным, при этом возникает проблема с ремонтом ригелей, если по каким-то причинам произошло их несанкционированное срабатывание, например, по причине обрыва тяги внутри дверного полотна.
Известны также автономные ригеля, срабатывающие при нагреве до определенной температуры, включающие цилиндрический корпус, подвижный элемент, содержащий направляющую и собственно фиксатор, пружину и плавкую вставку или заполненные плавким материалом (см., например, патенты Великобритании №2237835, МПК Е 06 В 3/72, опубл. 15.05.1991 и №2321492, МПК Е 05 В 65/06, опубл. 29.07.1998). Такая конструкция предусматривает точную установку ригеля в полотне двери, что создает проблемы при наличии у дверного полотна тонкостенной оболочки, так как в этом случае для установки ригелей требуется введение конструктивных дополнительных элементов для закрепления ригеля по месту и совмещения его с приемным отверстием. Кроме того, находясь внутри дверного полотна, ригель будет прогреваться медленнее наружных поверхностей, что увеличивает время его срабатывания. Наличие в ригеле плавкой вставки из достаточно мягкого материала может привести к самопроизвольному срабатыванию ригеля, а так как ригель выполнен не разборным, это может привести к его непригодности для дальнейшего использования. Наиболее близким техническим решением к заявляемому изобретению в части ригеля является ригель по патенту Великобритании №2321492.
Технической задачей, решаемой данным изобретением, является создание простой, технологичной конструкции противопожарной двери, обладающей повышенной огнестойкостью (EI не ниже 60 мин согласно ГОСТ 30247.0 «Конструкции строительные. Метод испытаний на огнестойкость. Общие требования»).
Поставленная задача решается тем, что в противопожарной двери включающей, по меньшей мере, одно дверное полотно, содержащее металлическую оболочку, образующую наружные поверхности дверного полотна, теплоизоляцию, раму жесткости и замок с защелкой, дверную раму с притвором, и петли, крепящие дверное полотно к дверной раме, теплоизоляция выполнена многослойной, включающей два наружных слоя, примыкающие к металлической оболочке, но не связанные с ней, и, по меньшей мере, один внутренний слой, причем наружные слои теплоизоляции выполнены из материала, имеющего более высокий коэффициент теплопроводности и более высокую жесткость по сравнению с материалом внутреннего слоя, рама жесткости размещена внутри дверного полотна и выполнена из П-образного профиля, средняя часть которого жестко связана с торцевыми поверхностями дверного полотна по периметру, а обе полки размещены во внутреннем слое теплоизоляции, при этом дверь снабжена двумя ригелями, срабатывающими при нагреве, установленными на торцевых поверхностях дверного полотна в углах со стороны притвора на расстоянии, максимально удаленном от петель.
Наружные слои теплоизоляции выполнены из гибковолокнистых листов (ГВЛ) или листов гипсокартона, а внутренний слой выполнен из минерального волокна, содержащего базальтовое волокно диаметром не более 1 мкм.
Металлическая оболочка дверного полотна выполнена из двух частей, одна из которых имеет корытообразную форму с отогнутыми наружу полками, образующими выступ, а вторая часть представляет собой лист, который жестко связан с указанными полками посредством сварки или вальцовки.
Дверная рама может быть выполнена из двух частей, каждая из которых образована из труб прямоугольного сечения, размещенных по периметру двери. Трубы первой и второй частей имеют разные по площади сечения, которые повернуты относительно друг друга с образованием притвора. Между первой и второй частями рамы размещена теплоизоляция, а части скреплены между собой посредством отдельных металлических пластин, расположенных с наружной стороны рамы.
Теплоизоляция дверной рамы выполнена из ГВЛ или асбестового шнура.
Дверная рама может быть выполнена из Г-образного профиля.
На поверхность выступа дверного полотна, примыкающую к дверной раме, установлен уплотнитель от холодного дыма, выполненный из термостойкой резины.
На торцевые поверхности дверного полотна и сопрягаемые с ними поверхности дверной рамы нанесено покрытие, вспучивающееся при температуре не более 160°С.
Противопожарная дверь может быть снабжена вторым дверным полотном, аналогичным первому, при этом второе полотно выполнено с возможностью фиксации к дверной раме.
В дверном полотне может быть выполнен проем, в котором установлен светопрозрачный противопожарный стеклопакет.
Торцевая поверхность дверного полотна, со стороны петель, снабжена тремя пассивными ригелями, выполненными в виде штырей и размещенными равномерно по длине указанной поверхности, при этом в дверной раме выполнены приемные углубления или отверстия.
Дверная рама снабжена отверстиями, расположенными на ее лицевой поверхности напротив ригелей, срабатывающих при нагреве, для открывания дверей при нештатном срабатывании ригелей.
Решению поставленной задачи способствует ригель для противопожарной двери, срабатывающий при нагреве, включающий корпус, подвижный элемент, содержащий направляющую и фиксатор, пружину и плавкую вставку, в котором корпус выполнен в виде втулки и снабжен крепежной пластиной, установленной на его торце, в которой выполнено отверстие для прохождения фиксатора, а также съемным крепежным элементом пружины, размещенным на противоположном конце корпуса, причем подвижный элемент снабжен хвостовиком, на котором размещен конец пружины, а концевая часть фиксатора выполнена конической и расположена в исходном положении в отверстии крепежной пластины, при этом плавкая вставка оперта на крепежную пластину и выполнена жесткой в виде кольца, через которое проходит коническая часть фиксатора.
Длина l1 указанной направляющей выбирается большей или равной ее диаметру D1, при этом длина l2 цилиндрической части фиксатора составляет 1,5 D1, конической части l3 – 0,3 D1, а отношение диаметра D2 фиксатора к диаметру D1 направляющей составляет примерно 0,9.
Плавкая вставка выполнена из материала на основе поливинилхлорида или другого подобного жесткого материала.
Направляющая со стороны фиксатора снабжена фаской для облегчения перемещения подвижного элемента.
Длина l4 хвостовика подвижного элемента составляет не менее трех диаметров d проволоки пружины.
Наружные слои теплоизоляции из гибковолокнистых листов, установленные между металлической оболочкой и внутренним слоем теплоизоляции, выполняют роль экрана, который при нагреве двери рассеивает и уравнивает тепловой поток по всей площади конструкции. В конструкции, выполненной согласно изобретению, гибковолокнистые листы не связаны с металлической оболочкой, поэтому, хотя они имеют с ней разные коэффициенты объемного и линейного расширения, при нагреве и изгибе оболочки листы не увлекаются за ней и не ломаются. Это позволяет ГВЛ выполнять роль экрана значительно дольше, чем ее выполняют асбестовые прокладки в известном техническом решении по патенту РФ №2158817.
Рама жесткости, выполненная из П-образного профиля, во-первых, является более жесткой по сравнению с рамой, описанной в ближайшем аналоге (патент РФ №2116426), выполненной из уголка, во-вторых, она не соприкасается ни с одной из сторон металлической оболочки дверного полотна и поэтому дольше нагревается при пожаре. Это значит, что рама, выполненная согласно данному изобретению, способна дольше удерживать дверное полотно от изгиба при нагреве, чем известная рама. В-третьих, полки П-образного профиля фиксируют гибковолокнистые листы, не прилегая к ним плотно, что позволяет раме и гибковолокнистым листам при нагреве деформироваться каждому по своим законам без взаимного разрушения. Испытания показали, что гибковолокнистые листы остаются целыми во время нагрева за счет расширения внутреннего слоя теплоизоляции и прижима в результате этого наружных слоев к металлической оболочке.
Наличие ригелей, выполненных согласно настоящему изобретению и установленных в углах дверного полотна на расстоянии, максимально удаленном от петель, позволяет надежно зафиксировать дверное полотно при пожаре и значительно повысить огнестойкость двери за счет следующего. Крепежная пластина, жестко связанная с корпусом ригеля, обеспечивает его фиксацию в двух взаимно перпендикулярных плоскостях, что полностью исключает возможность открывания двери после срабатывания ригелей под действием температуры. Выполнение плавкой вставки в виде кольца из более жесткого, чем в известных технических решениях материала, с одной стороны предотвращает самопроизвольное срабатывание ригеля, с другой стороны обеспечивает более быстрый нагрев массивной конической части фиксатора, проходящей через отверстие плавкой вставки и являющейся проводником тепла. В результате плавкая вставка, прилегающая к конусной части фиксатора, разрушится при температуре размягчения материала вставки (более низкой, чем температура его плавления) и будет выдавлена в зазор между концом фиксатора и отверстием крепежной пластины и далее в свободную зону между торцевой поверхностью дверного полотна и дверной рамой. Такое разрушение плавкой вставки сократит время срабатывания ригеля, а значит повысит огнестойкость двери. Выбранные геометрические параметры элементов ригеля обеспечивают надежность его срабатывания.
Так выбранная длина направляющей предотвращает заклинивание подвижного элемента в корпусе, чему также способствует фаска со стороны фиксатора.
Наличие хвостовика, на котором установлен конец пружины, обеспечивает равномерное перемещение подвижного элемента и исключает перекос пружины и чрезмерное трение пружины о стенку корпуса, так как при наличии хвостовика пружина может быть установлена с зазором относительно стенок корпуса.
Съемный крепежный элемент позволяет разбирать и ремонтировать ригель, если это необходимо. Известные конструкции выполнены неразборными и поэтому не пригодны для ремонта.
Далее сущность настоящего изобретения поясняется со ссылкой на прилагаемые чертежи, на которых показано следующее:
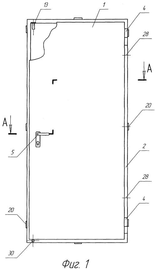
Фиг.1 – противопожарная дверь, выполненная согласно изобретению, общий вид.
Фиг.2 – то же, разрез А-А фиг.1.
Фиг.3 – противопожарная дверь с дверной рамой, выполненной из Г-образного профиля, и вторым дверным полотном, общий вид.
Фиг.4 – то же, разрез Б-Б фиг.3.
Фиг.5 – противопожарная дверь, снабженная светопрозрачным стеклопакетом, общий вид.
Фиг.6 – срабатывающий при нагреве ригель, общий вид, разрез.
Фиг.7 – то же, вид со стороны крепежной пластины.
Фиг.8 – схема деформации дверного полотна при воздействии пламени со стороны притвора, вид сбоку.
Фиг.9 – схема деформации дверного полотна при воздействии пламени со стороны притвора, вид сверху.
Фиг.10 – схема деформации дверного полотна при воздействии пламени со стороны, противоположной притвору, вид сбоку.
Противопожарная дверь (фиг.1, 2) включает дверное полотно 1, дверную раму 2 с притвором 3 и петли 4, крепящие дверное полотно 1 к дверной раме 2. Дверное полотно 1 содержит металлическую оболочку, образующую его наружные поверхности, теплоизоляцию, раму жесткости и замок 5 с защелкой 6. Теплоизоляция выполнена из нескольких слоев, например из трех, и включает два наружных слоя 7, 8 и внутренний слой 9. Наружные слои 7, 8 примыкают к металлической оболочке, но не связаны с ней. Наружные слои 7, 8 теплоизоляции выполнены из ГВЛ (возможно выполнение этих слоев из листов гипсокартона), а внутренний слой 9 выполнен из минерального волокна, содержащего базальтовое волокно, имеющее диаметр 1 мкм.
ГВЛ имеет высокий коэффициент теплопроводности =0,16-0,37, а у материала внутреннего слоя 9 коэффициент теплопроводности значительно ниже ( =0,037), при этом ГВЛ имеет более высокую жесткость. Рама жесткости размещена внутри дверного полотна 1 и выполнена из П-образного металлического профиля, средняя часть 10 которого жестко связана посредством сварки с торцевыми поверхностями 11 дверного полотна 1 по периметру, а обе полки 12 размещены во внутреннем слое 9 теплоизоляции. Дверь снабжена двумя ригелями 13, срабатывающими при нагреве, установленными на торцевых поверхностях 11 дверного полотна 1 в углах со стороны притвора 3 на расстоянии, максимально удаленном от петель 4.
Металлическая оболочка дверного полотна 1 выполнена из двух частей 14 и 15. Часть 14 имеет корытообразную форму с отогнутыми наружу полками, образующими выступ 16, а вторая часть 15 представляет собой лист, который жестко связан с указанными полками посредством сварки или вальцовки.
Дверная рама 2 (фиг.2) может быть выполнена из двух частей 17, 18, каждая из которых выполнена из труб прямоугольного сечения, размещенных по периметру двери. Трубы первой и второй частей 17, 18 имеют разные по площади сечения, которые повернуты относительно друг друга с образованием притвора 3. Между первой и второй частями 17, 18 рамы 2 размещена теплоизоляция 19. Части 17, 18 скреплены между собой посредством отдельных металлических пластин 20, расположенных с наружной стороны рамы 2.
Теплоизоляция 19 выполнена из ГВЛ или асбестового шнура.
Дверная рама 2 может быть выполнена из Г-образного профиля 21, как показано на фиг.3. На поверхность выступа 16 дверного полотна 1, примыкающую к дверной раме 2, установлен уплотнитель 22 от холодного дыма, выполненный из термостойкой резины, например из агракса-П.
На торцевые поверхности 11 дверного полотна 1 и сопрягаемые с ними поверхности 23 дверной рамы 2 нанесено покрытие, вспучивающееся при температуре не более 160°С, например КОП-100.
Противопожарная дверь может быть снабжена вторым дверным полотном 24, как показано на фиг.3, 4. Его конструкция аналогична, описанной выше конструкции дверного полотна 1. Дверное полотно 24 может быть зафиксировано к дверной раме 2 как при открытом, так и при закрытом дверном полотне 1.
В дверном полотне 1 или 24 может быть выполнен проем 25 (фиг.5), в котором установлен светопрозрачный противопожарный стеклопакет, выполненный, например, в виде окна 26 и содержащий или противопожарное стекло 27, или многослойное защитное стекло, или любой пригодный материал или композицию таких материалов.
Торцевая поверхность 11 дверного полотна 1, со стороны петель 4, снабжена тремя пассивными ригелями 28 (фиг.1, 2), выполненными в виде штырей и размещенными равномерно по длине указанной поверхности, при этом в дверной раме 2 выполнены приемные углубления или отверстия 29.
Дверная рама 2 снабжена отверстиями 30, расположенными на ее лицевой поверхности напротив ригелей 13, срабатывающих при нагреве, для открывания дверей при нештатном срабатывании ригелей 13.
Решению поставленной задачи способствует ригель 13 (фиг.6, 7) для противопожарной двери, срабатывающий при нагреве, включающий корпус 31, подвижный элемент, содержащий направляющую 32 и фиксатор 33, пружину 34 и плавкую вставку 35. Корпус 31 выполнен в виде втулки и снабжен крепежной пластиной 36, установленной на его торце. В пластине 36 выполнено отверстие 37 для прохождения фиксатора 33. Корпус 31 также снабжен съемным крепежным элементом 38 пружины 34, размещенным на противоположном конце корпуса 31. Подвижный элемент снабжен хвостовиком 39, на котором установлен конец пружины 34. Концевая часть 40 фиксатора 33 выполнена конической и расположена в исходном положении в отверстии 37 крепежной пластины 36. Плавкая вставка 35 оперта на крепежную пластину 36 и выполнена в виде кольца, через которое проходит коническая часть 40 фиксатора 33.
Длина l1 указанной направляющей 32 выбирается большей или равной ее диаметру D1, при этом длина l2 цилиндрической части фиксатора 33 составляет 1,5 D1, конической части l3 – 0,3 D1, а отношение диаметра D2 фиксатора 33 к диаметру D1 направляющей 32 составляет примерно 0,9. В данном примере D1 равно 15 мм.
Плавкая вставка 35 выполнена из материала на основе поливинилхлорида, например из полипропилена, имеющего температуру размягчения, равную 75°С.
Направляющая 35 со стороны фиксатора 33 снабжена фаской 41. Длина l4 хвостовика 39 составляет не менее трех диаметров d проволоки пружины 38.
Противопожарная дверь изготавливается следующим образом.
Из труб различного прямоугольного сечения нарезают заготовки необходимой длины, выполняют в них требуемые отверстия и углубления и сваривают части 17, 18 дверной рамы. Размещают между частями 17, 18 теплоизоляцию 19 из ГВЛ, соединяют снаружи по периметру пластинами 20 посредством сварки и с лицевой стороны приваривают петли 4. Из стального листа толщиной 1,5 мм образуют корытообразную часть 14 дверного полотна 1, укладывают внутрь наружный слой 8 теплоизоляции из цельного листа ГВЛ. К торцевым поверхностям 11 приваривают по периметру среднюю часть 10 П-образного профиля, образуя раму жесткости. Устанавливают ригели 13 и пассивные ригели 28. Укладывают внутренний слой 9 теплоизоляции из минеральной ваты, содержащей базальтовое волокно диаметром 1 мкм, заполняя зазор между полками 12 и наружным слоем 8 теплоизоляции. Величина зазора равна примерно 2-3 мм. Поверх внутреннего слоя 9 теплоизоляции размещают наружный слой 7 из ГВЛ. Из стального листа толщиной 1,5 мм вырезают вторую часть 15 дверного полотна и приваривают ее по периметру к полкам части 14 с образованием выступа 16. Устанавливают по месту замок 5 с защелкой 6. Затем на дверную раму и дверное полотно наносят декоративное покрытие, например полиэфирную порошковую краску. После высыхания декоративного покрытия на выступ 16 посредством адгезива устанавливают уплотнитель 23 от холодного дыма, а на торцевые поверхности 11 дверного полотна и смежные с ними поверхности 23 дверной рамы наносят вспучивающееся при нагреве покрытие. Затем навешивают дверное полотно 1 на петли 4. Готовую дверь монтируют в дверном проеме.
При возникновении пожара дверь, выполненная согласно настоящему изобретению, функционирует следующим образом.
При воздействии пламени на дверное полотно 1 со стороны притвора 3, как показано на фиг.8, 9, на первом этапе полотно 1, зафиксированное в трех точках за счет защелки 6 замка 5 и петель 4, будет незначительно прогибаться в сторону пламени, так как наружный слой 8 теплоизоляции, выполненный из цельного листа ГВЛ, выполняет роль экрана, рассеивающего и уравнивающего тепловой поток по всей площади дверного полотна 1 и одновременно предохраняющего от нагрева раму жесткости. На втором этапе, при достижении на поверхности дверного полотна 1 температуры примерно 160°С, дверная рама 2 нагреется, а вместе с ней нагреется и ригель 13, что приведет к его срабатыванию. Испытания показали, что ригель 13 срабатывает через примерно 5 мин с момента начала воздействия пламени на дверное полотно, при этом происходит дополнительная фиксация дверного полотна 1 в верхнем и нижнем углах. Размещение ригеля со стороны притвора на расстоянии, максимально удаленном от петель, обеспечивает при изгибе дверного полотна от нагрева минимальные изгибающие моменты в его верхнем и нижнем углах, что повышает огнестойкость двери по сравнению с известными аналогами примерно на 30%.
При воздействии пламени на дверное полотно 1 с лицевой стороны, как показано на фиг.10, дверное полотно 1 выгибается в сторону пламени, при этом верхний и нижний углы прижимаются к дверной раме 2. Нагрузка на ригели 13 в этом случае уменьшается, в результате огнестойкость двери будет выше.
На огнестойкость согласно указанному ГОСТ 30247.2 испытывали противопожарную дверь, имеющую следующие параметры: оболочка дверного полотна выполнена из стали марки Ст.3, толщиной 1,5 мм; наружные слои теплоизоляции выполнены из ГВЛ толщиной 10 мм; внутренний слой теплоизоляции выполнен из базальтовой ваты толщиной 40 мм. Огнестойкость данной двери (EI) при воздействии пламени со стороны притвора составила 68 мин, а при воздействии пламени с лицевой стороны 72 мин.
Из сказанного выше следует, что противопожарная дверь, выполненная согласно настоящему изобретению, имеет простую, технологичную конструкцию, обладающую повышенной огнестойкостью по сравнению с известными аналогами.
Формула изобретения
1. Противопожарная дверь, включающая, по меньшей мере, одно дверное полотно, содержащее металлическую оболочку, образующую наружные поверхности дверного полотна, теплоизоляцию, раму жесткости и замок с защелкой, дверную раму с притвором и петли, крепящие дверное полотно к дверной раме, отличающаяся тем, что теплоизоляция дверного полотна выполнена многослойной, включающей два наружных слоя, примыкающие к металлической оболочке, но не связанные с ней, и, по меньшей мере, один внутренний слой, причем наружные слои теплоизоляции выполнены из материала, имеющего более высокий коэффициент теплопроводности и более высокую жесткость по сравнению с материалом внутреннего слоя, рама жесткости размещена внутри дверного полотна и выполнена из П-образного профиля, средняя часть которого жестко связана с торцевыми поверхностями дверного полотна по периметру, а обе полки размещены во внутреннем слое теплоизоляции, при этом дверь снабжена двумя ригелями, срабатывающими при нагреве, установленными на торцевых поверхностях дверного полотна в углах со стороны притвора на расстоянии, максимально удаленном от петель.
2. Противопожарная дверь по п.1, отличающаяся тем, что наружные слои теплоизоляции выполнены из гипсоволокнистых листов или листов гипсокартона, а внутренний слой выполнен из минерального волокна, содержащего базальтовое волокно диаметром не более 1 мкм.
3. Противопожарная дверь по п.1 или 2, отличающаяся тем, что металлическая оболочка дверного полотна выполнена из двух частей, одна из которых имеет корытообразную форму с отогнутыми наружу полками, образующими выступ, а вторая часть представляет собой лист, который жестко связан с указанными полками посредством сварки или вальцовки.
4. Противопожарная дверь по п.1, отличающаяся тем, что на торцевые поверхности дверного полотна и сопрягающиеся с ними поверхности дверной рамы нанесено покрытие, вспучивающееся при температуре не более 160°С.
5. Противопожарная дверь по п.3, отличающаяся тем, что дверная рама выполнена из двух частей, каждая из которых образована из труб прямоугольного сечения, размещенных по периметру двери, при этом трубы первой и второй частей имеют разные по площади сечения, которые повернуты относительно друг друга с образованием притвора, между первой и второй частями размещена теплоизоляция, а части скреплены между собой посредством отдельных металлических пластин, расположенных с наружной стороны рамы.
6. Противопожарная дверь по п.5, отличающаяся тем, что теплоизоляция между частями дверной рамы выполнена из гипсоволокнистого материала или асбестового шнура.
7. Противопожарная дверь по п.6, отличающаяся тем, что на поверхность выступа дверного полотна, примыкающую к раме, установлен уплотнитель от холодного дыма, выполненный из термостойкой резины.
8. Противопожарная дверь по п.5, отличающаяся тем, что дверная рама снабжена отверстиями, расположенными на ее лицевой поверхности напротив ригелей, срабатывающих при нагреве, для открытия дверей при нештатном срабатывании указанных ригелей.
9. Противопожарная дверь по п.3, отличающаяся тем, что дверная рама выполнена из Г-образного профиля.
10. Противопожарная дверь по п.9, отличающаяся тем, что на поверхность выступа дверного полотна, примыкающую к раме, установлен уплотнитель от холодного дыма, выполненный из термостойкой резины.
11. Противопожарная дверь по п.9, отличающаяся тем, что дверная рама снабжена отверстиями, расположенными на ее лицевой поверхности напротив ригелей, срабатывающих при нагреве, для открытия дверей при нештатном срабатывании указанных ригелей.
12. Противопожарная дверь по п.3, отличающаяся тем, что она снабжена вторым дверным полотном, выполненным по любому из пп.1-3 и с возможностью фиксации к дверной раме.
13. Противопожарная дверь по п.3, отличающаяся тем, что в дверном полотне выполнен проем, в котором установлен светопрозрачный противопожарный стеклопакет.
14. Противопожарная дверь по п.3, отличающаяся тем, что торцевая поверхность дверного полотна со стороны петель снабжена тремя пассивными ригелями, выполненными в виде штырей и размещенными равномерно по длине указанной поверхности, при этом в дверной раме выполнены приемные углубления или отверстия.
15. Ригель для противопожарной двери, срабатывающий при нагреве, включающий корпус, подвижный элемент, содержащий направляющую и фиксатор, пружину и плавкую вставку, отличающийся тем, что корпус выполнен в виде втулки и снабжен крепежной пластиной, установленной на его торце, в которой выполнено отверстие для прохождения фиксатора, и съемным крепежным элементом пружины, размещенным на противоположном конце корпуса, подвижный элемент снабжен хвостовиком, на котором размещен конец пружины, а концевая часть фиксатора выполнена конической и расположена в исходном положении в отверстии крепежной пластины, при этом плавкая вставка оперта на крепежную пластину и выполнена жесткой в виде кольца, а коническая часть фиксатора оперта на внутреннюю поверхность кольца и выступает за его пределы.
16. Ригель по п.15, отличающийся тем, что длина l1 указанной направляющей больше или равна ее диаметру D1, при этом длина l2 цилиндрической части фиксатора составляет 1,5 D1, конической части l3 – 0,3 D1, а отношение диаметра D2 фиксатора к диаметру D1 направляющей составляет 0,9.
17. Ригель по п.15 или 16, отличающийся тем, что плавкая вставка выполнена из материала на основе поливинилхлорида.
18. Ригель по п.15, отличающийся тем, что направляющая со стороны фиксатора выполнена с фаской.
19. Ригель по п.15, отличающийся тем, что длина l4 хвостовика подвижного элемента составляет не менее трех диаметров d проволоки пружины.
РИСУНКИ
|
|