|
|
(21), (22) Заявка: 2003112625/12, 27.09.2001
(24) Дата начала отсчета срока действия патента:
27.09.2001
(30) Конвенционный приоритет:
05.10.2000 FI 20002191
(43) Дата публикации заявки: 10.01.2005
(45) Опубликовано: 20.02.2006
(56) Список документов, цитированных в отчете о поиске:
ЕР 943763 А, 22.09.1999. FR 2687426 A1, 20.08.1993. GB 6155089 А, 11.02.1987. US 5884515 А, 05.03.1999. RU 2034124 С1, 30.04.1995.
(85) Дата перевода заявки PCT на национальную фазу:
05.05.2003
(86) Заявка PCT:
FI 01/00841 (27.09.2001)
(87) Публикация PCT:
WO 02/29188 (11.04.2002)
Адрес для переписки:
129010, Москва, ул. Б. Спасская, 25, стр.3, ООО “Юридическая фирма Городисский и Партнеры”, пат.пов. Ю.Д.Кузнецову, рег.№ 595
|
(72) Автор(ы):
ХУРСКАЙНЕН Ойва (FI), СИВОНЕН Ханну (FI)
(73) Патентообладатель(и):
АБЛОЙ ОЙ (FI)
|
(54) КОМБИНАЦИЯ ЭЛЕКТРОМЕХАНИЧЕСКОГО ЦИЛИНДРИЧЕСКОГО ЗАМКА И КЛЮЧА
(57) Реферат:
Изобретение относится к области скобяных изделий и касается комбинации электромеханического цилиндрического замка и ключа, включающей в себя ключ для замка, имеющий механический блокирующий код и средства для хранения электронного кода и для передачи этого электронного кода в замок, поворотный цилиндр замка, блокирующие средства, которые заключены в корпусе замка и которые препятствуют повороту цилиндра замка относительно корпуса замка и которые можно поворачивать посредством ключа в освобождающее положение, по меньшей мере, один специальный блокирующий диск, между которым и ключом отсутствует соединение, непосредственно передающее механические усилия, идентификационные и регулировочные средства для приема и идентификации электронного кода, передаваемого с ключа, и электрическое исполнительное средство с сочленяющим средством. Когда происходит совпадение с правильным электронным кодом ключа, упомянутые идентификационные и регулировочные средства обеспечивают активизацию упомянутого электрического исполнительного средства для направления сочленяющего средства в его сочленяющее положение. Сочленяющее средство включает в себя поворотный сочленяющий элемент, выполненный с возможностью взаимодействия с направляющей канавкой в специальном блокирующем диске, содержащей направляющую поверхность, при этом сочленяющий элемент выполнен с возможностью воздействия на направляющую поверхность в его сочленяющем положении и способствует повороту специального блокирующего диска при повороте ключа в замке. Данная комбинация имеет повышенную надежность, отличается простотой и малыми затратами на ее реализацию. 10 з.п. ф-лы, 6 ил. 
Изобретение относится к комбинации электромеханического цилиндрического замка и ключа в соответствии с ограничительной частью п.1 формулы изобретения.
Для повышения надежности замков перешли с механических цилиндрических замков на электромеханические цилиндрические замки, имеющие блокирующие средства, которые выполнены с возможностью механического отпирания непосредственно с помощью ключа замка или электронного отпирания посредством электронного кода, подаваемого отдельно с ключа или аналогичного запоминающего средства. Известны многочисленные решения, в которых предусмотрено воздействие правильного электронного кода на отдельное блокировочное средство и либо прямое перемещение этого средства в положение, обуславливающее освобождение цилиндра замка, либо обеспечение возможности его перемещения в такое освобождающее положение.
Другой известный тип электромеханического цилиндрического замка имеет обычное блокировочное средство, а помимо него – дополнительное блокировочное средство, которое обычно не может быть приведено в действие с помощью механического ключа замка и которое после введения правильного электронного кода может быть сочленено отдельно для установления соединения, обеспечивающего передачу усилий, с ключом замка для отпирания этого замка. В публикации ЕР-А-0943763 описаны различные конкретные варианты осуществления таких известных цилиндрических замков. Вместе с тем, поскольку они требуют некоторого места, простая реализация этих известных конструкций с механическим сочленением в существующих цилиндрах замков, удовлетворяющих определенным стандартам, оказывается невозможной. Кроме того, требования к надежности и затраты на внедрение упомянутых механизмов привели к необходимости дальнейшей разработки.
В основу настоящего изобретения положена задача дальнейшей разработки вышеупомянутых решений и конкретных вариантов осуществления и нахождения улучшенного решения, которое, применительно к механической реализации цилиндрического замка, является простым, надежным, как можно более выгодным с точки зрения затрат, и которое, с точки зрения требований к занимаемому месту, также можно с выгодой реализовать в цилиндрических замках, используемых в настоящее время.
Задачи изобретения достигаются с помощью предлагаемых решений, подробно описанных в прилагаемой формуле изобретения.
В соответствии с настоящим изобретением предложена комбинация цилиндрического замка и ключа, заявляемая в нижеследующем п.1 формулы изобретения. Это решение является простым и не требует наличия элементов, выполненных с возможностью перемещения в осевом направлении замка, а для сочленяющего элемента, имеющего незначительную массу, требуется лишь движение поворота. Такое движение может быть осуществлено за счет подачи довольно слабого электрического импульса.
В сочленяющем элементе имеется направляющая канавка, преимущественно выполненная таким образом, что в свободном или несочленяющем положении упомянутого элемента она обеспечивает такое движение поворота ключа, что в результате него специальный блокирующий диск не поворачивается вместе с сочленяющим элементом и ключом. Поскольку тогда невозможно воздействовать ключом на сочленяющий элемент и специальный блокирующий диск, в случае неправильного электронного кода также не удастся сломать дополнительный блокирующий механизм, прикладывая силу к ключу.
Корпус замка преимущественно включает в себя регулировочный узел, который выполнен с возможностью непрерывного поворота ключом и на котором расположены электрическое исполнительное средство, сочленяющий элемент и предпочтительно также идентификационные и регулировочные средства, при этом регулировочный узел частично находится внутри цилиндра замка. Эта конструкция выгодна с точки зрения требований к сборке и занимаемому месту. Когда регулировочный узел лишь частично находится внутри цилиндра замка, его диаметр снаружи цилиндра замка является таким же, как диаметр самого цилиндра замка.
Специальный блокирующий диск преимущественно расположен внутри цилиндра замка, а в осевом направлении замка находится между блокирующим средством и регулировочным узлом. Специальный блокирующий диск предпочтительно расположен радиально снаружи части регулировочного узла и окружает ее. Специальный блокирующий диск также предпочтительно отделен от части регулировочного узла, которую он окружает, направляющим диском, который опирается без возможности поворота на цилиндр замка. Таким образом, невозможно воздействовать на специальный блокирующий диск или добраться до него, воспользовавшись каналом ключа.
Для удобства направляющий диск образует часть направляющей канавки, так что когда сочленяющий элемент перемещают в его сочленяющее положение, направляющая канавка ограничивает движение поворота сочленяющего элемента и тем самым определяет сочленяющее положение сочленяющего элемента. Такая конструкция требует мало места и выгодна в изготовлении.
За счет того, что регулировочный узел снабжен радиальным выступом, который выполнен с возможностью возврата специального блокирующего диска в его исходное положение, когда замок снова запирают после отпирания блокировочного механизма, обеспечивается простая гарантия осуществления движения возврата специального блокирующего диска.
Один преимущественный конкретный вариант осуществления изобретения относится к цилиндрическому замку, имеющему цилиндр замка, который включает в себя осевой паз и который снабжен набором блокирующих дисков, выполненных с возможностью механического поворота ключом замка, при этом блокирующие диски находятся внутри цилиндра замка, а каждый из них снабжен периферийным вырезом, и эти вырезы вместе определяют отпирающую комбинацию замка. Кроме того, блокирующие средства включают в себя задвижку, которая в своем блокирующем положении вместе с блокирующими дисками препятствует повороту цилиндра замка относительно корпуса замка и которая выполнена с возможностью перемещения в свое освобождающее положение, обеспечивающее упомянутый поворот за счет поворота сначала блокирующих дисков ключом в положение, в котором их периферийные вырезы образуют единообразный канал у положения задвижки и упомянутого паза в цилиндре замка. В этом случае специальный блокирующий диск преимущественно можно функционально связать с задвижкой таким образом, что он определяет движение задвижки между блокирующим и освобождающим положениями независимо от других блокирующих дисков. В этом случае нет необходимости в неотделяемом блокирующем элементе для специального блокирующего диска. В этом воплощении регулировочный узел работает преимущественно как подъемный диск с нулевой блокировкой, посредством чего эта задвижка точно возвращается в свое блокирующее положение.
Можно дополнительно повысить надежность блокировки таким образом, что движение поворота специального блокирующего диска в его положение, обеспечивающее освобождение блокирующего механизма, позволит достичь конца перемещения этого диска до того, как обычные блокирующие диски механизма замка достигнут своих освобождающих положений. В этом случае направляющий диск преимущественно можно расположить с обеспечением возможности направления сочленяющего элемента во время поворота в его сочленяющее положение до тех пор, пока ключ не достигнет повернутого положения, в котором специальный блокирующий диск окажется перемещенным в свое освобождающее положение. Кроме того, направляющий диск преимущественно может включать в себя вырез, который обеспечивает поворот сочленяющего элемента в его несочленяющее положение после того, как специальный блокирующий диск достиг своего освобождающего положения, вследствие чего при дальнейшем перемещении ключа этот ключ одновременно устанавливает другие блокирующие диски в их соответствующие освобождающие положения.
На практике поворот сочленяющего элемента в его несочленяющее положение осуществляется посредством направляющей поверхности специального блокирующего диска.
Теперь, лишь в качестве примера, будут описаны конкретные варианты осуществления изобретения с конкретными ссылками на прилагаемые чертежи, где
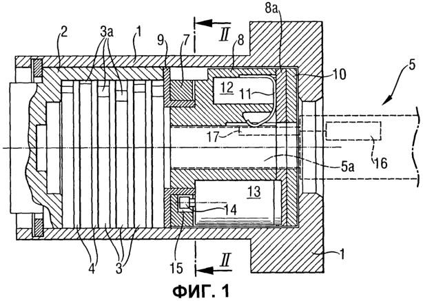
на фиг.1 представлен разрез комбинации электромеханического цилиндрического замка и ключа в соответствии с изобретением, сделанный в продольном направлении замка,
на фиг.2 представлен разрез, сделанный вдоль линии II-II, показанной на фиг.1,
на фиг.3-5 цилиндрический замок, представленный на фиг.2, показан в различных рабочих положениях, и
на фиг.6 цилиндрический замок, представленный на фиг.2, показан после поворота ключа, когда посланный электронный код является неправильным.
На чертежах позиция 1 обозначает корпус замка, в котором заключены цилиндр 2 замка и задвижка 6, которая, в ее блокирующем положении, находится частично в канавке 1а, выполненной во внутренней поверхности корпуса 1 замка, а частично – в пазу 2а, выполненном в цилиндре 2 замка. Когда задвижка 6 находится в блокирующем положении, то она также препятствует повороту цилиндра 2 замка. Внутри цилиндра 2 замка находится набор дисков, который включает в себя некоторое количество блокирующих дисков 3, каждый из которых снабжен периферийным вырезом 3а, и промежуточные диски 4, которые разделяют блокирующие диски. Блокирующие диски 3 можно поворачивать способом, который как таковой известен, за счет использования “механического кода”, устанавливаемого хвостовиком 5а ключа 5, причем этот “механический код” обеспечивается комбинированными поверхностями, вырезанными в хвостовике ключа, которые не показаны подробно на чертежах. Таким образом, ключ 5 выполнен с возможностью поворота блокирующих дисков в положение, отпирающее замок, в котором периферийные вырезы 3а оказываются расположенными у положения паза 2а цилиндра замка и задвижки 6, так что они образуют единообразный канал, в который может входить задвижка, освобождая таким образом цилиндр 2 замка для поворота относительно корпуса 1 замка.
Ключ 5 замка включает в себя средство 16 для хранения “электронного кода” и для подачи его через контактное средство 17 в замок. Ключ также предпочтительно снабжен источником питания, например батарейкой (не показана), так что можно подавать электропитание с ключа в замок для работы находящихся в замке электронных компонентов и электрического исполнительного средства. При такой конструкции нет необходимости снабжать сам замок источником питания или подключать его к внешнему источнику питания посредством электрических проводов.
Кроме того, корпус 1 замка снабжен специальным блокирующим диском 7, который снабжен направляющей канавкой 15, имеющей направляющую поверхность 15а. Этот специальный блокирующий диск 7 отделен посредством направляющего диска 9 от других блокирующих дисков 3 и от регулировочного узла 8, который выполнен с возможностью непрерывного поворота ключом, когда ключ поворачивают в замке. Направляющий диск 9 опирается без возможности поворота на цилиндр 2 замка, а его внешняя поверхность образует с направляющей поверхностью 15а направляющую канавку 15. Регулировочный узел 8 включает в себя контактный элемент 11, который взаимодействует с контактным средством 17 ключа, когда ключ находится в замке, идентификационные и регулировочные средства 12 и электрическое исполнительное средство 13, к которому прикреплен поворотный сочленяющий элемент 14. Регулировочный узел 8 снабжен крышечным элементом 8а. Кроме того, корпус 1 замка включает в себя пластиночный элемент 10, который служит в качестве защиты от сверления и который можно дополнительно использовать в качестве профилированного диска для определения форм профиля хвостовиков ключей, совместимых с замком, что позволяет применять разные семейства ключей.
Регулировочный узел 8 лишь частично находится внутри цилиндра 2 корпуса, вследствие чего его диаметр снаружи цилиндра корпуса может быть соответственно шире с тем, чтобы можно было легче вводить в него отдельные устройства и средства. С другой стороны, поскольку регулировочный узел 8 частично находится внутри цилиндра 2 замка, он, со своей стороны, образует вместе со специальным блокирующим диском 7 механизм, влияющий на перемещения задвижки 6. С этой целью, задвижка 6 выполнена такой, что она проходит относительно регулировочного узла 8 на такое же расстояние, как цилиндр 2 замка. В этом случае специальный блокирующий диск 7 снабжен периферийным вырезом 7а для задвижки 6, а регулировочный узел 8 выполнен с возможностью включения в него осевой канавки (не показана), соответствующей периферийному вырезу и проходящей вдоль регулировочного узла 8 на такое же расстояние, что и задвижка 6. Таким образом, поскольку регулировочный узел 8 всегда поворачивается вместе с ключом, когда ключ поворачивают в замке, периферийную канавку в регулировочном узле 8 можно использовать точно таким же образом, в качестве так называемого “подъемного диска с нулевой блокировкой”, который обычно используют в механизмах замков с поворотными блокирующими дисками и который гарантирует плавное перемещение задвижки назад в ее блокирующее положение внутри канавки 1а в корпусе замка, когда механизм замка заблокирован.
На фиг.2 замок показан в своем заблокированном положении, в котором сочленяющий элемент 14 находится в направляющей канавке 15 в специальном блокирующем диске 7. Поскольку в этом положении периферийный вырез 7а не находится у положения задвижки 6, специальный блокирующий диск 7 препятствует перемещению задвижки 6 в ее освобождающее положение независимо от положений других блокирующих дисков. Естественно, что в этом положении другие блокирующие диски 3 также “зашифрованы”, вследствие чего каждый из их периферийных вырезов (не показан) находится в повернутом положении, соответствующем значениям их выбранных комбинаций, так что блокирующие диски 3 также препятствуют перемещению задвижки 6 в ее освобождающее положение.
Когда с ключа через средства 17 и 11 в идентификационные и регулировочные средства 12 регулировочного узла 8 подается электронный код, этот электронный код сравнивается с предварительно сохраненным кодом или предварительно сохраненными кодами. Если электронный код является правильным, средства 12 активизируют электрическое исполнительное средство 13, вследствие чего сочленяющий элемент 14 поворачивается вокруг своей оси в положение, показанное на фиг.3. В этом случае сочленяющий элемент 14 смещен к внешней поверхности направляющего диска 9, который, таким образом, определяет повернутое положение сочленяющего элемента 14. Если теперь ключ поворачивают в замке, регулировочный узел 8 и одновременно сочленяющий элемент 14 поворачиваются ключом, в результате чего сочленяющий элемент 14 ударяется о направляющую поверхность 15а в направляющей канавке 15 или взаимодействует с этой поверхностью. Вследствие такого воздействия сочленяющего элемента на направляющую поверхность специальный блокирующий диск 7 начинает поворачиваться вместе с ключом 5, регулировочным узлом 8 и сочленяющим элементом 14 и продолжает поворачиваться до тех пор, пока не возникнет ситуация, изображенная на фиг.4. На фиг.4 показано, что периферийный вырез 7а специального блокирующего диска 7 повернут к положению задвижки 6, и вследствие этого специальный блокирующий диск 7 оказывается в своем освобождающем положении.
Чтобы повысить надежность блокировки, поворот специального блокирующего диска 7 в его освобождающее положение осуществлен посредством избирательного перемещения, необходимого для достижения соответствующего расположения других блокирующих дисков 3. Таким образом, чтобы установить другие блокирующие диски 3 в их освобождающие положения, приходится продолжать поворот ключа дальше. С этой целью, направляющий диск 9 включает в себя вырез 9а, ограничивающий направляющую канавку 15, которая в ситуации, изображенной на фиг.4, дает сочленяющему элементу 14 возможность поворачиваться под воздействием направляющей поверхности 15а вокруг своей оси в положение, показанное на фиг.5, когда сам регулировочный узел 8 поворачивают посредством ключа. Вследствие этого движения поворота другие блокирующие диски также поворачиваются в свои освобождающие положения, так что периферийные вырезы всех блокирующих дисков располагаются у положения задвижки 6 в соответствии с фиг.5, за счет чего механизм замка отпирается.
Возвращение блокирующих дисков в их исходные положения для заблокирования механизма замка осуществляют, поворачивая ключ в противоположном направлении. Возвращение обычных блокирующих дисков можно осуществлять известным способом, зависящим от типа механизма замка. Оно может происходить непосредственно за счет контакта с ключом или, например, в соответствии с конструкцией, описанной в публикации ЕР-А-0943763, за счет использования возвратного бруска, установленного в канале ключа замка и являющегося деталью, в связи с работой которой как таковой можно сослаться на публикацию ЕР-В-0617184. Поскольку между ключом и специальным блокирующим диском 7 нет соединения, непосредственно передающего усилие, движение поворота специального блокирующего диска осуществляется за счет радиального выступа 8b в регулировочном узле 8, воздействующего на ступенькообразную противодействующую поверхность 7b в периферии специального блокирующего диска 7.
На фиг.6 показано, что происходит, когда ключ поворачивают в замке, если подаваемый электронный код оказывается неправильным. В этом случае сочленяющий элемент 14 остается в своем исходном положении (показанном на фиг.2), так что когда регулировочный узел 8 поворачивают ключом, этот сочленяющий элемент 14 не ударяется о направляющую поверхность 15а в направляющей канавке 15 специального блокирующего диска 7, вследствие чего специальный блокирующий диск 7 не поворачивается вовсе. Чтобы сделать поворот ключа возможным и в этой ситуации, направляющая канавка 15 выполнена с возможностью обеспечения поворота сочленяющего элемента 14 вместе с ключом, как явствует из фиг.6.
Поскольку, в дополнение к работе электронных компонентов, возникает лишь кратковременная потребность в питании для поворота сочленяющего элемента 14 в его сочленяющее положение (см., например, фиг.2 и 3), то нет необходимости снабжать корпус замка своим собственным источником питания, так как питание можно подавать через колюч, например, посредством батарейки, которую несет этот ключ. Электрические исполнительные устройства 13 преимущественно содержат малый электродвигатель или электромагнитный клапан.
Вышеописанный предпочтительный конкретный вариант осуществления изобретения основан на базовом механизме замка, снабженном поворотными или вращательными блокирующими дисками, вследствие чего одна и та же задвижка может быть использована как для обычных блокирующих дисков 3, так и для специального блокирующего диска 7 в соответствии с вышеизложенным. Однако решение, соответствующее этому изобретению, не сводится к конкретным вариантам осуществления, основанным на различных блокирующих дисках, а может быть применено также к механизмам замков других видов, таких как штырьковые реверсивные механизмы. Однако тогда, если не предусмотрено иное средство, корпус замка нужно снабдить отдельной задвижкой или аналогичным элементом, который должен будет взаимодействовать со специальным блокирующим диском 7 и регулировочным узлом 8.
Таким образом, изобретение не сводится к описанному конкретному варианту осуществления, и в рамках объема притязаний, охватываемого прилагаемой формулой изобретения, можно реализовать различные его модификации.
Формула изобретения
1. Комбинация электромеханического цилиндрического замка и ключа, включающая в себя ключ (5) для замка, имеющий механический блокирующий код и средства (16, 17) для хранения электронного кода и для передачи этого электронного кода в замок, поворотный цилиндр (2) замка, корпус (1) замка, в котором заключен упомянутый цилиндр (2) замка, блокирующие средства (3), которые заключены в корпусе замка и которые обычно препятствуют повороту цилиндра (2) замка относительно корпуса (1) замка и которые можно поворачивать посредством ключа (5) в освобождающее положение, обеспечивающее поворот цилиндра (2) замка относительно корпуса замка, по меньшей мере, один специальный блокирующий диск (7), между которым и ключом (5) отсутствует соединение, непосредственно передающее механические усилия, идентификационные и регулировочные средства (11, 12) для приема и идентификации электронного кода, передаваемого с ключа, и электрическое исполнительное средство (13) с сочленяющим средством (14), прикрепленным к нему и имеющим свободное положение и сочленяющее положение, в котором они расположены с возможностью связывания упомянутого, по меньшей мере, одного специального блокирующего диска (7) с движением поворота ключа для отпирания замка, вследствие чего, когда происходит совпадение с правильным электронным кодом ключа (5), упомянутые идентификационные и регулировочные средства (11, 12) обеспечивают активизацию упомянутого электрического исполнительного средства (13) для направления упомянутого сочленяющего средства (14) в его упомянутое сочленяющее положение, отличающаяся тем, что упомянутое сочленяющее средство (14) включает в себя поворотный сочленяющий элемент (14), выполненный с возможностью взаимодействия с направляющей канавкой (15) в упомянутом специальном блокирующем диске (7), и тем, что направляющая канавка (15) содержит направляющую поверхность (15а), при этом упомянутый сочленяющий элемент (14) выполнен с возможностью воздействия на упомянутую направляющую поверхность в его сочленяющем положении и способствует повороту специального блокирующего диска (7) при повороте ключа (5) в замке.
2. Комбинация по п.1, отличающаяся тем, что упомянутая направляющая канавка (15) в свободном или не сочленяющем положении сочленяющего элемента (14) выполнена с возможностью обеспечения движения поворота ключа таким образом, что в результате отсутствует поворот специального блокирующего диска (7) вместе с сочленяющим элементом (14) и ключом (5).
3. Комбинация по п.1 или 2, отличающаяся тем, что корпус (1) замка преимущественно включает в себя регулировочный узел (8), который выполнен с возможностью непрерывного поворота ключом (5) и на котором расположены упомянутое электрическое исполнительное средство (13), сочленяющий элемент (14) и предпочтительно также идентификационные и регулировочные средства (11, 12), при этом упомянутый регулировочный узел (8) частично находится внутри цилиндра (2) замка.
4. Комбинация по п.3, отличающаяся тем, что упомянутый специальный блокирующий диск (7) расположен внутри цилиндра (2) замка, а в осевом направлении замка находится между блокирующим средством и регулировочным узлом (8), расположен радиально снаружи части регулировочного узла и окружает ее, а также отделен от части регулировочного узла, которую он окружает, направляющим диском (9), который опирается без возможности поворота на цилиндр (2) замка.
5. Комбинация по п.4, отличающаяся тем, что направляющий диск (9) образует часть упомянутой направляющей канавки (15), так что, когда сочленяющий элемент (14) перемещается в его сочленяющее положение, направляющая канавка (15) ограничивает движение поворота сочленяющего элемента (14) и, тем самым, определяет сочленяющее положение сочленяющего элемента (14).
6. Комбинация по пп.3, 4 или 5, отличающаяся тем, что регулировочный узел (8) снабжен радиальным выступом (8b), который выполнен с возможностью возврата специального блокирующего диска (7) в его исходное положение, когда замок снова блокируется после отпирания блокирующего механизма.
7. Комбинация по любому из предшествующих пунктов, в которой цилиндр (2) замка включает в себя осевой паз (2а) и снабжен набором блокирующих дисков (3), выполненных с возможностью механического поворота ключом (5) замка, при этом блокирующие диски находятся внутри цилиндра (2) замка, а каждый из них снабжен периферийным вырезом (3а), определяющим отпирающую комбинацию замка, вследствие чего блокирующие средства дополнительно включают в себя задвижку (6), которая в своем блокирующем положении вместе с блокирующими дисками (3) препятствует повороту цилиндра (2) замка относительно корпуса (1) замка и которая выполнена с возможностью перемещения в свое освобождающее положение, обеспечивающее упомянутый поворот за счет поворота сначала блокирующих дисков (3) ключом в положение, в котором их периферийные вырезы (3а) образуют единообразный канал у положения задвижки (6) и упомянутого паза (2а) в цилиндре замка, отличающаяся тем, что упомянутый специальный запирающий диск (7) функционально связан с задвижкой (6) таким образом, что им определяется движение задвижки (6) между блокирующим и освобождающим положениями независимо от других блокирующих дисков (3).
8. Комбинация по п.7, отличающаяся тем, что упомянутый регулировочный узел (8) выполнен с возможностью работы как подъемный диск с нулевой блокировкой.
9. Комбинация по п.7 или 8, отличающаяся тем, что движение поворота специального блокирующего диска (7) в его положение, обеспечивающее освобождение блокирующего механизма, позволяет достичь конца перемещения этого диска до того, как обычные блокирующие диски (3) механизма замка достигнут своих освобождающих положений.
10. Комбинация по п.9, отличающаяся тем, что направляющий диск (9) выполнен с возможностью направления сочленяющего элемента (14) при повороте в его сочленяющее положение до достижения ключом (5) повернутого положения, в котором упомянутый специальный блокирующий диск (7) оказывается перемещенным в свое освобождающее положение, и тем, что направляющий диск (9) включает в себя вырез (9а), которым обеспечивается поворот сочленяющего элемента (14) в его положение, в котором отсутствует сочленение после того, как упомянутый специальный блокирующий диск (7) достиг своего освобождающего положения, вследствие чего при дальнейшем перемещении ключа (5) этим ключом (5) одновременно устанавливаются другие блокирующие диски (3) в их соответствующие освобождающие положения.
11. Комбинация по п.10, отличающаяся тем, что поворот сочленяющего элемента (14) в его несочленяющее положение осуществляется посредством направляющей поверхности (15а) направляющей канавки (15) в упомянутом специальном блокирующем диске (7).
РИСУНКИ
|
|