|
|
(21), (22) Заявка: 2004138992/12, 31.12.2004
(24) Дата начала отсчета срока действия патента:
31.12.2004
(45) Опубликовано: 20.02.2006
(56) Список документов, цитированных в отчете о поиске:
SU 1792478 A3, 30.01.1993. RU 2123569 C1, 20.12.1998. RU 2019659 C1, 15.09.1994. US 3465556 А, 09.09.1969. RU 2229575 C1, 27.05.2004.
Адрес для переписки:
101990, Москва, Петроверигский пер., 4, “Агентство Ермакова, Столярова и Партнеры”, пат.пов. Е.А.Ермаковой
|
(73) Патентообладатель(и):
Скробот Владимир Георгиевич (RU)
|
(54) ЗАПИРАЮЩЕЕ УСТРОЙСТВО
(57) Реферат:
Изобретение относится к области скобяных изделий и касается запирающего устройства, содержащего ключ, корпус с замочной скважиной, выполненный с возможностью возвратно-поступательного перемещения ползун, запирающий узел и по меньшей мере один запирающий ригель. Оно дополнительно содержит взаимодействующий с ползуном блок управления и взаимодействующий с последним толкатель ключа. В ползуне выполнен паз для ключа, расположенный из условия его нахождения напротив замочной скважины, а ползун установлен из условия перекрытия замочной скважины при взаимодействии с блоком управления. Запирающий узел выполнен в виде взаимодействующих друг с другом неподвижного и подвижного относительно корпуса запорных блоков, при этом на неподвижном запорном блоке выполнены кодовые выступы, соответствующие кодовым отверстиям и/или углублениям на ключе, толкатель установлен с возможностью перемещения ключа в процессе открывания замка из паза ползуна в позицию контакта с упомянутыми кодовыми выступами, а подвижный запорный блок установлен с возможностью взаимодействия посредством блока управления с по меньшей мере одним ригелем. Данное устройство имеет повышенную устойчивость к несанкционированному вскрытию. 4 з.п. ф-лы, 8 ил. 
Изобретение относится к запирающим устройствам дверей в служебных и жилых помещениях, сейфах и т.д.
Из уровня техники известно, в частности, запирающее устройство по патенту SU 1792478, предложенное в качестве наиболее близкого аналога и содержащее укрепленный на корпусе замка кожух с замочной скважиной, взаимодействующее с кожухом и управляющее цугальтой водило и извлекаемый ключ. Кожух выполнен с плоским основанием, а ключ и водило выполнены в виде плоско прилегающих одна к другой пластин, расположенных своими концевыми участками в кожухе с возможностью взаимодействия водила с основанием кожуха по плоскости контакта. Ключ и водило механизма расположены друг относительно друга крестообразно. Механизм выполнен с парой гнезд, каждое из которых составлено из соосных отверстий водила и основания, и с парами помещенных в каждое гнездо подпружиненных штифтов. Один из штифтов имеет длину, равную толщине водила, второй – равную сумме толщин ключа и водила. Ключ имеет по меньшей мере одно отверстие, совпадающее с гнездом механизма, несущим больший из упомянутых штифтов.
Главный недостаток описанного, а также других известных устройств заключается в возможности свободного доступа через замочную скважину к кодирующим элементам, что позволяет манипулировать запирающими элементами кодового механизма замка посредством отмычек и т.п. средств при попытках несанкционированного вскрытия двери или сейфа. Предлагаемая конструкция лишена указанного недостатка за счет исключения воздействия извне на кодирующие элементы замка, а сверхвысокой секретности замка способствует колоссальное количество комбинаций кодирующих элементов – более 260 вариантов.
Технический результат, который может быть получен при реализации данного изобретения, – повышение эксплуатационных функций устройства за счет исключения возможности свободного доступа посторонних лиц к кодирующим элементам замка, а также использования поддельных ключей.
Для достижения поставленного результата в известном запирающем устройстве, содержащем ключ, корпус с замочной скважиной, выполненный с возможностью возвратно-поступательного перемещения ползун, запирающий узел и по меньшей мере один запирающий засов, новым является то, что оно дополнительно содержит взаимодействующий с ползуном блок управления и взаимодействующий с последним толкатель ключа, в ползуне выполнен паз для ключа, расположенный из условия его нахождения напротив замочной скважины, а ползун установлен из условия перекрытия замочной скважины при взаимодействии с блоком управления, а запирающий узел выполнен в виде взаимодействующих друг с другом неподвижного и подвижного относительно корпуса запорных блоков, при этом на неподвижном запорном блоке выполнены кодовые выступы, соответствующие кодовым отверстиям и/или углублениям на ключе, толкатель установлен с возможностью перемещения ключа в процессе открывания замка из паза ползуна в позицию контакта с упомянутыми кодовыми выступами, а подвижный запорный блок установлен с возможностью взаимодействия посредством блока управления с по меньшей мере одним ригелем.
Кроме того, возможны частные случаи реализации изобретения, согласно которым паз для ключа в ползуне выполнен из условия контакта с ключом по крайним боковым поверхностям паза, а толкатель выполнен из условия прохождения с небольшим натягом по контактным поверхностям паза, устройство дополнительно может содержать подпружиненный относительно корпуса отсекатель ключа, расположенный между ползуном и неподвижным запорным блоком, а также установленное в контакте с блоком управления устройство для перемещения ригелей в разных направлениях.
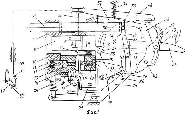
Изобретение иллюстрируется чертежами, где на фиг.1 представлен общий вид механизма замка в закрытом положении; на фиг.2 – разрез А-А на фиг.1; на фиг.3 – общий вид ключа замка; на фиг.4 – процесс установки ключа в замочную скважину; на фиг.5 – положение ключа в замочной скважине; на фиг.6 – положение отдельных элементов замка в момент открытия; на фиг.7 – общий вид внутреннего бокса для ключей; на фиг.8 – один из предпочтительных вариантов установки ручки замка.
Замок содержит корпус 1 с замочной скважиной 2, ползун 6 с профилированным пазом 7 для ключа 3 и выступом 8, взаимодействующим с блоком управления, в описываемом варианте изобретения выполненным в виде кулачкового блока 35, закрепленный в корпусе 1 неподвижный запорный блок 14 с кодирующими выступами 15, соответствующими сквозным кодовым вырезам 4 и кодовым углублениям 5 ключа 3, содержащий комплект ступенчатых цугальтов 13, взаимодействующий с ним подвижный запорный блок 10, отжимаемый пружиной 24 в направлении промежуточного рычага 25, содержащий комплект подпружиненных запирающих цугальтов 12, соосных со ступенчатыми цугальтами 13, подвижную скобу 18, приводимую от кулачкового блока 35, содержащую ключевой паз 20, подпружиненный отсекатель ключа 9, подвижную подключевую пластину 16, бокс 21 для использованного ключа, снабженный заслонкой 22, приводимой от промежуточного рычага 25 тягой 23, управляющий механизмом замка кулачковый блок 35, приводимый в движение от наружной ручки замка 36, ригель 31 (или несколько ригелей), приводимый от выступа 43 кулачкового блока 35 посредством рычага 28, соединенного с промежуточным рычагом 25 при отпирании замка и от выступа 44 при запирании, снабженный подпружиненным фиксатором 32 с выступом 33 для запирания ригеля в закрытом положении замка и для частичной фиксации в открытом положении, профилированный толкатель ключа 50, приводимый от кулачкового блока 35 посредством рычага 48, снабженный кулачками 51 и 52 для привода подключевой пластины 16 посредством рычага 17.
Механизм замка работает следующим образом. В закрытом положении ригель 31 максимально выдвинут из корпуса 1 и зафиксирован выступом 33 фиксатора 32. Профилированный ключевой паз 7 ползуна 6 совмещен с замочной скважиной 2 (фиг.2). Подпружиненные цугальты 12 подвижного запорного блока 10 входят под действием пружин 11 в соосные отверстия неподвижного запорного блока 14, сдвигая ступенчатые цугальты 13 внутрь запорного блока 14 до упора, тем самым препятствуя смещению блока 10 под воздействием пружины 24, при этом рычаг привода ригеля 28 и связанный с ним промежуточный рычаг 25 зафиксированы в нижнем положении, что делает невозможным воздействие на запертый ригель 31 поворотом кулачкового блока 35 за ручку замка 36, т.к., во-первых, угол поворота блока 35 ограничен упором выступа 42 в промежуточный рычаг 25, а во-вторых, на радиусе вращения выступа 43 отпирания ригеля 31 находится соответствующий паз 29 рычага 28.
Для открывания замка необходимо вставить снаружи ключ 3 через замочную скважину 2 определенным образом в профилированный паз 7 ползуна 6 до упора (фиг.4). Скошенный угол ключа 3 должен быть обращен вперед и вверх – в сторону ответного выступа профилированного паза 7, в противном случае ключ не войдет полностью в замочную скважину 2. В пазу 7 ключ 3 касается стенок паза в нескольких точках на концах ключа. Большая часть поверхности ключа 3 имеет небольшой зазор со стенками профилированного паза 7 (фиг.5). Это сделано для того, чтобы ключ не оставлял следов касания кодовых вырезов 4 и кодовых углублений 5 на стенках профилированного паза 7.
Следующим действием для открывания замка является поворот снаружи ручки замка 36 в направлении, указанном стрелкой на фиг.1, с преодолением усилия возвратной пружины 53 (фиг.8), при этом происходит поворот кулачкового блока. Первым вступает в действие кулачок 37, через выступ 8 ползуна 6 сдвигающий ползун вместе с находящимся в пазу 7 ключом 3 в сторону толкателя ключа 50 до совмещения паза 7 с плоскостью толкателя 50 (фиг.6). При этом замочная скважина 2 в корпусе 1 наглухо закрывается плотно пригнанной лицевой поверхностью ползуна 6, закрывая вход в лабиринт, по которому перемещается ключ 3, и удерживается закрытой в течение всего процесса работы замка, вплоть до возвращения ручки 36 замка в исходное положение, делая невозможным добраться до кодирующих элементов замка отмычкой. При дальнейшем повороте кулачкового блока 35 выступ 8 ползуна 6 скользит по цилиндрической поверхности блока 35, не воздействуя на ползун.
Следующим вступает в действие кулачок 39. Толкая выступ 49 рычага 48, он поворачивает рычаг вокруг оси и через него приводит в движение толкатель ключа 50, который входит с минимальным зазором в профилированный ключевой паз 7 ползуна 6 и проталкивает ключ 3 через подпружиненный отсекатель 9, отодвигая его в ключевой паз 20 подвижной скобы 18. После полного вхождения ключа 3 в паз 20 отсекатель 9 встает на место под воздействием своей пружины – в толкателе 50 ключа есть ответная прорезь, и он никак не препятствует движению отсекателя, делая невозможным извлечь ключ или его суррогат с оттиском кодирующих выступов 15 неподвижного запорного блока 14 наружу через замочную скважину 2. Настоящий ключ, открыв замок, остается во внутреннем боксе 21 для ключей, а инородный для данного механизма ключ после неудачной попытки открывания замка выпадет внутрь двери или сейфа.
Одновременно с выталкиванием ключа 3 из ключевого паза 7 ползуна 6 кулачок 51, находящийся на толкателе 50, поворачивает вокруг оси рычаг 17, который двигает подвижную подключевую пластину 16 в сторону подвижной скобы 18, перекрывая ключу 3 выход из ключевого паза 20 скобы 18. Таким образом ключ 3 в ключевом пазу 20 удерживается с одной стороны толкателем 50, а с другой – подвижной подключевой пластиной 16. Следующим вступает в действие кулачок 41. Толкая выступ 47 рычага 46, он поворачивает рычаг вокруг оси и, сжимая пружину 19, двигает подвижную скобу 18 с находящимся в ее пазу 20 ключом 3 в сторону неподвижного запорного блока 14. Если ключ настоящий, то кодирующие выступы 15 блока 14 входят в соответствующие сквозные кодовые прорези 4 и кодовые углубления 5 ключа 3. При этом подвижная скоба 18 вплотную прижимает ключ 3 к обращенной к ней плоскости блока 14, до конца утапливая в нем ступенчатые цугальты 13, которые, сжимая пружины, сдвигают подпружиненные цугальты 12 торцами точно до плоскости прилегания подвижного запорного блока 10 и подвижного запорного блока 14 и тем самым освобождают блок 10, который немедленно смещается под воздействием пружины 24 в сторону промежуточного рычага 25, поворачивая его вокруг оси.
В случае использования посторонними лицами несоответствующего ключа практически невероятно полное прилегание пластины ключа к плоскости неподвижного запорного блока и одновременно правильное нажатие всех ступенчатых цугальтов с освобождением подвижного запорного блока – замок не откроется. При этом паз 27 промежуточного рычага 25 совмещается с выступом 42 ограничения поворота кулачкового блока 35 и дает возможность блоку 35 повернуться дальше в процессе открывания замка. Рычаг 28 привода ригеля, связанный с промежуточным рычагом 25, своим выступом 30 выталкивает из паза ригеля 31 выступ 33 фиксатора 32, освобождая ригель 31. Паз 29 рычага 28 смещается от выступа 43 отпирания ригеля 31, давая возможность выступу 43 воздействовать на рычаг 28. Дальнейший поворот кулачкового блока 35 приводит к тому, что выступ 42 проходит в паз 27 рычага 25, не препятствуя повороту блока, а выступ 43 нажимает на рычаг 28 привода ригеля, и тот своим выступом 30 двигает ригель 31 внутрь корпуса 1, тем самым открывая замок.
Поворачиваясь вокруг оси при отпирании замка, промежуточный рычаг 25 за тягу 23 открывает заслонку 22 внутреннего бокса 21 для ключей (фиг.7).
В открытом положении замка ригель 31 частично фиксируется вхождением выступа 33 фиксатора 32 в небольшое углубление ригеля.
После снятия усилия с ручки 36 замка, она возвращается в исходное положение под действием возвратной пружины 53. При этом возвращение элементов замка в исходное положение происходит в обратном порядке. При обратном вращении кулачкового блока 35 кулачок 41 освобождает подвижную скобу 18, которая под давлением пружины 19 возвращается в исходное положение в плоскость толкателя 50 до упора в корпус 1, и снимает ключ 3 с кодирующих выступов 15 неподвижного запорного блока 14. Затем кулачок 40 за выступ 49 поворачивает рычаг 48, который выдвигает толкатель из профилированного паза 7 ползуна 6 в корпус 1, освобождая ползун. Одновременно толкатель 50 кулачком 52 поворачивает рычаг 17, который задвигает на место подключевую пластину 16, освобождая ключ 3, который под действием собственного веса выпадает из паза 20 подвижной скобы 18 и при открытой, заслонке 22 попадает во внутренний бокс 22 для ключей. В случае попытки использования инородного ключа замок не открывается, и заслонка 22 бокса 21 остается закрытой. В этом случае при открытии ключевого паза 20 подключевой пластины 16 инородный ключ выпадает мимо бокса 21 внутрь двери, фиксируя факт попытки несанкционированного вскрытия замка.
Последним срабатывает кулачок 38, возвращая ползун 6 в исходное положение, в котором открывается замочная скважина 2, совмещаясь с пазом 7 ползуна 6. При этом ручка 36 замка возвращена в исходное положение.
Запирание замка осуществляется простым движением ручки замка в направлении, противоположном отпиранию. Приводимый ручкой 36 кулачковый блок 35 преодолевает усилие возвратной пружины 54 и, своим кулачком 45 воздействуя на выступ 26 промежуточного рычага 25, поворачивает его вокруг оси, сжимая пружину 24 и возвращая подвижный запорный блок 10 в исходное положение, в котором отверстия цугальтов 12 и 13 соосны. Подпружиненные цугальты 12 под действием пружины 11 смещают ступенчатые цугальты 13 внутрь неподвижного запорного блока 14 до упора, запирая собой неподвижный запорный блок 10. Одновременно выступ 44 непосредственно воздействует на ригель 31, выталкивая его из корпуса 1 до фиксации выступом 33 фиксатора 32 в глубокий паз ригеля 31. Ригель выдвинут из корпуса и зафиксирован – замок заперт, после чего ручка 36 замка вместе с кулачковым блоком 35 возвращаются в исходное положение принудительно или под воздействием возвратной пружины 54.
Формула изобретения
1. Запирающее устройство, содержащее ключ, корпус с замочной скважиной, выполненный с возможностью возвратно-поступательного перемещения ползун, запирающий узел и по меньшей мере один запирающий ригель, отличающееся тем, что оно дополнительно содержит взаимодействующий с ползуном блок управления и взаимодействующий с последним толкатель ключа, в ползуне выполнен паз для ключа, расположенный из условия его нахождения напротив замочной скважины, а ползун установлен из условия перекрытия замочной скважины при взаимодействии с блоком управления, а запирающий узел выполнен в виде взаимодействующих друг с другом неподвижного и подвижного относительно корпуса запорных блоков, при этом на неподвижном запорном блоке выполнены кодовые выступы, соответствующие кодовым отверстиям и/или углублениям на ключе, толкатель установлен с возможностью перемещения ключа в процессе открывания замка из паза ползуна в позицию контакта с упомянутыми кодовыми выступами, а подвижный запорный блок установлен с возможностью взаимодействия посредством блока управления с по меньшей мере одним ригелем.
2. Устройство по п.1, отличающееся тем, что паз для ключа в ползуне выполнен из условия контакта с ключом крайними боковыми поверхностями паза.
3. Устройство по п.2, отличающееся тем, что толкатель выполнен из условия прохождения с небольшим натягом по контактным поверхностям паза.
4. Устройство по п.1, отличающееся тем, что оно дополнительно содержит подпружиненный относительно корпуса отсекатель ключа, расположенный между ползуном и неподвижным запорным блоком.
5. Устройство по любому из пп.1-4, отличающееся тем, что оно дополнительно содержит установленное в контакте с блоком управления устройство для перемещения запирающих ригелей в разных направлениях.
РИСУНКИ
|
|