|
(21), (22) Заявка: 2004120088/03, 01.07.2004
(24) Дата начала отсчета срока действия патента:
01.07.2004
(45) Опубликовано: 20.02.2006
(56) Список документов, цитированных в отчете о поиске:
RU 601 U1, 16.07.1995. SU 898027 А, 15.01.1982. SU 998715 А, 23.02.1983. DE 4325827 А1, 02.02.1995.
Адрес для переписки:
445027, Самарская обл., г. Тольятти, а/я 3151, ЗАО “Фирма “Приоритет”
|
(72) Автор(ы):
Ерышев Валерий Алексеевич (RU), Колганов Юрий Андреевич (RU)
(73) Патентообладатель(и):
Ерышев Валерий Алексеевич (RU), Колганов Юрий Андреевич (RU)
|
(54) ДЫМОВАЯ ТРУБА
(57) Реферат:
Изобретение относится к области строительства, а именно к высотным сооружениям, и может быть использовано при сооружении дымовых труб тепловых электростанций, котельных промышленных объектов и сооружений для отвода отработанных газов. Технический результат: создание простой по конструкции и надежной в эксплуатации дымовой трубы для различных строительных объектов. Дымовая труба включает основание трубы, несущий ствол, размещенный внутри несущего ствола газоотводящий ствол и фундамент, на который опирается труба, причем газоотводящий ствол жестко закреплен на основании трубы и имеет консольную часть выше верха несущего ствола. 1 н. и 3 з.п.ф-лы, 2 ил. 
Изобретение относится к области строительства, а именно к высотным сооружениям, и может быть использовано при сооружении дымовых труб тепловых электростанций, котельных промышленных объектов и сооружений для отвода отработанных газов.
Известна дымовая труба по авторскому свидетельству СССР №536305, кл. Е 04 Н 12/00, 1977 г., содержащая ствол и фундамент. Ствол трубы снабжен опорно-поворотным устройством, ось которого смещена относительно центра давления ветра на его поверхность, при этом поперечное сечение ствола имеет ламинизированный профиль.
Такая труба является сложной по конструкции, технологии исполнения и эксплуатации за счет использования специального профиля трубы и наличия опорно-поворотного устройства.
Известна дымовая труба по авторскому свидетельству СССР №453477, кл. Е 04 Н 12/00, 1975 г., принятая заявителем за прототип. Она содержит несущий ствол с подвешенным на гибких связях внутри него футеровочным стволом из отдельных царг с блоками. Одни из концов гибких связей жестко закреплены на верхней части несущего ствола и огибают установленный на каждой царге и несущем стволе блоки, а на других концах гибких связей монтирован противовес.
Основной недостаток данной дымовой трубы заключен в сложной конструкции крепления футеровочного ствола внутри несущего ствола, которое, кроме того, снижает надежность работы всего сооружения.
Технической задачей предлагаемого изобретения является создание простой по конструкции и надежной в эксплуатации дымовой трубы для различных строительных объектов.
Поставленная задача решается тем, что в предлагаемом техническом решении газоотводящий ствол жестко закреплен на основании трубы и имеет консольную часть выше верха несущего ствола.
Кроме того, по меньшей мере в одном уровне по ее высоте газоотводящий ствол подвижно соединен с несущим стволом с возможностью перемещения газоотводящего ствола в продольном и поперечном направлениях при изменениях температур.
Кроме того, подвижное соединение выполнено с возможностью удержания газоотводящего ствола в постоянном вертикальном положении от действия ветровых нагрузок.
Кроме того, подвижное соединение выполнено в виде по меньшей мере трех вертикальных направляющих прорезей и установленных в них по меньшей мере трех ограничителей.
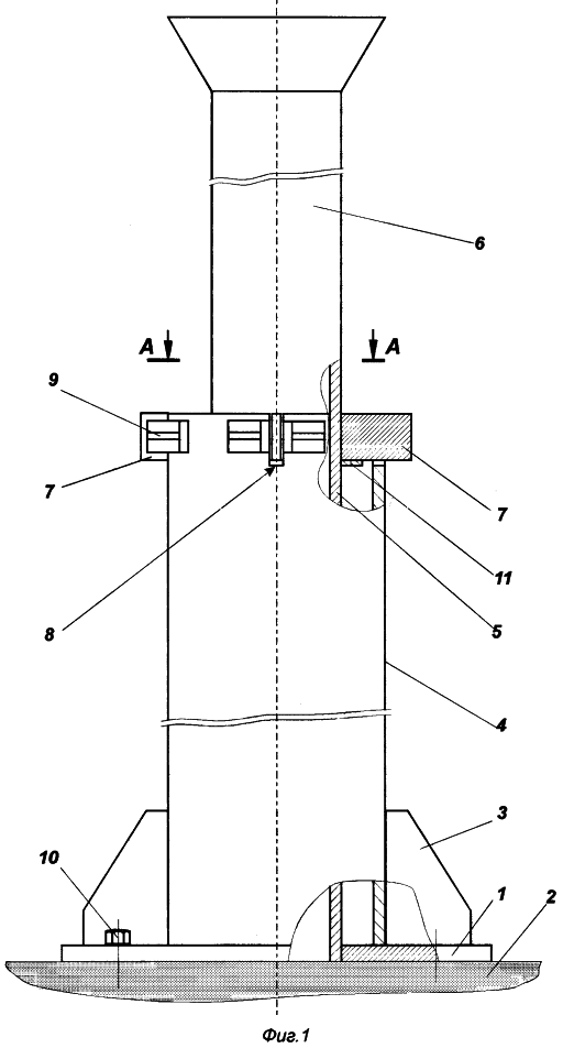
На фиг.1 изображена дымовая труба, общий вид;
На фиг.2 – разрез А -А на фиг.1.
Дымовая труба содержит основание 1, которым она размещена на фундаменте 2. Для устойчивости трубы на основании выполнены опорные ребра 3. Дымовая труба включает несущий ствол 4 и размещенный внутри него газоотводящий ствол 5, который жестко закреплен на основании 1 трубы и имеет консольную часть 6, выполненную выше верхнего торца несущего ствола 4. Газоотводящий ствол 5 снабжен ограничителями 7, количество которых определяется из условия соединения газоотводящего ствола 5 с несущим стволом, дающего возможность перемещения газоотводящего ствола 5 в продольном и поперечном направлениях при изменениях температур. А так же это подвижное соединение выполнено с возможностью удержания газоотводящего ствола в постоянном вертикальном положении от действия ветровых нагрузок. Для чего в несущем стволе 4 выполнены вертикальные направляющие прорези 8 по числу ограничителей 7. Они образуют подвижное соединение, которое может быть выполнено по меньшей мере из трех вертикальных направляющих прорезей 8 и установленных в них по меньшей мере трех ограничителей 7.
Причем ограничители 7 установлены в вертикальных направляющих прорезях 8 и размещены в них с возможностью перемещения вместе с газоотводящим стволом 5 в вертикальном и горизонтальном направлении за счет расширения от нагретых отработанных газов. В то же время ограничители 7 удерживают газоотводящий ствол 5 от горизонтальных перемещений при ветровых нагрузках.
В зависимости от высоты воздвигаемой дымовой трубы и воспринимаемых ею воздействий вертикальные направляющие прорези 8 могут быть усилены ребрами 9 и выполнены в нескольких местах несущего ствола 4 по высоте от основания 1 трубы. А так же соответственно ограничители 7 могут быть рассредоточены по высоте газоотводящего ствола 5. Основание 1 трубы жестко закреплено на фундаменте 2 анкерными болтами 10, а ограничители 7 усилены ребрами 11. Предлагаемая конструкция дымовой трубы предполагает изготовление несущего ствола 4 как из кирпича, железобетона, так и из металла, а газоотводящего ствола 5 из металла.
Дымовая труба работает следующим образом.
Через дымовую трубу отводятся отработавшие газы, которые нагревают газоотводящий ствол 5 до высоких температур. При этом газоотводящий ствол 5 удлиняется относительно жестко закрепленного основания и расширяется, а ограничители 7 перемещаются и скользят по направляющим вертикальным прорезям 8. Одновременно ограничители 7 удерживают газоотводящий ствол 5 в постоянном вертикальном положении при воздействии ветровых нагрузок на его консольную часть 6. Диаметры стволов 4 и 5 выбирают в зависимости от количества проходящих через газоотводящий ствол 5 отработанных газов и их температуры, ветровых нагрузок, высоты отвода газов, а так же обеспечения прочности несущего ствола на действие ветровых нагрузок и его собственного веса.
Использование предлагаемого технического решения позволило создать простую по конструкции и надежную в эксплуатации дымовую трубу для различных строительных объектов. Она может воздвигаться в стесненных условиях строительной площадки в отличие от дымовых труб, для крепления которых используют растяжки и пространственные решетчатые опоры.
Формула изобретения
1. Дымовая труба, включающая основание трубы, несущий ствол, размещенный внутри несущего ствола газоотводящий ствол и фундамент, на который опирается труба, отличающаяся тем, что газоотводящий ствол жестко закреплен на основании трубы и имеет консольную часть выше верха несущего ствола.
2. Дымовая труба по п.1, отличающаяся тем, что по меньшей мере в одном уровне по ее высоте газоотводящий ствол подвижно соединен с несущим стволом с возможностью перемещения газоотводящего ствола в продольном и поперечном направлениях при изменениях температур газоотводящего ствола.
3. Дымовая труба по п.2, отличающаяся тем, что подвижное соединение выполнено с возможностью ограничения горизонтальных перемещений газоотводящего ствола от ветровых нагрузок.
4. Дымовая труба по п.2, отличающаяся тем, что подвижное соединение выполнено в виде по меньшей мере трех вертикальных направляющих прорезей и установленных в них по меньшей мере трех ограничителей.
РИСУНКИ
|