|
(21), (22) Заявка: 2004136025/13, 09.12.2004
(24) Дата начала отсчета срока действия патента:
09.12.2004
(45) Опубликовано: 20.02.2006
(56) Список документов, цитированных в отчете о поиске:
RU 2135579 C1, 27.08.1999. US 4259449 A, 31.03.1981. SU 171366 A, 26.05.1965. SU 1763481 A1, 23.09.1992.
Адрес для переписки:
142290, Московская обл., г. Пущино, мкр. В, 26, кв.39, Н.М. Шмаковой
|
(72) Автор(ы):
Редикульцев Юрий Васильевич (RU)
(73) Патентообладатель(и):
Закрытое акционерное общество “БИОКАД” (ЗАО “БИОКАД”) (RU)
|
(54) АППАРАТ ДЛЯ СУСПЕНЗИОННОГО КУЛЬТИВИРОВАНИЯ КЛЕТОК ТКАНЕЙ И МИКРООРГАНИЗМОВ
(57) Реферат:
Изобретение относится к биотехнологии. Аппарат включает ферментационную емкость с крышкой и патрубками соответственно для подачи аэрирующего газа и отвода газообразной среды и устройство для аэрации и перемешивания культуральной среды. Это устройство содержит контур аэрирующего газа, состоящий из трубопровода и размещенного над его выходным отверстием внутри емкости экрана, расположенного горизонтально для образования под ним газовой подушки и установленного с зазором к стенкам емкости, а также средство создания колебаний газовой подушки для перемешивания культуральной среды и регулятор расхода газа, сообщенный с указанным трубопроводом. В аппарате может быть установлено не одно, а несколько указанных устройств для аэрации и перемешивания культуральной среды. Экран в поперечном сечении выполнен в форме ромба с продольной щелью в его нижней части для возвратно-поступательного протока культуральной среды. Средство создания колебаний газовой подушки содержит пульсатор с подвижной диафрагмой создания возвратно-поступательного движения потока газа в газовую подушку под экраном. Изобретение позволяет повысить эффективность массообмена в процессе культивирования клеток и микроорганизмов путем увеличения поверхностей фазового раздела “газ-жидкость” и повысить производительность аппарата. 3 з.п. ф-лы, 5 ил. 
Изобретение относится к биотехнологии, а точнее к аппаратам для суспензионного культивирования клеток тканей и микроорганизмов, таких, например, как клетки млекопитающих, мицелиальных грибов и т.п., в том числе тех, морфологическая структура которых чувствительна к физическим воздействиям культуральных суспензий, и может быть использовано в микробиологической, медицинской, пищевой промышленности и исследовательской практике.
Известен аппарат для суспензионного культивирования клеток и микроорганизмов, содержащий ферментационную емкость с крышкой и патрубками для подачи аэрирующего газа и отвода газообразной среды и устройство для перемешивания суспензии клеток, в качестве которого использована решетка, расположенная в нижней части емкости. Через решетку в емкость подается воздух для создания гидростатического давления, обеспечивающего процесс перемешивания и предотвращающий оседание клеток из суспензии (US №4259449, С 12 М 1/04, 1981 г.).
Однако такой аппарат имеет недостаточную эффективность процесса массообмена, которая обусловлена необходимостью снижения интенсивности подачи аэрирующего газа во избежание травмирования клеток.
Ближайшим аналогом предложенного аппарата является аппарат для суспензионного культивирования клеток тканей и микроорганизмов, содержащий ферментационную емкость, крышку и патрубки, соответственно для подачи аэрирующего газа и отвода газообразной среды, и устройство для аэрации и перемешивания культуральной среды, включающее горизонтальное лопастное колесо, закрепленное на вертикальном полом валу и размещенное под крышкой емкости (RU, №2135579, С 12 М 1/04, 27.09.1999 г.).
Лопастное колесо установлено над поверхностью суспензии и частота его вращения формирует воздушные вихри, способные вызвать перемещение суспензии в полости аппарата по заданной траектории, что создает условия для газо- и массообмена культуральной суспензии.
Используемое в аппарате устройство для аэрации и перемешивания культуральной среды не вызывает механического разрушения культивируемых клеток.
Недостатки аппарата заключаются в следующем.
Аппарат эффективен только при малых объемах ферментационной емкости, так как не обеспечивает эффективный массообмен по всей высоте культурального объема суспензии при значительных объемах ферментационной емкости.
Активная зона действия воздушного вихря распространяется на приповерхностный слой рабочей суспензии и затухает в направлении дна емкости, что снижает производительность аппарата.
Массообмен в аппарате зависит от высоты столба суспензии и центробежной скорости вихря, образованного лопастным колесом, такая зависимость существенно ограничивает сферу использования аппарата и затрудняет оптимизацию условий газо- и массообмена, тем самым снижая производительность аппарата.
Центробежное лопастное колесо размещено в газовой полости емкости, которая дополнительно продувается газами заданного состава, а отработанные газы отводятся в атмосферу через бактериальные фильтры. При такой конструкции в газовый вихрь будут захватываться капли суспензии клеток, которые не только загрязнят трубопроводы для отвода газов, но и бактериальный фильтр отработанных газов, что может привести к нарушению асептических условий культивирования клеток и прекращению процесса.
Засорение полости действия центробежного лопастного колеса биомассой, питательной средой и продуктами микробного синтеза, которые захватываются воздушным вихрем с поверхности суспензии и выбрасываются на стенку емкости, что приводит к непредсказуемым процессам деструкции клеточной биомассы, загрязнению суспензии продуктами разложения клеток и, как следствие, снижению производительности и качества получаемых продуктов.
Технический результат изобретения заключается в повышении эффективности массообмена в процессе культивирования клеток и микроорганизмов путем увеличения поверхностей фазового раздела “газ-жидкость” и повышении производительности аппарата.
Этот результат достигается тем, что аппарат для суспензионного культивирования клеток тканей и микроорганизмов включает ферментационную емкость с крышкой и патрубками соответственно для подачи аэрирующего газа и отвода газообразной среды и устройство для аэрации и перемешивания культуральной среды, последнее содержит контур аэрирующего газа, состоящий из трубопровода и размещенного над его выходным отверстием внутри емкости экрана, расположенного горизонтально для образования под ним газовой подушки и установленного с зазором к стенкам емкости, а также средство создания колебаний газовой подушки для перемешивания культуральной среды и регулятор расхода газа, сообщенный с указанным трубопроводом.
Аппарат может иметь, по меньшей мере, еще одно устройство для аэрации и перемешивания культуральной среды.
Экран в поперечном сечении может иметь форму ромба с продольной щелью в его нижней части для возвратно-поступательного протока культуральной среды.
Средство создания колебаний газовой подушки содержит пульсатор с подвижной диафрагмой создания возвратно-поступательного движения потока газа в газовую подушку под экраном.
Изобретение поясняется чертежом, на котором:
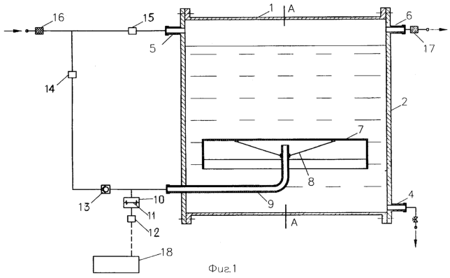
на фиг.1 – схематично изображен аппарат в продольном разрезе;
на фиг.2 – разрез по А-А фиг.1;
на фиг.3 – аппарат с двумя устройствами для аэрации и перемешивания культуральной среды;
на фиг.4 – вариант аппарата с вертикальным расположением ферментационной емкости;
на фиг.5 – экран, в поперечном сечении имеющий форму ромба с продольной щелью.
Аппарат для суспензионного культивирования клеток и микроорганизмов (см. фиг.1) содержит ферментационную емкость 1, крышки 2, закрывающие емкость 1 с двух сторон, патрубок 3 (см. фиг.2) для загрузки и патрубок 4 для разгрузки емкости 1, патрубки 5 и 6 соответственно для подачи аэрирующего газа и отвода газообразной среды и устройство для аэрации и перемешивания культуральной среды. Патрубки 5 и 6 диагонально расположены в верхних частях разных крышек 2, закрывающих емкость 1 с двух сторон.
Устройство для аэрации и перемешивания культуральной среды включает контур аэрирующего газа и средство для создания колебаний газовой подушки для перемешивания культуральной среды.
Контур аэрирующего газа содержит экран 7, установленный с помощью держателя 8 экрана внутри ферментационной емкости 1. Экран 7 установлен горизонтально с зазором к стенкам емкости 1 над выходным отверстием трубопровода 9 для подачи аэрирующего газа под экран для образования под ним газовой подушки.
Средство для создания колебаний газовой подушки сообщено с трубопроводом 9 и содержит пульсатор 10 с подвижной диафрагмой 11 для создания возвратно-поступательного движения газа в подушку. Перемещение диафрагмы 11 обеспечивает привод 12. В качестве привода 12 может быть использован, например, двигатель, механически соединенный с диафрагмой 11 и обеспечивающий ее возвратно-поступательное перемещение, или генератор импульсов сжатого воздуха, понуждающий к перемещению диафрагму 11. Другой конец трубопровода 9 через клапан 14 и регулятор 11 сообщен с бактериальным фильтром 16, через который подается аэрирующий газ.
Фильтр 16 сообщен также через регулятор 15 расхода газа с патрубком 5 для продувки газовой полости аппарата аэрирующим газом через патрубок 6 и бактериальный фильтр 17. Аппарат для суспензионного культивирования клеток и микроорганизмов снабжен прибором 18 управления.
Экран 7 имеет форму, например, зонта или двухскатной поверхности, закреплен внутри ферментационной емкости любым известным способом, например с помощью держателя 8 на трубопроводе 9. Для интенсификации газообмена культуральной среды экран 7 может быть изготовлен из газопроницаемого гидрофобного материала, например тифлона. Для интенсификации процесса перемешивания (массообмена) культуральной суспензии экран 7 в поперечном сечении может иметь форму ромба с продольной щелью для возвратно-поступательного протока культуральной среды (см. фиг.5).
В качестве регуляторов расхода газа 14 и 15 могут быть использованы ротаметры, перистальтические насосы или другие аналогичные устройства.
Для обеспечения оптимальных условий газо- и массообмена при культивировании различных микроорганизмов аппарат может содержать несколько устройств для аэрации и перемешивания культуральной среды, при этом в ферментационной емкости 1 может быть установлено необходимое количество экранов 7 на разных высотах (см. фиг.3).
Аппарат для суспензионного культивирования клеток и микроорганизмов может содержать ферментационную емкость 1, расположенную как горизонтально, так и вертикально (см. фиг.4). При вертикальном расположении емкости 1 патрубки 5 и 6 диагонально расположены в верхней крышке 2, закрывающей емкость 1. Ферментационная емкость 1 может иметь различную форму, но предпочтительной является цилиндрическая форма емкости. Емкость 1, при необходимости, может быть выполнена из прозрачного термостойкого стекла.
Работа аппарата для суспензионного культивирования клеток и микроорганизмов (см. фиг.1) осуществляется следующим образом.
Перед началом работы выполняются известные процедуры по герметизации и стерилизации ферментационного оборудования, питательных сред и получению инокулюма клеток.
В ферментационную емкость 1 в асептических условиях через вентиль и патрубок 3 вносят питательную среду и инокулюм посевных клеток. Вентиль закрывают, а на регуляторе 15 задают расход аэрирующего газа, продуваемого через фильтр 16, патрубок 5, верхнюю часть емкости 1, патрубок 6 и фильтр 17. На регуляторе 14 задают расход аэрирующего газа, продуваемого через фильтр 16 и устройство для аэрации и перемешивания культуральной суспензии. Газ протекает через фильтр 16, регулятор 14 и клапан 10, заполняет полость под диафрагмой 11 пульсатора 10 и по контуру аэрирующего газа, поступает под экран 7, вытесняет из-под него культуральную среду и образует под экраном газовую подушку. Избыточное давление газа, образующееся под экраном, сбрасывается в культуральную среду в виде пузырьков газа и далее через патрубок 6 и фильтр 17 в атмосферу. Аэрация культуральной среды обеспечивается газообменом по всей поверхности газовой подушки, расположенной под экраном 7 и контактирующей с культуральной средой и протоком аэрирующего газа над поверхностным слоем культуральной суспензии в емкости 1.
На приборе 18 управления задают частоту работы средства для создания колебаний газовой подушки, а именно устанавливают частоту работы привода 12, который приводит диафрагму 11 пульсатора 10 в возвратно-поступательное движение. При перемещении диафрагма 11 обеспечивает вытеснение газа из пульсатора 10. Газ под избыточным давлением поступает по трубопроводу 9 под экран 7 в образованную под ним газовую подушку. Объем газа под экраном 7 увеличивается, воздействует на культуральную среду, заставляя ее перемещаться вверх через зазоры между краями экрана и стенками ферментационной емкости 1, при этом уровень культуральной суспензии в емкости 1 повышается. При перемещении диафрагмы 11 в пульсаторе 10, обеспечивающем всасывание газа по трубопроводу 9 при закрытом клапане 10 из воздушной подушки, расположенной под экраном 7, давление газа в подушке понижается, объем подушки уменьшается. При этом культуральная среда протекает вниз через зазоры между стенкой емкости 1 и краями экрана 7 и уровень культуральной среды в емкости 1 возвращается в исходное положение. Циклическое изменение давления газа в газовой подушке поднимает и опускает уровень культуральной среды в емкости 1, при этом последняя в условиях возвратно-поступательного движения протекает через зазор, образованный между стенками емкости 1 и краями экрана 7. Возвратно-поступательный проток суспензии через указанные зазоры с заданной частотой обеспечивает перемешивание культуральной среды в щадящих для клеток условиях. Газовая подушка, расположенная под экраном и погруженная в культуральную среду, испытывает одновременно давление столба культуральной среды, частоту изменения давления газа от средства для создания колебаний газовой подушки и замещение газа в ней по контуру для аэрирующего газа от регулятора расхода газа 14, что обеспечивает управляемый газообмен.
При наличии в аппарате нескольких устройств для аэрации и перемешивания культуральной среды и экранов 7, установленных на различных высотах внутри ферментационной емкости, аппарат работает аналогично описанному выше. Наличие нескольких устройств аэрации и перемешивания культуральной среды и экранов обеспечивает дополнительную послойную аэрацию и перемешивание культуральной среды и оптимальные условия для культивирования в более вязких суспензиях.
Формула изобретения
1. Аппарат для суспензионного культивирования клеток тканей и микроорганизмов, включающий ферментационную емкость с крышкой и патрубками соответственно для подачи аэрирующего газа и отвода газообразной среды и устройство для аэрации и перемешивания культуральной среды, отличающийся тем, что последнее содержит контур аэрирующего газа, состоящий из трубопровода и размещенного над его выходным отверстием внутри емкости экрана, расположенного горизонтально для образования под ним газовой подушки и установленного с зазором к стенкам емкости, а также средство создания колебаний газовой подушки для перемешивания культуральной среды и регулятор расхода газа, сообщенный с указанным трубопроводом.
2. Аппарат по п.1, отличающийся тем, что он снабжен, по меньшей мере, еще одним устройством для аэрации и перемешивания культуральной среды.
3. Аппарат по п.1, отличающийся тем, что экран в поперечном сечении имеет форму ромба с продольной щелью в его нижней части для возвратно-поступательного протока культуральной среды.
4. Аппарат по п.1, отличающийся тем, что средство создания колебаний газовой подушки содержит пульсатор с подвижной диафрагмой создания возвратно-поступательного движения потока газа в газовую подушку под экраном.
РИСУНКИ
MM4A – Досрочное прекращение действия патента СССР или патента Российской Федерации на изобретение из-за неуплаты в установленный срок пошлины за поддержание патента в силе
Дата прекращения действия патента: 10.12.2006
Извещение опубликовано: 27.02.2008 БИ: 06/2008
NF4A Восстановление действия патента СССР или патента Российской Федерации на изобретение
Дата, с которой действие патента восстановлено: 10.07.2009
Извещение опубликовано: 10.07.2009 БИ: 19/2009
|