|
|
(21), (22) Заявка: 2004137585/04, 22.12.2004
(24) Дата начала отсчета срока действия патента:
22.12.2004
(45) Опубликовано: 20.02.2006
(56) Список документов, цитированных в отчете о поиске:
RU 2129114 C1, 20.04.1999. SU 90387 A1, 01.01.1950. US 2593507 A, 01.03.1949. FR 2300751 A1, 15.10.1976.
Адрес для переписки:
453110, Республика Башкортостан, г. Стерлитамак, ул. Техническая, 32, ЗАО “Каустик”, патентный отдел
|
(72) Автор(ы):
Загидуллин Раис Нуриевич (RU), Ахмадеева Гузель Имамутдиновна (RU), Дмитриев Юрий Константинович (RU), Расулев Зуфар Гиниятович (RU), Залимова Марзия Минизакировна (RU), Муратов Марат Мансафович (RU)
(73) Патентообладатель(и):
Закрытое акционерное общество “Каустик” (RU)
|
(54) СПОСОБ ПОЛУЧЕНИЯ ТРЕТИЧНОГО БУТИЛХЛОРИДА
(57) Реферат:
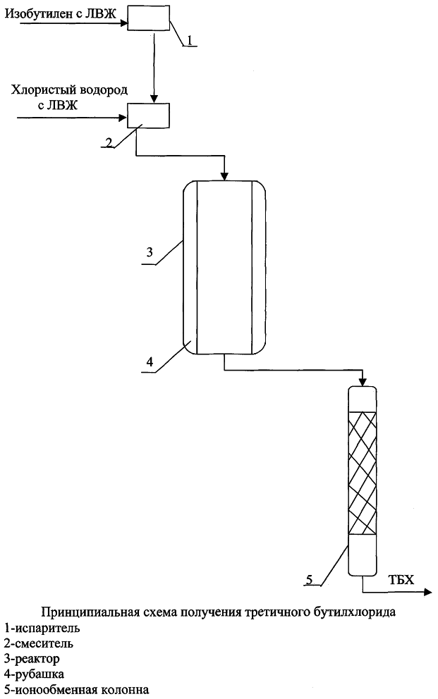
Изобретение относится к способу получения третичного бутилхлорида гидрохлорированием изобутилена. Причем изобутилен гидрохлорируют при температуре от -18°С до +20°С при объемном соотношении изобутилен хлористый водород, равном 1,0-1,1:1,0. Процесс ведут с последующим пропусканием реакционной смеси через колонну с ионообменной смолой на основе полиэтиленполиаминов и эпихлоргидрина или с инообменной смолой марки АН-31 при температуре 1-50°С со скоростью 1,4-1,8 л/ч. В результате процесса повышается качество и выход третичного бутилхлорида. 1 ил., 1 табл. 
Изобретение относится к области хлорорганических соединений, в частности к получению третичного бутилхлорида (ТБХ), используемого в качестве алкилирующего средства в технологии основного органического синтеза, а также сокатализатора в производстве полимерных материалов.
Известен способ получения третичного бутилхлорида взаимодействием третичного бутилового спирта с хлористым тионилом в среде диметилформамида с последующей промывкой 5%-ным раствором едкого натрия и вакуум-перегонкой (см. Промышленные хлорорганические продукты. Справочник под ред. Л.А.Ошина, М.: Химия, 1978. С.296-302).
Недостатком указанного метода является использование ядовитых веществ – хлористого тионила, технологические затруднения при его использовании в качестве сырья, многостадийность синтеза.
Описан способ получения третичного бутилхлорида путем присоединения безводного HCl к изобутилену в интервале температур от -25 до +50°С, давлении 1 атм в присутствии катализатора ZnCl2, MgCl2, SbCl3, FeCl3, AlCl3. В качестве сырья используют фракцию, содержащую, об.% углеводороды С2-0,003, С3-0,09, С4-2,14, бутен-1-29,65, транс- и цис-бутен – 2-9 и 5,70 соответственно, изобутилен – 51,2, прочие – 0,04. Образовавшийся продукт сливают на лед или холодную воду, органический слой отделяют, сушат и перегоняют (см. пат. СРР №61842, 1977; РЖХ 12 Н 24 П, 1978).
Недостатком способа является многостадийность процесса, ухудшение качества продукта в результате использования льда или холодной воды, т.к. продукт не устойчив в воде, не выдерживается кислотность (норма HCl не более 0,015%, влага не более 0,02% по ТУ 2412-239-00203312-2003 г.).
Наиболее близким к заявленному является способ получения третичного бутилхлорида хлорированием изобутилена в жидкой фазе в графитовом теплообменнике полочного типа с соотношением длины к сечению (375-1250):1 при температуре от -20 до -25°С, объемном соотношении хлористого водорода и изобутилена (1,03-1,05):1.
Недостатком способа является загрязнение продукта из-за присутствия примесей HCl, влаги, третбутилового спирта и соединений неустановленного строения выше норм (см. пат. 2129114 РФ, 1999; Б.И. №111699, 1999 г.).
Задача изобретения – разработка способа получения третичного бутилхлорида.
Технический результат при использовании изобретения выражается в улучшении технологии получения третичного бутилхлорида, повышении качества и выхода конечного продукта.
Вышеуказанный результат получения третичного бутилхлорида (ТБХ) заключается в том, что изобутилен (ИБ) гидрохлорируют в жидкой или паровой фазе в реакторе колонного типа при температуре от -18 до +20°С при объемном соотношении изобутилен : хлористый водород =1-1,1:1 с последующим пропусканием реакционной смеси через колонну с ионообменной смолой при температуре 1-50°С (преимущественно 18-22°С) со скоростью 1,4-1,8 л/час:

В качестве ионообменных смол используют смолы на основе полиэтиленполиаминов (ПЭПА) и эпихлоргидрина (ЭПХГ), а также смолу марки АН-31 (ГОСТ 20301-74).
Сущность изобретения поясняется следующими примерами.
Пример 1. В реактор (колонна, охлаждаемая рассолом, диаметром 50 мм, высотой 68 мм) подают смесь 1,49 л/час изобутилена (ИБ) и 0,37 л/час хлористого водорода (HCl) в мольном соотношении ИБ:HCl=1,01:1 при температуре -10°С и после чего реакционную смесь пропускают через колонну с ионообменной смолой АН-31 при комнатной температуре. Продолжительность контакта с ионообменной смолой – 10 мин. Скорость пропускания через смолу – 3,1 мл/мин. Выход 98,8%. Продукт соответствует ТУ 2412-239-00203312-2003 г.
Пример 2. В условиях примера 1 в реактор подают смесь 1,55 л/час ИБ и 0,37 л/час HCl при температуре -18°С в мольном соотношении ИБ:HCl=1,05:1. Реакционную смесь пропускают через ионообменную смолу АН-31 при комнатной температуре. Продолжительность контакта – 15 мин. Продолжительность пропускания через смолу – 2,1 мл/мин. Выход 98,7%. Продукт соответствует ТУ 2412-239-00203312-2003 г.
Пример 3. В условиях примера 1 в реактор подают смесь 1,48 л/ч ИБ и 0,37 л/ч HCl в мольном соотношении ИБ:HCl=1:1 при температуре 15-20°С. После чего реакционная смесь поступает при 40°С в колонну с ионообменной смолой, полученной реакцией ПЭПА и ЭПХГ. Контакт – 20 мин, скорость пропускания через ионообменную смолу – 1,54 мл/мин. Выход – 98,4%. Продукт соответствует ТУ 2412-239-00203312-2003 г.
Пример 4. Аналогично примеру 1 в реактор подают смесь 1,62 л/ч ИБ и 0,37 л/ч HCl в мольном соотношении ИБ : HCl=1,1:1 при 20°С, после чего смесь проходит при 30°С через колонну с ионообменной смолой, полученной реакцией ПЭПА и ЭПХГ. Контакт – 25 мин. Скорость пропускания – 1,33 мл/мин. Выход – 98,2%. Продукт соответствует ТУ 2412-239-00203312-2003 г.
Пример 5. Аналогично примеру 1 в реактор подают смесь 1,54 л/ч ИБ и 0,37 л/ч HCl в мольном соотношении ИБ:HCl=1,04:1 при температуре -5°С с последующим пропусканием со скоростью 2,12 мл/мин через смолу полученной реакцией ПЭПА и ЭПХГ. Время контакта -15 мин. Выход 99,2%. Продукт соответствует ТУ 2412-239-00203312-2003 г.
Пример 6. В реактор, предварительно заполненный на 2/3 объема ТБХ, подают смесь 1,5 л/ч ИБ и 0,37 л/ч HCl в мольном соотношении ИБ:HCl=1,02:1 при температуре 3-4°С. Выход продукта 98,8%. Продукт не соответствует ТУ 2412-239-00203312-2003 г.
Пример 7. Через реактор с ионообменной смолой марки АН-31 пропускают ТБХ с содержанием основного вещества 85,9%, кислотностью 0,033% и со скоростью 2,2 мл/мин. Результаты приведены в таблице.
Пример 8. Аналогично примеру 1 в реактор загружают 1,48 л/ч ИБ и 0,39 л/ч HCl при температуре -10°С в мольном соотношении ИБ:HCl=1:1,05. Выход продукта 97,7%. Кислотность 0,025 (норма 0,015%). Продукт не соответствует ТУ на ТБХ.
Пример 9. Аналогично примеру 8 в реактор подают смесь 1,48 л/ч ИБ и 0,41 л/ч HCl при температуре от -2 до -5°С в мольном соотношении ИБ:HCl=1:1,1. Кислотность – 0,03%. Затем эту реакционную смесь пропускают через смолу АН-31 со скоростью – 35 мл/мин. Время контакта – 0,9 мин. Выход продукта 98,6%. Продукт соответствует ТУ на ТБХ.
| Таблица |
| Показатели качества третичного бутилхлорида |
Простая перегонка при (49-52)°С |
Насадка АН-31 |
Насадка АН-31 |
Насадка на основе полиэтиленполиаминов и эпихлоргидрина |
Насадка на основе полиэтиленполиаминов и эпихлоргидрина и АН-31 (1:1) |
Насадка АН-31 |
| |
|
Количество пропусканий |
Количество пропусканий |
Количество пропусканий |
Количество пропусканий |
Количество пропусканий |
| |
|
1 |
2 |
3 |
1 |
2 |
3 |
1 |
2 |
3 |
1 |
2 |
3 |
1 |
2 |
3 |
| Концентрация третичного бутилхлорида по ГЖХ после очистки |
98,80 |
93,28 |
96,36 |
98,32 |
98,82 |
98,86 |
98,9 |
88,76 |
90,20 |
93,14 |
88,43 |
88,48 |
88,5 |
98,73 |
98,88 |
98,98 |
| Кислотное число после очистки, % |
0,024 |
0,029 |
0,022 |
0,012 |
0,014 |
0,012 |
0,012 |
0,029 |
0,024 |
0,019 |
0,0078 |
0,0077 |
0,0076 |
0,014 |
0,0079 |
0,0055 |
| Высота насадки, мм |
– |
100 |
150 |
200 |
200 |
200 |
| Внутренний диаметр, мм |
– |
15 |
30 |
30 |
30 |
30 |
| Удерживаемый объем третичного бутилхлорида |
– |
20 |
10 |
10 |
38 |
15 |
15 |
86 |
64 |
48 |
66 |
46 |
32 |
20 |
15 |
10 |
| Примечание: ГЖХ – газожидкостная хроматография |
Формула изобретения
Способ получения третичного бутилхлорида гидрохлорированием изобутилена, отличающийся тем, что изобутилен гидрохлорируют при температуре от -18°С до +20°С при объемном соотношении изобутилен: хлористый водород, равном 1,0÷1,1:1,0, с последующим пропусканием реакционной смеси через колонну с ионообменной смолой на основе полиэтиленполиаминов и эпихлоргидрина или с ионообменной смолой марки АН-31 при температуре 1-50°С со скоростью 1,4-1,8 л/ч.
РИСУНКИ
|
|