|
| На основании пункта 3 статьи 13 Патентного закона Российской Федерации от 23 сентября 1992 г. № 3517-I патентообладатель обязуется передать исключительное право на изобретение (уступить патент) на условиях, соответствующих установившейся практике, лицу, первому изъявившему такое желание и уведомившему об этом патентообладателя и федеральный орган исполнительной власти по интеллектуальной собственности, – гражданину РФ или российскому юридическому лицу. |
|
(21), (22) Заявка: 2004103002/12, 02.02.2004
(24) Дата начала отсчета срока действия патента:
02.02.2004
(43) Дата публикации заявки: 10.07.2005
(45) Опубликовано: 20.02.2006
(56) Список документов, цитированных в отчете о поиске:
SU 1643156 A1, 23.04.1991. GB 1155728 A, 18.07.1969. DE 3424427 A1, 09.01.1986. US 4600160 A, 15.07.1986. SU 1595654 A, 30.09.1990.
Адрес для переписки:
600000, г.Владимир, ул. Подбельского, 2, Главпочтамт, Н.П. Дядченко (до востребования)
|
(73) Патентообладатель(и):
Дядченко Николай Петрович (RU)
|
(54) ДЕЗИНТЕГРАТОРНОЕ УСТРОЙСТВО ДЛЯ ПЕРЕРАБОТКИ ОТХОДОВ ТЕРМОЧУВСТВИТЕЛЬНЫХ ПЛАСТМАСС
(57) Реферат:
Изобретение относится к устройствам для измельчения материалов и может быть использовано в химической, строительной, пищевой, фармацевтической и других отраслях промышленности. Дезинтеграторное устройство переработки отходов термочувствительных пластмасс содержит вертикальную корпусную емкость с неподвижными ножевыми режущими элементами, расположенными по винтовой линии на внутренней поверхности емкости, и установленный на полом валу роторный измельчитель с ножевыми режущими элементами. Корпусная емкость изолирована от внешней среды и заполнена низкокипящим жидким хладагентом, а полый вал роторного измельчителя сопряжен в своей нижней части с корпусной емкостью. Ножевые режущие элементы корпусной емкости и роторного измельчителя расположены по винтовой линии с уменьшающимся к донной части корпусной емкости шагом, а их режущие грани выполнены в виде эллиптического тора. Устройство позволяет повысить степень измельчения перерабатываемого материала. 5 з.п. ф-лы, 3 ил. 
Изобретение относится к технике измельчения материалов и может быть использовано в химической, строительной, пищевой, фармацевтической и других отраслях промышленности.
Известен дезинтегратор, содержащий вертикальные корпус, колосниковую решетку и ротор, представляющий собой вал с насаженными на разных уровнях билами в виде молотков на концах дисков, одинаково ориентированных (от уровня к уровню) в радиальном отношении. Подлежащий измельчению материал загружается через боковую воронку верхней части корпуса и измельчается между вращающимися билами и решеткой. Прошедший решетку (измельченный до требуемой дисперсности) материал отводится через внешний патрубок, а некондиционный (грубой фракции, требующей возвращения на домол) материал отводится через внутренний патрубок в донной части корпуса [1].
Известно также устройство для переработки отходов пластмасс, содержащее вертикальную корпусную емкость с загрузочным и выгрузочным отверстиями. В нижней части емкости расположен подшипниковый узел и вращающийся вокруг своей оси роторный измельчитель в виде вала с закрепленными на нем на разных уровнях тремя траверсами, ориентированными со смещением в 90° (от уровня к уровню) и несущими на концах ножевые режущие элементы. На верхней траверсе смонтированы также направляющие в виде лопастей, создающие нисходящий (вдоль вала ротора) поток измельчаемому материалу [2].
Известно также устройство для переработки отходов термопластов, содержащее вертикальную корпусную емкость, в нижней части которой размещен роторный измельчитель (в виде двухлопастного ножа) с приводом его вращения, с неподвижными ножами, расположенными на внутренней поверхности емкости по винтовой линии выше уровня роторного измельчителя [3].
Основным недостатком описанных устройств является уменьшающаяся производительность устройств и ухудшающееся качество измельченного материала, выражающееся в понижении степени измельчения материала при длительном измельчении вязких, упругих и вязкоупругих материалов (в том числе термопластов) в естественных температурных условиях эксплуатации устройств.
Предлагаемое изобретение, в основе которого охрупчивание измельчаемого материала в рабочей емкости устройства, лишено указанных недостатков и имеет целью увеличение производительности устройства и повышение степени измельчения перерабатываемого материала.
Указанный технический результат достигается тем, что в дезинтегральном устройстве переработки отходов термочувствительных пластмасс, содержащем вертикальную корпусную емкость с неподвижными ножевыми режущими элементами, расположенными по винтовой линии на внутренней поверхности емкости, и установленный на полом валу роторный измельчитель с ножевыми режущими элементами, корпусная емкость изолирована от внешней среды и заполнена низкокипящим жидким хладагентом, а полый вал роторного измельчителя сопряжен в своей нижней части с корпусной емкостью, причем ножевые режущие элементы корпусной емкости и роторного измельчителя расположены по винтовой линии с уменьшающимся к донной части корпусной емкости шагом, а их режущие грани выполнены в виде эллиптического тора; при этом ножевые режущие элементы корпусной емкости и роторного измельчителя выполнены в виде плоских секторов кругового кольца, установленных с взаимным частичным перекрытием, а плоскость секторов перпендикулярна оси вращения роторного измельчителя; при этом ножевые режущие элементы роторного измельчителя размещены по винтовой лини; при этом винтовые линии размещения ножевых режущих элементов роторного измельчителя и корпусной емкости встречно ориентированы; при этом изоляция корпусной емкости выполнена высоковакуумной или вакуумно-порошковой; при этом ножевые режущие элементы имеют режущие грани в виде части поверхности кругового тора.
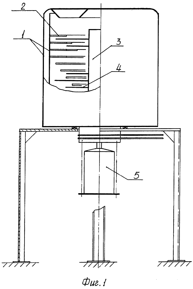
На фиг.1 изображено предложенное дезинтегральное устройство, общий вид; на фиг.2 – вариант конструкции узла сопряжения роторного измельчителя с емкостью, заполненной низкокипящим жидким хладагентом; на фиг.3 – фрагмент роторного измельчителя в аксонометрической проекции устройства.
Дезинтегральное устройство содержит вертикальную корпусную емкость 1 с неподвижными ножевыми режущими элементами 2 по винтовой линии на внутренней поверхности емкости и роторный измельчитель 3 с ножевыми режущими элементами 4. Вал роторного измельчителя 3 выполнен полым и сопряжен (в нижней своей части) с емкостью 5, заполненной низкокипящим жидким хладагентом (например, жидким азотом). Вертикальная корпусная емкость 1 с неподвижными ножевыми режущими элементами 2 выполнена по типу сосуда с высоковакуумной или вакуумно-порошковой изоляцией. Для унификации устройств такого назначения в качестве емкости 5 с низкокипящим жидким хладагентом в рабочем состоянии устройства может быть использован стандартный металлический сосуд Дьюара.
Узел сопряжения 6 роторного измельчителя 3 с емкостью 5, заполненной низкокипящим жидким хладагентом, может быть выполнен по типу микрохолодильника /см., например, авт. свид. СССР № 1437638 (кл. F 25 В 9/02, 1988)/.
Ножевые режущие элементы 2 и 4 выполнены в виде плоских секторов кругового кольца и установлены с взаимным частичным перекрытием (от уровня к уровню) так, что, например, ножевые режущие элементы 2 корпусной емкости 1 образуют подобие ирисовой диафрагмы (при виде по оси вращения роторного измельчителя 3); при этом плоскость всех секторов перпендикулярна оси вращения роторного измельчителя 3. Винтовые линии размещения ножевых режущих элементов 2 (корпусной емкости 1) и 4 (роторного измельчителя 3) встречно ориентированы и имеют уменьшающийся (к донной части корпусной емкости 1) шаг. Режущие грани (например, 4 “а” на фиг.3) ножевых режущих элементов 2 и 4 встречно ориентированы и каждая в отдельности выполнена в виде части поверхности кругового или эллиптического тора.
Испаряясь вверх по полому валу (через узел сопряжения 6), низкокипящий жидкий хладагент (например, жидкий азот) охлаждает роторный измельчитель 3, а посредством его рабочую полость устройства. В силу того что корпусная емкость 1 является изолирующей (для рабочей полости) от внешней среды, а роторный измельчитель 3 является полым и сопряженным с емкостью 5 с низкокипящим жидким хладагентом, в рабочей зоне для измельчаемого материала при эксплуатации предлагаемого устройства всегда обеспечены условия охрупчивания термочувствительным пластмассам. Вращающиеся ножевые режущие элементы 4 режущими гранями 4 “а” клинообразной формы захватывают (на каждом уровне) подаваемый на измельчение материал и направляют нисходящий поток все более измельчаемого материала на встречно ориентированные ножевые режущие элементы 2 корпусной емкости 1, увеличивая производительность устройства и повышая степень измельчения материала (от уровня в верхней части устройства до уровня в донной части корпусной емкости 1).
Источники информации
1. Сапожников М.Я., Гиберов З.Г. Механическое оборудование заводов по производству изделий с применением пластмасс и древесины. М., Высшая школа, 1976, 384 с.
2. Авт. свид. СССР № 1595654, кл. В 29 В 17/00, В 02 С 18/44, 1990.
3. Авт. свид. СССР № 1643156, кл. В 29 В 17/00, 1991.
Формула изобретения
1. Дезинтеграторное устройство переработки отходов термочувствительных пластмасс, содержащее вертикальную корпусную емкость с неподвижными ножевыми режущими элементами, расположенными по винтовой линии на внутренней поверхности емкости, и установленный на полом валу роторный измельчитель с ножевыми режущими элементами, отличающееся тем, что корпусная емкость изолирована от внешней среды и заполнена низкокипящим жидким хладагентом, а полый вал роторного измельчителя сопряжен в своей нижней части с корпусной емкостью, причем ножевые режущие элементы корпусной емкости и роторного измельчителя расположены по винтовой линии с уменьшающимся к донной части корпусной емкости шагом, а их режущие грани выполнены в виде эллиптического тора.
2. Дезинтеграторное устройство по п.1, отличающееся тем, что ножевые режущие элементы корпусной емкости и роторного измельчителя выполнены в виде плоских секторов кругового кольца, установленных с взаимным частичным перекрытием, а плоскость секторов перпендикулярна оси вращения роторного измельчителя.
3. Дезинтеграторное устройство по п.1, отличающееся тем, что ножевые режущие элементы роторного измельчителя размещены по винтовой линии.
4. Дезинтеграторное устройство по п.1, отличающееся тем, что винтовые линии размещения ножевых режущих элементов роторного измельчителя и корпусной емкости встречно ориентированы.
5. Дезинтеграторное устройство по п.1, отличающееся тем, что изоляция корпусной емкости выполнена высоковакуумной или вакуумно-порошковой.
6. Дезинтеграторное устройство по п.1, отличающееся тем, что ножевые режущие элементы имеют режущие грани в виде части поверхности кругового тора.
РИСУНКИ
|
|