|
|
(21), (22) Заявка: 2004116745/03, 01.06.2004
(24) Дата начала отсчета срока действия патента:
01.06.2004
(45) Опубликовано: 20.02.2006
(56) Список документов, цитированных в отчете о поиске:
RU 2156647 C1, 27.09.2000. RU 2091221 C1, 27.09.1997. RU 2118593 C1, 10.09.1998. SU 537826 A, 14.03.1977. DE 2327172 A, 19.12.1974. DE 1231150 A, 22.12.1966. US 5380085 A, 10.01.1995. FR 2185957 A, 04.01.1974.
Адрес для переписки:
220018, г.Минск, ул. Шаранговича, 19, НПО “Центр”, группа патентоведения
|
(72) Автор(ы):
Иванов Евгений Николаевич (BY)
(73) Патентообладатель(и):
Научно-производственное республиканское унитарное предприятие “НПО “Центр” (BY)
|
(54) БАРАБАННЫЙ СМЕСИТЕЛЬ СЫПУЧИХ И ВЯЗКИХ МАТЕРИАЛОВ
(57) Реферат:
Изобретение предназначено для смешивания сыпучих и вязких материалов. Барабанный смеситель содержит опорный узел, состоящий из основания с вертикальными опорными элементами, эластичный барабан, опору эластичного барабана, узел изменения кривизны боковой стенки эластичного барабана, и привод, при этом опорный узел содержит опорные тела вращения, установленные на вертикальных опорных элементах, опора эластичного барабана выполнена в виде цилиндрической рамы и установлена на опорных телах вращения, эластичный барабан связан с цилиндрической рамой посредством элементов, позволяющих изменение кривизны боковой стенки в плоскости, перпендикулярной оси вращения, а привод кинематически связан с цилиндрической рамой. Узел изменения кривизны боковой стенки эластичного барабана может быть выполнен в виде ударных элементов, шарнирно закрепленных на цилиндрической раме с возможностью взаимодействия с боковой стенкой эластичного барабана или может быть выполнен в виде упругих элементов, одним концом закрепленных на цилиндрической раме, а вторым концом взаимодействующих с боковой стенкой эластичного барабана. Изобретение позволяет снизить металлоемкость и эксплуатационные энергозатраты. 2 з.п. ф-лы, 2 ил. 
Изобретение относится к смесителям непрерывного действия для смешивания сыпучих материалов (например, щебня) с вязкими материалами (например, битумная эмульсия), в частности к горизонтальным барабанным смесителям, и может найти применение в строительстве, горнодобывающей, химической, металлургической, фармацевтической, пищевой и в других отраслях промышленности.
Известен барабанный (гравитационный) смеситель, содержащий опорный узел, барабан и привод, расположенные на опорном узле, при этом боковая стенка барабана в поперечном сечении выполнена в виде спирали с образованием окна для подачи смешиваемых материалов между наружной и внутренней частями, а торцовые стенки барабана выполнены наклонными (Патент РФ № 2010707, В 28 С 5/20, опубл. 15.04.1994).
Однако известный барабанный смеситель не позволяет эффективно смешивать сыпучие и вязкие материалы, т.к. вязкий материал налипает на стенках барабана и скапливается на них. Этот недостаток связан с тем, что барабан выполнен жестким. Кроме этого, известный смеситель не позволяет обеспечить непрерывность процесса смешивания, что снижает кпд и повышает удельные энергозатраты.
Известен также барабанный смеситель сыпучих и вязкосыпучих материалов, содержащий опорный узел, состоящий из основания с вертикальными опорными элементами рамы, закрепленной на одном из вертикальных опорных элементов, обечайки, шарнирно закрепленной на раме с возможностью фиксированного изменения угла наклона в вертикальной плоскости оси вращения, трубы, установленной внутри обечайки посредством подшипникового узла и снабженной двумя противоположно расположенными опорными элементами, трубы, установленной внутри трубы опорного узла посредством подшипникового узла, содержащей на внутренней поверхности винтовые направляющие для сыпучего материала, эластичный барабан, жестко закрепленный на трубе с винтовыми направляющими, узел изменения кривизны боковой стенки эластичного барабана, состоящий из бесконечной ленты, охватывающей с двух сторон со сдавливанием эластичный барабан и установленной на двух роликах, закрепленных на опорных элементах трубы опорного узла, при этом один из роликов связан с устройством для натяжения бесконечной ленты, а второй ролик связан с обечайкой опорного узла планетарной передачей, и привод, кинематически связанный с трубой опорного узла и трубой с винтовыми направляющими, замкнутыми гибкими связями (Патент РФ № 2156647, В 01 F 9/02, опубл. 27.09.2000).
Однако данный смеситель обладает высокими металлоемкостью и эксплуатационными энергозатратами, связанными с большой сложностью конструкции опорного узла, содержащего достаточно большое количество вращающихся деталей, и со сложной конструкцией узла изменения кривизны боковой стенки эластичного барабана.
Задача изобретения состоит в значительном снижении металлоемкости и эксплуатационных энергозатрат за счет достижения технического результата, заключающегося в сокращении количества вращающихся деталей опорного узла и за счет упрощения конструкции узла изменения кривизны боковой стенки эластичного барабана.
Сущность изобретения заключается в том, что для решения поставленной задачи путем достижения указанного технического результата барабанный смеситель сыпучих и вязких материалов, содержащий опорный узел, состоящий из основания с вертикальными опорными элементами, эластичный барабан, опору эластичного барабана, узел изменения кривизны боковой стенки эластичного барабана, и привод, отличается тем, что опорный узел содержит опорные тела вращения, установленные на вертикальных опорных элементах, опора эластичного барабана выполнена в виде цилиндрической рамы и установлена на опорных телах вращения, эластичный барабан связан с цилиндрической рамой посредством элементов, позволяющих изменение кривизны боковой стенки в плоскости, перпендикулярной оси вращения, а привод кинематически связан с цилиндрической рамой.
При этом узел изменения кривизны боковой стенки эластичного барабана выполнен в виде ударных элементов, шарнирно закрепленных на цилиндрической раме с возможностью взаимодействия с боковой стенкой эластичного барабана, или в виде упругих элементов, одним концом закрепленных на цилиндрической раме, а вторым концом взаимодействующих с боковой стенкой эластичного барабана.
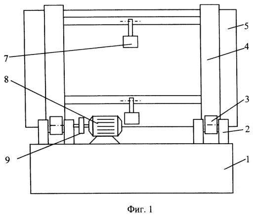
Изобретение поясняется чертежами: фиг.1 – барабанный смеситель, вид с боку; фиг.2 – то же, вид с торцовой части.
Барабанный смеситель сыпучих и вязких материалов содержит опорный узел, состоящий из основания 1 с вертикальными опорными элементами 2 и опорных тел 3 вращения, а также цилиндрическую раму 4, расположенную на опорных телах 3 вращения, эластичный барабан 5, закрепленный на цилиндрической раме 4 посредством элементов 6, позволяющих изменение кривизны боковой стенки в плоскости, перпендикулярной оси вращения, узел изменения кривизны боковой стенки эластичного барабана 5, состоящий, например, из ударных элементов 7, соединенных шарнирно с цилиндрической рамой 4 с возможностью взаимодействия с боковой стенкой эластичного барабана 5, а привод расположен на основании 1 и состоит из электродвигателя 8 и механической передачи 9, кинематически связанной с одним или несколькими опорными телами 3 вращения. Механическая передача 9 может быть непосредственно связана с цилиндрической рамой 4.
Для придания эластичному барабану 5 наклона в горизонтальной плоскости смеситель устанавливают на поверхности с наклоном оси в горизонтальной плоскости под необходимым углом. При этом входная часть барабана 5 расположена выше выходной части.
Изобретение используют следующим образом.
От электродвигателя 8 посредством механической передачи 9 вращение придают одному из опорных тел 3 вращения, цилиндрической раме 4 и эластичному барабану 5. Затем во входную часть вращающегося эластичного барабана 5 подают сыпучий материал, например щебень, и вязкий материал, например битумную эмульсию. При вращении смешиваемый материал подхватывается боковой стенкой эластичного барабана 5, поднимается вверх и падает обратно. Благодаря тому, что барабан 5 установлен с наклоном оси в горизонтальной плоскости, материал смешивается и одновременно перемещается к его выходной части. При вращении барабана 5 некоторые из ударных элементов 7 осуществляют механическое воздействие на его боковую стенку путем нанесения удара, изменяя кривизну боковой стенки эластичного барабана 7 в плоскости, перпендикулярной оси вращения, что способствует отделению налипшего материала от боковой стенки и его дальнейшему участию в перемешивании.
Формула изобретения
1. Барабанный смеситель сыпучих и вязких материалов, содержащий опорный узел, состоящий из основания с вертикальными опорными элементами, эластичный барабан, опору эластичного барабана, узел изменения кривизны боковой стенки эластичного барабана и привод, отличающийся тем, что опорный узел содержит опорные тела вращения, установленные на вертикальных опорных элементах, опора эластичного барабана выполнена в виде цилиндрической рамы и установлена на опорных телах вращения, эластичный барабан связан с цилиндрической рамой посредством элементов, позволяющих изменение кривизны боковой стенки в плоскости, перпендикулярной оси вращения, а привод кинематически связан с цилиндрической рамой.
2. Смеситель по п.1, отличающийся тем, что узел изменения кривизны боковой стенки эластичного барабана выполнен в виде ударных элементов, шарнирно закрепленных на цилиндрической раме с возможностью взаимодействия с боковой стенкой эластичного барабана.
3. Смеситель по п.1, отличающийся тем, что узел изменения кривизны боковой стенки эластичного барабана выполнен в виде упругих элементов, одним концом закрепленных на цилиндрической раме, а вторым концом взаимодействующих с боковой стенкой эластичного барабана.
РИСУНКИ
|
|