|
| На основании пункта 3 статьи 13 Патентного закона Российской Федерации от 23 сентября 1992 г. № 3517-I патентообладатель обязуется передать исключительное право на изобретение (уступить патент) на условиях, соответствующих установившейся практике, лицу, первому изъявившему такое желание и уведомившему об этом патентообладателя и федеральный орган исполнительной власти по интеллектуальной собственности, – гражданину РФ или российскому юридическому лицу. |
|
(21), (22) Заявка: 2004117819/15, 15.06.2004
(24) Дата начала отсчета срока действия патента:
15.06.2004
(45) Опубликовано: 20.02.2006
(56) Список документов, цитированных в отчете о поиске:
SU 1452602 A1, 23.01.1989. ГЕРВАСЬЕВ А.М., Пылеуловители СИОТ, Москва, Профиздат, 1954, с.34-36. US 4344779 A, 17.08.1982. SU 336048 A, 25.07.1972. JP 6063453 А, 08.03.1994.
Адрес для переписки:
123458, Москва, ул. Твардовского, 11, кв.92, О.С. Кочетову
|
(72) Автор(ы):
Кочетов Олег Савельевич (RU), Кочетова Мария Олеговна (RU), Ходакова Татьяна Дмитриевна (RU)
(73) Патентообладатель(и):
Кочетов Олег Савельевич (RU), Кочетова Мария Олеговна (RU), Ходакова Татьяна Дмитриевна (RU)
|
(54) СПОСОБ ИНЕРЦИОННОГО ПЫЛЕУЛАВЛИВАНИЯ И УСТРОЙСТВО ДЛЯ ЕГО ОСУЩЕСТВЛЕНИЯ
(57) Реферат:
Изобретение относится к технике пылеулавливания и может применяться в химической, текстильной, пищевой, легкой и других отраслях промышленности для изготовления аппаратов по очистке запыленных газов. Способ инерционного пылеулавливания заключается в том, что осуществляют периферийный ввод запыленного газового потока в цилиндрическую часть корпуса устройства инерционного пылеулавливания, его раскручивание посредством винтообразной поверхности крышки и осаждение пыли через коническую часть корпуса в бункер, а выход очищенного газа осуществляют через осевой выхлопной патрубок, при этом осуществляют процесс вибротранспортирования частиц пыли путем вывешивания корпуса циклона на пружинах и сообщения корпусным деталям циклона вибрации с помощью вибратора, установленного на кольце, закрепленном на корпусе циклона, а регулирование параметров возникающего вибродинамического режима осуществляют посредством блока управления вибратором. Задержание неуловленных частиц пыли осуществляют в выходном патрубке на фильтрующем элементе, одновременно являющемся аэродинамическим глушителем шума. Технический результат: повышение эффективности пылеулавливания. 2 н.п. ф-лы, 1 ил. 
Изобретение относится к технике пылеулавливания и может применяться в химической, текстильной, пищевой, легкой и других отраслях промышленности для изготовления аппаратов по очистке запыленных газов.
Наиболее близким техническим решением к заявляемому объекту в части способа является способ инерционного пылеулавливания по а.с. СССР №1452602, кл. В 04 С 11/00, 1987 г., заключающийся в том, что осуществляют периферийный ввод запыленного газового потока в цилиндрическую часть корпуса циклона, осаждение пыли через коническую часть корпуса в бункер, вывод очищенного газа через осевой выхлопной патрубок, процесс вибротранспортирования частиц пыли путем сообщения корпусным деталям циклона вибрации с помощью вибратора, при этом регулирование параметров возникающего вибродинамического режима осуществляют посредством блока управления вибратором.
Наиболее близким техническим решением к заявляемому объекту в части устройства является устройство инерционного пылеулавливания по а.с. СССР №1452602, кл. В 04 С 11/00, 1987, содержащие периферийный ввод запыленного газового потока в цилиндрическую часть корпуса циклона, осевой выходной патрубок, коническую часть корпуса, бункер, вибратор, блок управления.
Недостатком прототипа является сравнительно невысокая эффективность пылеулавливания за счет частичного возврата мелкодисперсной пыли в осевой патрубок.
Обеспечиваемый технический результат – повышение эффективности пылеулавливания.
Это достигается тем, что в способе инерционного пылеулавливания, заключающемся в том, что осуществляют периферийный ввод запыленного газового потока в цилиндрическую часть корпуса циклона, осаждение пыли через коническую часть корпуса в бункер, вывод очищенного газа через осевой выходной патрубок, процесс вибротранспортирования частиц пыли путем сообщения корпусным деталям циклона вибрации с помощью вибратора, при этом регулирование параметров возникающего вибродинамического режима осуществляют посредством блока управления вибратором, процесс вибротранспортирования частиц пыли осуществляют путем вывешивания корпуса циклона на пружинах с помощью балки, соединенной с выходным патрубком, и сообщения корпусным деталям циклона вибрации с помощью вибратора, установленного на кольце, закрепленном на цилиндрической части корпуса циклона, при этом осуществляют задержание неуловленных частиц пыли в выходном патрубке на фильтрующем элементе, одновременно являющемся аэродинамическим глушителем шума, а в устройстве инерционного пылеулавливания, содержащем периферийный ввод запыленного газового потока в цилиндрическую часть корпуса циклона, осевой выходной патрубок, коническую часть корпуса, бункер, вибратор, блок управления, корпус циклона вывешен на пружинах с помощью балки, соединенной с выходным патрубком, а вибратор, сообщающий корпусным деталям циклона вибрацию заданной частоты, установлен на кольце, закрепленном на цилиндрической части корпуса циклона, при этом на выходном патрубке закреплен фильтрующий элемент, одновременно являющийся аэродинамическим глушителем шума.
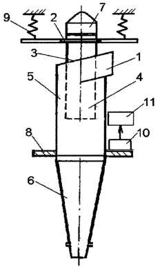
На чертеже изображено устройство инерционного пылеулавливания, на котором реализуется предлагаемый способ пылеулавливания.
Устройство инерционного пылеулавливания содержит периферийный ввод 1 запыленного газового потока в цилиндрическую часть 5 корпуса циклона, винтообразную крышку 3, осевой выходной патрубок 4, коническую часть 6 корпуса, бункер, вибратор 10, блок управления 11. Корпус циклона вывешен на пружинах 9 с помощью балки, соединенной с выходным патрубком 2, а вибратор 10, сообщающий корпусным деталям циклона вибрацию заданной частоты, установлен на кольце 8, закрепленном на цилиндрической части 5 корпуса циклона, при этом на выходном патрубке 2 закреплен фильтрующий элемент 7, одновременно являющийся аэродинамическим глушителем шума.
Предлагаемый способ инерционного пылеулавливания осуществляют следующим образом.
Периферийный ввод запыленного газового потока осуществляют в цилиндрическую часть 5 корпуса циклона, закручивая его за счет тангенциального периферийного ввода и винтообразной крышки 3. Затем направляют движение потока по нисходящей винтовой линии вдоль стенок аппарата. В результате чего частицы пыли под действием центробежной силы движутся от центра аппарата к периферии и, достигая стенок аппарата, транспортируются вниз в коническую часть 6 корпуса для сбора уловленной пыли. Очищенный воздух выводится из циклона через выходной патрубок 2. Осаждение пыли через коническую часть 6 корпуса в бункер, при этом вывод очищенного газа осуществляют через осевой выходной патрубок 4, а процесс вибротранспортирования частиц пыли – путем сообщения корпусным деталям циклона вибрации с помощью вибратора 10, при этом регулирование параметров возникающего вибродинамического режима осуществляют посредством блока управления 11 вибратором. Процесс вибротранспортирования частиц пыли осуществляют путем вывешивания циклона на пружинах 9 с помощью балки, соединенной с выходным патрубком 2, и сообщения корпусным деталям циклона вибрации с помощью вибратора 10, установленного на кольце 8, закрепленном на цилиндрической части 5 корпуса циклона, при этом осуществляют задержание неуловленных частиц пыли в выходном патрубке на фильтрующем элементе 7, одновременно являющемся аэродинамическим глушителем шума. При работе циклона легкие, мелкодисперсные фракции частиц пыли, не уловленные в коническую часть 6 корпуса, задерживаются на фильтрующем элементе 7, при этом происходит снижение виброакустической энергии, так как фильтрующий элемент 7 одновременно является аэродинамическим глушителем шума активного (сорбционного) типа. Для ускорения осаждения частиц пыли применяют их вибротранспортирование путем сообщения корпусным деталям циклона вибрации с заданными параметрами с помощью вибратора 10, установленного на кольце 8. Регулирование параметров возникающего вибродинамического режима осуществляют посредством блока управления 11.
Формула изобретения
1. Способ инерционного пылеулавливания, заключающийся в том, что осуществляют периферийный ввод запыленного газового потока в цилиндрическую часть корпуса циклона, осаждение пыли через коническую часть корпуса в бункер, вывод очищенного газа через осевой выходной патрубок, процесс вибротранспортирования частиц пыли путем сообщения корпусным деталям циклона вибрации с помощью вибратора, при этом регулирование параметров возникающего вибродинамического режима осуществляют посредством блока управления вибратором, отличающийся тем, что процесс вибротранспортирования частиц пыли осуществляют путем вывешивания корпуса циклона на пружинах с помощью балки, соединенной с выходным патрубком, и сообщения корпусным деталям циклона вибрации с помощью вибратора, установленного на кольце, закрепленном на цилиндрической части корпуса циклона, при этом осуществляют задержание неуловленных частиц пыли в выходном патрубке на фильтрующем элементе, одновременно являющемся аэродинамическим глушителем шума.
2. Устройство инерционного пылеулавливания, содержащее периферийный ввод запыленного газового потока в цилиндрическую часть корпуса циклона, осевой выходной патрубок, коническую часть корпуса, бункер, выбратор, блок управления, отличающееся тем, что корпус циклона вывешен на пружинах с помощью балки, соединенной с выходным патрубком, а вибратор, сообщающий корпусным деталям циклона вибрацию заданной частоты, установлен на кольце, закрепленном на цилиндрической части корпуса циклона, при этом на выходном патрубке закреплен фильтрующий элемент, одновременно являющийся аэродинамическим глушителем шума.
РИСУНКИ
|
|