|
|
(21), (22) Заявка: 2004112730/14, 26.04.2004
(24) Дата начала отсчета срока действия патента:
26.04.2004
(43) Дата публикации заявки: 20.10.2005
(45) Опубликовано: 20.02.2006
(56) Список документов, цитированных в отчете о поиске:
US 6113626 A, 05.09.2000. SU 210334 A, 16.04.1968. SU 269172 A, 20.07.1970. US 5891187 A, 06.04.1999. US 5989285 A, 23.11.1999. US 4884304 A, 05.12.1989.
Адрес для переписки:
450000, г.Уфа-центр, Ленина, 3, Башгосмедуниверситет, патентный отдел
|
(72) Автор(ы):
Сибагатуллин Нур Гасымович (RU), Плечев Владимир Вячеславович (RU), Анцыгин Юрий Григорьевич (RU), Гатауллин Наиль Гайнатович (RU), Еникеева Альфия Фаритовна (RU), Абдрашитов Хамза Закиевич (RU)
(73) Патентообладатель(и):
Государственное образовательное учреждение высшего профессионального образования” Башкирский государственный медицинский университет Федерального агенства по здравоохранению и социальному развитию”(ГОУ ВПО БГМУ РОСЗДРАВА РОССИИ) (RU), Общество с ограниченной ответственностью Научно-производственное Объединение “БАШБИОМЕД” (ООО НПО “Башбиомед”) (RU)
|
(54) УСТРОЙСТВО ДЛЯ ОХЛАЖДЕНИЯ И СОГРЕВАНИЯ БОЛЬНЫХ ПРИ ОПЕРАЦИЯХ НА СЕРДЦЕ
(57) Реферат:
Изобретение относится к медицине, а именно к устройствам для охлаждения и согревания больных при операциях на сердце. Устройство выполнено в виде полой замкнутой оболочки из эластичного герметичного материала с перегородками, между которыми по всей длине и ширине оболочки находится трубка из эластичного материала. Внутри трубки размещен жгут, диаметр которого составляет 1/5 диаметра трубки. Концы трубки снабжены штуцерами для подключения к теплообменнику, а на боковых кромках оболочки выполнены отверстия для стяжных лент. Использование изобретения позволяет сократить время охлаждения и согревания больных. 1 з.п. ф-лы, 2 ил., 1 табл. 
Предлагаемое изобретение относится к медицине, а именно хирургии сердца, и может использоваться для охлаждения и согревания больных при операциях на сердце с использованием общегипотермической защиты.
Общим недостатком методов наружного охлаждения больных является необходимость их проведения до начала операции, что значительно увеличивает длительность воздействия низких температур на организм больного. Согревание, как правило, осуществляется путем постоянного орошения полости перикарда и плевры теплой водой, использования грелок или фена на фоне вспомогательного ручного массажа сердца или электрокардиостимуляции.
Известно «Охлаждающе-согревающее устройство для наружного охлаждения», представляющее собой «операционный стол – ванну», обеспечивающее непосредственный контакт теплоносителя с тканями через изолирующую пленку (два слоя полиэтилена) (Я.В.Волколаков, А.Т.Лацис Глубокая гипотермия в кардиохирургии детского возраста, – Ленинград «Медицина», 1977, 149 с.). При этом достигается контакт с хладагентом около 40% поверхности тела пациента. При данной методике снижение температуры тела на 1° происходит в среднем за 7 минут (±1,5 мин) в зависимости от упитанности пациента. Согревание тела производится опусканием приподнятой перед окклюзией сосудов «платформы-стола» в теплую воду (38-40°), которая к этому времени сменила холодную. Однако данное устройство представляет собой довольно громоздкую конструкцию с использованием больших объемов холодной и теплой воды. Небольшие размеры «стола-ванны» существенно ограничивают его применение у пациентов более высокого роста.
Прототипом является устройство по патенту США 5891187 А, 06.04.1999, состоящее из эластичной герметичной оболочки с перегородками, образующими каналы, по которым циркулирует вода или другой теплоноситель. Следует отметить, что данное устройство отличает раздельное движение потоков теплоносителя в разных сегментах устройства, модульное (многокомпонентное) строение и жесткость перегородок, обеспечивающих движение теплоносителя.
Технический результат при использовании устройства – сокращение времени охлаждения и согревания за счет максимального непосредственного контакта поверхности устройства с телом больного и создания на контактируемых частях тела требуемого микроклимата.
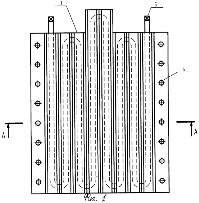
На фиг.1 изображено предлагаемое устройство, общий вид; на фиг.2 – то же, разрез А-А.
Предлагаемое устройство представляет собой замкнутую оболочку 1 из эластичного герметичного материала, которая имеет перегородки 2 и выполнена в форме, например, прямоугольника. Внутри оболочки по всей длине и ширине, между перегородками, находится трубка 3 из эластичного материала, например, резины. Расстояние между перегородками составляет 1/10 ширины оболочки. Внутри трубки размещен жгут 4 из эластичного материала, диаметр которого составляет 1/5 диаметра трубки. Жгут исключает перегиб трубки под весом больного и обеспечивает непрерывную циркуляцию воды. Концы трубки снабжены штуцерами 5 для подключения к теплообменнику. На боковых кромках устройства выполнены отверстия 6 для стяжных лент (фиг.1-2).
Предлагаемое устройство используют следующим образом: устройство раскладывают на операционном столе, подключают его к теплообменнику, размещают больного, стяжными лентами обеспечивают плотное прилегание устройства к телу больного. Вводят его в состояние наркоза. Осуществляют подачу воды, охлажденной до температуры +4-+6°С, в циркулирующем режиме. Проводят контроль за температурой больного с помощью датчиков, установленных в пищеводе и прямой кишке. При охлаждении тела больного до соответствующей температуры проводят операцию на сердце. После завершения основного этапа операции на сердце тотчас начинают согревание больного. Для этого в теплообменнике нагревают воду до 42°С, которая подается в циркулирующем режиме в устройство.
Темп согревания в контрольной (согревание проводилось непрерывным орошением плевральной полости физиологическим раствором с температурой 37-38°С) и исследуемой (с применением предлагаемого устройства) группах представлены в таблице 1.
Преимущества устройства:
1. Использование одной системы для носителей тепла и холода.
2. Система рециркуляции обеспечивает непрерывный поток независимо от веса и положения больного.
3. Обеспечивается постоянная циркуляция воды заданной температуры и скоростью.
4. Температура и скорость движения воды могут быть изменены в ходе охлаждения и согревания – большая управляемость.
5. Использование у больных вне зависимости от роста и веса.
6. Охлаждение и согревание проводится автономно, независимо от этапа операции, что способствует сокращению времени пребывания больного при низких температурах (в состоянии гипотермии).
7. Предохранение от случайных повреждений с вытеканием жидкости.
Применение заявляемого устройства иллюстрируется следующим примером. Больной Н., 10 лет, масса 23 кг, взят на операцию по поводу врожденного дефекта межпредсердной перегородки в условиях бесперфузионной общегипотермической защиты. Больного укладывают на операционный стол, на котором заранее уложено устройство для охлаждения и согревания. После введения в наркоз начинается наружное охлаждение тела и головы больного включением устройства в режиме охлаждения. Для ускорения процесса охлаждения проводится дополнительное обкладывание головы и открытых частей рук и ног льдом. При достижении температуры тела 34°С лед удаляется. Устройство продолжает работать. При этом продолжается снижение температуры тела до 28-32 градусов. На фоне продолжающегося охлаждения начинается стернотомия. Перикардотомия. Путем окклюзии магистральных сосудов сердце выключают из кровотока, выполняют основной этап операции, который занимает до 20 минут времени. По завершении основного этапа включают устройство в режиме согревания. После проведения мероприятий по профилактике воздушной эмболии и ушивания стенки правого предсердия начинают дополнительное согревание больного орошением теплой водой с температурой 43 градуса. При достижении температуры тела больного 34 градусов орошение прекращают и начинают этап ушивания раны грудной стенки на фоне дальнейшего согревания согревающим устройством. После завершения операции больной переводится с устройством для согревания в отделение реанимации для дальнейшего лечения.
Устройство для охлаждения и согревания больных при операциях на сердце
| Таблица 1 |
| Темп согревания больного в зависимости от условий согревания тела больного |
| Масса тела больных по группам |
Контрольная группа (n=10) |
Исследуемая группа (n=12) |
| Количество больных |
Темп согревания |
Количество больных |
Темп согревания |
| 12-20 кг |
N=4 |
0,2 град/кгхчас |
n=5 |
0,27 град/кгхчас |
| 20-30 кг |
n=6 |
0,11 |
n=7 |
0,19 |
Формула изобретения
1. Устройство для охлаждения и согревания больных при операциях на сердце, выполненное в виде замкнутой оболочки из эластичного герметичного материала с перегородками, имеющее штуцеры для подключения к теплообменнику, а боковые кромки оболочки снабжены стяжными лентами, отличающееся тем, что между перегородками по всей длине и ширине оболочки находится трубка из эластичного материала с размещенным внутри жгутом, диаметр которого составляет 1/5 диаметра трубки.
2. Устройство по п.1, отличающееся тем, что оно выполнено в форме прямоугольника.
РИСУНКИ
MM4A – Досрочное прекращение действия патента СССР или патента Российской Федерации на изобретение из-за неуплаты в установленный срок пошлины за поддержание патента в силе
Дата прекращения действия патента: 27.04.2006
Извещение опубликовано: 27.04.2007 БИ: 12/2007
|
|