|
|
(21), (22) Заявка: 2004125212/09, 17.08.2004
(24) Дата начала отсчета срока действия патента:
17.08.2004
(45) Опубликовано: 10.02.2006
(56) Список документов, цитированных в отчете о поиске:
SU 1817167 A1, 23.05.1993. SU 1325607 A1, 23.05.1987. SU 1829067 A1, 27.07.1993. US 6769931 B2, 03.08.2004. US 5645039 A, 08.07.1997.
Адрес для переписки:
350044, г.Краснодар, ул. Калинина, 13, КГАУ ПИО
|
(72) Автор(ы):
Ирха Дмитрий Александрович (RU)
(73) Патентообладатель(и):
Кубанский Государственный Аграрный Университет (RU)
|
(54) УСТРОЙСТВО ДЛЯ СОЕДИНЕНИЯ ЭЛЕКТРИЧЕСКИХ ПРОВОДНИКОВ
(57) Реферат:
Изобретение относится к области электротехнике. Технический результат – повышение электрической проводимости соединения, снижение его нагрева от токов перегрузки и коротких замыканий, увеличение надежности и долговечности, а также сокращение трудозатрат на монтаж и повышение механической прочности. Это достигают путем соединения зажимных элементов, имеющих форму секторов усеченного конуса с корпусом металлического стакана с помощью гибких перемычек, образованных кольцевым пазом на стакане, и использование прижимных гаек, которые имеют коническую внутреннюю поверхность. Это уменьшает количество контактных стыков и увеличивает контактную поверхность между проводниками и зажимами. Устройство может быть использовано для соединения голых и изолированных проводников из любого материала, расположенных в воздухе, земле и воде. 2 ил. 
Изобретение относится к устройствам и зажимам, предназначенным для соединения электрических проводников при монтаже электроустановок или строительстве кабельных и воздушных линий электропередач, в частности при монтаже заземляющих устройств.
Известны устройства и способы соединения электрических проводников, например по авторскому свидетельству SU №1829067, кл. Н 01 R 4/38, опубликованному 23.07.93. Бюл. №27 “Соединительный гнездовой зажим”, содержащий прижимную зажимную обойму, в которой размещаются концы проводников, вкладыши и зажимные винты. Недостатком зажима является то, что переходное сопротивление контакта сосредоточено в точках соприкосновения торца винта с проводником, что приводит к чрезмерному нагреву зажима.
По авторскому свидетельству SU №1325607, кл. Н 01 R 4/20, опубликованному 23.07.87. Бюл. №27 предлагается соединять проводники обжатием. Устройство по этому способу содержит втулку с выступами и проводники с предварительно выполненными на них выемками. Недостатком такого способа является то, что он применим преимущественно для проводников из мягких материалов (алюминий, медь) и требует мощного прессового оборудования.
Известно устройство для соединения жил кабеля по авторскому свидетельству SU №1817167, кл. Н 01 R 11/22, опубликованное 23.05.93. Бюл №19 (принято за прототип). Устройство содержит стакан и размещенные в нем зажимные элементы, выполненные в виде цанговых четырехлепестковых втулок, устанавливаемых в стакан с разных концов и зажимными гайками контрения. Недостатком устройства является то, что зажимные элементы крепятся к цилиндрической шайбе, не связанной со стаканом. Такая конструкция не обеспечивает надежного электрического контакта между торцами соединяемых проводников, что приводит к увеличению переходного сопротивления на соединителе, усложняет технологию монтажа и увеличивает трудоемкость работ.
Техническим решением задачи является повышение электрической проводимости соединения, предотвращение перегрева соединения при больших токах и сокращение трудозатрат на монтаж соединений.
Поставленная задача решается тем, что устройство для соединения электрических проводников, включающее металлический стакан с гайками и зажимные элементы, отличающиеся тем, что зажимные элементы выполнены как единое целое со стаканом и соединены с ним гибкими перемычками, образованными кольцевым пазом на стакане, при этом зажимные элементы имеют форму секторов усеченного конуса, разделенных продольными зазорами, и снабженных контактными зубьями из материала с твердостью, большей чем твердость материала электрических проводников, а прижимные гайки, выполненные с внутренней конической поверхностью, сопрягаемой в собранном виде с поверхностью зажимных элементов, и снабжены внутренней резьбой, уплотняющими и контрящими прокладками.
Новизна устройства заключается в том, что для повышения электрической проводимости соединения: уменьшается количество контактных стыков; расширяется площадь контактирующей поверхности между зажимными элементами и проводниками. Достигается это путем конструктивного объединения стакана и зажимных элементов в единое целое и придания зажимам гибкости за счет образования кольцевого паза по окружности стакана и зазоров между секторами зажимов.
Кроме указанного прижимные гайки выполнены с внутренней конической поверхностью, которая совпадает с поверхностью зажимных конусных секторов в момент окончательного закрепления гайки на внешней резьбе стакана, это также способствует снижению переходного электрического сопротивления соединения. Уплотняющие и контрящие прокладки и смазка защищают контактные поверхности от коррозии, обеспечивая надежность и долговечность соединения.
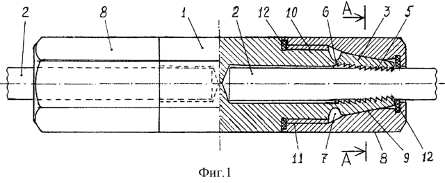
Сущность изобретения представлена на чертежах, где на фиг.1 – общий вид устройства для соединения электрических проводников, а на фиг.2 – сечение по А-А.
Устройство (фиг.1) включает металлический стакан 1 на противоположных концах, которого выполнены продольные отверстия для размещения электрических проводников 2 и зажимные элементы 3, имеющие форму секторов усеченного конуса, разделенных зазорами 4 (фиг.2) и снабженных контактными зубьями 5 из материала с твердостью, большей чем твердость материала электрических проводников 2. Зажимные элементы 3, являясь частью стакана 1, соединяются с ним гибкими перемычками 6, образованными кольцевым пазом 7 на стакане 1. Для соединения проводников 2 стакан 1 укомплектован прижимными гайками 8, имеющими внутреннюю коническую поверхность 9, сопрягаемую в собранном виде с конической поверхностью зажимных элементов 3, а так же внутреннюю резьбу 10, соответствующую наружной резьбе 11 на стакане 1, уплотняющие и контрящие прокладки 12.
Устройство работает следующим образом. Устройство поставляет в зону монтажа в разобранном виде (прижимные гайки 8 не навернуты на станок 1). Перед соединением электрические проводники 2 очищаются от следов коррозии и загрязнений, смазываются антикоррозийной смазкой. На концы проводников 2 одевают прижимные гайки 8 с уплотняющими и контрящими прокладками 12. Продольные отверстия стакана 1 его резьбу 11, зажимные элементы 3 смазывают антикоррозийной смазкой, а кольцевой паз 7 заполняют смазкой. Концы проводников 2 устанавливают в продольные отверстия стакана 1 и заворачивают гайки 8 на стакан 1. Гайки 8 своими коническими поверхностями 9 воздействуют на коническую поверхность зажимных элементов 3, при этом благодаря наличию гибких перемычек 6 на стакане 1 и зазоров 4 между сегментными зажимными элементами 3, последние изгибаются, а их контактные зубья 5 внедряются в материал проводника 2, создавая надежный, долговечный электрический контакт и обеспечивая высокую электропроводность соединения. Одновременно повышается механическая прочность узла соединения при увеличении растягивающих механических нагрузок. Контактным зубьям 3 путем термообработки или другим способом придается твердость, большая чем твердость соединяемых проводников 2.
Углубление контактных зубьев 3 в проводники 2 на заданную глубину обеспечивается конструкцией устройства и контролируется по качеству резьбового соединения стакана 1 и гаек 8 (отсутствие зазора между ними), при этом антикоррозийная смазка заполняет все поры соединений, а уплотняющие и контрящие прокладки 12 предотвращают проникновение влаги и воздуха к контактным поверхностям, а также самоотвинчивание гаек 8.
Положительный эффект устройства дополнительно проявляется в следующем:
– исключается перегрев соединения при протекании аварийных токов перегрузок, токов коротких замыканий и токов от воздействия молнии;
– повышается механическая прочность узла соединения проводников;
– сокращаются трудозатраты на монтаж электрических соединений;
Формула изобретения
Устройство для соединения электрических проводников, включающее металлический стакан с гайками и зажимные элементы, отличающееся тем, что зажимные элементы выполнены как единое целое со стаканом и соединены с ним гибкими перемычками, образованными кольцевым пазом на стакане, при этом зажимные элементы имеют форму секторов усеченного конуса, разделенных продольными зазорами и снабженных контактными зубьями из материала с твердостью, большей, чем твердость материала электрических проводников, а прижимные гайки выполнены с внутренней конической поверхностью, сопрягаемой в собранном виде с поверхностью зажимных элементов, и снабжены внутренней резьбой, уплотняющими и контрящими прокладками.
РИСУНКИ
MM4A – Досрочное прекращение действия патента СССР или патента Российской Федерации на изобретение из-за неуплаты в установленный срок пошлины за поддержание патента в силе
Дата прекращения действия патента: 18.08.2006
Извещение опубликовано: 10.04.2008 БИ: 10/2008
|
|