|
|
(21), (22) Заявка: 2002106225/09, 06.03.2002
(24) Дата начала отсчета срока действия патента:
06.03.2002
(30) Конвенционный приоритет:
06.03.2001 JP 2001-061527
(43) Дата публикации заявки: 10.09.2003
(45) Опубликовано: 10.02.2006
(56) Список документов, цитированных в отчете о поиске:
RU 2084991 C1, 20.07.1997. US 5252409 A, 12.10.1993. RU 2127931 C1, 20.03.1999. RU 2138885 C1, 27.09.1999. US 5686199 А, 11.11.1997. US 4708916 A, 24.11.1987.
Адрес для переписки:
125040, Москва, Ленинградский пр-кт, 23, патентно-лицензионная фирма “ТАТ Транстехнология”, пат.пов. Г.П.Курапову
|
(72) Автор(ы):
СУГИУРА Сейджи (JP), УАРИИШИ Йошинори (JP), ЕНДЖОДЖИ Наойуки (JP), СУГИТА Нарутоши (JP)
(73) Патентообладатель(и):
ХОНДА ГИКЕН КОГЙО КАБУШИКИ КАИША (JP)
|
(54) БЛОК ТОПЛИВНЫХ ЭЛЕМЕНТОВ НА ТВЕРДОМ ПОЛИМЕРНОМ ЭЛЕКТРОЛИТЕ, БАТАРЕЯ ТОПЛИВНЫХ ЭЛЕМЕНТОВ И СПОСОБ ПОДАЧИ ХИМИЧЕСКИ АКТИВНОГО ГАЗА В ТОПЛИВНЫЙ ЭЛЕМЕНТ
(57) Реферат:
Блок топливных элементов (10) включает в свой состав первый единичный топливный элемент (14) и второй единичный топливный элемент (16), уложенные в штабель. Первый единичный топливный элемент (14) включает в свой состав первый рабочий элемент (18), а второй единичный топливный элемент (16) включает в свой состав второй рабочий элемент (20). В блоке топливных элементов (10) каналы для газообразного окислителя (56) и (52) и каналы для газообразного топлива (46) и (58) выполнены параллельно вдоль первого и второго единичных топливных элементов (14) и (16). В направлении укладки единичных топливных элементов (14, 16) сформированы каналы для хладоносителя (48, 54), предназначенные для охлаждения указанного блока топливных элементов (10). Техническим результатом предложенного изобретения является эффективное улучшение характеристики выработки электроэнергии каждого единичного топливного элемента и уменьшение размеров блока топливных элементов. 3 н. и 16 з.п. ф-лы, 15 ил. 
Область техники, к которой относится изобретение
Настоящее изобретение относится к блоку топливных элементов на твердом полимерном электролите, включающему в свой состав множество единичных топливных элементов, уложенных в штабель, причем каждый из единичных топливных элементов имеет рабочий элемент, образованный мембраной из твердого полимерного электролита, удерживаемой между анодом и катодом, а также к батарее топливных элементов, полученной в результате укладки блоков топливных элементов на твердом полимерном электролите в штабель, и способу подачи химически активного газа в топливный элемент.
Обзор состояния техники, к которой относится данное изобретение
В общем случае, топливный элемент на твердом полимерном электролите (PEFC) включает в свой состав единичный топливный элемент (единичный генератор электроэнергии), образованный в результате размещения анода и катода, каждый из которых выполнен в основном из углерода, по обе стороны от мембраны из электролита, представляющей собой полимерную ионообменную мембрану (катионообменную мембрану), образующих основной рабочий элемент (мембранно-электродный узел) и установки полученного рабочего элемента (мембраны и электродов) между разделителями (биполярными пластинами). Топливный элемент на твердом полимерном электролите, как правило, используется в качестве батареи топливных элементов, имеющей в своем составе определенное количество единичных топливных элементов.
В топливном элементе этого типа при подаче газообразного топлива, например газа, главным образом содержащего водород (в дальнейшем называемого “водородсодержащий газ”), к аноду водород в водородсодержащем газе ионизируется на катализаторном электроде и мигрирует к катоду через электролит, а электроны, полученные при такой электрохимической реакции, экстрагируются во внешнюю цепь и используются как электрическая энергия в форме постоянного электрического тока. В этом случае, поскольку газообразный окислитель, например газ, главным образом содержащий кислород или воздух (в дальнейшем называемый “кислородсодержащий газ”), подается к катоду, то водородные ионы, электроны и кислород реагируют друг с другом и в результате на катоде образуется вода.
В тех случаях, когда батарея топливных элементов используется как источник электроэнергии на транспортном средстве, то от этой батареи топливных элементов требуется относительно большая выходная мощность. Для выполнения такого требования используется конструкция, позволяющая увеличить площадь плоскости реакции (плоскости, генерирующей электроэнергию) в единичном топливном элементе, и конструкция, обеспечивающая возможность укладки большого количества единичных топливных элементов в штабель.
Однако недостаток первой из указанных конструкций заключается в том, что при больших размерах каждого единичного топливного элемента габариты батареи топливных элементов также становятся большими и такая большая батарея топливных элементов является неподходящим источником электроэнергии для транспортного средства. Следовательно, большее распространение получила другая конструкция с возможностью укладки большого количества относительно компактных единичных топливных элементов в штабель. Однако и такая конструкция имеет недостаток, состоящий в том, что при большом количестве уложенных в штабель единичных топливных элементов в направлении укладки возникает градиент температур, а также происходит ухудшение стока воды, являющейся продуктом электрохимической реакции, что не позволяет гарантировать требуемую характеристику выработки электроэнергии.
СУЩНОСТЬ ИЗОБРЕТЕНИЯ
Технической задачей, решаемой настоящим изобретением, является создание блока топливных элементов на твердом полимерном электролите, имеющего простую конструкцию и позволяющего достичь эффективного улучшения характеристики выработки электроэнергии каждого единичного топливного элемента и уменьшения размеров блока топливных элементов, а также батареи топливных элементов, полученной в результате укладки таких блоков топливных элементов в штабель.
Другой задачей настоящего изобретения является создание способа подачи химически активного газа в топливный элемент, позволяющего обеспечить эффективную выработку электроэнергии каждым единичным топливным элементом и улучшить дренажную или подобную характеристику.
В соответствии с настоящим изобретением предлагается блок топливных элементов на твердом полимерном электролите, включающий в свой состав множество единичных топливных элементов, уложенных в штабель, отличающийся тем, что каждый из которых имеет рабочий элемент, образованный мембраной из твердого полимерного электролита, установленной между анодом и катодом, а также одну из множества групп взаимно параллельных каналов для химически активных газов, обеспечивающих возможность протекания газообразного топлива и/или газообразного окислителя в единичных топливных элементах в одном и том же направлении по отношению к направлению укладки единичных топливных элементов. Такая конструкция обеспечивает возможность сохранения требуемой характеристики выработки электроэнергии для каждого единичного топливного элемента.
Кроме того, блок топливных элементов составлен из множества единичных топливных элементов, объединенных в штабель, поэтому батарея топливных элементов может быть собрана в результате использования каждого блока топливных элементов в качестве сборочной единицы. Следовательно, при сборке батареи топливных элементов обеспечивается возможность повышения эффективности работ с компонентами батареи топливных элементов по сравнению с работами с компонентами традиционной батареи топливных элементов, в процессе сборки которой в качестве сборочной единицы используются единичные топливные элементы.
В указанном выше блоке топливных элементов по обе стороны от множества единичных топливных элементов в направлении укладки единичных топливных элементов могут быть размещены две группы каналов для хладоносителя, предназначенные для охлаждения блока топливных элементов, удерживаемых между этими каналами для хладоносителя. По сравнению с охлаждающей конструкцией, при которой группа каналов для хладоносителя выполняется для каждого единичного топливного элемента, предлагаемая в настоящем изобретении конструкция обеспечивает возможность эффективного упрощения системы охлаждения и, таким образом, позволяет без труда уменьшить размеры и снизить вес блока топливных элементов 10 в целом. Каждая из двух групп каналов для хладоносителя выполнена в форме прямых линий, проходящих вдоль плоскости единичных топливных элементов. Такая конструкция системы охлаждения обеспечивает возможность упрощения конструкции каждой группы каналов для хладоносителя.
В этом случае по меньшей мере два единичных топливных элемента могут иметь конструктивные отличия. Такое конструктивное решение обеспечивает возможность оптимизации конструкции для протекания реакции в каждом единичном топливном элементе. Например, площади поперечного сечения по меньшей мере двух из множества групп каналов для химически активных газов, обеспечивающих возможность протекания газообразного топлива и/или газообразного окислителя, выполненных по меньшей мере в двух единичных топливных элементах, могут иметь взаимно различные площади поперечного сечения. При такой конструкции даже в случае возникновения различия по температурным условиям между единичными топливными элементами обеспечивается возможность эффективного и равномерного протекания реакции для каждого единичного топливного элемента.
В частности, площади поперечного сечения по меньшей мере двух групп каналов для химически активных газов, выполненных по меньшей мере в двух единичных топливных элементах, могут отличаться друг от друга за счет различия глубины, ширины и/или количества самих каналов. Такая конструкция в результате уменьшения глубины каналов обеспечивает возможность уменьшения толщины каждого из единичных топливных элементов и, следовательно, позволяет осуществить миниатюризацию блока топливных элементов в целом, а уменьшение ширины каналов или количества самих каналов позволяет увеличить площадь контактной области между единичными топливными элементами и, следовательно, снизить контактное сопротивление.
Площади поперечного сечения каналов в одной из по меньшей мере двух групп каналов для химически активных газов, расположенной поблизости от каналов для хладоносителя, могут быть меньше, чем площади поперечного сечения каналов в другой из по меньшей мере двух групп каналов для химически активных газов, расположенной в отдалении от каналов для хладоносителя. Поскольку температура каналов для химически активных газов, расположенных поблизости от каналов для хладоносителя, ниже, чем температура каналов для химически активных газов, расположенных в отдалении от каналов для хладоносителя, то количество воды, образующейся в первых (из указанных) каналах для химически активных газов, становится больше, чем количество воды, образующейся в последних (из указанных) каналах для химически активных газов. Однако при такой конструкции площади поперечного сечения первых каналов для химически активных газов меньше, чем площади поперечного сечения последних каналов для химически активных газов, и поэтому скорость потока химически активных газов в первых каналах для химически активных газов становится выше, что в результате обеспечивает возможность эффективного улучшения стока воды, образующейся в первых каналах для химически активных газов.
В одной из по меньшей мере двух групп каналов для химически активных газов, расположенной в отдалении от каналов для хладоносителя, может быть выполнен дроссель, обеспечивающий уменьшение расхода газа в одной из по меньшей мере двух групп каналов для химически активных газов по сравнению с расходом газа в другой из по меньшей мере двух групп каналов для химически активных газов, расположенной поблизости от каналов для хладоносителя. При такой конструкции обеспечивается возможность увеличения расхода газа в каналах для химически активных газов с низкотемпературной стороны и, следовательно, возможность уравнивания влажности в единичном топливном элементе.
По меньшей мере два единичных топливных элемента могут иметь рабочие элементы, отличающиеся друг от друга. В частности, один из рабочих элементов, размещенный поблизости от каналов для хладоносителя, может включать в свой состав мембрану на основе фтора, а другой из рабочих элементов, размещенный в отдалении от каналов для хладоносителя, может включать в свой состав мембрану на основе углеводорода. При такой конструкции мембраной на основе углеводорода, имеющей высокую термостойкость, снабжают рабочий элемент, размещенный в отдалении от каналов для хладоносителя, и, таким образом, обеспечивают возможность увеличения периода нормальной эксплуатации этого рабочего элемента.
В каждом разделителе, установленном между двумя соседними рабочими элементами, могут быть выполнены соединительное отверстие для подачи химически активных газов и соединительное отверстие для сброса химически активных газов, обеспечивающие подачу химически активных газов в каналы для химически активных газов и сброс химически активных газов из каналов для химически активных газов в каждом из единичных топливных элементов. Такая конструкция обеспечивает возможность улучшения стока образующейся воды и позволяет исключить необходимость использования уплотняющего устройства в случае установки отдельного внешнего коллектора.
Каждый разделитель, установленный между двумя соседними рабочими элементами, может быть выполнен в виде металлической пластины с выступами и впадинами для образования каналов для химически активных газов. При такой конструкции разделитель может быть выполнен из тонкой рифленой металлической пластины, что позволяет уменьшить толщину разделителя. Со стороны поверхности, обращенной к одному из двух соседних рабочих элементов, разделитель может иметь группу каналов для газообразного топлива, представляющих собой каналы для химически активных газов одного вида, а со стороны поверхности, обращенной к другому из двух соседних рабочих элементов, – группу каналов для газообразного окислителя, представляющих собой каналы для химически активных газов другого вида. При такой конструкции можно без труда уменьшить толщину конструкции с разделителем по сравнению с конструкцией, в которой группа каналов для газообразного топлива и группа каналов для газообразного окислителя предусмотрены для каждого из разделителей, и, следовательно, обеспечить миниатюризацию блока топливных элементов в целом.
Направление потока в группе каналов для газообразного топлива, представляющих собой каналы для химически активных газов одного вида, вдоль плоскости реакции единичного топливного элемента может быть противоположным направлению потока в группе каналов для газообразного окислителя, представляющих собой каналы для химически активных газов другого вида, вдоль плоскости реакции единичного топливного элемента. При такой конструкции вода, образующаяся в части каналов для газообразного окислителя со стороны выпускного отверстия, диффундирует обратно в каналы для газообразного топлива через мембрану из электролита, что обеспечивает возможность эффективного увлажнения газообразного топлива.
Группы каналов для газообразного топлива, выполненные во множестве единичных топливных элементов, могут быть соединены друг с другом последовательно, а каналы для газообразного окислителя, выполненные во множестве единичных топливных элементов, могут быть соединены друг с другом параллельно. При такой конструкции может быть достигнуто достаточно значительное снижение давления газообразного топлива, имеющего низкую вязкость, который протекает в каналах для газообразного топлива, что обеспечивает возможность эффективного стока воды, образующейся на аноде. Группа каналов для газообразного топлива может быть выполнена в форме прямых линий вдоль плоскости реакции единичного топливного элемента. Группа каналов для газообразного окислителя может быть также выполнена в форме прямых линий вдоль плоскости реакции единичного топливного элемента. Такая конструкция обеспечивает возможность упрощения конструкций каналов для газообразного топлива и каналов для газообразного окислителя.
В соответствии с настоящим изобретением предлагается батарея топливных элементов, включающая в свой состав множество секций из блоков топливных элементов, уложенных в штабель, у которой блок топливных элементов на твердом полимерном электролите включает в свой состав множество единичных топливных элементов, уложенных в штабель, причем каждый из множества единичных топливных элементов имеет рабочий элемент, образованный мембраной из твердого полимерного электролита, установленной между анодом и катодом, а также множество групп взаимно параллельных каналов для химически активных газов, сформированных в направлении укладки единичных топливных элементов, обеспечивающих возможность протекания газообразного топлива и/или газообразного окислителя в единичных топливных элементах в одном и том же направлении.
Такая конструкция обеспечивает возможность сохранения требуемой характеристики выработки электроэнергии для каждого единичного топливного элемента и, следовательно, возможность получения требуемой характеристики выработки электроэнергии от батареи топливных элементов в целом. В этой батарее топливных элементов по меньшей мере два единичных топливных элемента могут иметь различную конструкцию.
В соответствии с настоящим изобретением предлагается способ подачи химически активного газа в топливный элемент, используемый в блоке топливных элементов на твердом полимерном электролите. Блок топливных элементов содержит множество единичных топливных элементов, уложенных в штабель, причем каждый из множества единичных топливных элементов имеет рабочий элемент, образованный мембраной из твердого полимерного электролита, установленной между анодом и катодом, а также одну из множества групп взаимно параллельных каналов для химически активных газов, сформированных в направлении укладки единичных топливных элементов, обеспечивающих возможность протекания газообразного топлива и/или газообразного окислителя в единичных топливных элементах в одном и том же направлении. Указанный выше способ отличается тем, что обеспечивают параллельную подачу химически активного газа из соединительных отверстий для подачи химически активных газов в группы каналов для химически активных газов единичных топливных элементов и протекание этого химически активного газа в этих группах каналах для химически активных газов с целью использования для реакции, а также сброс отработавшего химически активного газа в соединительные отверстия для сброса химически активных газов.
В рассмотренном выше способе расход газа и/или скорость потока в одной группе каналов для химически активных газов, расположенных поблизости от двух групп каналов для хладоносителя, которые расположены по обе стороны от множества единичных топливных элементов в направлении укладки единичных топливных элементов, установленных между этими каналами для хладоносителя, может превышать расход газа и/или скорость потока в другой группе каналов для химически активных газов, расположенных в отдалении от каналов для хладоносителя. При такой конструкции даже в случае возникновения различия по температурным условиям между единичными топливными элементами обеспечивается возможность улучшения дренажной характеристики и уравнивания влажности в единичном топливном элементе, что в свою очередь гарантирует протекание требуемой электрохимической реакции в каждом единичном топливном элементе.
Указанные выше цели, особенности и преимущества настоящего изобретения становятся более очевидными из следующего ниже описания, сопровождаемого ссылками на прилагаемые чертежи, на которых предпочтительные варианты осуществления настоящего изобретения иллюстрируются примерами.
КРАТКОЕ ОПИСАНИЕ ЧЕРТЕЖЕЙ
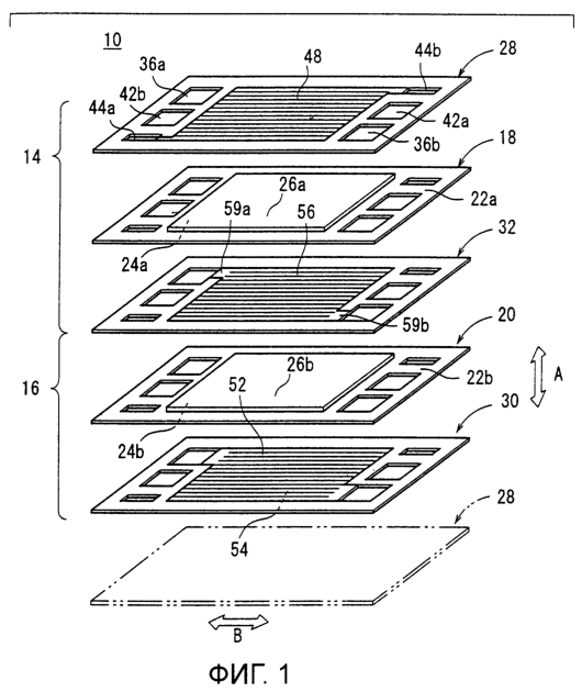
Фиг.1 – пространственное изображение основной части блока топливных элементов на твердом полимерном электролите, соответствующего первому примеру осуществления настоящего изобретения, в разобранном виде.
Фиг.2 – схематическое пространственное изображение батареи топливных элементов.
Фиг.3 – вид основной части блока топливных элементов в разрезе.
Фиг.4 – вид спереди первого разделителя в составе блока топливных элементов.
Фиг.5 – изображение потоков газообразного окислителя, газообразного топлива и хладоносителя.
Фиг.6 – вид каналов топливных элементов в разрезе, иллюстрирующий способ обеспечения различия площадей поперечного сечения между одной и другой группами каналов для газообразного окислителя.
Фиг.7 – вид каналов топливного элемента в разрезе, иллюстрирующий способ обеспечения различия площадей поперечного сечения между одной и другой группами каналов для газообразного окислителя за счет разной глубины этих каналов.
Фиг.8 – вид каналов топливного элемента в разрезе, иллюстрирующий способ обеспечения различия площадей поперечного сечения между одной и другой группами каналов для газообразного окислителя за счет разной ширины этих каналов.
Фиг.9 – вид каналов топливных элементов в разрезе, иллюстрирующий способ обеспечения различия площадей поперечного сечения между одной и другой группами каналов для газообразного окислителя за счет разного количества самих этих каналов.
Фиг.10 – пространственное изображение основной части блока топливных элементов на твердом полимерном электролите, соответствующего второму примеру осуществления настоящего изобретения, в разобранном виде.
Фиг.11 – пространственное изображение основной части блока топливных элементов на твердом полимерном электролите, соответствующего третьему примеру осуществления настоящего изобретения, в разобранном виде.
Фиг.12 – изображение потоков газообразного окислителя, газообразного топлива и хладоносителя в блоке топливных элементов, соответствующем третьему примеру осуществления.
Фиг.13 – пространственное изображение блока топливных элементов на твердом полимерном электролите, соответствующего четвертому примеру осуществления настоящего изобретения, в разобранном виде.
Фиг.14 – пространственное изображение блока топливных элементов на твердом полимерном электролите, соответствующего пятому примеру осуществления настоящего изобретения, в разобранном виде.
Фиг.15 – изображение потоков газообразного окислителя, газообразного топлива и хладоносителя в блоке топливных элементов, соответствующем пятому примеру осуществления.
ОПИСАНИЕ ПРЕДПОЧТИТЕЛЬНЫХ ПРИМЕРОВ ОСУЩЕСТВЛЕНИЯ ИЗОБРЕТЕНИЯ
На фиг.1 представлено пространственное изображение основной части блока топливных элементов на твердом полимерном электролите 10, соответствующего первому примеру осуществления настоящего изобретения, в разобранном виде, а на фиг.2 – схематическое пространственное изображение батареи топливных элементов 12, полученной в результате укладки множества секций из блоков топливных элементов 10 в штабель.
Как показано на фиг.1, блок топливных элементов 10 включает в свой состав первый единичный топливный элемент 14 и второй единичный топливный элемент 16, которые уложены в штабель. Первый единичный топливный элемент 14 имеет первый рабочий элемент 18, а второй единичный топливный элемент 16 – второй рабочий элемент 20.
Первый рабочий элемент 18 имеет катод 24а и анод 26а, между которыми размещена мембрана из твердого полимерного электролита 22а, а второй рабочий элемент 20 имеет катод 24b и анод 26b, между которыми размещена мембрана из твердого полимерного электролита 22b. Каждый из катодов 24а, 24b и анодов 26а, 26b получен в результате образования катализаторного электродного слоя из благородного металла на подложке, выполненной в основном из углерода, и последующего формирования пористого газодиффузионного слоя из пористой копировальной бумаги или т.п.
Как показано на фиг.1 и 3, первый разделитель 28 установлен со стороны анода 26а первого рабочего элемента 18, а второй разделитель 30 – со стороны катода 24b второго рабочего элемента 20. Между первым и вторым рабочего элементами 18 и 20 размещен промежуточный разделитель 32.
Как показано на фиг.1, на одном краевом участке в направлении длинной стороны первый и второй рабочие элементы 18, 20, первый и второй разделители 28, 30, а также промежуточный разделитель 32 имеют впускное отверстие для газообразного окислителя 36а, выпускное отверстие для газообразного топлива 42b и впускное отверстие для хладоносителя 44а. Впускное отверстие для газообразного окислителя 36а обеспечивает возможность прохождения газообразного окислителя (химически активного газа), например кислородсодержащего газа или воздуха. Выпускное отверстие для газообразного топлива 42b обеспечивает возможность прохождения газообразного топлива (химически активного газа), например водородсодержащего газа. Впускное отверстие для хладоносителя 44а обеспечивает возможность прохождения хладоносителя. Впускные отверстия для газообразного окислителя 36а (выпускные отверстия для газообразного топлива 42b и впускные отверстия для хладоносителя 44а), выполненные в компонентах топливных элементов 18, 20, 28, 30 и 32, соединены друг с другом в направлении укладки (показанном стрелкой А) первого и второго единичных топливных элементов 14, 16.
На другом краевом участке в направлении длинной стороны первый и второй рабочий элемент 18, 20, первый и второй разделители 28, 30, а также промежуточный разделитель 32 имеют выпускное отверстие для хладоносителя 44b, впускное отверстие для газообразного топлива 42а и выпускное отверстие для газообразного окислителя 36b. Выпускные отверстия для хладоносителя 44b (впускные отверстия для газообразного топлива 42а и выпускные отверстия для газообразного окислителя 36b), выполненные в блоках топливных элементов 18, 20, 28, 30 и 32, соединены друг с другом в направлении А.
Первый разделитель 28 выполнен в виде металлического листа. Участок этого металлического листа, обращенный к плоскости реакции (плоскости, генерирующей электроэнергию) первого рабочего элемента 18, сформирован с выступами и впадинами, например в виде рифленой поверхности, для образования каналов. В частности, как показано на фиг.3 и 4, первый разделитель 28 имеет со стороны поверхности, обращенной к аноду 26а первого рабочего элемента 18, множество каналов для газообразного топлива (каналов для химически активного газа) 46. Каналы для газообразного топлива 46 выполнены в форме прямых линий в направлении длинной стороны (показанном стрелкой В). Одни концы каналов для газообразного топлива 46 соединены с впускным отверстием для газообразного топлива 42а, а другие концы – с выпускным отверстием для газообразного топлива 42b.
Как показано на фиг.1 и 3, первый разделитель 28 также имеет со стороны поверхности, противоположной поверхности, на которой выполнены каналы для газообразного топлива 46, множество каналов для хладоносителя 48. Каналы для хладоносителя 48 выполнены в форме прямых линий в направлении длинной стороны (показанной стрелкой В). Одни концы каналов для хладоносителя 48 соединены с впускным отверстием для хладоносителя 44а, а другие концы соединены с выпускным отверстием для хладоносителя 44b.
Второй разделитель 30 выполнен по существу подобным первому разделителю 28. Второй разделитель 30 имеет со стороны поверхности, обращенной к катоду 24b второго рабочего элемента 20, множество каналов для газообразного окислителя (каналов для химически активного газа) 52. Каналы для газообразного окислителя 52 выполнены в форме прямых линий в направлении длинной стороны (показанном стрелкой В). Одни концы каналов для газообразного окислителя 52 соединены с впускным отверстием для газообразного окислителя 36а, а другие концы соединены с выпускным отверстием для газообразного окислителя 36b. Второй разделитель 30 также имеет со стороны поверхности, противоположной поверхности, на которой выполнены каналы для газообразного окислителя 52, множество каналов для хладоносителя 54. Каналы для хладоносителя 54 выполнены в форме прямых линий в направлении длинной стороны (показанном стрелкой В). Одни концы каналов для хладоносителя 54 соединены с впускным отверстием для хладоносителя 44а, а другие концы соединены с выпускным отверстием для хладоносителя 44b.
Промежуточный разделитель 32 выполнен по существу подобным первому и второму разделителям 28, 30. Промежуточный разделитель 32 имеет со стороны поверхности, обращенной к катоду 24а первого рабочего элемента 18, множество каналов для газообразного окислителя (каналов для химически активного газа) 56.
Каналы для газообразного окислителя 56 выполнены в форме прямых линий в направлении длинной стороны (показанном стрелкой В). Одни концы каналов для газообразного окислителя 56 соединены с впускным отверстием для газообразного окислителя 36а, а другие концы – с выпускным отверстием для газообразного окислителя 36b.
Со стороны поверхности, обращенной к аноду 26b второго рабочего элемента 20, промежуточный разделитель 32 также имеет множество каналов для газообразного топлива (каналов для химически активного газа) 58. Каналы для газообразного топлива 58 выполнены в форме прямых линий в направлении длинной стороны (показанном стрелкой В). Одни концы каналов для газообразного топлива 58 соединены с впускным отверстием для газообразного топлива 42а, а другие концы – с выпускным отверстием для газообразного топлива 42b. В дополнение к этому, участок соединения одних концов каналов для газообразного окислителя 56 с впускным отверстием для газообразного окислителя 36а подвергнут сужению с целью образования дросселя 59а. Участок соединения других концов каналов для газообразного окислителя 56 с выпускным отверстием для газообразного окислителя 36b также подвергнут сужению и образует дроссель 59b (см. фиг.1).
Определенное количество секций из блоков топливных элементов 10, выполненных подобным образом, как показано на фиг.2, уложено в направлении А в штабель, скрепленный с помощью специального средства (не показанного). На обоих краях секций из блоков топливных элементов 10 в направлении А через собирающие электроды 60а и 60b установлены разнесенные концевые пластины 62а и 62b, стянутые с помощью анкерных болтов (не показанных) или аналогичных устройств. Таким образом получают батарею топливных элементов 12.
Концевая пластина 62а имеет на одном краевом участке в направлении длинной стороны отверстие для подачи газообразного окислителя 64а, соединяющееся с впускными отверстиями для газообразного окислителя 36а, отверстие для сброса газообразного топлива 66b, соединяющееся с выпускными отверстиями для газообразного топлива 42b, и отверстие для подачи в хладоноситель 68а, соединяющееся с впускным отверстием для хладоносителя 44а. На другом краевом участке концевой пластины 62а в направлении длинной стороны выполнены отверстие для сброса хладоносителя 68b, соединяющееся с выпускными отверстиями для хладоносителя 44b, отверстие для подачи газообразного топлива 66а, соединяющееся с впускными отверстиями для газообразного топлива 42а, и отверстие для сброса газообразного окислителя 64b, соединяющееся с выпускными отверстиями для газообразного окислителя 36b.
Описание работы батареи топливных элементов 12 и блока топливных элементов 10, имеющих описанную выше конструкцию, а также способа подачи химически активного газа, являющегося предметом настоящего изобретения, приводится ниже.
В батарею топливных элементов 12 газообразное топливо типа водородсодержащего газа подается из отверстия для подачи газообразного топлива 66а, газообразный окислитель типа воздуха или кислородсодержащего газа подается из отверстия для подачи газообразного окислителя 64а, а хладоноситель типа чистой воды, этиленгликоля или масла подается из отверстия для подачи хладоносителя 68а. В результате, газообразное топливо, газообразный окислитель и хладоноситель подаются во множество секций блоков топливных элементов 10, уложенных в направлении А в штабель.
Как показано на фиг.5, часть газообразного окислителя, подаваемого во впускные отверстия для газообразного окислителя 36а, соединенные друг с другом в направлении А, вводится во множество каналов для газообразного окислителя 56, выполненных в промежуточном разделителе 32, и перемещается вдоль катода 24а первого рабочего элемента 18. В то же время часть газообразного топлива, подаваемого во впускные отверстия для газообразного топлива 42а, соединенные друг с другом в направлении А, вводится во множество каналов для газообразного топлива 46, выполненных в первом разделителе 28, и перемещается вдоль анода 26а первого рабочего элемента 18 в направлении, противоположном направлению потока газообразного окислителя. Следовательно, в первом рабочем элементе 18 газообразный окислитель, подаваемый к катоду 24а, и газообразное топливо, подаваемое к аноду 26а, расходуются вследствие электрохимической реакции в катализаторных слоях электродов, в результате которой вырабатывается электроэнергия.
Другая часть газообразного окислителя, подаваемого во впускные отверстия для газообразного окислителя 36а, вводится во множество каналов для газообразного окислителя 52, сформированных во втором разделителе 30, и перемещается вдоль катода 24b второго рабочего элемента 20, а другая часть газообразного топлива, подаваемого во впускные отверстия для газообразного топлива 42а, вводится во множество каналов для газообразного топлива 58, выполненных в промежуточном разделителе 32, и перемещается вдоль анода 26b второго рабочего элемента 20. В результате во втором рабочем элементе 20 также вырабатывается электроэнергия.
С другой стороны, часть хладоносителя, подаваемого во впускные отверстия для хладоносителя 44а, соединенные друг с другом в направлении А, протекает вдоль каналов для хладоносителя 48, сформированных в первом разделителе 28, и сбрасывается из выпускного отверстия для хладоносителя 44b первого разделителя 28. Другая же часть хладоносителя, подаваемого во впускные отверстия для хладоносителя 44а, протекает вдоль каналов для хладоносителя 54, сформированных во втором разделителе 30, и сбрасывается из выпускного отверстия для хладоносителя 44b второго разделителя 30.
В соответствии с первым примером осуществления, как описано выше, блок топливных элементов 10 составлен из множества (например, двух) единичных топливных элементов 14 и 16, объединенных в штабель, поэтому батарея топливных элементов 12 может быть собрана в результате использования каждого блока топливных элементов 10 в качестве сборочной единицы. Следовательно, при сборке батареи топливных элементов 12 обеспечивается возможность повышения эффективности работ с компонентами батареи топливных элементов 12 по сравнению с работами с компонентами традиционной батареи топливных элементов, в процессе сборки которой в качестве сборочной единицы используются единичные топливные элементы 14 и 16.
В соответствии с первым примером осуществления блок топливных элементов 10 имеет так называемую “прореженную” систему охлаждения, в которой каналы для хладоносителя 48 и 54 выполнены по обе стороны от первого и второго единичных топливных элементов 14, 16, то есть никаких каналов для хладоносителя между первым и вторым рабочего элементами 18 и 20 нет. Следовательно, по сравнению с системой охлаждения, в которой каналы для хладоносителя предусмотрены для каждого из единичных топливных элементов 14 и 16, в этом примере осуществления может быть достигнуто эффективное упрощение системы охлаждения конструкции и, таким образом, без труда может быть получен эффект уменьшения размеров и снижения веса блока топливных элементов 10 в целом.
Более полное описание рассмотренной выше системы охлаждения блока топливных элементов 10 приводится ниже. Каналы для хладоносителя 54 расположены поблизости от каналов для газообразного окислителя 52 второго разделителя 30, а каналы для хладоносителя 48 расположены в отдалении от каналов для газообразного окислителя 56 промежуточного разделителя 32. Следовательно, каналы для газообразного окислителя 52 второго разделителя 30 в результате охлаждения хладоносителем становятся низкотемпературной стороной, а каналы для газообразного окислителя 56 промежуточного разделителя 32 охлаждаются в меньшей степени и становятся высокотемпературной стороной. В результате возникает различие по температурным условиям между первым и вторым единичными топливными элементами 14, 16. В этом случае может наблюдаться образование воды в каналах для газообразного окислителя 52 во втором разделителе 30 с низкотемпературной стороны, а также накапливание воды в каналах, газодиффузионных слоях или катализаторных слоях, и появляется вероятность закупорки каналов для газообразного окислителя 52.
В соответствии с этим примером осуществления для преодоления этих возможных отрицательных эффектов предлагается конструкция, обеспечивающая уравнивание влажности во втором единичном топливном элементе 16 с влажностью в первом единичном топливном элементе 14 в результате увеличения расхода газообразного окислителя, протекающего в каналах для газообразного окислителя 52 второго разделителя 30, и улучшение стока воды, образующейся в каналах для газообразного окислителя 52, в результате увеличения скорости потока газообразного окислителя, протекающего в каналах для газообразного окислителя 52. В частности, на участках соединения каналов для газообразного окислителя 56, сформированных в промежуточном разделителе 32 с высокотемпературной стороны, с впускным отверстием для газообразного окислителя 36а и выпускным отверстием для газообразного окислителя 36b выполнены соответственно дроссели 59а и 59b, поэтому расход газообразного окислителя в каналах для газообразного окислителя 52 второго разделителя 30 увеличивается по сравнению с расходом газообразного окислителя в каналах для газообразного окислителя 56 промежуточного разделителя 32.
В результате в соответствии с первым примером осуществления обеспечивается возможность гарантированного стока воды, образующейся в каналах для газообразного окислителя 52 второго разделителя 30 с низкотемпературной стороны, и, следовательно, уравнивания влажности во втором единичном топливном элементе 16 с влажностью в первом единичном топливном элементе 14. Это позволяет достичь уравнивания распределения плотности тока во втором единичном топливном элементе 16 с распределением плотности тока в первом единичном топливном элементе 14 и, следовательно, снижения концентрационного перенапряжения. Кроме того, уменьшение расхода и снижение скорости потока газообразного окислителя, протекающего в промежуточном разделителе 32 с высокотемпературной стороны, позволяет предотвратить высыхание первого рабочего элемента 18.
В соответствии с первым примером осуществления площади поперечного сечения каналов для газообразного окислителя 52 могут быть заданы отличными от площадей поперечного сечения каналов для газообразного окислителя 56. Например, площади поперечного сечения каналов могут быть изменены за счет изменения глубины или ширины или количества самих каналов. При такой конструкции скорость потока газообразного окислителя в каналах для газообразного окислителя 52 может быть сделана более высокой, чем скорость потока газообразного окислителя в каналах для газообразного окислителя 56.
В частности, скорость потока газообразного окислителя в каналах для газообразного окислителя 52 сделана более высокой, чем скорость потока газообразного окислителя в каналах для газообразного окислителя 52 в результате задания меньшей площади поперечного сечения каналов для газообразного окислителя 52 по сравнению с площадью поперечного сечения каналов для газообразного окислителя 56, как показано на фиг.6. Такая конструкция обеспечивает возможность эффективного улучшения стока воды, образующейся в больших количествах в каналах для газообразного окислителя 52 с низкотемпературной стороны.
Как показано на фиг.7, глубина каждого канала для газообразного окислителя 52а, выполненного во втором пластинчатом разделителе 30а, может задана меньшей, чем глубина каждого канала для газообразного окислителя 56а, выполненного в промежуточном пластинчатом разделителе 32а. Такая конструкция обеспечивает возможность уменьшения толщины каждого из единичных топливных элементов 14 и 16 и, таким образом, позволяет без труда осуществить миниатюризацию блока топливных элементов 10 в целом.
Как показано на фиг.8, ширина каждого канала для газообразного топлива 52b, выполненного во втором пластинчатом разделителе 30b, может быть задана меньшей, чем ширина каждого канала для газообразного окислителя 56b, выполненного в промежуточном пластинчатом разделителе 32b. Такая конструкция обеспечивает возможность увеличения площади контактной области между первым и вторым единичными топливными элементами 14, 16 и, таким образом, позволяет снизить контактное сопротивление.
Как показано на фиг.9, количество каналов для газообразного окислителя 52с, выполненных во втором пластинчатом разделителе 30с, может быть задано меньшим, чем количество каналов для газообразного окислителя 56с, выполненных в промежуточном пластинчатом разделителе 32с. Кроме того, как и в примере, показанном на фиг.8, возможно эффективное увеличение площади контактной области между первым и вторым единичными топливными элементами 14, 16.
В соответствии с первым примером осуществления миниатюризация каждого блока топливных элементов 10 позволяет без труда осуществить уменьшение размеров батареи топливных элементов 12 в целом. Миниатюризация блока топливных элементов 10 достигается следующим образом. Во-первых, каждый из разделителей 28, 30 (первый и второй), а также промежуточный разделитель 32 выполнены в виде металлического листа с рифленой поверхностью (имеющего выступы и впадины), что позволяет уменьшить толщину разделителей и в результате уменьшить толщину блока топливных элементов 10 в целом.
Во-вторых, промежуточный разделитель 32 имеет со стороны поверхности, обращенной к первому рабочему элементу 18, каналы для газообразного окислителя 56, а со стороны поверхности, обращенной ко второму рабочему элементу 20, – каналы для газообразного топлива 58 (см. фиг.3), поэтому толщина конструкции с промежуточным разделителем 32 может быть без труда уменьшена по сравнению со конструкцией, в которой каналы для газообразного окислителя 56 и каналы для газообразного топлива 58 выполнены по отдельности в двух разделителях. В результате возможно осуществление миниатюризации блока топливных элементов 10 в целом.
В-третьих, каждый из разделителей 28, 30 (первый и второй), а также промежуточный разделитель 32 имеют впускное отверстие для газообразного окислителя 36а, выпускное отверстие для газообразного окислителя 36b, впускное отверстие для газообразного топлива 42а и выпускное отверстие для газообразного топлива 42b, причем впускные отверстия для газообразного окислителя 36а (выпускные отверстия для газообразного окислителя 36b, впускные отверстия для газообразного топлива 42а и выпускные отверстия для газообразного топлива 42b), выполненные в разделителях 28, 30 и 32, соединены друг с другом в направлении укладки первого и второго единичных топливных элементов 14, 16, что позволяет исключить необходимость установки отдельного коллектора (внешнего коллектора) вне блока топливных элементов 10 и необходимость использования уплотняющего устройства для этого внешнего коллектора, а следовательно, обеспечивает возможность миниатюризации блока топливных элементов 10 и упрощение конструкции блока топливных элементов 10.
На фиг.10 представлено пространственное изображение основной части блока топливных элементов на твердом полимерном электролите 80, соответствующего второму примеру осуществления настоящего изобретения, в разобранном виде. В блоке топливных элементов 80 этого примера осуществления компоненты, совпадающие с компонентами в блоке топливных элементов 10, соответствующем первому примеру осуществления, обозначены теми же самыми позициями, и подробное описание этих компонентов опущено. То же самое относится и к следующим третьему и последующим примерам осуществления.
Блок топливных элементов 80 включает в свой состав первый рабочий элемент 82 и второй рабочий элемент 84. Первый рабочий элемент 82 имеет мембрану из электролита на основе углеводорода 86, а второй рабочий элемент 84 – мембрану из электролита на основе фтора 88.
В соответствии со вторым примером осуществления, как описано выше, из-за использования “разреженной” системы охлаждения конструкции температура первого рабочего элемента 82 становится выше, чем температура второго рабочего элемента 84, поэтому первый рабочий элемент 82 снабжают мембраной из электролита на основе углеводорода 86, имеющей высокую термостойкость, и таким образом увеличивают период нормальной эксплуатации первого рабочего элемента 82. Возможность использования первого рабочего элемента 82 в течение длительного периода времени позволяет улучшить экономические характеристики блока топливных элементов 80.
На фиг.11 представлено пространственное изображение основной части блока топливных элементов на твердом полимерном электролите 100, соответствующего третьему примеру осуществления настоящего изобретения, в разобранном виде.
Блок топливных элементов 100 сформирован в результате укладки первого единичного топливного элемента 102 и второго единичного топливного элемент 104 в направлении А в штабель. Первый единичный топливный элемент 102 включает в свой состав первый рабочий элемент 106, а второй единичный топливный элемент 104 включает в свой состав второй рабочий элемент 108. Первый рабочий элемент 106 установлен между первым разделителем 110 и промежуточным разделителем 114, а второй рабочий элемент 108 установлен между промежуточным разделителем 114 и вторым разделителем 112.
Каждый из единичных топливных элементов 102 и 104 (первый и второй) имеет на одном краевом участке в направлении длинной стороны впускные отверстия для газообразного окислителя 36а, впускные отверстия для газообразного топлива 42а и впускные отверстия для хладоносителя 44а, причем впускные отверстия для газообразного окислителя 36а (впускные отверстия для газообразного топлива 42а и впускные отверстия для хладоносителя 44а) соединены друг с другом в направлении А. На другом краевом участке в направлении длинной стороны каждый из единичных топливных элементов 102 и 104 (первый и второй) имеет также выпускные отверстия для газообразного окислителя 36b, выпускные отверстия для газообразного топлива 42b и выпускные отверстия для хладоносителя 44b, причем выпускные отверстия для газообразного окислителя 36b (выпускные отверстия для газообразного топлива 42b и выпускные отверстия для хладоносителя 44b) соединены друг с другом в направлении А.
В блоке топливных элементов 100 описанной выше конструкции, как показано на фиг.12, газообразный окислитель, газообразное топливо и хладоноситель протекают со стороны одного краевого участка в направлении с длинной стороны блока топливных элементов 100 в направлении А. Подача газообразного окислителя и газообразного топлива осуществляется в одном и том же направлении вдоль обеих поверхностей каждого из рабочих элементов 106, 108 (первого и второго), а после использования в реакции газообразный окислитель и газообразное топливо сбрасываются со стороны другого краевого участка в направлении с длинной стороны блока топливных элементов 100 и далее протекают в направлении А. Поскольку газообразный окислитель и газообразное топливо протекают в одном и том же направлении, то это обеспечивает возможность эффективного улучшения стока образующейся воды.
На фиг.13 представлено пространственное изображение основной части блока топливных элементов на твердом полимерном электролите 120, соответствующего четвертому примеру осуществления настоящего изобретения, в разобранном виде.
Блок топливных элементов 120 сформирован в результате укладки первого единичного топливного элемента 122, второго единичного топливного элемента 124 и третьего единичного топливного элемента 126 в направлении А в штабель. Первый единичный топливный элемент 122 имеет первый рабочий элемент 106, второй единичный топливный элемент 124 имеет второй рабочий элемент 108, а третий единичный топливный элемент 126 имеет третий рабочий элемент 128. Первый рабочий элемент 106 удерживается между первым разделителем 110 и первым промежуточным разделителем 114а, второй рабочий элемент 108 удерживается между первым промежуточным разделителем 114а и вторым промежуточным разделителем 114b, a третий рабочий элемент 128 удерживается между вторым промежуточным разделителем 114b и вторым разделителем 112.
В блоке топливных элементов 120 наблюдается возникновение различия по температурным условиям между первым, вторым и третьим единичными топливными элементами 122, 124 и 126. В частности, температура второго рабочего элемента 108 становится выше, чем температура каждого из рабочих элементов 106 и 128 (первого и третьего).
Для преодоления этих возможных отрицательных эффектов в соответствии с третьим примером осуществления каждый из рабочих элементов 106 и 128 (первый и третий), у которых поддерживается относительно низкая температура, включает в свой состав мембрану из электролита на основе фтора 88, характеризующуюся стабильностью в диапазоне низких температур, а второй рабочий элемент 108, у которого поддерживается относительно высокая температура, включает в свой состав мембрану из электролита на основе углеводорода 86, способную выдерживать высокую температуру. Кроме того, так как в процессе эксплуатации влажность каждого из рабочих элементов 106 и 128 (первого и третьего) становится высокой, то в состав этих рабочих элементов включены катализаторный слой и газодиффузионный слой, каждый из которых отличается превосходной дренажной характеристикой. Второй же рабочий элемент 108 приобретает низкую влажность, и поэтому в его состав включены самоувлажняющаяся мембрана и газодиффузионный слой с высоким влагопоглощением.
В блоке топливных элементов 120 описанной выше конструкции в результате использования различных видов рабочих элементов 106, 108 и 128 (первого, второго и третьего) обеспечивается возможность улучшения характеристик в различных температурных условиях.
На фиг.14 представлено пространственное изображение основной части блока топливных элементов на твердом полимерном электролите 140, соответствующего пятому примеру осуществления настоящего изобретения, в разобранном виде.
Блок топливных элементов 140 получен в результате укладки первого единичного топливного элемента 142 и второго единичного топливного элемента 144 в штабель. Первый единичный топливный элемент 142 имеет первый рабочий элемент 146, а второй единичный топливный элемент 144 имеет второй рабочий элемент 148. Первый рабочий элемент 146 установлен между первым разделителем 150 и первым промежуточным разделителем 154, а второй рабочий элемент 148 установлен между вторым промежуточным разделителем 156 и вторым разделителем 152. Между первым и вторым промежуточными разделителями 154 и 156 установлена направляющая перегородка 158.
Блок топливных элементов 140 имеет со стороны одного края в направлении с длинной стороны впускные отверстия для газообразного топлива 42а, выпускные отверстия для газообразного окислителя 36b и выпускные отверстия для газообразного топлива 42b, причем впускные отверстия для газообразного топлива 42а (выпускные отверстия для газообразного окислителя 36b и выпускные отверстия для газообразного топлива 42b) соединены друг с другом в направлении А. Со стороны другого края в направлении длинной стороны блок топливных элементов 140 также имеет впускные отверстия для газообразного окислителя 36а, впускные отверстия для хладоносителя 44а, промежуточные соединительные отверстия для газообразного топлива 38 и выпускные отверстия для хладоносителя 44b, причем впускные отверстия для газообразного окислителя 36а (впускные отверстия для хладоносителя 44а, промежуточные соединительные отверстия для газообразного топлива 38 и выпускные отверстия для хладоносителя 44b) соединены друг с другом в направлении А.
Каждый из промежуточных разделителей 154 и 156 (первый и второй) имеют со стороны поверхности, обращенной к направляющей перегородке 158, каналы для хладоносителя 54, выполненные в форме прямых линий. Одни концы каналов для хладоносителя 54, сформированных в первом промежуточном разделителе 154, соединены с впускным отверстием для хладоносителя 44а в первом промежуточном разделителе 154, а другие концы загнуты за направляющую перегородку 158 и соединены с каналами для хладоносителя 54, сформированными во втором промежуточном разделителе 156. Каналы для хладоносителя 54, сформированные во втором промежуточном разделителе 156, соединены с выпускным отверстием для хладоносителя 44b во втором промежуточном разделителе 156.
В блоке топливных элементов описанной выше конструкции хладоноситель подается последовательно в первый и второй единичные топливные элементы 142, 144 по направлению потока, показанному на фиг.15; газообразное топливо перетекает последовательно из каналов для газообразного топлива 46, сформированных в первом единичном топливном элементе 142, в каналы для газообразного топлива 58, сформированные во втором единичном топливном элементе 144; протекание же газообразного окислителя осуществляется через каналы для газообразного окислителя 56 и 52 в первый и второй единичные топливные элементы 142 и 144 по отдельности, то есть параллельно.
В соответствии с этим примером осуществления газообразное топливо, имеющее низкую вязкость, протекает в каналах для газообразного топлива 46 и 58, соединенных последовательно друг с другом, что в результате увеличения общей длины каналов для газообразного топлива приводит к достаточно сильному снижению давления и появлению возможности эффективного стока воды, образующейся на анодах 26а и 26b.
Выше были рассмотрены предпочтительные примеры осуществления настоящего изобретения. Однако понятно, что в приведенное выше подробное описание могут быть внесены различные изменения и дополнения, не выходящие за пределы объема изобретения, определенного прилагаемой формулой.
Формула изобретения
1. Блок топливных элементов на твердом полимерном электролите (10), содержащий множество единичных топливных элементов (14, 16), уложенных в штабель, каждый из которых (14, 16) имеет рабочий элемент (18, 20), включающий в свой состав анод (26а, 26b), катод (24а, 24b) и мембрану из твердого полимерного электролита (22а, 22b), размещенную между указанным анодом (26а, 26b) и указанным катодом (24а, 24b), отличающийся тем, что в указанном блоке топливных элементов (10) в направлении укладки указанных единичных топливных элементов (14, 16) сформировано множество взаимно параллельных каналов для химически активных газов (46, 58, 52, 56), обеспечивающих возможность протекания газообразного топлива и/или газообразного окислителя через указанные единичные топливные элементы (14, 16) в одном и том же направлении, при этом по обе стороны от указанного множества единичных топливных элементов (14, 16) в направлении укладки указанных единичных топливных элементов (14, 16) сформированы каналы для хладоносителя (48, 54), предназначенные для охлаждения указанного блока топливных элементов (10).
2. Блок топливных элементов на твердом полимерном электролите (10) по п.1, отличающийся тем, что каждый из указанных каналов для хладоносителя (48, 54) выполнен в форме прямой линии, проходящей вдоль плоскости указанных единичных топливных элементов (14, 16).
3. Блок топливных элементов на твердом полимерном электролите (10) по п.1, отличающийся тем, что по меньшей мере два из указанных единичных топливных элементов (14, 16) имеют конструктивные отличия друг от друга.
4. Блок топливных элементов на твердом полимерном электролите (10) по п.3, отличающийся тем, что указанные каналы для химически активных газов (52, 56), выполненные в указанных по меньшей мере двух единичных топливных элементах (14, 16), имеют отличающиеся друг от друга площади поперечного сечения.
5. Блок топливных элементов на твердом полимерном электролите (10) по п.4, отличающийся тем, что площади поперечного сечения указанных каналов для химически активных газов (52, 56), выполненных в указанных по меньшей мере двух единичных топливных элементах (14, 16), отличаются друг от друга за счет различия глубины, ширины или количества самих каналов для химически активных газов, выполненных в одном из указанных по меньшей мере двух единичных топливных элементов (14, 16), и глубины, ширины или количества самих каналов для химически активных газов, выполненных в другом из указанных по меньшей мере двух единичных топливных элементов (14, 16).
6. Блок топливных элементов на твердом полимерном электролите (10) по п.4, отличающийся тем, что площадь поперечного сечения одного (52) из указанных каналов для химически активных газов, расположенного поблизости от указанных каналов для хладоносителя (48), меньше, чем площадь поперечного сечения другого (56) из указанных каналов для химически активных газов, расположенного в отдалении от указанных каналов для хладоносителя (48).
7. Блок топливных элементов на твердом полимерном электролите (10) по п.3, отличающийся тем, что в одном (56) из указанных каналов для химически активных газов, расположенном в отдалении от указанных каналов для хладоносителя (48), выполнен дроссель (59а, 59b), обеспечивающий уменьшение расхода газа в одном (56) из указанных по меньшей мере двух каналов для химически активных газов по сравнению с расходом газа в другом (52) из указанных каналов для химически активных газов, расположенном поблизости от указанных каналов для хладоносителя (48).
8. Блок топливных элементов на твердом полимерном электролите (10) по п.3, отличающийся тем, что по меньшей мере два из указанных единичных топливных элементов (14, 16) имеют рабочие элементы (82, 84), отличные друг от друга.
9. Блок топливных элементов на твердом полимерном электролите (10) по п.8, отличающийся тем, что один (82) из указанных рабочих элементов, размещенный поблизости от указанных каналов для хладоносителя (48), включает в свой состав мембрану на основе фтора, а другой (84) из указанных рабочих элементов, размещенный в отдалении от указанных каналов для хладоносителя (48), включает в свой состав мембрану на основе углеводорода.
10. Блок топливных элементов на твердом полимерном электролите (10) по п.1, отличающийся тем, что между двумя соседними из указанных рабочих элементов (18, 20) установлен разделитель (32), причем в указанном разделителе (32) выполнены соединительное отверстие для подачи химически активных газов (42а, 36а) и соединительное отверстие для сброса химически активных газов (42b, 36b), обеспечивающие подачу указанных химически активных газов в указанные каналы для химически активных газов (46, 58, 52, 56) и сброс указанных химически активных газов из указанных каналов для химически активных газов (46, 58, 52, 56) в каждом из указанных единичных топливных элементов (14, 16).
11. Блок топливных элементов на твердом полимерном электролите (10) по п.1, отличающийся тем, что между двумя соседними из указанных рабочих элементов (18, 20) установлен разделитель (28, 30), причем указанный разделитель (28, 30) выполнен в форме металлической пластины с выступами и впадинами для образования указанных каналов для химически активных газов (46, 52).
12. Блок топливных элементов на твердом полимерном электролите (10) по п.11, отличающийся тем, что указанный разделитель (28, 30) имеет со стороны поверхности, обращенной к одному (18) из двух соседних из указанных рабочих элементов, каналы для газообразного топлива (46), представляющие собой указанные каналы для химически активных газов, а со стороны поверхности, обращенной к другому (20) из двух соседних из указанных рабочих элементов, – каналы для газообразного окислителя (52), представляющие собой указанные каналы для химически активных газов.
13. Блок топливных элементов на твердом полимерном электролите (10) по п.1, отличающийся тем, что направление потока в каналах для газообразного топлива (46), представляющих собой указанные каналы для химически активных газов, вдоль плоскости реакции указанного единичного топливного элемента (14, 16) является противоположным направлению потока в каналах для газообразного окислителя (52), представляющих собой указанные каналы для химически активных газов, вдоль плоскости реакции указанного единичного топливного элемента (14, 16).
14. Блок топливных элементов на твердом полимерном электролите (10) по п.1, отличающийся тем, что каналы для газообразного топлива (46), представляющие собой указанные каналы для химически активных газов, выполненные в указанном множестве единичных топливных элементов (14, 16), соединены друг с другом последовательно, а каналы для газообразного окислителя (52), представляющие собой указанные каналы для химически активных газов, выполненные в указанном множестве единичных топливных элементов (14, 16), соединены друг с другом параллельно.
15. Блок топливных элементов на твердом полимерном электролите (10) по п.1, отличающийся тем, что каналы для газообразного топлива (46), представляющие собой указанные каналы для химически активных газов, выполнены в каждом из указанных единичных топливных элементов (14, 16) в форме прямых линий вдоль плоскости реакции указанного единичного топливного элемента (14, 16), а каналы для газообразного окислителя (52), представляющие собой указанные каналы для химически активных газов, выполнены в каждом из указанных единичных топливных элементов (14, 16) в форме прямых линий вдоль плоскости реакции указанного единичного топливного элемента (14, 16).
16. Батарея топливных элементов, включающая в свой состав множество блоков топливных элементов (10), уложенных в штабель, отличающаяся тем, что каждый из указанных блоков топливных элементов (10) содержит множество единичных топливных элементов (14, 16), уложенных в штабель, а каждый из указанных единичных топливных элементов (14, 16) имеет рабочий элемент (18, 20), включающий в свой состав анод (26а, 26b), катод (24а, 24b) и мембрану из твердого полимерного электролита (22а, 22b), размещенную между указанным анодом (26а, 26b) и указанным катодом (24а, 24b), причем в указанном блоке топливных элементов (10) в направлении укладки указанных единичных топливных элементов (14, 16) сформировано множество взаимно параллельных каналов для химически активных газов (46, 58, 52, 56), обеспечивающих возможность протекания газообразного топлива и/или газообразного окислителя через указанные единичные топливные элементы (14, 16) в одном и том же направлении, при этом по обе стороны от указанного множества единичных топливных элементов (14, 16) в направлении укладки указанных единичных топливных элементов (14, 16) сформированы каналы для хладоносителя (48, 54), предназначенные для охлаждения указанного блока топливных элементов (10).
17. Батарея топливных элементов по п.16, отличающаяся тем, что по меньшей мере два из указанных единичных топливных элементов (14, 16) имеют конструктивные отличия друг от друга.
18. Способ подачи химически активного газа в топливный элемент для использования в блоке топливных элементов на твердом полимерном электролите (10), который содержит множество единичных топливных элементов (14, 16), уложенных в штабель, причем каждый из указанных единичных топливных элементов (14, 16) имеет рабочий элемент (18, 20), включающий в свой состав анод (26а, 26b), катод (24а, 24b) и мембрану из твердого полимерного электролита (22а, 22b), размещенную между указанным анодом (26а, 26b) и указанным катодом (24а, 24b), отличающийся тем, что в направлении укладки указанных единичных топливных элементов (14, 16) сформировано множество взаимно параллельных каналов для химически активных газов (46, 58, 52, 56), обеспечивающих возможность протекания газообразного топлива и/или газообразного окислителя через указанные единичные топливные элементы (14, 16) в одном и том же направлении, причем по обе стороны от указанного множества единичных топливных элементов (14, 16) в направлении укладки указанных единичных топливных элементов (14, 16) сформированы каналы для хладоносителя (48, 54), предназначенные для охлаждения указанного блока топливных элементов (10), при этом указанный способ содержит операции: параллельной подачи химически активного газа из соединительных отверстий для подачи химически активных газов (42а, 36а) в каналы для химически активных газов (46, 58, 52, 56) единичных топливных элементов (14, 16), обеспечивающей протекание указанного химически активного газа в указанных каналах для химически активных газов (46, 58, 52, 56); и следующего за использованием указанного химически активного газа для реакции в указанных каналах для химически активных газов (46, 58, 52, 56) сброса указанного отработавшего химически активного газа из указанных каналов для химически активных газов (46, 58, 52, 56) в соединительные отверстия для сброса химически активных газов (42b, 36b).
19. Способ по п.18, отличающийся тем, что расход газа и/или скорость потока в каналах для химически активных газов (52), расположенных поблизости от каналов для хладоносителя (48), превышает расход газа и/или скорость потока в каналах для химически активных газов (56), расположенных в отдалении от указанных каналов для хладоносителя (48).
РИСУНКИ
MM4A – Досрочное прекращение действия патента СССР или патента Российской Федерации на изобретение из-за неуплаты в установленный срок пошлины за поддержание патента в силе
Дата прекращения действия патента: 07.03.2009
Извещение опубликовано: 27.12.2010 БИ: 36/2010
|
|