|
(21), (22) Заявка: 2004123096/28, 09.08.2002
(24) Дата начала отсчета срока действия патента:
09.08.2002
(30) Конвенционный приоритет:
28.12.2001 (пп.1-21) IT VI2001A000270
(43) Дата публикации заявки: 10.03.2005
(45) Опубликовано: 10.02.2006
(56) Список документов, цитированных в отчете о поиске:
DE 3147732 A1, 24.06.1982. US 1730192 A, 01.10.1929. DE 2501584 A1, 02.10.1975. JP 6001181 A, 11.01.1994. US 4135473 A, 23.01.1979. SU 262661 A1, 19.05.1970.
(85) Дата перевода заявки PCT на национальную фазу:
28.07.2004
(86) Заявка PCT:
EP 02/08945 (09.08.2002)
(87) Публикация PCT:
WO 03/056545 (10.07.2003)
Адрес для переписки:
129010, Москва, ул. Б.Спасская, 25, стр.3, ООО “Юридическая фирма Городисский и Партнеры”, пат.пов. А.В.Мицу
|
(72) Автор(ы):
ДИ ДЖОВАННИ Коррадо (IT), БЕЛЬТРАМЕ Луиджи Филиппо (IT)
(73) Патентообладатель(и):
СТЕБЕЛЬ СПА (IT)
|
(54) ЭЛЕКТРОПНЕВМАТИЧЕСКИЙ ЗВУКОВОЙ СИГНАЛ
(57) Реферат:
Изобретение относится к электропневматическим звуковым сигналам, используемым в транспортных средствах. Техническим результатом изобретения является создание компактной конструкции сигнала, а также упрощение процесса ее сборки и демонтажа при проведении технического обслуживания. Электропневматический сигнал (1; 100; 200) содержит электрокомпрессорный блок (2) для получения сжатого воздуха, генератор звуковой волны, содержащий по меньшей мере одну акустическую камеру (7; 8; 107; 108), соединенную с имеющим форму завитка каналом (13; 14; 213) для распространения наружу создаваемого звука. Средство каналирования воздуха (4) обеспечивает компрессорному блоку (2) его сообщение с каждой акустической камерой (7; 8; 107; 108). Компрессорный блок (2) и генератор (3) звуковой волны механически соединены за счет скользящей посадки хомута (34; 234). 20 з.п. ф-лы, 18 ил. 
Изобретение относится к электропневматическому звуковому сигналу, выполненному с возможностью применения в двух- и четырехколесных автомобильных транспортных средствах.
Электропневматические звуковые сигналы известного уровня техники содержат генератор акустических волн, в состав которого входят один или более акустических блоков, соединенных с электрокомпрессором каналами для прохождения воздуха в целях формирования одно-, двух- и трехтонального определенного звука в соответствии с числом акустических блоков.
В частности, акустические блоки состоят из прямого экспоненциального канала, длина которого пропорциональна воспроизводимой частоте и который введен в акустическую камеру, где установлена мембрана, выполненная с возможностью свободного возвратно-поступательного перемещения.
Прямой канал содержит первый участок по существу неизменного сечения, имеющий вход для звукового сигнала, полученного при помощи совершающей механические колебания мембраны; и второй участок с сечением, изменяющийся по существу согласно конической экспоненте и оканчивающийся выходом для усиленного звукового сигнала.
Мембрана надлежащим образом растянута при калибровке за счет деформирования мембраны металлическим элементом, который называется «днищем» и примыкает к форме корпуса камеры, чтобы формировать звук за счет заданного акустического давления.
Согласно другому варианту конструкции известного уровня техники используются два акустических блока, и соответствующие каналы имеют форму завитка и расположены рядом, определяя габариты звукового сигнала.
Как указано выше, указанные звуковые сигналы и, в частности, звуковые сигналы с прямыми акустическими блоками применяются в автомобилях, и, как правило, они установлены в отделении для двигателя.
Выпускаются различные звуковые сигналы, и они в основном классифицируются по числу звуковых блоков, обычно от одного до трех, для заданного звука и в соответствии с частотой, которую должен воспроизводить каждый блок.
Необходимость максимального использования пространства и уменьшения размеров каждого элемента автомобиля привела к максимально возможному уменьшению звуковых сигналов путем миниатюризации компрессорного узла и узла акустических блоков.
Предлагавшиеся ранее решения не дали больших результатов, в основном по причине взаимозависимости, существующей между нужной частотой звука и нужной длиной канала, и также по причине присутствия нескольких акустических блоков, которые в любом случае являются обязательными для одновременного воспроизведения нескольких частот.
Что касается установки указанных звуковых сигналов, то компрессор и акустические блоки отдельно крепятся на противоположных опорах с помощью соответствующих крепежных элементов.
Компрессор затем соединяют с каждым акустическим блоком посредством резинового канала, имеющего отклонения, чтобы подавать сжатый воздух в каждую акустическую камеру акустических блоков.
Первый недостаток этих звуковых сигналов заключается в сложном монтаже на этапе установки, поскольку требуется закрепление двух или более компонентов, соответствующих компрессору и акустическим блокам.
Еще один недостаток заключается в трудном и занимающим много времени соединении между каждым акустическим блоком и компрессором, которое, если оно не осуществлено должным образом, не гарантирует мгновенность и одновременность срабатывания акустических блоков.
Фактически нередко невозможно выполнить правильную сборку, особенно в части воздушного соединения между компрессором и генератором акустической волны, и поэтому невозможно установить в ограниченном пространстве несколько компонентов, отделенных друг от друга, но одновременно требующих их установки вблизи друг друга для обеспечения мгновенной подачи звука, и чтобы акустические каналы находились на равных расстояниях от компрессора для гарантированной одновременности звука.
Для устранения этого недостатка широко используются электромагнитные звуковые сигналы, которые обеспечивают быстрое срабатывание при приведении их в действие и также имеют компактную конструкцию.
Но для сборки таких электромагнитных звуковых сигналов требуется использование специальных кронштейнов, которые существенно важны для работы звуковых сигналов и недостаток которых состоит в том, что они увеличивают габариты узла.
Задача изобретения состоит в устранении указанных выше недостатков.
В частности, первая задача изобретения заключается в обеспечении электропневматического звукового сигнала более компактной конструкции по сравнению с электропневматическими звуковыми сигналами известного уровня техники.
Еще одна задача изобретения заключается в обеспечении электропневматического звукового сигнала, сборка которого будет менее сложной по сравнению с равнозначными электропневматическими звуковыми сигналами известного уровня техники.
Еще одна задача изобретения заключается в обеспечении электропневматического звукового сигнала, выполненного с возможностью его быстрого демонтажа при проведении технического обслуживания.
Еще одна задача изобретения заключается в обеспечении звукового сигнала, который по своим техническим признакам сможет быть альтернативой электропневматическим звуковым сигналам, но с большей акустической мощностью.
Еще одна задача изобретения заключается в обеспечении звукового сигнала с улучшенными характеристиками в отношении мгновенности и одновременности звука относительно электропневматического звукового сигнала, сравнимыми с характеристиками электропневматического звукового сигнала.
Еще одна немаловажная задача изобретения заключается в обеспечении электропневматического звукового сигнала, который сможет стать действенной альтернативой электропневматическим звуковым сигналам известного уровня техники в смысле своей большей надежности, в частности – относительно возможности обеспечивать непрерывную подачу звука и надежности с точки зрения срока службы.
Указанные задачи решаются посредством электропневматического звукового сигнала, который в соответствии с главным пунктом формулы изобретения содержит
– по меньшей мере компрессорный блок, имеющий по меньшей мере всасывающий вход для окружающего воздуха и по меньшей мере выход для сжатого воздуха;
– генератор акустической волны, содержащий по меньшей мере акустическую камеру, имеющую по меньшей мере вход, в который поступает сжатый воздух и который имеет эластичную мембрану для генерирования звука, и по меньшей мере выполненный в форме витка акустический канал, определенный между наружной стенкой и диафрагмой; при этом указанный акустический канал сообщается с акустической камерой и выполнен с возможностью распространять наружу звук, генерируемый мембраной;
– средство каналирования воздуха, которое обеспечивает сообщение выхода компрессорного блока с входом акустической камеры;
и отличается тем, что по меньшей мере компрессорный блок и генератор звуковой волны механически соединены с возможностью отсоединения, за счет скользящей посадки хомута.
Согласно предпочтительному осуществлению: генератор звуковой волны содержит два акустических канала, определенных между противоположными стенками, между которыми расположена диафрагма; и хомут, выполненный заодно с каждой стенкой.
Указанный хомут также имеет лабиринтный всасывающий канал, который обеспечивает всасывающему входу компрессора его сообщение с наружным пространством.
Средство каналирования содержит инжектор, являющийся частью компрессора и установленный после выхода, и соединенный путем защелкивания с каналом, выполненным в диафрагме.
Указанный канал сообщается с двумя промежуточными камерами, определенными в генераторе звуковой волны; при этом в каждой промежуточной камере определено отверстие, сообщающееся с соответствующей акустической камерой.
Согласно другому осуществлению: генератор звуковой волны содержит единичный акустический канал, определенный между стенкой и диафрагмой; при этом часть хомута выполнена за одно целое со стенкой и другая часть – с диафрагмой.
В обоих примерах осуществления акустический звуковой сигнал содержит крепежное средство, которое состоит из одного выступающего элемента, выполненного в корпусе компрессора, для соединения с опорной конструкцией.
Акустический звуковой сигнал согласно изобретению можно поставлять в виде набора, состоящего из компрессорного блока и генератора звуковой волны, соединенных хомутом, и поэтому их можно использовать в двух- и четырехколесных транспортных средствах путем осуществляемой пользователем простой сборки двух главных деталей – защелкиванием генератора и компрессора друг с другом.
Еще одно преимущество заключается в том, что компактная конструкция акустического звукового сигнала сводит к минимуму маршруты потоков сжатого воздуха из компрессора в акустические камеры, тем самым улучшая мгновенность и одновременность звука при обеспечении большего числа акустических каналов.
Еще одно преимущество заключается в том, что компактная конструкция акустического звукового сигнала делает возможной более выгодную установку для распространения звука с автомобилей и с соблюдением пределов минимальной стоимости, в частности по сравнению с электромагнитных звуковым сигналом по существу меньшей акустической мощности.
Упоминаемые выше задачи поясняются приводимым ниже описанием предпочтительных осуществлений изобретения, приведенных в качестве иллюстрирующего, но не ограничивающего примера, и со ссылкой на прилагаемые чертежи, на которых:
Фиг.1 – боковая проекция частичного сечения звукового сигнала согласно изобретению;
Фиг.2 – увеличенный вид I подробного изображения средства каналирования, показанного на Фиг.1;
Фиг.3 – подробное изображение сечения, указываемого на Фиг.2 по линии II-II;
Фиг.4 – сечение звукового сигнала по указываемой на Фиг.1 линии I-I;
Фиг.5 – боковая проекция диафрагмы звукового сигнала, показанного на Фиг.1;
Фиг.6 – боковая проекция диафрагмы, показываемой на Фиг.5;
Фиг.7 – горизонтальная проекция диафрагмы, показываемой на Фиг.5;
Фиг.8 – сечение с более подробным иллюстрированием Фиг.4;
Фиг.9 – сечение боковой проекции по линии VIII-VIII, указываемой на Фиг.8;
Фиг.10 – сечение по линии I-I варианта конструкции, показываемой на Фиг.1;
Фиг.11 – сечение по линии I-I еще одного варианта конструкции, показываемой на Фиг.1;
Фиг.12 – боковая проекция диафрагмы, показываемой на Фиг.11;
Фиг.13 – горизонтальная проекция диафрагмы, показываемой на Фиг.12;
Фиг.14 – боковая проекция диафрагмы, показываемой на Фиг.12;
Фиг.15 – сечение по линии I-I еще одного варианта конструкции, показываемой на Фиг.1;
Фиг.16 – вид сбоку диафрагмы, показываемой на Фиг.15;
Фиг.17 – горизонтальная проекция изображения, показываемого на Фиг.16;
Фиг.18 – боковая проекция изображения, показываемого на Фиг.16.
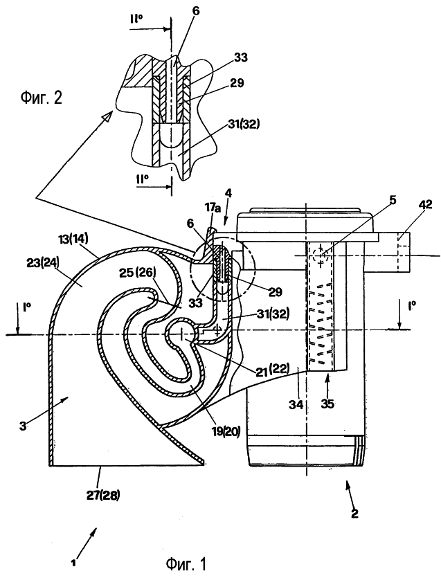
Звуковой сигнал согласно настоящему изобретению и иллюстрируемый на Фиг.1 указан общим обозначением 1.
Звуковой сигнал содержит компрессорный блок 2, генератор 3 звуковой волны и средство 4 каналирования воздуха, которое обеспечивает компрессору 2 его сообщение с генератором 3 акустической волны.
В частности, компрессорный блок 2 имеет всасывающий вход 5, по которому забирается наружный воздух; и выход 6 для сжатого воздуха.
Соответствующие элементы подключения к источнику электропитания – на чертежах для простоты не показаны – предусмотрены в корпусе компрессора 2 и обычно расположены в его нижней части.
Генератор 3 акустической волны содержит две акустические камеры, соответственно обозначенные как 7 и 8 на Фиг.4; при этом каждая камера имеет отверстие 9, 10 для введения сжатого воздуха.
Каждая акустическая камера 7, 8 имеет эластичную мембрану 11, 12 для генерирования звука, когда мембрана совершает колебания под воздействием сжатого воздуха, поступающего из компрессора 2.
Акустический канал 13, 14 в виде завитка соответствует каждой акустической камере 7, 8 и определен между наружной стенкой 15, 16 и диафрагмой 17, которая является общей для обоих акустических каналов 13, 14 и расположена между указанными стенками 15, 16.
Каждый акустический канал 13, 14 имеет первый участок по существу с постоянным сечением 19, 20 и вход 21, 22, сообщающийся с акустической камерой 7, 8. Первый, имеющий постоянное сечение, участок 19, 20 акустического канала 13, 14 соединен со вторым участком 23, 24 в точке, указанной обозначениями 25, 26 на Фиг.1; и имеет сечение, изменяющееся по существу по конической экспоненте и оканчивающееся выходом 27, 28 для распространения звука наружу.
Известно, что конфигурация каждого акустического канала 13, 14 соответствует нужной получаемой частоте, в этом случае – для получения заданного двухтонального звука. Средство 4 каналирования обеспечивает выходу 6 компрессора 2 сообщение с отверстиями 9, 10 в целях введения сжатого воздуха в акустические камеры 7, 8.
Указанное средство 4 каналирования содержит
– инжектор 29, относящийся к компрессору 2 и установленный после выхода 6 компрессора;
– две промежуточные камеры 31, 32, определенные в генераторе 3 звуковой волны; при этом каждая промежуточная камера 31, 32 определяет отверстие 9, 10 соединения с соответствующей акустической камерой 7, 8;
– канал 33, выполненный в диафрагме 17, сообщающейся с промежуточными камерами 31, 32 и соединенной с инжектором 29 – согласно подробным изображениям на Фиг.2 и 3.
В соответствии с Фиг.3 очевидно следует, что это соединение позволяет формировать два потока сжатого воздуха в каждой промежуточной камере 31, 32, начиная с одиночного потока, поступающего из входа 6 и формируемого компрессором 2.
Таким образом обеспечен короткий и симметричный канал воздушного соединения между компрессором 2 и акустическими камерами 7, 8, гарантирующий оптимальную мгновенность звука и, в указываемом на чертежах случае двухтонального звука, его одновременность.
Согласно изобретению компрессорный блок 2 и блок 3 генератора звуковой волны механически соединены посредством хомута, имеющего общее обозначение 34.
Указанный фланец 34, наглядно иллюстрируемый на Фиг.4, сделан как выполненное заодно продолжение двух стенок 15, 16 в виде двух частей 34а и 34b, имеющих по существу полукруглую форму, выполненную с возможностью вмещения в себе корпуса компрессора 2, имеющего по существу цилиндрическую форму.
Очевидно, что форма двух частей 34а и 34b может быть другой в других осуществлениях и соответствовать форме корпуса компрессора 2.
На хомуте 34, и в частности на части 34b на той стороне, на которой расположен всасывающий вход 5, находится всасывающий канал 35, имеющий лабиринтную конфигурацию и обеспечивающий всасывающему входу 5 сообщение с внешним пространством. Указанный всасывающий канал 35 имеет выступающий трубчатый элемент 36, который располагается внутри всасывающего входа 5 и имеет эластично расширяющееся средство 37, взаимодействующее с указанным всасывающим входом 5, для соединения хомута 34 и, в частности, его части 34b с корпусом компрессора 2, обеспечивая улучшение прикрепления всасывающего канала 35 компрессора 2.
Согласно Фиг.4 каждая акустическая камера определена имеющим особую форму корпусом 7а, 8а, который примыкает к соответствующей наружной стенке 15, 16.
Эластичная мембрана 11, 12 примыкает к имеющему особую форму корпусу 7а, 8а металлическим днищем 38, 39, которое налагается с внешней стороны и прифланцовывается к имеющему особую форму корпусу 7а, 8а для натяжения мембраны на этапе калибровки в зависимости от уровня распространяемого звукового давления.
Колпак 40, 41, механически соединенный с имеющим особую форму корпусом 7а, 8а, выполнен в виде крышки и защиты днища 38, 39.
Согласно Фиг.1 на корпусе компрессора 2 также расположено крепежное средство 42, состоящее из имеющего особую форму выступающего элемента, в который входят винтовые элементы для соединения акустического звукового сигнала 1 с опорной конструкцией S.
Разумеется, крепежное средство 42 в других осуществлениях может быть другим, чтобы соответствовать форме и положению опорной конструкции S.
Наконец, как показано на Фиг.5, диафрагма 17 имеет средство 17а загнутой защелки, которая прижимает указанную диафрагму 17 к компрессорному блоку 2 и обеспечивает пневматическое уплотнение, когда компрессор 2 и генератор звуковой волны соединены вместе хомутом 34 и когда инжектор 29 полностью входит в канал 33, выполненный на указанной диафрагме 17.
Разумеется, акустический звуковой сигнал 1 можно целесообразным образом поставлять в виде набора в двух отдельных частях: компрессорный блок 2 и генератор 3 звуковой волны, которые пользователь сможет перед установкой собрать защелкиванием.
Сборка выполняется следующим образом: инжектор 29 компрессорного блока 2 вставляется в канал 33 диафрагмы 17 на такую длину, чтобы средство 17а защелкивания прижало диафрагму 17 к корпусу компрессорного блока 2, также обеспечивая пневматическое уплотнение.
Одновременно хомут 34 посредством своих частей 34а и 34b соединяется за счет механической посадки с наружной поверхностью компрессорного блока 2.
Окончательное введение трубчатого выступающего элемента 36 во всасывающий вход 5 через расширяющее средство 37 обеспечивает дополнительное крепление хомута 34 к компрессору.
Лабиринтный всасывающий канал 35 защищает всасывающий вход 5 воздуха от возможного попадания посторонних веществ и водяных брызг непосредственно внутрь компрессорного блока 2.
Первый пример осуществления звукового сигнала показан на Фиг.10 под общим ссылочным обозначением 100.
Этот вариант отличается от первого осуществления тем, что имеющий особую форму корпус 107а, 108а каждой камеры 107, 108 выполнен как одно целое с соответствующей наружной стенкой 115, 116 с помощью формования.
В этом осуществлении каждая промежуточная камера 131, 132 будет иметь форму, которая отличается от первого осуществления согласно Фиг.4.
Еще один пример осуществления изобретения показан на Фиг.11 под общим обозначением 200.
Этот вариант относится к монотональному звуковому сигналу, имеет единичный акустический канал 213, т.к. распространяется одна звуковая волна.
В этом случае, поскольку имеется единичная наружная стенка 215, соединительный хомут 234 сделан из двух частей: первая часть является продолжением, выполненным заодно с наружной стенкой 215, и вторая часть выполнена заодно с диафрагмой 217 согласно подробному изображению на Фиг.12 и 13.
Еще одно осуществление изобретения показано на Фиг.15 под общим обозначением 300.
Это осуществление относится к двухтональному звуковому сигналу, имеющему два акустических канала 313, 314, которые согласно реализации в соответствии с Фиг.1 определены между двумя противоположными стенками 315, 316 и диафрагмой 317.
Но в этом случае хомут 334 выполнен заодно с диафрагмой 317, и указанная диафрагма также создает перегородки акустических каналов 313, 314 – согласно Фиг.16 и 18.
Две стенки 315 и 316 предпочтительно, но не обязательно, соединены с диафрагмой 317 клеем или ультразвуковой сваркой.
Двухтональные звуковые сигналы согласно настоящему изобретению можно подключить к системам модуляции звука, которые позволяют формировать звук с различными мелодиями; на чертежах не показаны.
В частности, можно изменять длительность и интенсивность потока воздуха в каналах, чтобы получать различные акустические эффекты.
Это можно осуществить в соответствии с известными способами, за счет размещения регулируемого клапана для регулирования и подачи потока воздуха из компрессорного блока в два акустических канала.
Первый из этих известных методов относится к использованию электроклапана, подключенного к электронному блоку управления, который определяет положение электроклапана для подачи и модулирования воздушного потока в каналах.
Согласно другому известному методу распределение потока воздуха в акустические каналы обеспечивается при помощи механической системы зубчатой передачи, которая регулирует клапан в соответствии с нужным потоком; при этом указанная механическая система зубчатой передачи соединена с приводным валом, связанным с компрессорным блоком, через средство редуктора.
Из вышеизложенного очевидно следует, что звуковой сигнал согласно настоящему изобретению решает сформулированные задачи и обеспечивает предполагаемые преимущества.
Прочие конструкционные изменения в акустическом звуковом сигнале можно выполнить на этапе исполнения.
В частности, могут быть другими конфигурация лабиринтного всасывающего канала и промежуточных камер, форма и протяженность хомута, форма и положение опорного крепежного средства или средства загнутой защелки диафрагмы.
Необходимо отметить, что эти изменения и также прочие модификации, которые не излагаются в описании и не показаны на чертежах, но входят в объем изобретения, указанный в прилагаемой его формуле, считаются подпадающими под действие данного патента.
Формула изобретения
1. Электропневматический звуковой сигнал (1; 100; 200; 300), содержащий по меньшей мере электрокомпрессорный блок (2), имеющий по меньшей мере всасывающий вход (5) для наружного воздуха и по меньшей мере выход (6) для сжатого воздуха; генератор (3) звуковой волны, содержащий по меньшей мере акустическую камеру (7, 8; 107, 108), имеющую по меньшей мере отверстие (9, 10) для введения сжатого воздуха; эластичную мембрану (11, 12), предусмотренную в указанном отверстии для генерирования звука, и по меньшей мере имеющий форму завитка акустический канал (13, 14; 213; 313; 314), определенный между наружной стенкой (15, 16; 115, 116; 215; 315; 316) и диафрагмой (17; 217; 317), при этом акустический канал (13, 14; 213; 313; 314) сообщается с акустической камерой (7, 8; 107, 108) и выполнен с возможностью распространять наружу звук, создаваемый мембраной (11, 12); средство (4) каналирования воздуха, выполненное с возможностью обеспечивать сообщение выхода (6) компрессора (2) с отверстием (9, 10) акустической камеры (7, 8; 107, 108), отличающийся тем, что по меньшей мере компрессорный блок (2) и генератор (3) звуковой волны механически соединены с возможностью отсоединения за счет скользящей посадки хомута (34; 234; 334).
2. Звуковой сигнал по п.1, отличающийся тем, что хомут (34; 234; 334) является частью генератора (3) звуковой волны.
3. Звуковой сигнал по п.2, отличающийся тем, что генератор звуковой волны содержит два акустических канала (13; 14), определенных между двумя стенками (15; 16; 115; 116), расположенными напротив друг друга и разделенными диафрагмой (17); при этом часть (34а; 34b) хомута (34) выполнена в каждой из стенок (15; 16; 115; 116).
4. Звуковой сигнал по п.2, отличающийся тем, что генератор звуковой волны имеет один акустический канал (213), определенный между стенкой (215) и диафрагмой (234), при этом хомут (234) имеет часть, выполненную как одно целое со стенкой (215), и часть, выполненную как одно целое с диафрагмой (217).
5. Звуковой сигнал по п.2, отличающийся тем, что генератор звуковой волны содержит два акустических канала (313; 314), определенных между двумя стенками (315, 316), расположенными напротив друг друга и разделенными диафрагмой (317); при этом хомут (334) выполнен как одно целое с диафрагмой (317).
6. Звуковой сигнал по п.1, отличающийся тем, что хомут (34; 234; 334) имеет лабиринтный всасывающий канал (35), который обеспечивает всасывающему входу (5) компрессора (2) сообщение с наружным пространством.
7. Звуковой сигнал по п.1, отличающийся тем, что средство (4) каналирования содержит инжектор (29), являющийся частью компрессора (2) и установленный после выхода (6); по меньшей мере промежуточную камеру (31, 32; 131; 132), определенную в генераторе (3) звуковой волны и в которой определено отверстие (9, 10), осуществляющее сообщение с акустической камерой (7, 8; 107, 108);- канал (33), выполненный в диафрагме (17), сообщающейся с промежуточной камерой (31, 32; 131, 132) и соединенной с инжектором (29).
8. Звуковой сигнал по п.1, отличающийся тем, что диафрагма (17; 217) имеет загнутое средство (17а) защелкивания, выполненное с возможностью прижатия диафрагмы (17; 217) к корпусу компрессора и обеспечения пневматического уплотнения, когда хомут (34; 254) соединяет вместе компрессор (2) и генератор (3) звуковой волны.
9. Звуковой сигнал по п.6, отличающийся тем, что в всасывающем канале (35) размещен выступающий трубчатый элемент (36), входящий внутрь всасывающего входа (5) и имеющий эластично расширяющееся средство (37), взаимодействующее с всасывающим входом (5) для создания соединения хомута (34; 234; 334) с корпусом компрессора (2).
10. Звуковой сигнал по п.1, отличающийся тем, что имеющий форму завитка акустический канал (13; 14; 213) содержит первый участок (19, 20), по существу, постоянного сечения, имеющий вход (21, 22), сообщающийся с акустической камерой (7, 8; 107, 108), соединенной со вторым участком (23, 24) с сечением, изменяющимся, по существу, по конической экспоненте, и имеющим выход (27, 28) для распространения звука наружу.
11. Звуковой сигнал по п.1, отличающийся тем, что содержит крепежное средство (42) на опорной конструкции (S).
12. Звуковой сигнал по п.11, отличающийся тем, что крепежное средство содержит один имеющий особую форму выступающий элемент (42), выполненный в корпусе компрессора (2) и выполненный с возможностью вмещения винтовых элементов для присоединения к опорной конструкции (S).
13. Звуковой сигнал по п.1, отличающийся тем, что акустическая камера (7, 8; 107, 108) определена полым имеющим особую форму корпусом (7а, 8а; 107а, 108а), в котором установлена эластичная мембрана (11, 12) и который связан с наружной стенкой (15, 16; 115, 116), определяющей акустический канал (13, 14; 213; 313, 314).
14. Звуковой сигнал по п.13, отличающийся тем, что имеющий особую форму корпус (7а, 8а) примыкает к наружной стенке (15, 16; 215).
15. Звуковой сигнал по п.13, отличающийся тем, что указанный имеющий особую форму корпус (107а, 108а) является единым корпусом, выполненным за одно целое с наружной стенкой (115, 116).
16. Звуковой сигнал по п.15, отличающийся тем, что имеющий особую форму корпус (107а, 108а) и наружная стенка (115, 116) изготовлены формованием.
17. Звуковой сигнал по п.13, отличающийся тем, что эластичная мембрана (11, 12) прижата к имеющему особую форму корпусу (7а, 8а; 107а, 108а) посредством металлического днища (38, 39), налагаемого снаружи и прифланцованного к имеющему особую форму корпусу (7а, 8а; 107а, 108а) в целях натяжения мембраны (11, 12) в зависимости от уровня давления распространяемого звука.
18. Звуковой сигнал по п.17, отличающийся тем, что содержит колпак (40, 41), выполненный как крышка для днища (38, 39) и соединенный с помощью механической посадки с имеющим особую форму корпусом (7а, 8а; 107а, 108а).
19. Звуковой сигнал по п.1, отличающийся тем, что содержит клапанное средство, связанное с управляющим средством для изменения потока воздуха от компрессора (2) в акустические каналы (13, 14; 313, 314).
20. Звуковой сигнал по п.19, отличающийся тем, что управляющим средством является электронное средство.
21. Звуковой сигнал по п.19, отличающийся тем, что указанное управляющее средство является механическим средством.
РИСУНКИ
|