|
|
(21), (22) Заявка: 2003101157/28, 15.01.2003
(24) Дата начала отсчета срока действия патента:
15.01.2003
(43) Дата публикации заявки: 20.07.2004
(45) Опубликовано: 10.02.2006
(56) Список документов, цитированных в отчете о поиске:
Индикаторные устройства на жидких кристаллах. Под ред. З.Ю.ГОТРЫ . М., Сов.Радио, с. 106. RU 2029329 С1 , 20.02.1995. RU 97112909 А, 20.07.1999. EP 0282300 А1 ,14.09.1988.
Адрес для переписки:
410052, г.Саратов, пр-кт 50 лет Октября, 101, ФГУП НИИ “ВОЛГА”, директору Н.Д. Жукову
|
(72) Автор(ы):
Брежнев Владимир Алексеевич (RU), Жуков Николай Дмитриевич (RU), Светлов Александр Иванович (RU), Шестаков Сергей Борисович (RU)
(73) Патентообладатель(и):
ФЕДЕРАЛЬНОЕ ГОСУДАРСТВЕННОЕ УНИТАРНОЕ ПРЕДПРИЯТИЕ НАУЧНО-ИССЛЕДОВАТЕЛЬСКИЙ ИНСТИТУТ “ВОЛГА” (RU)
|
(54) ЖИДКОКРИСТАЛЛИЧЕСКИЙ ЭКРАН
(57) Реферат:
Изобретение относится к индикаторной технике. Для уменьшения количества внешних выводов экрана в жидкокристаллическом экране, содержащем две диэлектрические пластины с нанесенными на внутренние поверхности прозрачными токопроводящими электродами, каждый электрод одной пластины соединен с выбранным электродом другой пластины электропроводным контактом, при этом каждая пара электродов выведена на одну общую управляющую контактную площадку, а электроды, формирующие элементы изображения информационного поля экрана, на каждой из пластин расположены под одинаковым к внешним сторонам пластин углом , при этом угол удовлетворяет следующему условию: 10°  85. Технический результат – снижение конструктивных требований к экрану. 3 з.п. ф-лы, 4 ил., 1 табл. 
Изобретение относится к индикаторной технике, а именно к жидкокристаллическим экранам, и может быть использовано для создания устройств отображения информации индивидуального и коллективного пользования.
Конструктивно жидкокристаллический экран представляет собой плоский капилляр, состоящий из двух параллельно оклеенных по периметру диэлектрических (например, стеклянных) пластин, на внутренних обращенных друг к другу поверхностях которых нанесены прозрачные токопроводящие электроды определенной конфигурации для формирования элементов изображения экрана, покрытые диэлектрическими ориентирующими пленками, заполненный жидким кристаллом через отверстие в капилляре. На внешних поверхностях капилляра расположены поляроиды (Индикаторные устройства на жидких кристаллах./Под ред. З.Ю.Готры. – М.: Сов. Радио, 1980 г., с.80-135).
Известны различные жидкокристаллические индикаторные устройства, в которых отличается формирование управляемых электродов экрана.
Во-первых, формирование управляемых электродов экрана заключается в том, что на одной из пластин расположены элементы изображения и каждый элемент для своего управления имеет индивидуальную внешнюю контактную площадку (см. там же, с.85, 86, рис.3.8 и 3.11). На другой пластине сформирован общий электрод для всех элементов изображения первой пластины, имеющий одну внешнюю контактную площадку.
Недостатком данной конструкции является то, что при наличии N элементов изображения экрана необходимо N+1 внешних контактных площадок, большое количество управляющих выходов микросхем практически исключает создание экранов большой информационной емкости.
Во-вторых, формирование информационного поля экрана заключается в том, что элементы изображения на одной пластине объединены в группы (строки), состоящие из множества элементов изображения и каждая группа (строка) имеет одну внешнюю управляющую контактную площадку. На другой пластине также сформированы группы (столбцы) элементов изображения. При соединении пластин в капилляр электроды на обеих пластинах образуют в проекции матрицу элементов изображения, состоящую из У строк и X столбцов. При этом количество элементов изображения составляет У·Х, а количество управляющих внешних контактов составляет У+Х (см. там же, с.106, рис.3.29 – прототип).
Недостатком данной конструкции жидкокристаллического устройства является то, что:
– как и в первом случае, для управления экраном требуется большое количество внешних управляющих контактов (У+X) и соответственно выходов микросхем;
– контактные площадки строк и столбцов расположены на взаимно перпендикулярных сторонах экрана, что ограничивает количество электрически независимых матриц, формируемых в одном экране, например, для пассивно-матричных жидкокристаллических экранов используется только две независимых матрицы в одном экране. Это существенно ограничивает информационность экрана и накладывает жесткие ограничения к конструкции экрана в части требований к параметрам жидкого кристалла и ориентации молекул жидкого кристалла.
Сущность изобретения заключается в следующем. Задача, на решение которой направлено заявляемое изобретение, заключается в уменьшении количества внешних выводов экрана, присущих стандартному матричному исполнению электродов при сохранении количества элементов изображения и снижении конструктивных требований к экрану за счет возможности его формирования из N независимых управляемых матриц.
Указанный технический результат при осуществлении изобретения достигается тем, что в жидкокристаллическом экране, содержащем две диэлектрические пластины, по крайней мере одна из пластин прозрачная, с нанесенными на внутренние поверхности пластин прозрачными токопроводящими электродами, образующими элементы изображения информационного поля экрана заданной конфигурации, покрытыми диэлектрической ориентирующей пленкой, соединенные по периметру герметиком в плоский капилляр, заполненный жидким кристаллом, поляроиды на внешних поверхностях пластин и внешние управляющие контактные площадки, каждый электрод одной пластины соединен с выбранным электродом другой пластины электропроводным контактом, при этом каждая пара электродов выведена на одну общую управляющую контактную площадку, а электроды, формирующие элементы изображения информационного поля экрана, на каждой из пластин расположены под одинаковым к внешним сторонам пластин углом , при этом угол удовлетворяет следующему условию: 10°  85°.
Кроме того, жидкокристаллический экран содержит j, где j=1, 2, 3,…, N электрически независимых управляемых матриц экрана с постоянным шагом элементов изображения информационного поля по всему экрану, либо с разным шагом элементов изображения информационного поля в каждой из матриц экрана; внешние управляющие контактные площадки расположены на параллельных сторонах экрана; электрические контакты в паре электродов одной и другой пластин выполнены по периферии экрана в зоне внешних управляющих контактных площадок анизотропнопроводящей пастой.
Сущность изобретения поясняется графическими материалами, описанием и примерами конкретного исполнения.
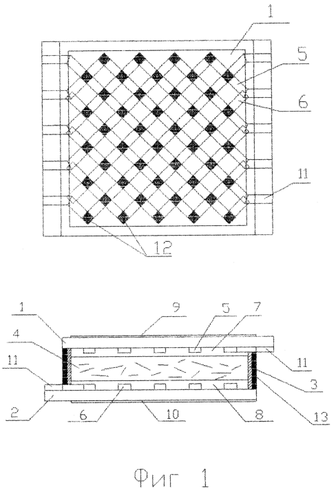
На фиг.1 изображена конструкция жидкокристаллического экрана.
На фиг.2 схематично показано расположение электродов на каждой из пластин под углом к внешним сторонам пластин,
На фиг.3 схематично изображена конструкция электродов и соединение их с внешними управляющими контактными площадками.
На фиг.4 схематично изображено информационное поле жидкокристаллического экрана с j, где j=1,2,3,…, N электрически независимых управляемых матриц экрана с постоянным шагом элементов изображения информационного поля по всему экрану.
На чертежах приняты следующие обозначения:
1, 2 – две диэлектрические пластины, по крайней мере одна из пластин прозрачная;
3 – герметик;
4 – жидкий кристалл;
5, 6 – токопроводящие электроды;
7, 8 – диэлектрические ориентирующие пленки;
9, 10 – поляроиды;
11 – внешние управляющие контактные площадки;
12 – элементы изображения информационного поля;
13 – электропроводный контакт.
Предлагаемый жидкокристаллический экран (см. фиг.1) состоит из двух параллельно расположенных прозрачных стеклянных пластин 1 и 2, соединенных по периметру герметиком 3, так, что образуются плоский капилляр с внешними управляющими контактными площадками 11. В зазор плоского капилляра введен жидкий кристалл 4, затем зазор герметизируют герметиком. На внутренние стороны пластин 1 и 2 нанесены прозрачные токопроводящие электроды 5 и 6 в виде определенного рисунка – заданной конфигурация, образующие элементы изображения информационного поля жидкокристаллического экрана. Прозрачные токопроводящие электроды 5 и 6 покрыты диэлектрической ориентирующей пленкой 7 и 8. На внешние поверхности диэлектрических пластин нанесены поляроиды 9 и 10.
На фиг.2 показано расположение электродов под углом к внешним сторонам диэлектрических пластин 1 и 2, при этом угол удовлетворяет следующему условию: 10  85°.
Указанные параметры угла определены экспериментально с учетом известных закономерностей, принятых при конструировании жидкокристаллических экранов, из учета геометрии применяемых диэлектрических пластин: прямоугольной или ромбовидной формы.
Работа жидкокристаллического экрана осуществляется следующим образом.
При подаче напряжения на выбранные электроды 5, 6, изготовленные из прозрачного токопроводящего материала, нанесенного на диэлектрические пластины, например стеклянные 1 и 2, происходит переориентация молекул жидкого кристалла 4. В результате переориентации молекул жидкого кристалла 4 происходит изменение пропускания света на выбранном элементе изображения информационного поля. Однозначность и независимость выбора любого элемента изображения информационного поля в предлагаемой конструкции жидкокристаллического экрана поясняется примерами.
ПРИМЕР 1
Был изготовлен опытный образец жидкокристаллического экрана согласно заявляемому техническому решению. На фиг.1 показано, что электрод 5 одной пластины 1 соединен с выбранным электродом 6 другой пластины 2 электропроводным контактом 13. На фиг.3 показаны 24 внешних управляющих контактных площадок 11, конфигурация рисунков электродов 5 и 6 на одной 1 и другой 2 диэлектрических стеклянных пластинах, а также схема попарного соединения электродов с внешними управляющими контактными площадками.
В таблице показана необходимая комбинация внешних управляющих контактных площадок, при подаче напряжения на которые включается любой из элементов изображения информационного поля экрана. В таблице показано, что любая из выбранных комбинаций подачи управляющего напряжения на внешние контактные площадки включает только один нужный элемент изображения. Из примера видно также, что при числе элементов изображения 288 штук количество внешних выводов в предлагаемой конструкции жидкокристаллического экрана составляет 24, а при стандартном матричном соединении для того же количества элементов изображения потребуется 34 внешних вывода.

ПРИМЕР 2
Был изготовлен опытный образец жидкокристаллического экрана согласно изобретению. На фиг.4 схематично показано, что предложенная конструкция жидкокристаллического экрана позволяет в одном экране формировать j независимо управляемых матриц, где j=1, 2, 3,…, N, с сохраняющейся регулярностью элементов изображения по информационному полю экрана в каждой матрице. Размер жидкокристаллического экрана ограничен только технологическими возможностями.
Эффективность предлагаемого изобретения сводится к уменьшению числа внешних управляющих контактных площадок, что позволит сократить количество используемых для управления выводов микросхем и увеличить надежность жидкокристаллических экранов, а также снизить требование к конструкции жидкокристаллического экрана за счет использования в нем N независимо управляемых матриц.
Формула изобретения
1. Жидкокристаллический экран, содержащий две диэлектрические пластины, по крайней мере одна из пластин прозрачная, с нанесенными на внутренние поверхности прозрачными токопроводящими электродами, образующими элементы изображения информационного поля экрана заданной конфигурации, покрытыми диэлектрической ориентирующей пленкой, соединенные по периметру герметиком в плоский капилляр, заполненный жидким кристаллом, поляроиды на внешних поверхностях пластин и внешние управляющие контактные площадки, отличающийся тем, что каждый электрод одной пластины соединен с выбранным электродом другой пластины электропроводным контактом, при этом каждая пара электродов выведена на одну общую управляющую контактную площадку, а электроды, формирующие элементы изображения информационного поля экрана, на каждой из пластин расположены под одинаковым к внешним сторонам пластин углом , при этом угол удовлетворяет следующему условию: 10°  85°.
2. Жидкокристаллический экран по п.1, отличающийся тем, что содержит j, где j=1, 2, 3,…,N, электрически независимых управляемых матриц экрана с постоянным шагом элементов изображения информационного поля по всему экрану либо с разным шагом в каждой из матриц экрана.
3. Жидкокристаллический экран по п.1, отличающийся тем, что внешние управляющие контактные площадки расположены на параллельных сторонах экрана.
4. Жидкокристаллический экран по п.1, отличающийся тем, что электрические контакты в паре электродов одной и другой пластин выполнены по периферии экрана в зоне управляющих контактных площадок анизотропно проводящей пастой.
РИСУНКИ
MM4A – Досрочное прекращение действия патента СССР или патента Российской Федерации на изобретение из-за неуплаты в установленный срок пошлины за поддержание патента в силе
Дата прекращения действия патента: 16.01.2009
Извещение опубликовано: 10.12.2009 БИ: 34/2009
NF4A Восстановление действия патента СССР или патента Российской Федерации на изобретение
Дата, с которой действие патента восстановлено: 10.05.2010
Извещение опубликовано: 10.05.2010 БИ: 13/2010
|
|