|
|
(21), (22) Заявка: 2003124181/28, 31.07.2003
(24) Дата начала отсчета срока действия патента:
31.07.2003
(43) Дата публикации заявки: 27.01.2005
(45) Опубликовано: 10.02.2006
(56) Список документов, цитированных в отчете о поиске:
RU 2080635 C1, 27.05.1997. RU 2156548 C1, 20.09.2000. US 4271334 A, 02.06.1981. US 6227450 B1, 08.05.2001.
Адрес для переписки:
127018, Москва, ул. Советской Армии, 5, Центральный научно-исследовательский институт автоматики и гидравлики
|
(72) Автор(ы):
Тимашов Николай Алексеевич (RU), Жезлов Леонид Гаврилович (RU), Синицын Анатолий Петрович (RU)
(73) Патентообладатель(и):
Федеральное государственное унитарное предприятие “Центральный научно-исследовательский институт автоматики и гидравлики” (RU)
|
(54) СКАНИРУЮЩЕЕ УСТРОЙСТВО
(57) Реферат:
Сканирующее устройство содержит сканирующий элемент, двигатель, усилитель мощности, цифро-аналоговый преобразователь, сумматор, генератор, и в него введены делитель частоты, реверсивный счетчик, индукционный датчик угла в виде синусно-косинусного вращающегося трансформатора (СКВТ), аналого-цифровой преобразователь сигналов СКВТ в код, преобразователь частоты в напряжение, вычитающий усилитель, первый, второй, третий и четвертый цифровые компараторы, триггер знака реверса, устройство установки кодов углов реверса зеркала, устройство установки кодов углов начала и конца кадра и устройство формирования синхроимпульсов развертки. Обеспечивается повышение линейности и стабильности движения сканирующего элемента. 2 ил. 
Изобретение относится к области оптико-механического и оптико-электронного приборостроения и может быть использовано в устройствах сканирования изображений в тепловизионных приборах ночного видения.
Известно сканирующее устройство (патент РФ №168296 А1, кл. G 02 B 26/10), содержащее зеркало, совершающее колебания с заданной частотой управляющего сигнала, поступающего с катушек.
Недостатками данного устройства являются сложность оптической системы позиционирования зеркала и наличие в конструкции торсиона, что приводит к нелинейности закона движения зеркала.
Из известных устройств наиболее близкими по технической сущности к заявляемому устройству является выбранное в качестве прототипа сканирующее устройство (патент РФ №2080635 С1, кл. G 02 B 26/10), содержащее объектив, фокусирующий изображение, сканирующий элемент, выполненный в виде качающегося зеркала, приводимого в действие приводом, приемник, источник излучения, фотодатчик, выполненный в виде линейного фоточувствительного прибора с зарядовой связью, формирователь управляющих напряжений, генератор, пороговое устройство, блок коррекции, в который входят счетчик, сумматор и регистр, цифроаналоговые преобразователи, усилитель.
К недостаткам этого устройства можно отнести невысокую разрешающую способность фотодатчика и способ управления приводом пропорционально величине напряжения, что может приводить к нестабильности отработки угловых положений зеркалом в каждом движении. Кроме этого, при высоких скоростях сканирования недостатком может оказаться использование в рабочем режиме движения зеркала только в одну сторону.
В предлагаемом сканирующем устройстве решается задача отработки зеркалом строго линейного задания угла поворота с высокой точностью и стабильностью при каждом движении в прямом и обратном направлении.
Для решения этой технической задачи в сканирующее устройство, содержащее сканирующий элемент, выполненный в виде качающегося зеркала с двигателем, усилитель мощности, цифроаналоговый преобразователь, сумматор, кварцевый задающий генератор, введены делитель частоты, реверсивный счетчик, индукционный датчик угла (СКВТ), аналого-цифровой преобразователь сигналов СКВТ в код угла поворота зеркала, преобразователь частоты в напряжение, вычитающий усилитель, первый, второй, третий и четвертый цифровые компараторы, триггер знака реверса, устройство установки кодов углов реверса зеркала, устройство установки кодов углов начала и конца кадра, устройство формирования синхроимпульсов развертки, причем счетный вход реверсивного счетчика через делитель частоты подключен к выходу кварцевого задающего генератора, а выход реверсивного счетчика соединен с первым входом сумматора и с первыми входами первого и второго цифровых компараторов, аналоговый вход аналого-цифрового преобразователя сигналов СКВТ в код угла поворота зеркала соединен с выходом индукционного датчика, а его цифровой выход соединен со вторым входом сумматора и первыми входами третьего и четвертого цифровых компараторов и первым входом устройства формирования синхроимпульсов развертки, выход сумматора через цифроаналоговый преобразователь соединен с первым входом усилителя мощности, первый вход вычитающего усилителя соединен с аналоговым выходом сигнала скорости аналого-цифрового преобразователя сигналов СКВТ в код угла поворота зеркала, второй вход вычитающего усилителя через преобразователь частоты в напряжение соединен с выходом делителя частоты, а выход вычитающего усилителя соединен со вторым входом усилителя мощности, выход усилителя мощности соединен с двигателем, вторые входы первого и второго цифровых компараторов соединены с первым и вторым выходами устройства установки кодов углов реверса зеркала соответственно, а их выходы соединены с первым и вторым входами триггера знака реверса соответственно, выход которого соединен со входом знака реверсивного счетчика, вторые входы третьего и четвертого цифровых компараторов соединены с первым и вторым выходами устройства установки кодов углов начала и конца кадра соответственно, а их выходы соединены со вторым и третьим входами устройства формирования синхроимпульсов развертки соответственно.
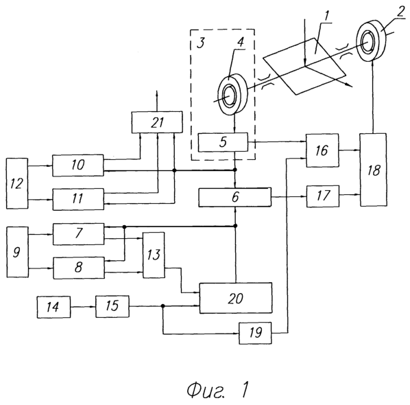
На фиг.1 приведена общая функциональная схема сканирующего устройства.
На фиг.2 приведена временная диаграмма работы сканирующего устройства.
Сканирующее устройство содержит сканирующий элемент, выполненный в виде качающегося зеркала 1, приводимого в движение двигателем 2, индукционный датчик угла 4 типа СКВТ, аналого-цифровой преобразователь 5 сигналов СКВТ в код угла поворота зеркала, которые в совокупности образуют цифровой датчик угла 3, сумматор 6, первый цифровой компаратор 7, второй цифровой компаратор 8, устройство 9 установки кодов углов реверса зеркала, третий цифровой компаратор 10, четвертый цифровой компаратор 11, устройство 12 установки кодов углов начала и конца кадра, триггер знака реверса 13, кварцевый задающий генератор 14, делитель частоты 15, вычитающий усилитель 16, цифроаналоговый преобразователь 17, усилитель мощности 18, преобразователь частоты в напряжение 19, реверсивный счетчик 20, устройство 21 формирования синхроимпульсов развертки.
Сканирующее устройство работает следующим образом. Для осуществления поворотного возвратно-поступательного движения зеркала по пилообразному закону с высокой стабильностью и точностью был выбран принцип электрического следящего привода, замкнутого обратной связью по угловому положению качающегося зеркала. Задание закона движения качающегося зеркала и обратная связь по его угловому положению реализованы в цифровой форме.
Импульсы с кварцевого задающего генератора 14 через делитель частоты 15 поступают на счетный вход реверсивного счетчика 20, на выходе которого формируется код задаваемого угла N зад., как показано на временной диаграмме. С цифрового выхода аналого-цифрового преобразователя 5 сигналов СКВТ поступает код угла поворота качающегося зеркала 1 N отр. Код задаваемого угла N зад и код угла поворота зеркала N отр поступают на сумматор 6, на выходе которого формируется код N , являющийся ошибкой рассогласования следящего привода по углу. Код N поступает на вход цифроаналогового преобразователя 17, на выходе которого он преобразуется в сигнал рассогласования в виде напряжения постоянного тока  .
Параллельно для стабилизации следящего привода по скорости на выходе преобразователя частоты в напряжение 19 в виде напряжения постоянного тока формируется сигнал задаваемой скорости . С аналогового выхода сигнала скорости аналого-цифрового преобразователя 5 сигналов СКВТ в виде напряжения постоянного тока поступает сигнал скорости качающегося зеркала 1 . Сигнал задаваемой скорости и сигнал скорости зеркала поступают на вычитающий усилитель 16, на выходе которого формируется сигнал .
Сигнал  с выхода цифроаналогового преобразователя 17 и сигнал с выхода вычитающего усилителя 16 поступают на усилитель мощности 18, который регулирует ток двигателя 2 в зависимости от величины и знака этих отклонений.
Для осуществления реверса движения зеркала код N зад с выхода реверсивного счетчика 20 поступает на первые входы цифрового компаратора 7 и цифрового компаратора 8. На второй вход цифрового компаратора 7 с устройства 9 установки кодов углов реверса зеркала подается код, эквивалентный углу отклонения зеркала +12,5°, а на второй вход цифрового компаратора 8 подается код, эквивалентный углу отклонения зеркала -12,5°.
При изменении кода N зад на выходе реверсивного счетчика 20, зеркало 1 по линейному закону изменяет свое угловое положение. При достижении кодом N зад значения, эквивалентного углу +12,5°, срабатывает цифровой компаратор 7 и с его выхода поступает сигнал на первый вход триггера знака реверса 13, который устанавливает триггер знака в состояние, противоположное предыдущему, что приводит к реверсу реверсивного счетчика 20. В свою очередь изменение направления работы реверсивного счетчика 20 приводит к реверсу двигателя 2 и зеркало 1 по линейному закону начинает движение в противоположную сторону.
Движение зеркала в этом направлении будет происходить до тех пор, пока на выходе реверсивного счетчика 20 не установится код N зад, эквивалентный углу -12,5°. В этот момент срабатывает цифровой компаратор 8 и с его выхода поступает сигнал на второй вход триггера знака реверса 13, который устанавливает триггер знака в первоначальное положение, что приводит к реверсу реверсивного счетчика 20 и двигателя 2. Зеркало 1 начинает движение в сторону углового положения +12,5° и т.д.
Для синхронизации движения качающегося зеркала 1 и аппаратуры развертки изображения (в материале заявки не приводится) сканирующее устройство вырабатывает синхронизирующие сигналы: импульсы НПХ (начало прямого хода), импульсы КПХ (конец прямого хода), импульсы НОХ (начало обратного хода), импульсы КОХ (конец обратного хода), как показано на временной диаграмме. Эти синхроимпульсы вырабатываются на границах угловых положений зеркала 1±10°, чтобы исключить влияние переходных процессов в зонах реверса зеркала.
Для формирования указанных синхроимпульсов код N отр с цифрового выхода аналого-цифрового преобразователя 5 сигналов СКВТ в код угла поворота зеркала поступает на первые входы цифрового компаратора 10, цифрового компаратора 11 и устройства 21 формирования синхроимпульсов развертки. На второй вход цифрового компаратора 10 с устройства 12 установки кодов углов начала и конца кадра подается код, эквивалентный углу отклонения зеркала +10°, а на второй вход цифрового компаратора 11 подается код, эквивалентный углу отклонения зеркала -10°. При достижении кодом N отр значения, эквивалентного углу +10°, срабатывает цифровой компаратор 10 и с его выхода поступает сигнал на второй вход устройства 21 формирования синхроимпульсов развертки. При обратном движении зеркала после реверса на угле +10° снова произойдет срабатывание цифрового компаратора 10. При достижении кодом N отр значения, эквивалентного углу -10°, срабатывает цифровой компаратор 11 и с его выхода поступает сигнал на третий вход устройства 21 формирования синхроимпульсов развертки, на выходе которого формируются вышеназванные синхроимпульсы.
Предлагаемое техническое решение сканирующего устройства позволяет осуществить режим развертки изображения с частотой 25 кадров в секунду с высокой линейностью и стабильностью при использовании прямого и обратного движения зеркала.
Литература
1. Б.Г.Федорков, В.А.Телец. Микросхемы ЦАП и АЦП: функционирование, параметры, применение. – М.: Энергоиздат, 1990 г, с.48-79.
2. Патент РФ №1682964, А1 кл. G 02 B 26/10. К.П.Кащеев, И.А.Фомичева. Сканирующее устройство.
3. Патент РФ №2080635, кл. G 02 B 26/10. Е.В.Ларкин, И.В.Абузова, Ф.А.Данилкин. Сканирующее устройство.
Формула изобретения
Сканирующее устройство, содержащее сканирующий элемент, выполненный в виде качающегося зеркала с двигателем, усилитель мощности, цифроаналоговый преобразователь, сумматор, кварцевый задающий генератор, отличающееся тем, что в устройство введены делитель частоты, реверсивный счетчик, индукционный датчик угла в виде синусно-косинусного вращающегося трансформатора (СКВТ), аналого-цифровой преобразователь сигналов СКВТ в код угла поворота зеркала, преобразователь частоты в напряжение, вычитающий усилитель, первый, второй, третий и четвертый цифровые компараторы, триггер знака реверса, устройство установки кодов углов реверса зеркала, устройство установки кодов углов начала и конца кадра, устройство формирования синхроимпульсов развертки, причем счетный вход реверсивного счетчика через делитель частоты подключен к выходу кварцевого задающего генератора, а выход реверсивного счетчика соединен с первым входом сумматора и с первыми входами первого и второго цифровых компараторов, аналоговый вход аналого-цифрового преобразователя сигналов СКВТ в код угла поворота зеркала соединен с выходом индукционного датчика, а его цифровой выход соединен со вторым входом сумматора и первыми входами третьего и четвертого компараторов и первым входом устройства формирования синхроимпульсов развертки, выход сумматора через цифроаналоговый преобразователь соединен с первым входом усилителя мощности, первый вход вычитающего усилителя соединен с аналоговым выходом сигнала скорости аналого-цифрового преобразователя сигналов СКВТ в код угла поворота зеркала, второй вход вычитающего усилителя через преобразователь частоты в напряжение соединен с выходом делителя частоты, а выход вычитающего усилителя соединен со вторым входом усилителя мощности, выход усилителя мощности соединен с двигателем, вторые входы первого и второго цифровых компараторов соединены с первым и вторым выходами устройства установки кодов углов реверса зеркала соответственно, а их выходы соединены с первым и вторым входами триггера знака реверса соответственно, выход которого соединен со входом знака реверсивного счетчика, вторые входы третьего и четвертого цифровых компараторов соединены с первым и вторым выходами устройства установки кодов углов начала и конца кадра соответственно, а их выходы соединены со вторым и третьим входами устройства формирования синхроимпульсов развертки соответственно.
РИСУНКИ
|
|