|
|
(21), (22) Заявка: 2004130245/28, 12.10.2004
(24) Дата начала отсчета срока действия патента:
12.10.2004
(45) Опубликовано: 10.02.2006
(56) Список документов, цитированных в отчете о поиске:
SU 1659816 A1, 30.06.1991. RU 2051379 C1, 27.12.1995. SU 399772 A, 24.01.1974. EP 0419873 A2, 03.04.1991.
Адрес для переписки:
302020, г.Орел, Наугорское ш., 29, ОрелГТУ
|
(72) Автор(ы):
Коренев Максим Николаевич (RU)
(73) Патентообладатель(и):
Государственное образовательное учреждение высшего профессионального образования “Орловский государственный технический университет” (ОрелГТУ) (RU)
|
(54) СПОСОБ ОПРЕДЕЛЕНИЯ АНИЗОТРОПИИ БИМЕТАЛЛИЧЕСКИХ МАТЕРИАЛОВ
(57) Реферат:
Изобретение относится к теплофизике. В способе определения анизотропии биметаллических материалов, включающем нагрев исследуемого образца, выполненного в виде диска, измерения проводят в точках на верхней поверхности и в точках на нижней поверхности образца при помощи двух одинаковых искусственных дифференциальных термопар и четырех полуискусственных дифференциальных термопар при помощи вольтметров, включенных в цепи шести дифференциальных термопар. По установленным зависимостям определяют разность температур в двух точках на границе раздела слоев, а также коэффициент термоэлектрической чувствительности верхнего и нижнего слоев, путем поворота образца на некоторый угол относительно центра нагрева при неизменном положении системы термопар проводят зондирование поверхностей образца по окружности, а об анизотропии свойств судят по вариации найденных параметров. Технический результат – увеличение получаемых информативных параметров двухслойных проводящих материалов. 3 ил. 
Изобретение относится к теплофизике и может быть использовано для контроля как теплофизических, так и термоэлектрических свойств анизотропных биметаллических материалов.
Известен способ определения теплофизических характеристик анизотропных материалов, заключающийся в нагреве исследуемого образца в форме слоя неподвижным нормально распределенным источником тепла, а измерение температуры проводят на верхней и нижней поверхностях пластины на фиксированном расстоянии от центра, а также в центре пятна нагрева в фиксированные моменты времени по двум взаимно перпендикулярным направлениям, после чего по измеренным данным определяют искомые теплофизические характеристики с помощью установленных математических зависимостей.
Недостатком указанного способа является невозможность применения его к двухслойным материалам, так как данный способ не позволяет определить теплофизические характеристики на границе раздела слоев.
Задача, на решение которой направлено изобретение, состоит в увеличении получаемых информативных параметров анизотропии биметаллических материалов термоэлектрическим методом.
Это достигается тем, что в способе определения анизотропии биметаллических материалов, включающем нагрев исследуемого образца, установку датчиков на верхней и нижней поверхностях образца на фиксированном расстоянии от центра нагрева, нагрев осуществляют путем пропускания электрического тока через центр образца, выполненного в виде диска, измерения проводят после установления стационарного теплового режима в образце, в двух точках на верхней поверхности и в двух точках на нижней поверхности образца, причем точки расположены строго друг под другом и лежат на луче, исходящем из центра нагрева, при помощи двух одинаковых искусственных дифференциальных термопар, установленных в этих точках на противоположных поверхностях образца, и четырех полуискусственных дифференциальных термопар, две из которых образованы одноименными электродами каждой из искусственных дифференциальных термопар и слоем образца, на котором они установлены, а другие две образованы образцом и другими одноименными противолежащими электродами, принадлежащими разным искусственным дифференциальным термопарам, при помощи вольтметров, включенных в цепи шести дифференциальных термопар, регистрируют в них значения термоЭДС, по установленным зависимостям определяют разность температур в двух точках на границе раздела слоев, а также коэффициент термоэлектрической чувствительности верхнего и нижнего слоев для данного положения образца, путем поворота образца на некоторый угол относительно центра нагрева при неизменном положении системы термопар проводят зондирование поверхностей образца по окружности, результатом измерений является затабулированный массив значений определяемых параметров в зависимости от угла поворота образца, отсчитываемого от первоначального положения, а об анизотропии свойств судят по вариации найденных параметров.
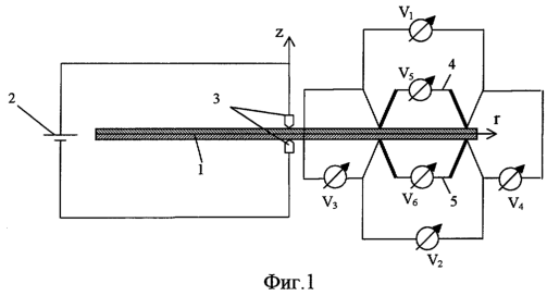
Сущность изобретения поясняется чертежами. На фиг.1 схематично показана установка, реализующая предлагаемый способ; на фиг.2 – вид сверху, с указанием условных окружностей, по которым производится зондирование; на фиг.3 – расчетная схема.
Установка содержит образец 1, источник постоянного тока 2, контакты 3, искусственные дифференциальные термопары 4, 5, вольтметры V1, V2, V3, V4, V5, V6.
Способ осуществляют следующим образом.
С двух противоположных сторон, в центре образца 1, выполненного в виде биметаллического диска радиуса Rd, устанавливают контакты 3, при помощи источника постоянного тока 2 образец нагревают путем пропускания через него электрического тока. Измерения проводят после установления в образце стационарного режима теплообмена, о чем судят по установившимся показаниям вольтметров.
На верхнюю и нижнюю поверхности образца, строго друг под другом, на фиксированном расстоянии от центра нагрева устанавливают две одинаковые искусственные дифференциальные термопары 4, 5, при этом точки контакта на верхней и нижней поверхностях образца удалены от центра нагрева на расстояние r0 и r1. Регистрируют показания вольтметров.
Если термоэлектрическая способность электродов термопар Sp1 и Sp2, верхнего слоя образца Sa, а нижнего слоя Sb, то термоЭДС, возникающая вследствие наличия градиента температур на поверхностях и в теле образца, регистрируемая вольтметрами V1, V2, V3, V4, V5, V6, будет соответственно определяться по формулам






где T0, T1 – температуры точек измерения на верхней поверхности образца;
, – температуры точек измерения на нижней поверхности образца;
, – температуры точек измерения на границе слоев;
еi – показание i-го вольтметра, i=1…6.
Из уравнений (1), (2), (5), (6) находим


Вычитая из уравнения (3) уравнение (4) и выражая , получим

Путем поворота образца не некоторый угол относительно центра нагрева при неизменном положении системы термопар проводят зондирование поверхностей образца по окружности. Результатом измерений является затабулированный массив значений определяемых параметров в зависимости от угла поворота образца, отсчитываемого от первоначального положения.
Об анизотропии материала судят по вариации коэффициента термоэлектрической чувствительности и разностей температур на границе раздела слоев биметалла в зависимости от направления.
Данный способ прост в реализации, может быть применен для контроля термоэлектрических и теплофизических характеристик двухслойных проводящих материалов.
Нагрев образца с помощью электрического тока позволяет легко задавать и изменять тепловые режимы в образце, а также обеспечивает более выгодную тепловую картину за счет выделения энергии внутри образца. Зондирование образца позволяет получить необходимую точность определения параметров материла за счет многократных измерений.
Источник информации
1. А.С. СССР №1659816, кл. G 01 N 25/18.
Формула изобретения
Способ определения анизотропии биметаллических материалов, включающий нагрев исследуемого образца, установку датчиков на верхней и нижней поверхностях образца на фиксированном расстоянии от центра нагрева, отличающийся тем, что нагрев осуществляют путем пропускания электрического тока через центр образца, выполненного в виде диска, измерения проводят после установления стационарного теплового режима в образце в двух точках на верхней поверхности и в двух точках на нижней поверхности образца, причем точки расположены строго друг под другом и лежат на луче, исходящем из центра нагрева, при помощи двух одинаковых искусственных дифференциальных термопар, установленных в этих точках на противоположных поверхностях образца, и четырех полуискусственных дифференциальных термопар, две из которых образованы одноименными электродами каждой из искусственных дифференциальных термопар и слоем образца, на котором они установлены, а другие две образованы образцом и другими одноименными противолежащими электродами, принадлежащими разным искусственным дифференциальным термопарам, при помощи вольтметров, включенных в цепи шести дифференциальных термопар, регистрируют в них значения термо-ЭДС, по установленным зависимостям определяют разность температур в двух точках на границе раздела слоев, а также коэффициент термоэлектрической чувствительности верхнего и нижнего слоев для данного положения образца, путем поворота образца на некоторый угол относительно центра нагрева при неизменном положении системы термопар проводят зондирование поверхностей образца по окружности, результатом измерений является затабулированный массив значений определяемых параметров в зависимости от угла поворота образца, отсчитываемого от первоначального положения, а об анизотропии свойств судят по вариации найденных параметров.
РИСУНКИ
MM4A – Досрочное прекращение действия патента СССР или патента Российской Федерации на изобретение из-за неуплаты в установленный срок пошлины за поддержание патента в силе
Дата прекращения действия патента: 13.10.2006
Извещение опубликовано: 20.06.2008 БИ: 17/2008
|
|