|
|
(21), (22) Заявка: 2004111588/02, 15.04.2004
(24) Дата начала отсчета срока действия патента:
15.04.2004
(45) Опубликовано: 10.02.2006
(56) Список документов, цитированных в отчете о поиске:
SU 1818516 А, 30.05.1993. RU 2105947 C1, 27.02.1998. RU 2129354 C1, 27.04.1999. US 4391197 A, 05.07.1983.
Адрес для переписки:
141300, Московская обл., г. Сергиев Посад, ул. Железнодорожная, 22, Внедренческое научно-исследовательское инновационное предприятие “Дарг”
|
(72) Автор(ы):
Несмеянов Павел Артемьевич (RU), Дубинин Борис Николаевич (RU), Сапега Дина Дмитриевна (RU), Рыбалко Анатолий Николаевич (RU), Ланцов Александр Васильевич (RU), Дьяченко Юрий Дмитриевич (RU), Корнеев Виктор Петрович (RU), Резников Михаил Сергеевич (RU), Поносов Владимир Степанович (RU), Зюкин Александр Николаевич (RU)
(73) Патентообладатель(и):
Общество с ограниченной ответственностью Внедренческое научно-исследовательское инновационное предприятие “Дарг” (RU)
|
(54) ГЕНЕРАТОР АЭРОЗОЛЯ ДЛЯ ВОЗДЕЙСТВИЯ НА ОБЛАКА
(57) Реферат:
Изобретение относится к пиротехническим средствам, а именно к боеприпасам для доставки и внесения в облако веществ, оказывающих активное воздействие на микроструктуру облака с целью вызывания осадков. Вещество в облако вводится в виде аэрозоля, образующегося в результате сгорания пиротехнического состава, содержащего льдообразующее вещество. Генератор состоит из гильзы с системой воспламенения и пироэлемента с льдообразующим составом. На гильзу установлена диафрагмирующая втулка с отверстием, обеспечивающим отношение площади поверхности горения пироэлемента к площади отверстия от 10 до 50. Пироэлемент установлен в гильзу с зазором, а система воспламенения состоит из контактной втулки, соединенной проводами с электровоспламенителем. Контактная втулка и электровоспламенитель расположены с противоположных торцов пироэлемента, а провода расположены в зазоре между гильзой и пироэлементом. Между электровоспламенителем и диафрагмирующей втулкой установлен кружок с отверстиями, выполненный из сгораемого материала. Предложенный генератор обеспечивает время создания шлейфа активного дыма около 90 секунд (при скорости полета самолета около 300 км/ч), длину шлейфа около 7 км и равномерное поступление активного аэрозоля в облако. 1 ил. 
Изобретение относится к пиротехническим средствам, а именно к боеприпасам для доставки и внесения в облако веществ, оказывающих активное воздействие на микроструктуру облака с целью вызывания осадков. Вещество в облако вводится в виде аэрозоля, образующегося в результате сгорания пиротехнического состава, содержащего льдообразующее вещество.
Известны различные устройства для активных воздействий на облака, состоящие из гильзы с капсюльной втулкой, пороховым зарядом и снарядом, содержащем взрыватель и шашку взрывчатого вещества с льдообразующим веществом. Недостатком данных устройств является низкая эффективность воздействия на облако, т.к. в результате взрывчатого превращения происходит локальное распределение льдообразующего вещества в облаке.
Наиболее близким техническим решением является пиротехнический патрон для стимулирования осадков (патент РФ №2105947, F 42 B 4/02). Патрон состоит из гильзы с капсюлем-воспламенителем, в которой размещены вышибной пороховой заряд и пироэлемент с льдообразующим веществом (йодистым серебром). Капсюль-воспламенитель с вышибным пороховым зарядом представляют собой систему воспламенения заряда пироэлемента. Патрон отстреливают с самолета в облачную среду. В результате работы патрона в облачном слое образуется шлейф активного дыма, при взаимодействии которого с облачной средой формируется необходимый эффект осадкообразования. Данный патрон позволяет (согласно описанию изобретения) повысить эффективность воздействия за счет повышения дальности полета, т.е. увеличить время воздействия на облако.
Однако траектория движения любого тела, летящего в воздухе, представляет собой нисходящую часть параболы, т.е. патрон после выстрела как бы «прошивает» облако. Следовательно, время активного воздействия на облака сравнительно невелико. Согласно имеющимся сведениям данный патрон при полете на расстояние 2-3 км работает около 30 секунд.
Задачей данного изобретения является создание устройства для воздействия на облака, позволяющего повысить эффективность воздействия за счет увеличения времени действия (времени создания шлейфа активного дыма, оказывающего воздействие на облако).
Указанная задача решается тем, что в генераторе аэрозоля для воздействий на облака, состоящем из гильзы с системой воспламенения и пироэлемента с льдообразующим составом, на гильзу установлена диафрагмирующая втулка с отверстием, обеспечивающим отношение площади поверхности горения пироэлемента к площади отверстия втулки от 10 до 50. Пироэлемент установлен в гильзу, с зазором, а система воспламенения состоит из контактной втулки, соединенной проводами с электровоспламенителем. Контактная втулка и электровоспламенитель расположены с противоположных торцов пироэлемента, а провода расположены в зазоре между гильзой и пироэлементом. Между электровоспламенителем и диафрагмирующей втулкой установлен кружок с отверстиями, выполненный из сгораемого материала.
Существенными отличительными признаками данного изобретения являются:
– установка на гильзу диафрагмирующей втулки с отверстием, обеспечивающим отношение площади поверхности горения пироэлемента (начальной – конечной) к площади отверстия втулки от 10 до 50;
– установка пироэлемента в гильзу с зазором;
– выполнение системы воспламенения из контактной втулки, соединенной проводами с электровоспламенителем;
– расположение проводов, соединяющих контактную втулку с электровоспламенителем, и зазоре между гильзой и пироэлементом;
– установка кружка с отверстиями, выполненного из сгораемого материала, между электровоспламенителем и диафрагмирующей втулкой.
В совокупности данные признаки позволяют повысить эффективность воздействия за счет увеличения времени создания шлейфа активного дыма (времени действия) и равномерное его поступление в облако.
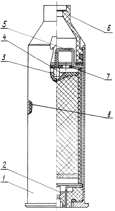
На чертеже показан общий вид генератора. Изделие состоит из гильзы 1, контактной втулки 2, электровоспламенителя 3 и пироэлемента 4. Пироэлемент установлен в гильзу с зазором, в котором расположены провода 5. На гильзу установлена диафрагмирующая втулка 6 с отверстием, которое обеспечивает степень диафрагмирования от 10 до 50. Между электровоспламенителем и диафрагмирующей втулкой находится кружок с отверстиями 7, выполненный из сгораемого материала, например картона. Пироэлемент может быть заключен в теплоизоляционную оболочку 8.
Работа генератора осуществляется следующим образом. Генератор устанавливается в кассетное пусковое устройство самолета или вертолета. Во время полета при подаче тока на контактную втулку срабатывает электровоспламенитель, который воспламеняет пироэлемент. Наличие кружка из сгораемого материала обеспечивает необходимый подпор давления для надежного горения пироэлемента в первоначальный момент времени. При горении пироэлемента образуется аэрозоль, который через диафрагмирующую втулку выходит в облачную среду и оказывает эффект осадкообразования.
Предложенный генератор аэрозоля для воздействий на облака обеспечивает время создания шлейфа активного дыма около 90 секунд (при скорости полета самолета около 300 км/ч), длину шлейфа около 7 км и равномерное поступление активного аэрозоля в облако.
Формула изобретения
Генератор аэрозоля для воздействий на облака, содержащий гильзу с системой воспламенения и пироэлемент с составом активного действия, отличающийся тем, что на гильзу установлена диафрагмирующая втулка с отверстием, обеспечивающим отношение площади поверхности горения пироэлемента к площади отверстия втулки от 10 до 50, пироэлемент установлен в гильзу с зазором, а система воспламенения состоит из контактной втулки, соединенной проводами с электровоспламенителем, при этом контактная втулка и электровоспламенитель расположены с противоположных торцов пироэлемента, а провода расположены в зазоре между гильзой и пироэлементом, а между электровоспламенителем и диафрагмирующей втулкой установлен кружок с отверстиями, выполненный из сгораемого материала.
РИСУНКИ
|
|