|
|
(21), (22) Заявка: 2004124410/06, 10.08.2004
(24) Дата начала отсчета срока действия патента:
10.08.2004
(45) Опубликовано: 10.02.2006
(56) Список документов, цитированных в отчете о поиске:
RU 2209378 С2, 27.03.2003. RU 2206835 С2, 20.06.2003. RU 2102654 C1, 20.01.1998. SU 1401228 A, 07.06.1988. GB 1544169 A, 17.08.1976.
Адрес для переписки:
630090, г.Новосибирск, пр. Акад. Лаврентьева, 5, Институт катализа им. Г.К. Борескова, патентный отдел, Т.Д. Юдиной
|
(72) Автор(ы):
Кузин Николай Алексеевич (RU), Кириллов Валерий Александрович (RU), Киреенков Виктор Викторович (RU), Кузьмин Валерий Александрович (RU), Ермаков Юрий Павлович (RU), Бобрин Александр Сергеевич (RU), Захарченко Владимир Борисович (RU)
(73) Патентообладатель(и):
Институт катализа им. Г.К. Борескова Сибирского отделения Российской Академии наук (RU)
|
(54) КАТАЛИТИЧЕСКИЙ ВОДОГРЕЙНЫЙ КОТЕЛ
(57) Реферат:
Изобретение предназначено для нагрева воды и может быть использовано для автономного водяного отопления и круглогодичного горячего водоснабжения. Каталитический водогрейный котел состоит из генератора синтез-газа, узлов смешения природного газа с первичным воздухом и синтез-газа со вторичным воздухом и каталитического теплообменника. Каталитический теплообменник представляет собой набор каталитических теплообменных панелей, охлаждаемых снаружи водой, а внутри имеющих каталитический слой в виде гофрированных и плоских лент, образующих каналы, размер гофр увеличивается от входа к выходу из каталитического теплообменника по ходу движения синтез-газа. Изобретение обеспечивает экологически чистое окисление углеводородных газов. 6 з.п.ф-лы, 3 ил. 
Изобретение относится к энергетике, а именно к технике генерирования тепловой энергии на принципе нагрева воды посредством двухступенчатого окисления природного газа, и может быть использовано для автономного водяного отопления и круглогодичного горячего водоснабжения бытовых и производственных помещений.
Основной тенденцией в современных разработках бытовых водогрейных котлов является создание устройств с повышенной эффективностью преобразования энергии и значительным снижением экологически опасных выбросов по СО и NOx. Одним из вариантов достижения таких целей является применение в водогрейных котлах катализаторов в комбинациях с пламенньм сжиганием либо в чисто каталитическом варианте.
Так, в настенных котлах Eurola используют модулируемые матриксные радиационно-каталитические горелки, обеспечивающие содержание оксидов азота и углерода NOx 9 мг/кВт·ч (18,5 мг/м3), CO 17 мг/кВт·ч (8,2 мг/м3) [Ein echter Heizkessel fur die Wand extrem schadstoffarm durch Matrix-Strahlungsbrenner. Реклама фирмы «Viessman» котла Eurola]. Максимальный диапазон регулирования мощности 1:2,25, масса котла в расчете на кВт генерируемой мощности составляет около 3-5 кг/кВт. Котел Eurola с каталитическим нанесенным слоем на матричную горелку и со сферической поверхностью нагрева, выполненной из высоко качественной стали, имеет за счет конденсационной ступени КПД 108%. Несмотря на высокий уровень автоматизации и высокий КПД котла, наличие пламенного сжигания приводит к неустранимым выбросам окислов азота и накладывает экологические ограничения на их использование внутри помещения.
Известно применение катализаторов в водогрейным котле в виде двух металлических монолитных блоков (S. R. Vaillant, A.S. Gastec, Catalysis Today, 47 (1999), 415-420). В концевой части первого блока нанесен катализатор, длина нанесенного слоя несколько миллиметров. В первом блоке конвертируется около 50% метана, а его остальная часть окисляется во втором блоке. В случае дезактивации катализатора первый блок может работать как радиационная горелка. В данном водогрейном котле для съема тепла кроме традиционного теплообменника над первым блоком используют дополнительно теплообменник за вторым блоком.
В водогрейном котле, выбранном в качестве прототипа (Пат. RU 2209378, F 24 H 1/00, 27.09.2001), генерацию тепла для нагрева воды осуществляют с помощью двух основных аппаратов: генератора синтез-газа и каталитического теплообменника, позволяющих провести окисление природного газа в две стадии. На первой стадии – в генераторе синтез-газа – осуществляют каталитическое парциальное окисление природного газа до синтез-газа с предварительным нагревом воды, а на второй стадии – в каталитическом теплообменнике – синтез-газ окисляют до конечных продуктов – диоксида углерода и воды и осуществляют нагрев воды до требуемой температуры. Каталитический теплообменник устроен таким образом, что подлежащая нагреву вода движется внутри панелей, а структурированный катализатор находится в пространстве между панелями. Катализатор выполнен в виде плоских и гофрированных лент, образующих каталитически активные каналы, и спечен с внешними стенками панелей. Данное обстоятельство и наличие радиальной теплопроводности на уровне 2-4 Вт/мК обеспечивает интенсивный перенос тепла от слоя катализатора к протекающей в панелях воде.
Опыт эксплуатации данного устройства показал следующие недостатки. Поскольку вода, подлежащая нагреву, внутрь панелей подается под давлением (около 6 МПа), то при работе теплообменника стенки панелей деформируются и сжимают каталитический слой, приводя к нарушению структуры каналов, в которых происходит окисление синтез-газа. В результате возникают неоднородности в распределении температур между панелями и по их длине. Катализатор подвергается необратимым изменениям, и экологические показатели котла также резко ухудшаются. Нарушение структуры каналов приводит к увеличению гидравлического сопротивления и возникновению различного перепада давлений в каналах между панелями, что также способствует увеличению температурных неоднородностей. Изготовление водоохлаждаемых панелей из более толстого металла приводит к утяжелению конструкции и не устраняет указанный выше недостаток. Следующий недостаток связан со сложностью герметизации и теплоизоляции боковых торцов газовых каналов в условиях деформации панелей.
Изобретение решает задачу эффективного и экологически чистого окисления природного газа для получения тепла.
Одним из вариантов устранения указанных недостатков является усовершенствование конструкции каталитического теплообменника, посредством перехода к варианту типа кипятильника. В этом случае катализатор размещают внутри панелей, куда подают синтез-газ вместе с воздухом для осуществления реакции окисления, а жидкость, подлежащая нагреву, движется в пространстве между панелями.
Водогрейный котел состоит из генератора синтез-газа, узлов смешения природного газа с первичным воздухом и синтез-газа со вторичным воздухом и каталитического теплообменника, представляющего собой набор каталитических теплообменных панелей, охлаждаемых снаружи водой, а внутри имеющих каталитический слой в виде гофрированных и плоских лент, образующих каналы диаметром, увеличивающимся по ходу движения синтез газа, и секционно-расположенных по высоте теплообменника с шириной гофр, равной ширине панели.
Водогрейный котел для обеспечения равномерного распределения газовоздушной смеси по каталитическим панелям и одновременного предупреждения проскока пламени в зону смешения оборудован на входе в каталитический теплообменник слоем инертного зернистого материала.
В качестве катализатора в каталитическом теплообменнике используют армированный пористый материал, содержащий в качестве активных компонентов соединения родия, никеля, платины, палладия, железа, кобальта, рения, рутения или их смесь.
Поставленная задача решается путем следующих изменений в конструкции котла.
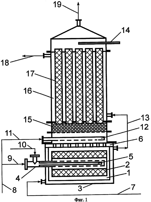
Принципиальная схема каталитического водогрейного котла представлена на Фиг1.
Котел состоит из генератора синтез-газа 1, в состав которого входят слой катализатора 2, водоохлаждаемый корпус 3, газораспределительное устройство 4, система запуска генератора 5, газораспределительная решетка 6, трубопроводы 7, 8, 9, 10, 13, 18, 19, камера для смешения со вторичным воздухом 11. Камера смешения 11 состоит из узла смешения 12, слоя инертного материала 15, расположенного на входе в каталитический теплообменник и служащего возможным пламегасителем. Каталитический теплообменник состоит из плоских панелей 17, внутри которых расположен слой структурированного катализатора, спеченного с металлическими стенками панелей. На выходе из каталитического теплообменника расположено устройство поджига 14 смеси синтез-газа с воздухом при запуске котла. Пространство 16 – пространство между панелями каталитического теплообменника.
Каталитический водогрейный котел работает следующим образом.
Воздух в водогрейный котел подают по общему трубопроводу 8 и затем делят на два потока 9 и 11. Первичный воздух по трубопроводу 9 вместе с природным газом по трубопроводу 10 подают в газораспределительную трубку 4, а из нее в слой катализатора 2. В слое катализатора происходит реакция парциального окисления природного газа с образование синтез-газа. Полученный при температуре 800-950°С синтез-газ после охлаждения в водоохлождаемом корпусе 3 до температуры 120-130°С через газораспределительную решетку 6 поступает в камеру для смешения со вторичным воздухом 11. Камера смешения состоит из узла смешения 12, слоя инертного материала 15, расположенного на входе в каталитический теплообменник и служащего возможным пламегасителем. Каталитический теплообменник состоит из плоских панелей 17, внутри которых расположен слой структурированного катализатора, спеченного с металлическими стенками панелей. Подлежащая нагреву вода поступает из корпуса генератора синтез-газа по трубопроводу 13 в пространство 16 между панелями каталитического теплообменника и выходит из него по трубопроводу 18 после нагрева. На выходе из каталитического теплообменника расположено устройство поджига 14 смеси синтез-газа с воздухом при запуске котла. Продукты окисления синтез-газа по трубопроводу 19 удаляют в окружающую среду.
Таким образом, генерацию тепла для нагрева воды осуществляют в водогрейном котле с помощью генератора синтез-газа и каталитического теплообменника, позволяющих провести окисление природного газа в две стадии. На первой стадии – в генераторе синтез-газа – осуществляют каталитическое парциальное окисление природного газа до синтез-газа и происходит предварительный нагрев воды, а на второй стадии – в каталитическом теплообменнике – синтез-газ окисляют до конечных продуктов сжигания – диоксида углерода и воды и осуществляют нагрев воды до требуемой температуры.
В предлагаемом изобретении конструкция генератора синтез-газа выбрана такой же, как в прототипе, а именно генератор синтез-газа представляет собой реактор радиального типа, содержащий газораспределительную трубку с каталитическим слоем, выполненным в виде газопроницаемых плоских и гофрированных армированных лент, навитых и спеченных с газораспределительной трубкой с зазорами между витками с образованием газовоздушных каналов между лентами, имеющий устройство подогрева для запуска реактора в работу, содержащий газораспределительную трубку с диаметром отверстий перфорации, меньшим критического диаметра, для предотвращения проникновения пламени внутрь газораспределительной трубки, содержащее газопроницаемые теплоизолирующие экраны и помещенный в водоохлаждаемый корпус.
В качестве катализатора в генераторе синтез-газа используют армированный металлопористый материал, содержащий в качестве активных компонентов соединения родия, никеля, платины, палладия, железа, рения, рутения или их смесь.
Каталитический теплообменник может быть реализован в виде набора плоских каталитических теплообменных панелей, размещенных в металлическом кожухе над генератором синтез-газа.
Принципиальная схема каталитического теплообменника, реализованного на основе каталитических плоских водоохлаждаемых панелей, представлена на Фиг.2. Каталитическая панель состоит из двух пластин 20, образующих параллелепипед, внутри которого расположен структурированный металлопористый катализатор 21.
На Фиг.3 изображен разрез по А-А каталитической панели. Катализатор состоит из плоских и гофрированных каталитически активных лент 22, 23, 24, 25, образующих канальчатую структуру слоя катализатора. Диаметр канала определяется размером гофра каталитически активной ленты и непрерывно увеличивается от 1,5 мм до 3 мм от входа к выходу из каталитического теплообменника по ходу движения синтез-газа. Плоские и гофрированные ленты укладывают в панели секционно таким образом, что ширина гофра равна ширине панели, а их общая длина каналов соответствует длине панели. Такая структура слоя позволяет устранить неоднородности течения по каналам панели и существенно интенсифицировать процессы тепломассопереноса в каналах в связи с интенсивным перемешиванием смеси по ширине панели.
В отличие от прототипа (Пат. RU 2209378, F 24 H 1/00, 27.09.2001) каталитический теплообменник выполнен в виде набора каталитических теплообменных панелей, размещенных в пространстве (объеме) 16 (Фиг.1) циркулирующей воды. Газовоздушная смесь проходит через каталитические панели снизу вверх. Катализатор в виде гофрированных и плоских лент, образующих каналы диаметром, увеличивающимся по ходу движения синтез газа, и секпионно-расположенных по высоте теплообменника с разрывами между секциями находится внутри панелей и спечен со стенками. Для обеспечения равномерного распределения газовоздушной смеси по каталитическим панелям и одновременного предупреждения проскока пламени в зону смешения последняя отделена от каталитического теплообменника слоем инертного зернистого материала, состоящего из шариков оксида алюминия диаметром 2-2 мм. Воду на охлаждение панелей подают снизу теплообменника после генератора синтез-газа, и она выходит в верхней части котла. Для запуска второй ступени котла в верхней части каталитического теплообменника установлено устройство запуска 14 (Фиг.1). В предложенной конструкции второй ступени котла реализован естественный «принцип кипятильника», в роли которого выступают каталитические слои 17, помещенные внутри полых пластин. Гидравлическое сопротивление второй ступени и котла в целом в такой конструкции остается стабильным и не изменяется в процессе работы котла при заданном режиме.
Принцип работы разработанного котла аналогичный указанному в Пат. RU 2209378, F 24 H 1/00, 27.09.2001 и заключается в каталитическом окислении природного газа, осуществляемого по двухстадийной схеме, где на первой стадии в генераторе синтез-газа осуществляют каталитическое окисление природного газа при недостатке кислорода в синтез-газ, а на второй стадии в каталитическом теплообменнике после ввода дополнительного количества кислорода воздуха осуществляют полное окисление синтез-газа с получением диоксида углерода и воды.
Сущность изобретения иллюстрируется следующими примерами.
Пример 1.
На котел с каталитическими теплообменными панелями подают природный газ состава, об.%: метан – 97,46, этан – 1,11, пропан – 0,37, дизобутан – 0,06, бутан – 0,06, пентан – 0,02. Номинальный расход (см3/сек): газа -150; воздуха на получение синтез-газа – 600; воздуха на окисление синтез-газа – 1200; воды на нагрев – 20. Давление: газовоздушной смеси на входе в котел – 350 Па; воды в отопительной системе – 1,8 кг/см2.
В результате работы котла получают:
| – время выхода на номинальный режим, мин |
6 |
| – номинальная теплопроизводительность, кВт |
5,5 |
– температура, °С:
| – синтез-газа на выходе из генератора |
990-710 |
| – газовоздушной смеси на входе в |
|
| каталитический теплообменник |
90 |
| – воды на входе в |
|
| каталитический теплообменник |
20 |
| – воды на выходе из |
|
| каталитического теплообменника |
80 |
– содержание в отходящих газах, ppm
| – монооксида углерода |
0-1 |
| – метана |
0-2 |
| – оксидов азота |
0-1 |
| – диоксида углерода |
9,3% |
| – кислорода |
4,8% |
– эффективность преобразования энергии 97%
Пример 2.
На котел с каталитическими теплообменными панелями подают природный газ того же состава, что и примере 1. Номинальный расход, см3/сек: газа – 300; воздуха на получение синтез-газа – 1100; воздуха на окисление синтез-газа – 1900; воды на нагрев – 38. Давление: газовоздушной смеси на входе в котел – 700 Па; воды в отопительной системе – 1,8 кг/см2.
В результате работы котла получают:
| – время выхода на номинальный режим, мин |
6 |
| – номинальная теплопроизводительность, кВт |
11,1 |
– температура, °С:
| – синтез-газа на выходе из генератора |
1000-760 |
| – газовоздушной смеси на входе в |
|
| каталитический теплообменник |
90 |
| – воды на входе в каталитический теплообменник |
20 |
| – воды на выходе из каталитического теплообменника |
86 |
– содержание в отходящих газах, ppm
| – монооксида углерода |
2-3 |
| – метана |
0-1 |
| – оксидов азота |
0-1 |
| – диоксида углерода |
8,8% |
| – кислорода |
4,6% |
– эффективность преобразования энергии 94%
Пример 3.
На котел с каталитическими теплообменными панелями подают природный газ того же состава, что и примере 1. Номинальный расход, см3/сек: газа – 600; воздуха на получение синтез-газа – 2400; воздуха на окисление синтез-газа – 3800; воды на нагрев – 80. Давление: газовоздушной смеси на входе в котел – 1200 Па; воды в отопительной системе – 1,8 кг/см2.
В результате работы котла получают:
| – время выхода на номинальный режим, мин |
6 |
| – номинальная теплопроизводительность, кВт |
22,2 |
– температура, °С:
| – синтез-газа на выходе из генератора |
1000-910 |
| – газовоздушной смеси на входе в |
|
| каталитический теплообменник |
90 |
| – воды на входе в каталитический теплообменник |
20 |
| – воды на выходе из каталитического теплообменника |
82 |
– содержание в отходящих газах, ppm
| – монооксида углерода |
4-6 |
| – метана |
0-1 |
| – оксидов азота |
1-2 |
| – диоксида углерода |
9,7% |
| – кислорода |
3,2% |
– эффективность преобразования энергии 98%
Предлагаемое изобретение позволяет создать водогрейный котел мощностью 5-25 кВт. Водогрейный котел, использующий для получения тепла принцип двухстадийного каталитического окисления природного газа, а также других углеводородных газов, обеспечивает экологически чистое окисление углеводородных газов так, что содержание СО в отходящих газах соответствует концентрации не более 6 ppm, метана – не более 2 ppm при отсутствии оксидов азота. Изобретение может быть использовано для автономного водяного отопления и круглогодичного горячего водоснабжения бытовых и производственных помещений.
Формула изобретения
1. Каталитический водогрейный котел, состоящий из генератора синтез-газа, узлов смешения природного газа с первичным воздухом и синтез-газа со вторичным воздухом, и каталитического теплообменника, отличающийся тем, что каталитический теплообменник представляет собой набор каталитических теплообменных панелей, охлаждаемых снаружи водой, а внутри имеющих каталитический слой в виде гофрированных и плоских лент, образующих каналы, размер гофр увеличивается от входа к выходу из каталитического теплообменника по ходу движения синтез-газа.
2. Каталитический водогрейный котел по п.1, отличающийся тем, что ширина гофр равна ширине панели.
3. Каталитический водогрейный котел по п.1, отличающийся тем, что каталитические теплообменные панели расположены секционно по высоте теплообменника.
4. Каталитический водогрейный котел по п.1, отличающийся тем, что в качестве катализатора в каталитическом теплообменнике используют армированный пористый материал, содержащий в качестве активных компонентов соединения родия, никеля, платины, палладия, железа, кобальта, рения, рутения или их смесь.
5. Каталитический водогрейный котел по п.1, отличающийся тем, что генератор синтез-газа представляет собой реактор радиального типа, содержащий газораспределительную трубку с каталитическим слоем, выполненным в виде газопроницаемых плоских и гофрированных армированных лент, навитых и спеченных с газораспределительной трубкой, с зазорами между витками с образованием газовоздушных каналов между лентами, имеющий устройство подогрева для запуска реактора в работу, содержащий газораспределительную трубку с диаметром отверстий перфорации, меньшим критического диаметра, для предотвращения проникновения пламени внутрь газораспределительной трубки, содержащий газопроницаемые теплоизолирующие экраны и помещенный в водо-охлаждаемый корпус.
6. Каталитический водогрейный котел по п.5, отличающийся тем, что в качестве катализатора в генераторе синтез-газа используют армированный пористый материал, содержащий в качестве активных компонентов соединения родия, никеля, платины, палладия, железа, кобальта, рения, рутения или их смесь.
7. Каталитический водогрейный котел по п.1, отличающийся тем, что на входе в каталитический теплообменник расположен слой инертного зернистого материала.
РИСУНКИ
|
|