|
|
(21), (22) Заявка: 2004120406/06, 02.07.2004
(24) Дата начала отсчета срока действия патента:
02.07.2004
(45) Опубликовано: 10.02.2006
(56) Список документов, цитированных в отчете о поиске:
SU 1717908 А, 07.03.1993. RU 2200911 C1, 20.03.2003. RU 2231720 C1, 27.06.2004. RU 2231719 C1, 27.06.2004. DE 202004007326 U, 01.07.2004.
Адрес для переписки:
191123, Санкт-Петербург, ул. Захарьевская, 22, ВИТУ, бюро по изобретательству и патентной работе
|
(72) Автор(ы):
Евдомашко Дмитрий Евгеньевич (RU), Пинтюшенко Андрей Дмитриевич (RU), Герцман Лев Ефимович (RU)
(73) Патентообладатель(и):
Военный инженерно-технический университет (RU)
|
(54) ВОЗДУХОРАСПРЕДЕЛИТЕЛЬ
(57) Реферат:
Изобретение относится к области вентиляции воздуха. Воздухораспределитель содержит диффузорный корпус с выпускными отверстиями на его выходе, прикрепленный к воздуховоду, цилиндрический входной патрубок, выполненные на поверхности последнего эжектирующие окна, при этом цилиндрический входной патрубок снабжен охватывающей его эластичной манжетой, жестко прикрепленной одним своим краем к входному патрубку перед эжектирующими окнами с возможностью перемещения вдоль последних по ходу воздуха до их полного перекрытия или открытия, установленную во входном патрубке конфузорную вставку. Диффузорный корпус прикреплен к входному патрубку с помощью эластичной гофрированной вставки, а дно корпуса выполнено в виде пластины с выпускными отверстиями, при этом пластина жестко связана штоком с вибратором, размещенным внутри корпуса, закрепленным на стержнях к входному патрубку и соединенным электрически с генератором (регулятором) частоты и амплитуды вибрации. Предлагаемая конструкция воздухораспределителя позволяет осуществлять интенсивное затухание приточных струй воздуха в помещении благодаря использованию вибратора, а также обеспечивает импульсную подачу воздушных приточных струй в помещение за счет колебаний в режиме сжатия-разжатия гофрированной вставки из эластичного материала, кроме того, обеспечивается снижение перепада температур между приточными струями и воздухом помещения за счет подсоса к приточному воздуху воздуха из помещения через эжектирующие окна. 1 ил. 
Изобретение относится к области вентиляции воздуха и может быть использовано для раздачи приточного воздуха в помещениях различного назначения.
Известен воздухораспределитель (а.с. СССР №1560838, кл. F 24 F 13/06, 1987 г.), содержащий корпус с выпускными отверстиями на его выходе, прикрепленный к воздуховоду при помощи цилиндрического входного патрубка, выполненные на поверхности последнего эжектирующие окна, установленную во входном патрубке конфузорную вставку.
Недостатком такого воздухораспределителя является малоинтенсивное затухание скоростей приточных струй.
Известен воздухораспределитель (а.с. СССР №1717908, кл. F 24 F 13/06, 1991 г.) – ближайший аналог, содержащий корпус с выпускными отверстиями на его выходе, прикрепленный к воздуховоду цилиндрический входной патрубок, выполненные на поверхности последнего эжектирующие окна, установленную на входном патрубке конфузорную вставку, при этом корпус выполнен диффузорным и снабжен прикрепленным к его выходу дном с выпускными отверстиями, снабженными закручивателями воздуха, а параллельно дну внутри корпуса размещена перфорированная заслонка с возможностью поворота вокруг оси, причем дно корпуса и заслонка выполнены в виде сферических сегментов, обращенных выпуклостями к входному патрубку, а цилиндрический входной патрубок снабжен охватывающей его эластичной манжетой, жестко прикрепленной одним своим краем к входному патрубку перед эжектирующими окнами с возможностью перемещения вдоль последних по ходу воздуха и их перекрытия.
Недостатком такого воздухораспределителя является недостаточное затухание приточных струй, так как закручиватели не обеспечивают быстрое затухание воздушных струй после выхода их из устройства.
Целью заявляемого изобретения является создание воздухораспределителя, обеспечивающего высокую интенсивность затухания приточных струй воздуха в помещении.
Поставленная цель достигается за счет того, что в предлагаемой конструкции воздухораспределителя используется диффузорный корпус, прикрепленный к воздуховоду с помощью цилиндрического входного патрубка, а между входным патрубком и корпусом размещена эластичная гофрированная вставка, цилиндрический входной патрубок снабжен эжектрирующими окнами и эластичной манжетой, прикрепленной одним своим краем к входному патрубку перед эжектирующими окнами с возможностью перемещения вдоль последних до их перекрытия или открытия, во входном патрубке установлена конфузорная вставка, дно корпуса выполнено в виде пластины с выпускными отверстиями и жестко связано штоком с вибратором, размещенным внутри корпуса, закрепленным на стержнях к входному патрубку и соединенным электрически с генератором (регулятором) частоты и амплитуды вибрации.
Такая конструкция воздухораспределителя позволяет осуществлять импульсное истечение вибрирующих струй воздуха за счет колебаний дна (пластины), которые передаются также корпусу, находящемуся в корпусе воздуху и гофрированной эластичной вставке, заставляя ее работать в режиме сжатия-разжатия, что обеспечивает импульсную подачу вибрирующего воздуха в выпускные отверстия дна. В результате на выходе устройства возникают импульсы вибрирующих воздушных струй, которые интенсивно затухают в воздухе помещения, так как последующие импульсы догоняют предыдущие и, сталкиваясь с ними, повышают интенсивность затухания воздушных струй.
Таким образом, при реализации данного технического решения достигается технический результат, заключающийся в обеспечении интенсивного затухания приточных струй за счет организации импульсного истечения вибрирующих струй воздуха из предлагаемого устройства, при этом осуществляется снижение перепадов температур между воздухом помещения и приточным воздухом за счет подмешивания к приточному воздуху воздуха из помещения через эжектирующие окна.
Анализ аналогов показал, что заявляемое техническое решение является новым. Новизна решения заключается в применении дна (пластины) корпуса с выпускными отверстиями, жестко связанного штоком с вибратором, а также использовании гофрированной эластичной вставки, размещенной между корпусом и входным патрубком.
Таким образом, заявляемое техническое решение характеризуется новой совокупностью существенных признаков, дающих положительный эффект, и обладает признаками соответствия критерию «изобретательский уровень».
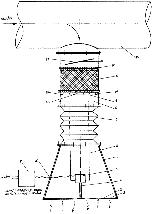
На чертеже изображен предлагаемый воздухораспределитель, содержащий диффузорный корпус 1 с дном (пластиной) 2, имеющей выпускные отверстия 3. Пластина 2 жестко связано штоком 4 с вибратором 5, размещенным в корпусе 1, закрепленным на стержнях 6, соединенным электрически с генератором (регулятором) 7 частоты и амплитуды вибрации.
Корпус 1 соединен с цилиндрическим входным патрубком 8 эластичной гофрированной вставкой 9. Входной патрубок 8 снабжен эжектирующими окнами 10 и эластичной манжетой 11, прикрепленной одним своим краем 12 к патрубку 8. Внутри патрубка 8 размещена конфузорная вставка 13, а также регулятор расхода воздуха (заслонка) 14. (Заслонка 14 в предмет изобретения не входит.) Патрубок 8 присоединен к магистральному воздуховоду 15. Регулятор частоты (генератор) соединен электрически с вибратором через закрепленный в корпусе 1 ввод 16. (Ввод 16 в предмет изобретения не входит.)
Воздухораспределитель работает следующим образом.
Воздух из воздуховода 15 через цилиндрический входной патрубок 8 и гофрированную вставку 9 нагнетается в корпус 1. При этом необходимый расход воздуха регулируется заслонкой 14. Воздух, проходя через конфузорную вставку 13, создает разрежение между краем конфузорной вставки 13 и стенкой входного патрубка 8, за счет этого через эжектирующие окна 10 подсасывается воздух из помещения, который подмешивается к приточному воздуху, изменяя его температуру. Количество подсасываемого из помещения воздуха можно регулировать путем частичного или полного перекрытия либо открытия эжектирующих окон эластичной манжетой 11, перемещая ее незакрепленный край вдоль эжектирующих окон 10 путем скатывания или раскатывания. При полном перекрытии окон 10 эластичной манжетой 11 осуществляется надежное прекращение подсоса воздуха из помещения. При этом за счет разрежения, создаваемого в зоне нижнего края конфузорной вставки 13, улучшается плотность прилегания эластичной манжеты 11 к поверхности патрубка 8. Выходящий из конфузорной вставки 13 воздух, смешанный с воздухом, подсосанным из помещения, попадает через гофрированную эластичную вставку 9 в корпус 1, где он несколько теряет скорость благодаря диффузорной форме корпуса 1. При этом (при включенном вибраторе 5) происходят колебания дна (пластины) 2 и корпуса 1, к которому прикреплена пластина 2, которые передаются воздуху, находящемуся в корпусе 1 и гофрированной эластичной вставке 9 (через корпус 1), которая начинает работать в режиме сжатия-разжатия с частотой, заданной генератором (регулятором 7), который регулирует как частоту, так и амплитуду колебаний пластины 2 и корпуса 1. В результате работы гофрированной вставки 9, колеблющейся в корпусе 1, воздух получает импульсные толчки и через выходные отверстия 3 пластины 2 проходят импульсы вибрирующих струй. Последующие импульсы догоняют предыдущие, сталкиваются с ними и способствуют тем самым быстрому затуханию воздушных струй в помещении. Частота и амплитуда оптимального режима колебаний регулируются генератором (регулятором) 7.
Предлагаемый воздухораспределитель является промышленно-применимым, так как не содержит в себе элементов, представляющих сложность при их изготовлении и монтаже.
Предлагаемый воздухораспределитель по принципу действия, обеспечиваемому новой совокупностью существенных признаков, позволяет осуществлять интенсивное затухание вибрирующих приточных струй воздуха в помещении благодаря импульсному их поступлению через выпускные отверстия и сталкиванию импульсов струй между собой. При этом обеспечивается также снижение перепадов температур между приточным воздухом и воздухом помещения за счет подсоса воздуха из помещения через эжектирующие окна и подмешивания его к приточному воздуху.
Формула изобретения
Воздухораспределитель, содержащий диффузорный корпус с выпускными отверстиями на его выходе, прикрепленный к воздуховоду цилиндрический входной патрубок, выполненные на поверхности последнего эжектирующие окна, при этом цилиндрический входной патрубок снабжен охватывающей его эластичной манжетой, жестко прикрепленной одним своим краем к входному патрубку перед эжектирующими окнами с возможностью перемещения вдоль последних по ходу воздуха до их полного перекрытия или открытия, установленную во входном патрубке конфузорную вставку, отличающийся тем, что диффузорный корпус прикреплен к входному патрубку с помощью эластичной гофрированной вставки, а дно корпуса выполнено в виде пластины с выпускными отверстиями, при этом пластина жестко связана штоком с вибратором, размещенным внутри корпуса, закрепленным на стержнях к входному патрубку и соединенным электрически с генератором (регулятором) частоты и амплитуды вибрации.
РИСУНКИ
MM4A – Досрочное прекращение действия патента СССР или патента Российской Федерации на изобретение из-за неуплаты в установленный срок пошлины за поддержание патента в силе
Дата прекращения действия патента: 03.07.2006
Извещение опубликовано: 10.04.2008 БИ: 10/2008
|
|