|
|
(21), (22) Заявка: 2002121909/06, 08.08.2002
(24) Дата начала отсчета срока действия патента:
08.08.2002
(43) Дата публикации заявки: 10.03.2004
(45) Опубликовано: 10.02.2006
(56) Список документов, цитированных в отчете о поиске:
RU 2116566 C1, 27.07.1998. RU 2033573 C1, 20.04.1995. SU 344222 A, 28.07.1972. SU 311095 A, 11.11.1971. EP 0156515 A2, 02.10.1985. US 5033956 A, 23.07.1991. FR 2038609 A, 08.01.1971.
Адрес для переписки:
455000, Челябинская обл., г. Магнитогорск, ул. Куйбышева, 22, ООО “СЛМ”
|
(72) Автор(ы):
Дудин Александр Иванович (RU), Романенков Валентин Валентинович (RU)
(73) Патентообладатель(и):
Дудин Александр Иванович (RU), Романенков Валентин Валентинович (RU)
|
(54) УСТРОЙСТВО ДЛЯ СЖИГАНИЯ ТОПЛИВА
(57) Реферат:
Изобретение относится к устройствам для сжигания жидкого топлива и может быть использовано для отопления помещений. Сущность изобретения заключается в том, что в устройстве для сжигания топлива, содержащем источник жидкого топлива, топливопровод и воздухоподающее устройство, топливопровод соединен с нижней частью камеры сжигания, внутри которой по стенке установлены стабилизаторы вращения топлива, верхняя часть камеры выполнена в виде крыльчатки и снабжена патрубком для подачи воздуха по центру вдоль оси камеры, над которым установлен рассекатель факела, а над камерой сгорания установлен теплообменник. Изобретение позволяет обеспечить полное сжигание отработанных нефтепродуктов без предварительной их подготовки, улучшение экологической обстановки, удешевление стоимости получаемого тепла, упрощение конструкции. 1 ил. 
Изобретение относится к энергетике, в частности к устройствам для сжигания жидкого топлива, и может быть использовано для отопления помещений.
Известна система для сжигания жидкого топлива, содержащая топлипровод, устройство для подачи испаренного топлива, жиклер, испарительную камеру, устройство для розжига, причем испарительная камера выполнена в виде двух или более вертикальных труб, соединенных в верхней и нижней частях коллекторами, нижний из которых соединен с топливопроводом, а верхний – с устройством для подачи испаренного топлива (Патент РФ №2118751, F 23 D 5/04, публ. БИ №25, 1998 г.).
Недостатком данной системы является сложность конструкции, невозможность использования отработанных нефтепродуктов без предварительной их подготовки, а следовательно, дороговизна процесса сжигания.
Известна испарительная горелка, содержащая сообщенный с источником жидкого топлива через патрубок испаритель, выполненный в виде вертикальной цилиндрической камеры, установленную под ним и подключенную к нему паротопливную форсунку, причем испаритель выполнен с внутренней стороны и наружной трубами, крышкой и дном со вставленным коаксиально в него с воздушным зазором паропроводом (Патент РФ №2116566, F 23 D 5/04, публ. БИ №21,1998 г.).
Недостатком данного устройства является невозможность использования отработанных нефтепродуктов без предварительной их подготовки из-за быстрого засорения системы, а также сложность конструкции.
Технической задачей изобретения является утилизация отработанных нефтепродуктов, т.е. использование в качестве сжигаемого топлива отработанных нефтепродуктов, что значительно удешевляет стоимость получаемого тепла, упрощение конструкции, а также улучшение экологической обстановки.
Для решения указанной задачи устройство для сжигания топлива, содержащее источник жидкого топлива, топливопровод и воздухоподающее устройство отличается тем, что топливопровод соединен с нижней частью камеры сжигания, внутри которой по стенке установлены стабилизаторы вращения топлива, верхняя часть камеры сжигания выполнена в виде крыльчатки и снабжена патрубком для подачи воздуха по центру вдоль оси камеры сгорания, над которым установлен рассекатель факела, а над камерой сжигания установлен теплообменник.
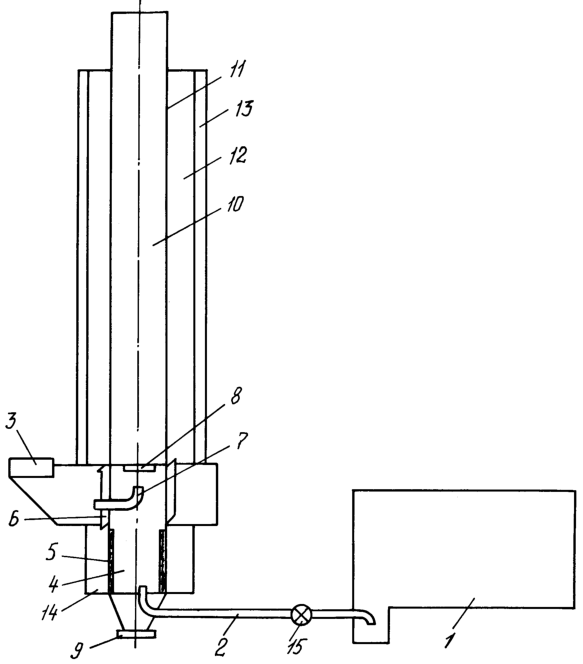
На чертеже представлен схематично общий вид предлагаемого устройства.
Устройство содержит источник жидкого топлива 1, соединенный с ним топливопровод 2, воздухоподающее устройство 3. Топливопровод 2 входит в нижнюю часть камеры сжигания 4, внутри которой по стенке расположены стабилизаторы вращения топлива 5. Камера для сжигания 4 в верхней части выполнена в виде крыльчатки 6 и снабжена патрубком для подачи воздуха по центру камеры 7, над которым установлен рассекатель факела 8. Внизу камера сжигания имеет съемное днище 9 для удаления накопившихся негорючих остатков. Над камерой сжигания установлен теплообменник 10, выполняющий функции – продолжение камеры сжигания, основного элемента теплопередачи и удаление продуктов сгорания. Теплообменник 10, установленный над камерой сгорания состоит из цилиндрической трубы 11, водяной рубашки 12 и утеплителя 13, служащего для уменьшения потерь тепла. Камера сжигания также снабжена водяной рубашкой 14. На топливопроводе 2 установлен запорный вентиль 15.
Устройство работает следующим образом. Из источника жидкого топлива 1 топливо (отработанные нефтепродукты) поступает по топливопроводу 2 через открытый запорный вентиль 15 в камеру сжигания 4 до определенного уровня. Производят зажигание поверхности топлива любым источником огня.
Топливо горит в камере сжигания 4 и частично в теплообменнике 10. С помощью воздухоподающего устройства 3 подается атмосферный воздух вдоль стены камеры сжигания, который проходя через верхнюю часть камеры, выполненную в виде крыльчатки 6 формирует устойчивый вращающийся конусообразный факел. Одновременно в центральную осевую часть факела с помощью патрубка для подачи воздуха по центру камеры 7 подается атмосферный воздух от воздухоподающего устройства 3 для увеличения полноты сгорания паров топлива в осевой части факела. Рассекатель факела 8 обеспечивает интенсивное перемешивание паров топлива с подаваемым атмосферным воздухом. Стабилизаторы вращения топлива 5, установленные по стенке внутри камеры сжигания, интенсивно перемешивают топливо перед сжиганием. Водяная рубашка 14 камеры сгорания позволяет стабилизировать температуру топлива, исключить возможность его перегрева.
Тепло раскаленных газов с помощью водяной рубашки 12 теплообменника 10 передается в отопительную систему. Для остановки работы устройства необходимо перекрыть запорный вентиль 15. Негорючие остатки удаляются посредством съемного днища 9.
Таким образом, использование предлагаемого устройства позволяет производить полное сжигание отработанных нефтепродуктов без предварительной их подготовки, что значительно удешевляет стоимость получения тепла и улучшает экологическую обстановку. Устройство также отличается простотой конструкции.
Формула изобретения
Устройство для сжигания топлива, содержащее источник жидкого топлива, топливопровод и воздухоподающее устройство, отличающееся тем, что топливопровод соединен с нижней частью камеры сжигания, внутри которой по стенке расположены стабилизаторы вращения топлива, верхняя часть камеры выполнена в виде крыльчатки и снабжена патрубком для подачи воздуха по центру вдоль оси камеры, над которым установлен рассекатель факела, а над камерой сжигания установлен теплообменник.
РИСУНКИ
|
|