|
|
(21), (22) Заявка: 2004130379/06, 15.10.2004
(24) Дата начала отсчета срока действия патента:
15.10.2004
(45) Опубликовано: 10.02.2006
(56) Список документов, цитированных в отчете о поиске:
RU 2151951 C1, 27.06.2000. RU 2163567 С1, 27.02.2002. RU 2163890 С1, 10.03.2001. RU 2155714 С1, 20.09.2000. RU 2148209 С1, 27.04.2000. RU 2153630 С1, 27.07.2000.
Адрес для переписки:
432027, г.Ульяновск, ул. Северный Венец, 32, ГОУ ВПО “Ульяновский государственный технический университет”, Проректору по научной работе
|
(72) Автор(ы):
Шарапов Владимир Иванович (RU), Ротова Марина Александровна (RU), Феткуллов Марат Рифатович (RU)
(73) Патентообладатель(и):
Государственное образовательное учреждение высшего профессионального образования “Ульяновский государственный технический университет” (RU)
|
(54) СПОСОБ ДЕКАРБОНИЗАЦИИ ВОДЫ
(57) Реферат:
Изобретение предназначено для декарбонизации воды и может быть использовано на тепловых электростанциях и в котельных установках. Способ декарбонизации воды заключается в том, что десорбцию диоксида углерода из воды осуществляют при контакте обрабатываемой воды и атмосферного воздуха, которые подают в декарбонизатор. Расход атмосферного воздуха, подаваемого в декарбонизатор, регулируют по величине заданной концентрации свободного диоксида углерода в декарбонизированной воде и по величине расхода обрабатываемой воды, причем регулирование расхода атмосферного воздуха сначала осуществляют по расходу обрабатываемой воды, а затем расход атмосферного воздуха корректируют по остаточному содержанию диоксида углерода. Изобретение обеспечивает повышение качества автоматического управления процессом декарбонизации. 1 ил. 
Изобретение относится к области теплоэнергетики и может быть использовано на тепловых электростанциях и в котельных установках.
Известны аналоги – способы декарбонизации воды, по которым десорбцию диоксида углерода из воды осуществляют при контакте обрабатываемой воды и атмосферного воздуха, которые подают в декарбонизатор. Расход атмосферного воздуха, подаваемого в декарбонизатор, регулируют по величине заданной концентрации свободного диоксида углерода в декарбонизированной воде (см. патент №2151951, БИ №18, 2000). Данный аналог принят в качестве прототипа.
Недостатком аналогов и прототипа является низкое качество автоматического управления процессом декарбонизации воды из-за возникновения транспортного запаздывания при регулировании только по заданной величине свободного диоксида углерода в декарбонизированной воде. При реализации регулирования параметров процесса декарбонизации по остаточному содержанию диоксида углерода СО2 возникает так называемое транспортное запаздывание – задержка во времени изменения регулируемого параметра (остаточного содержание СО2) после изменения расхода обрабатываемой воды перед декарбонизатором. Связано это с тем, что между регулятором и датчиком остаточного содержания СО2 расположена емкость – бак декарбонизированной воды, для обмена воды в которой требуется некоторое время.
Техническим результатом, достигаемым настоящим изобретением, является повышение качества автоматического управления процессом декарбонизации за счет уменьшения влияния транспортного запаздывания.
Для достижения этого результата предложен способ декарбонизации воды, по которому в декарбонизатор подают обрабатываемую воду и атмосферный воздух, расход подаваемого воздуха регулируют по величине заданной концентрации диоксида углерода СО2 в декарбонизированной воде.
Отличием заявляемого способа является то, что расход атмосферного воздуха дополнительно регулируют по величине расхода обрабатываемой воды, причем регулирование расхода атмосферного воздуха сначала осуществляют по расходу обрабатываемой воды, а затем расход атмосферного воздуха корректируют по остаточному содержанию диоксида углерода, тем самым достигают заданное содержание СО2 в декарбонизированной воде, с минимальным транспортным запаздыванием.
Новый способ декарбонизации воды позволяет повысить качество автоматического управления процессом декарбонизации воды за счет исключения транспортного запаздывания.
Далее рассмотрим сведения, подтверждающие возможность осуществления изобретения с получением искомого технического результата.
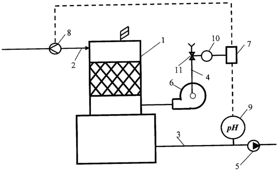
На чертеже изображена принципиальная схема установки для декарбонизации воды, поясняющая предложенный способ.
Входящая в систему подготовки подпиточной воды теплосети на тепловой электростанции установка содержит декарбонизатор 1 с подключенными к нему трубопроводами обрабатываемой 2 и декарбонизированной 3 воды и воздуховод 4. В трубопровод 3 включен насос декарбонизированной воды 5, а в воздуховод 4 вентилятор 6. Установка снабжена регулятором расхода воздуха 7, который соединен с датчиком расхода (расходомером) 8 на трубопроводе обрабатываемой воды и датчиком остаточного содержания растворенного диоксида углерода 9 в декарбонизированной воде, а также с исполнительным механизмом 10 регулирующего органа 11 на воздуховоде атмосферного воздуха. В качестве датчика 9 может быть использован рН-метр с преобразователем показаний рН в значения концентрации диоксида углерода, а в качестве регулятора расхода воздуха 7 на сегодняшний день наиболее целесообразно применять регулятор Ремиконт-130. Ремиконт представляет собой микропроцессорное устройство управления, архитектура которого оптимизирована для решения задач автоматического регулирования технологических процессов. Ремиконт является программируемым устройством: реализуемые им алгоритмы управления и конфигурация связей жестко не фиксированы и могут задаваться и изменяться непосредственно на месте эксплуатации. В комплекте с ремиконтами могут использоваться обычные датчики и исполнительные механизмы, которые подключаются к ним с помощью индивидуальных кабельных связей. Сигналы, поступающие в ремиконты, обрабатываются в цифровой форме.
Рассмотрим пример реализации заявленного способа декарбонизации воды. Десорбцию диоксида углерода осуществляют в декарбонизаторе 1, для чего в декарбонизатор подают атмосферный воздух и обрабатываемую воду. Расход атмосферного воздуха, подаваемого в декарбонизатор, регулируют по расходу обрабатываемой воды и по величине заданной концентрации свободного диоксида углерода в декарбонизированной воде. При эксплуатации водоподготовительных установок расход обрабатываемой воды изменяется, что приводит к ухудшению качества декарбонизированной воды или к излишним затратам воздуха. При изменении расхода воды с целью уменьшения влияния транспортного запаздывания расход атмосферного воздуха, подаваемого в декарбонизатор, сначала изменяют пропорционально расходу обрабатываемой воды по импульсу от датчика расхода (расходомера) 8. Затем расход воздуха корректируют по импульсу от датчика остаточного содержания растворенного диоксида углерода 9 в декарбонизированной воде, благодаря чему устанавливают заданное остаточное содержание СО2. Отметим, что расход атмосферного воздуха, подаваемого в декарбонизатор по предложенному способу, поддерживают минимально необходимым для удаления диоксида углерода, что обеспечивает экономичность процесса декарбонизации.
Таким образом, новый способ позволяет повысить качество процесса автоматического управления процессом декарбонизации за счет уменьшения влияния транспортного запаздывания, что достигается последовательным регулированием расхода атмосферного воздуха по заданному расходу обрабатываемой воды перед декарбонизатором и по заданной конечной концентрации диоксида углерода в декарбонизированной воде.
Формула изобретения
Способ декарбонизации воды, по которому десорбцию диоксида углерода из воды осуществляют при контакте обрабатываемой воды и атмосферного воздуха, которые подают в декарбонизатор, расход атмосферного воздуха, подаваемого в декарбонизатор, регулируют по величине заданной концентрации свободного диоксида углерода в декарбонизированной воде, отличающийся тем, что расход атмосферного воздуха дополнительно регулируют по величине расхода обрабатываемой воды, причем регулирование расхода атмосферного воздуха сначала осуществляют по расходу обрабатываемой воды, а затем расход атмосферного воздуха корректируют по остаточному содержанию диоксида углерода.
РИСУНКИ
MM4A – Досрочное прекращение действия патента СССР или патента Российской Федерации на изобретение из-за неуплаты в установленный срок пошлины за поддержание патента в силе
Дата прекращения действия патента: 16.10.2006
Извещение опубликовано: 20.03.2008 БИ: 08/2008
|
|