|
|
(21), (22) Заявка: 2004128045/11, 20.09.2004
(24) Дата начала отсчета срока действия патента:
20.09.2004
(45) Опубликовано: 10.02.2006
(56) Список документов, цитированных в отчете о поиске:
SU 1153144 А, 30.04.1985. RU 2159879 C1, 27.11.2000. RU 2179665 C1, 20.02.2002. DE 4223786 A1, 20.01.1994. FR 2216482 A, 30.08.1974.
Адрес для переписки:
432027, г.Ульяновск, Северный Венец, 32, ГОУ ВПО “Ульяновский государственный технический университет”, Проректору по научной работе
|
(72) Автор(ы):
Белый Давид Михайлович (RU), Новикова Ольга Дмитриевна (RU)
(73) Патентообладатель(и):
Государственное образовательное учреждение высшего профессионального образования “Ульяновский государственный технический университет” (RU)
|
(54) АКТИВНАЯ ВИБРОИЗОЛИРУЮЩАЯ ОПОРА
(57) Реферат:
Изобретение относится к активным виброзащитным средствам. Сущность изобретения заключается в том, что активная виброизолирующая опора содержит основание, платформу для установки виброизолируемого объекта, инерционную массу и размещенную между объектом и основанием витую цилиндрическую пружину. В опору введены вертикально установленная на основании труба и замкнутая с одного конца эластичная цилиндрическая камера. Закрытый конец эластичной цилиндрической камеры введен внутрь верхней части трубы. Открытый конец, огибая верхний торец трубы, охватывает ее снаружи. Прикрепленный к платформе цилиндрический шток плотно с натягом и фиксацией по торцу введен в верхнюю часть трубы до упора в закрытый конец эластичной цилиндрической камеры. Инерционная масса выполнена в виде кольца, концентрично охватывающего верхнюю часть трубы с эластичной цилиндрической камерой и прикрепленного к открытому концу эластичной цилиндрической камеры. Витая цилиндрическая пружина свободно вставлена в нижнюю часть трубы между основанием и закрытым концом эластичной цилиндрической камеры и прикреплена к ним торцами. Техническим результатом является упрощение конструкции опоры и увеличение ее надежности. 1 ил. 
Изобретение относится к активным виброзащитным средствам и может быть использовано для защиты различного рода объектов от вибраций и ударов.
Известны активные виброизолирующие опоры, содержащие автоматическую систему регулирования с вибродатчиками, блоками усиления и управления и исполнительными элементами различного типа, размещенными между основанием и виброизолируемым объектом (см., например, а.с. СССР №581345, кл. F 16 F 15/03, 1976 [1]; а.с. СССР №1227853, кл. F 16 F 15/02, 1984 [2]).
Недостатками известных устройств является предельная сложность конструкции за счет наличия большого числа электромеханических блоков и элементов и как следствие низкая надежность устройств.
Известны также активные виброизолирующие опоры с инерционными элементами и кинематическими механизмами преобразования движения, содержащие дополнительные инерционные массы, связанные с помощью пружинно-рычажных шарнирных механизмов с основанием и виброизолируемым объектом (см., например, “Вибрации в технике”: Справочник в 6-и томах /Под ред. К.В.Фролова, том 6, М.: “Машиностроение”, №1, с.302-303 [3]; а.с. СССР №696212, кл. F 16 F 15/00, 1972 [4]).
Недостатками известных устройств являются также сложность конструкции и низкая надежность, обусловленные наличием значительного числа подвижных и упругих контактирующих механических элементов.
Наиболее близким устройством того же назначения к заявленному изобретению является активная виброизолирующая опора, содержащая основание и платформу для установки виброизолирующего объекта, связанные размещенными между ними витой цилиндрической пружиной и пружинно-рычажным механизмом с закрепленной на его конце инерционной массой (см. а.с. СССР №1153144, кл. F 16 F 15/02, 1983 [5]), и принятая за прототип.
Недостатками данного устройства-прототипа являются сложность конструкции и низкая надежность, обусловленная наличием сложного кинематического шарнирного соединения с упругими и инерционными элементами.
Сущность изобретения заключается в создании опоры, позволяющей осуществлять активную виброизоляцию путем противофазного силового воздействия на изолируемый объект, исключающую однако использование для преобразования инерционных сил дополнительных масс в данное воздействие сложных пружинно-рычажных шарнирных механизмов.
Технический результат – упрощение конструкции опоры и увеличение ее надежности.
Указанный технический результат при осуществлении изобретения достигается тем, что в известной активной виброизолирующей опоре, содержащей основание, платформу для установки виброизолируемого объекта, инерционную массу и размещенную между объектом и основанием витую цилиндрическую пружину, особенность заключается в том, что в опору введены вертикально установленная на основании труба и замкнутая с одного конца гибкая эластичная цилиндрическая камера, при этом закрытый конец камеры введен внутрь верхней части трубы, а открытый конец, огибая верхний торец трубы, охватывает ее снаружи, прикрепленный к платформе цилиндрический шток плотно с натягом и фиксацией по торцу введен в верхнюю часть трубы до упора в замкнутый конец камеры, инерционная масса выполнена в виде кольца, концентрично охватывающего верхнюю часть трубы с камерой и прикрепленного к открытому концу камеры, а пружина свободно вставлена в нижнюю часть трубы между основанием и замкнутым концом камеры и прикреплена к ним торцами.
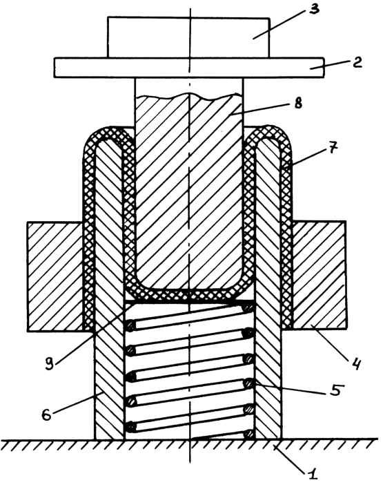
Сущность изобретения поясняется чертежом, где схематично изображена предлагаемая опора, общий вид с продольным разрезом.
Активная виброизолирующая опора содержит вибрирующее основание 1, платформу 2 для установки виброизолируемого объекта 3, инерционную массу 4 и размещенную между объектом 3 и основанием 1 витую цилиндрическую пружину 5, а также вертикально закрепленную на основании 1 трубу 6 с закругленными ребрами на верхнем торце для лучшего скольжения по торцу трубы 6 введенной в опору, замкнутой с одного конца, гибкой, эластичной цилиндрической камеры 7, при этом закрытый конец камеры 7 введен внутрь верхней части трубы 6, а открытый конец камеры 7, огибая верхний скругленный торец трубы 6, охватывает трубу 6 снаружи, прикрепленный к платформе 2 цилиндрический шток 8 плотно с натягом и фиксацией по торцу введен в верхнюю часть трубы 6 до упора в закрытый конец камеры 7, инерционная масса 4 выполнена в виде кольца, концентрично охватывающего верхнюю часть трубы 6 с камерой 7 и прикрепленного к открытому концу камеры 7, а витая цилиндрическая пружина 5 свободно вставлена в нижнюю часть трубы 6 между основанием 1 и закрытым концом камеры 7 и прикреплена к ним торцами с использованием жесткой прокладки 9, вставленной между верхним торцом пружины 5 и закрытым концом камеры 7.
Работа предлагаемого устройства осуществляется следующим образом.
В статическом состоянии и при малых амплитудах колебаний объекта 3 на платформе 2 со штоком 8 в удаленных от резонанса режимах камера 7 неподвижна, и инерционные силы колеблющихся элементов компенсируются силами упругости пружины 5 и упругого дна закрытого конца камеры 7 с прикрепленным к нему штоком 8. Теперь рассмотрим возможный процесс резонансных колебаний объекта 3 со значительной амплитудой. Пусть, например, для определенности в один из полупериодов колебаний основание 1 двигается вниз, осуществляя резкое торможение. За счет инерционных сил объект 3 и платформа 2 со штоком 8 двигаются вниз относительно основания 1, сжимая пружину 5. При этом шток 8, кроме максимально возможного растяжения своим торцом закрытого конца камеры 7, пытается сдвинуть камеру 7 внутрь трубы 6, то есть вниз (относительно камеры 7 шток 8 естественно проскальзывать не может). Камера 7 гибкая, эластичная, и она стремится, обогнув верхний закругленный торец трубы 6, сместиться вместе со штоком 8 вниз. Однако дополнительная инерционная масса 4 за счет собственных сил инерции так же, как и объект 3, стремится сместиться вниз, и естественно действует вниз на открытый конец камеры 7, стремясь, наоборот, вытянуть камеру 7 из отверстия трубы 6. Очевидно, что инерционная масса 4 оказывает здесь активное силовое воздействие на объект 3, находящееся в противофазе с внешним возмущающим вибрационным воздействием. Вследствие этого объект 3 остается практически неподвижным, то есть осуществляется его активная виброизоляция. Аналогичный процесс происходит и во второй полупериод, когда за счет инерционных сил объект 3 и инерционная масса 4 одновременно стремятся сместиться вверх. Здесь необходимо только пояснить, что вследствие предельно высоких сил трения плотно натянутой камеры 7, эластичной и гибкой, по значительной площади внутренней и внешней поверхности трубы 6 возможно только в принципе огибание (закручивание) камеры 7 вокруг верхнего торца трубы 6 (аналогичный процесс происходит, например, в известных манжетных мембранах). Однако конкретно в данном случае вследствие действия сил инерции массы 4 и объекта 3, обуславливающих закручивание камеры 7 в противоположные стороны – внутрь в трубу 6 и наружу из трубы, смещение камеры 7, а значит и объекта 3, происходить опять не будет, то есть опять налицо эффект активной виброизоляции.
По мнению заявителя предложенная конструкция опоры предельно проста, технологична, здесь практически исключены узлы и элементы, обуславливающие низкую надежность. При этом за счет сильного эффекта активного противофазного гашения конструкция опоры характеризуется высокой степенью виброизоляции.
Формула изобретения
Активная виброизолирующая опора, содержащая основание, платформу для установки виброизролируемого объекта, инерционную массу и размещенную между объектом и основанием витую цилиндрическую пружину, отличающаяся тем, что в опору введены вертикально установленная на основании труба и замкнутая с одного конца эластичная цилиндрическая камера, при этом закрытой конец эластичной цилиндрической камеры введен внутрь верхней части трубы, а открытой конец, огибая верхний торец трубы, охватывает ее снаружи, прикрепленный к платформе цилиндрический шток плотно с натягом и фиксацией по торцу введен в верхнюю часть трубы до упора в закрытый конец эластичной цилиндрической камеры, инерционная масса выполнена в виде кольца, концентрично охватывающего верхнюю часть трубы с эластичной цилиндрической камерой и прикрепленного к открытому концу эластичной цилиндрической камеры, а витая цилиндрическая пружина свободно вставлена в нижнюю часть трубы между основанием и закрытым концом эластичной цилиндрической камеры и прикреплена к ним торцами.
РИСУНКИ
MM4A – Досрочное прекращение действия патента СССР или патента Российской Федерации на изобретение из-за неуплаты в установленный срок пошлины за поддержание патента в силе
Дата прекращения действия патента: 21.09.2006
Извещение опубликовано: 20.02.2008 БИ: 05/2008
|
|