|
|
(21), (22) Заявка: 2002119444/11, 17.07.2002
(24) Дата начала отсчета срока действия патента:
17.07.2002
(43) Дата публикации заявки: 27.03.2004
(45) Опубликовано: 10.02.2006
(56) Список документов, цитированных в отчете о поиске:
US 4418802 А, 06.12.1983. SU 1036975 А, 23.08.1983. SU 1820084 A1, 07.06.1993.
Адрес для переписки:
197136, Санкт-Петербург, Чкаловский пр., 50, ЗАО “Плаза “
|
(72) Автор(ы):
Гусев Евгений Павлович (RU), Тутушкин Владимир Леонидович (RU), Воеводов Сергей Юрьевич (RU)
(73) Патентообладатель(и):
ЗАО “Плаза” (RU)
|
(54) КРЫЛЬЧАТЫЙ АМОРТИЗАТОР
(57) Реферат:
Изобретение относится к транспортному машиностроению, а именно к подвеске транспортных средств. Сущность изобретения заключается в том, что однотрубный пневмогидравлический амортизатор содержит шток, газовую и гидравлическую полости и снабжен крыльчаткой, установленной на штоке с возможностью вращения вокруг его оси, делящей гидравлическую полость на верхнюю и нижнюю части и состоящей из втулки, бандажного кольца и расположенных между ними криволинейных лопастей. Техническим результатом является повышение энергоемкости амортизатора и исключение упругих клапанных элементов. 1 ил. 
Изобретение относится к транспортному машиностроению, а именно к подвеске транспортных средств.
Аналогом служит крыльчатый амортизатор [1], имеющий корпус, две гидравлические полости, заполненные рабочей жидкостью, и одну газовую полость, а также клапаны с упругими элементами и крыльчатку с плоскими крыльями (лопастями), выполненную за одно целое с валом, обладающим возможностью поворачиваться.
В качестве недостатков аналога необходимо отметить, во-первых, низкую энергоемкость из-за размещения в рабочей гидравлической полости упоров и наличия гидравлической полости, не участвующей в преобразовании механической энергии колебаний во внутреннюю энергию рабочей жидкости, а во-вторых, уменьшение сил сопротивления в процессе эксплуатации вследствие снижения жесткости упругих клапанных элементов.
Прототипом заявляемого изобретения является однотрубный гидропневматический амортизатор [2], содержащий корпус, направляющую втулку, шток, неподвижно установленный на нем поршень, гидравлическую полость, заполненную рабочей жидкостью и разделенную поршнем на верхнюю и нижнюю части, а также газовую полость и разделитель, отделяющий ее от гидравлической полости.
По сравнению с аналогом [1] прототип [2] обладает более высокой энергоемкостью, однако в нем не использован резерв увеличения энергоемкости за счет снижения материалоемкости поршневого комплекта. Кроме того, применение в прототипе упругих клапанных элементов не позволяет решить вопрос стабилизации характеристики сопротивлений амортизатора.
Технической задачей изобретения являются повышение энергоемкости амортизатора и исключение упругих клапанных элементов.
Техническая задача решается тем, что однотрубный пневмогидравлический амортизатор, содержащий шток, газовую и гидравлическую полости, снабжен крыльчаткой, установленной на штоке с возможностью вращения вокруг его оси, делящей гидравлическую полость на верхнюю и нижнюю части и состоящей из втулки, бандажного кольца и расположенных между ними криволинейных лопастей.
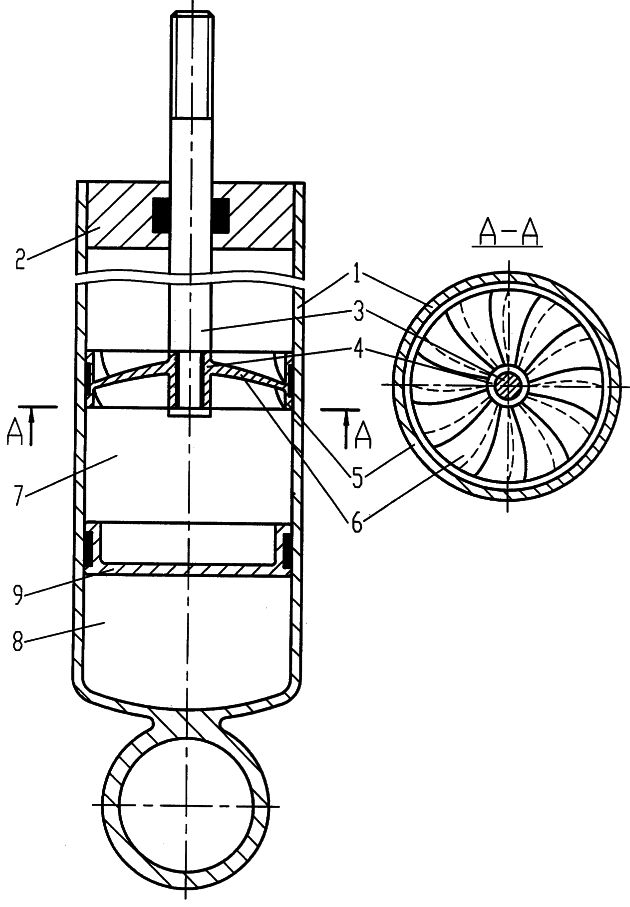
На чертеже изображен общий вид крыльчатого амортизатора.
Крыльчатый амортизатор содержит корпус 1, направляющую втулку 2, шток 3. На штоке установлена с возможностью вращения вокруг его оси крыльчатка, состоящая из втулки 4, бандажного кольца 5 и расположенных между ними криволинейных лопастей 6. Крыльчатка делит гидравлическую полость 7, заполненную рабочей жидкостью, на верхнюю и нижнюю части. Гидравлическая полость отделяется от газовой полости 8 разделителем 9.
Амортизатор работает следующим образом. При сжатии или отбое с началом движения штока 3, а вместе с ним и крыльчатки соответственно вниз или вверх возникает разность давлений рабочей жидкости в нижней и верхней частях гидравлической полости 7. Вследствие этой разности образуется результирующая сила давления, оказывающая воздействие на крыльчатку в двух направлениях. В вертикальном направлении эта сила оказывает сопротивление продвижению штока 3, а в горизонтальном она вращает крыльчатку.
С увеличением скорости перемещения штока 3 возрастает частота вращения крыльчатки. Сопротивление перетеканию жидкости из той части гидравлической полости 7, где давление рабочей жидкости выше, в другую часть, где оно меньше, увеличивается. Сила сопротивления движению штока 3 растет.
Соотношение между максимальными значениями сил сопротивления сжатия и отбоя регламентируется формой лопастей 6. Сами значения задаются путем выбора формы, числа и шага лопастей. Изменение максимальных сил сопротивления при одних и тех же параметрах крыльчатки достигается за счет применения рабочих жидкостей с различной вязкостью.
Сопоставительный анализ с прототипом показывает, что заявляемое устройство отличается тем, что в основу его конструкции и работы положено наличие крыльчатки, установленной на штоке с возможностью вращения вокруг его оси, делящей гидравлическую полость на верхнюю и нижнюю части и состоящей из втулки, бандажного кольца и расположенных между ними криволинейных лопастей.
Вышеперечисленные признаки позволяют сделать вывод о соответствии заявляемого изобретения критерию «новизна».
Существующие технологии машиностроения и применяемые в нем материалы позволяют организовать промышленное изготовление и оснащение транспортных средств крыльчатыми амортизаторами.
Источники информации
1. Дербаремдикер А.Д. Гидравлические амортизаторы автомобилей. М., Машиностроение, 1969, с.6, рис.2б (аналог).
2. Патент США №4418802, кл. F 16 F 9/34 1983 г. (прототип).
Формула изобретения
Однотрубный пневмогидравлический амортизатор, содержащий шток, газовую и гидравлическую полости, отличающийся тем, что он снабжен крыльчаткой, установленной на штоке с возможностью вращения вокруг его оси, делящей гидравлическую полость на верхнюю и нижнюю части и состоящей из втулки, бандажного кольца и расположенных между ними криволинейных лопастей.
РИСУНКИ
MM4A – Досрочное прекращение действия патента СССР или патента Российской Федерации на изобретение из-за неуплаты в установленный срок пошлины за поддержание патента в силе
Дата прекращения действия патента: 18.07.2007
Извещение опубликовано: 27.02.2009 БИ: 06/2009
|
|