|
|
(21), (22) Заявка: 2004104010/11, 11.02.2004
(24) Дата начала отсчета срока действия патента:
11.02.2004
(30) Конвенционный приоритет:
12.02.2003 (пп.1-6) US 10/365,278
(43) Дата публикации заявки: 27.07.2005
(45) Опубликовано: 10.02.2006
(56) Список документов, цитированных в отчете о поиске:
SU 1563583 A3, 07.05.1990. US 3832021 A, 27.08.1974. US 4022480 A, 10.05.1977.
Адрес для переписки:
103735, Москва, ул. Ильинка, 5/2, ООО “Союзпатент”, пат.пов. Л.С.Кишкиной
|
(72) Автор(ы):
МАРТИНС Армандо С. (US), БОНАЦОЛИ Стивен А. (US)
(73) Патентообладатель(и):
МОРГАН КОНСТРАКШН КОМПАНИ (US)
|
(54) ТОРЦЕВАЯ КРЫШКА УПЛОТНЕНИЯ (ВАРИАНТЫ)
(57) Реферат:
Изобретение относится к области машиностроения, в частности к торцевым крышкам уплотнения. Торцевая крышка уплотнения, конфигурация и размеры которой выбраны таким образом, чтобы она охватывала собой шейку горизонтального прокатного валка прокатного стана, содержит кольцевой корпус и опорный буртик, выступающий в осевом направлении с внешней стороны корпуса. Предусматривается наличие, по меньшей мере, одного маслосборника, выполненного в опорном буртике, а также перепускного сливного канала, идущего от маслосборника к внешней стороне корпуса. Перепускной сливной канал находится в зоне, расположенной с угловым смещением относительно горизонтальной и вертикальной начальных плоскостей, делящих пополам торцевую крышку уплотнения. Технический результат – предотвращение возникновения утечки в торцевой крышке уплотнения. 2 н. и 4 з.п. ф-лы, 4 ил. 
Область техники, к которой относится изобретение
Настоящее изобретение в основном относится к подшипникам с пленочной смазкой, предназначенным для того, чтобы поддерживать, обеспечивая при этом возможность их вращения, шейки горизонтальных прокатных валков, применяемых в прокатных станах, в частности, касается усовершенствованной торцевой крышки уплотнения, которая предназначается для применения ее в качестве составляющего элемента, представляющего собой одно целое с уплотнительными узлами таких подшипников.
Описание прототипа
Известные уплотнительные узлы раскрыты, например, в описаниях изобретения к патентам США №5478090 (Симмонс и др.), 4455856 (Солтер, мл., и др.) и 4389053 (Иннис, мл., и др.).
При использовании этих уплотнительных узлов упругое уплотнение шейки насаживается на шейку прокатного валка и вращается вместе с ней. Торцевая крышка уплотнения охватывает собой уплотнение шейки и устанавливается неподвижно по отношению к ней. Предусматривается наличие эластичных фланцев, внутреннего и внешнего, расположенных на уплотнении шейки прокатного валка радиально снаружи относительно нее по обе стороны от жесткого фланца, имеющегося в торцевой крышке уплотнения и расположенного там радиально внутри по отношению к ней. Внешний фланец уплотнения взаимодействует с внешним буртиком торцевой крышки уплотнения, находясь при этом в плотном контакте с этим буртиком, благодаря чему обеспечивается удерживание масла внутри подшипника, а внутренний фланец уплотнения взаимодействует с внутренним буртиком торцевой крышки уплотнения, находясь при этом в плотном контакте с этим буртиком, благодаря чему предотвращается проникание охлаждающей воды внутрь подшипника.
По мере того, как в процессе длительной эксплуатации начинают изнашиваться фланцы уплотнения шейки, в конце концов, может произойти просачивание масла под внешним фланцем уплотнения шейки. Масло будет тогда проталкиваться вращающимся уплотнением шейки по всей окружности торцевой крышки уплотнения и, в конечном итоге, может начать просачиваться наружу из-под фланца торцевой крышки уплотнения, вытекая при этом из подшипника.
Краткое изложение существа изобретения
Настоящее изобретение предотвращает возникновение рассмотренной здесь выше утечки благодаря разработке торцевой крышки уплотнения с расположенными в правильно выбранных местах маслосборниками, которые улавливают все масло, которое может просочиться под внешним фланцем уплотнения шейки. По перепускным сливным каналам уловленное таким образом масло возвращается из маслосборников обратно в маслоотстойник подшипника и используется для рециркуляции его в системе смазки прокатного стана.
Указанные и другие признаки и преимущества настоящего изобретения рассматриваются более подробно в приведенном здесь ниже описании, которое ведется со ссылками на прилагаемые иллюстрации.
Краткое описание чертежей
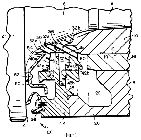
Фигура 1 представляет собой изображенный в поперечном разрезе вид уплотнительного узла, включающего в свой состав торцевую крышку уплотнения, выполненную в соответствии с настоящим изобретением.
Фигура 2 представляет собой изображенный в вертикальном разрезе вид с наружной стороны на торцевую крышку уплотнения, показанную на фигуре 1.
Фигура 3 представляет собой изображенный в увеличенном масштабе с частичным вырезом вид обведенного кружком участка, показанного на фигуре 2.
Фигура 4 представляет собой изображенный в увеличенном масштабе вид в разрезе по линии 4-4 на фигуре 3.
Подробное описание предпочтительного варианта изобретения
Обращаясь теперь к прилагаемым иллюстрациям, рассмотрим сначала фиг.1, на которой позицией 2 обозначен прокатный валок, имеющий торцевую поверхность 4 и шейку валка с конусообразной промежуточной частью 6, которая переходит в конусообразную концевую часть 8, имеющую меньшую конусность. Предусматривается наличие гильзы 10, смонтированной на конусообразной концевой части 8 и установленной неподвижно относительно шейки прокатного валка с помощью обычных средств (не показаны), обеспечивающих совместное их вращение. Гильза 10 имеет наружную направляющую поверхность 12, расположенную таким образом, чтобы иметь возможность совершать вращательное движение относительно внутренней направляющей поверхности 14 неподвижного вкладыша 16, вставленного внутрь опорного подшипника 18 валка прокатного стана. Гильза 10 вращается совместно с прокатным валком, в то время как опорный подшипник 18 и его вкладыш 16 остаются неподвижными. Масло подается непрерывным потоком в достаточном количестве для постоянного сохранения масляной пленки, создаваемой за счет гидродинамических свойств жидкой смазки между направляющими поверхностями 12 и 14 в зоне воздействия на подшипник нагрузки. Удлиненная осевая часть 20 опорного подшипника прокатного валка используется в качестве маслоотстойника 22, в котором непрерывно собирается масло, вытекающее между направляющими поверхностями 12 и 14. Это масло отводится из маслоотстойника по соответствующим подсоединенным к нему трубопроводам (не показаны) и используется для рециркуляции его в системе смазки прокатного стана.
При осуществлении процесса так называемой “мокрой” прокатки, прокатный валок 2 непрерывно поливают охлаждающей водой, которая стекает вниз по его торцевой поверхности 4. Несмотря на то, что возникают центробежные силы, которые все время стремятся отбрасывать воду в стороны от прокатного валка, тем не менее, частично эта вода все же может попасть на шейку прокатного валка, по которой она направляется в сторону опорного подшипника. Таким образом, цель, которая ставится при применении предложенного уплотнительного узла, обозначенного в общем позицией 26, и упругого уплотнения 28 шейки, которая представляет собой составную часть этого уплотнительного узла, заключается в том, чтобы не допустить попадания охлаждающей воды в масло, находящееся в опорном подшипнике, и загрязнения масла водой, а также в том, чтобы предотвратить в то же самое время какие-либо утечки масла из опорного подшипника.
Уплотнение 28 шейки представляет собой выполненное в виде кольца упругое уплотнительное тело 30 с козырьками 32а и 32b, находящимися в плотном контакте с конусообразной частью 6 шейки прокатного валка. Уплотнение 28 шейки формуется из соответствующего эластичного резиноподобного материала. При этом предпочтительно, чтобы уплотнительное тело 30 с внутренней своей стороны было усилено установленными в нем при его формовке в соответствующем сочетании друг с другом спиральной пружиной 34 и стальным тросиком 36, как описано в патенте США №3330567.
Уплотнительное тело 30 имеет наружную цилиндрическую поверхность 38, которая располагается параллельно оси вращения прокатного валка 2, когда уплотнение шейки находится в смонтированном на ней положении, как это показано на фиг.1. Пара эластичных фланцев, внутренний и внешний – соответственно 40а и 40b, которые выполнены за одно целое с уплотнительным телом 30, располагаются на этом теле радиально снаружи относительно него по обе его стороны на противоположных концах наружной цилиндрической поверхности 38. Фланцы 40а и 40b предпочтительно выполняются с расположенными под углом, но направленными в разные стороны козырьками 42а и 42b.
В соответствии с настоящим изобретением, уплотнительный узел включает в свой состав также и жесткую торцевую крышку 44 уплотнения, имеющую кольцевой корпус 45, установленный неподвижно по отношению к удлиненной осевой части 20 опорного подшипника 18 валка прокатного стана. Эта торцевая крышка уплотнения имеет жесткий фланец 46, расположенный радиально внутри по отношению к ней перпендикулярно оси вращения прокатного валка 2. Внутренняя кромка фланца 46 располагается с радиальным промежутком относительно наружной цилиндрической поверхности 38 упругого уплотнительного тела. Кроме того, торцевая крышка уплотнения включает в себя также внутренний и внешний опорные буртики соответственно 48а и 48b, выступающие в осевом направлении в противоположные стороны относительно жесткого фланца 46. Опорные буртики 48а и 48b охватывают собой соответственно эластичные фланцы 40а и 40b уплотнения и размещаются таким образом, чтобы обеспечивался плотный контакт их с расположенными под углом козырьками 42а и 42b.
Помимо этого, уплотнительный узел 26 дополнительно включает также и внутреннее кольцо 50 уплотнения с выполняемыми на нем, но в необязательном порядке, небольшими выступами 52, взаимодействующими с торцевой поверхностью 4 прокатного валка. Внутренней своей кромкой внутреннее кольцо уплотнения входит в контакт с упругим уплотнительным телом, что обозначено позицией 54, при этом предусматривается наличие также и эластичного водоотражателя 56, охватывающего собой внутреннее кольцо 50 уплотнения.
Во время выполнения операции прокатки внутреннее кольцо 50 уплотнения, упругое уплотнение 28 шейки и гильза 10 вращаются вместе с шейкой прокатного валка. При этом водоотражатель 56, торцевая крышка 44 уплотнения, и опорный подшипник 18 валка прокатного стана остаются неподвижными.
Большая часть поступающей охлаждающей жидкости, которая омывает прокатный валок снаружи, будет отбрасываться водоотражателем 56 в сторону, не попадая внутрь опорного подшипника валка прокатного стана. А вся охлаждающая жидкость, которой все-таки удастся проникнуть внутрь, минуя водоотражатель, будет улавливаться и отводиться оттуда при помощи лабиринта, образующегося между торцевой крышкой 44 уплотнения и внутренним кольцо 50 уплотнения, а окончательно путь для просачивающейся охлаждающейся жидкости будет прегражден за счет обеспечения плотного контакта козырька 42а внутреннего фланца 40а уплотнения шейки с внутренним опорным буртиком 48а торцевой крышки уплотнения. Смазочное масло будет непрерывно вытекать между направляющими поверхностями 12 и 14. Большая часть этого масла будет возвращаться назад с помощью вращающегося маслоотражателя 60, имеющегося на уплотнении 28 шейки, и будет таким образом направляться в маслоотстойник 22.
Масло, которое все же сможет миновать маслоотражатель 60, вынуждено будет возвратиться назад благодаря обеспечению плотного контакта козырька 42b внешнего фланца 40b уплотнения шейки с внешним опорным буртиком 48b торцевой крышки уплотнения. Однако, по мере изнашивания козырька 42b, масло может, в конце концов, начать проникать внутрь кольцевого пространства 62 между внешним фланцем 40b уплотнения шейки и жестким фланцем 46 торцевой крышки уплотнения. Масло, попавшее в пространство 62, будет тогда проталкиваться вращающимся уплотнением 28 шейки по всей окружности торцевой крышки 44 уплотнения. В обычных уплотнительных узлах это масло может просачиваться наружу по всей окружности жесткого фланца 46 и, в конечном итоге, начать вытекать из подшипника.
В соответствии с настоящим изобретением, как это показано лучше всего на фигурах 2-4, со ссылками на которые ведется дальнейшее описание, в теле торцевой крышки 44 уплотнения дополнительно выполняют, по меньшей мере, один, а предпочтительно – два маслосборника 64, расположенных на стыке между внешним опорным буртиком 48b и фланцем 46. Маслосборники сообщаются с перепускными сливными каналами 66, расположенными с наклоном вниз, которые ведут обратно в маслоотстойник 22. Перепускные сливные каналы находятся в пределах зон Z, расположенных с угловым смещением относительно горизонтальной и вертикальной начальных плоскостей соответственно Рh и Рv, делящих пополам торцевую крышку уплотнения. Предпочтительно, чтобы зоны Z располагались под углом от 15° до 35° вниз относительно горизонтальной плоскости Рh, причем оптимальное положение для перепускных сливных каналов 66 находится где-то посредине между этими двумя крайними значениями, т.е. оптимальное значение этого угла относительно плоскости Рh составляет примерно 25°.
При таком расположении все масло, которое попадает в пространство 62, будет задерживаться в маслосборниках 64 и возвращаться в маслоотстойник 22 по перепускным сливным каналам 66. Указанные маслосборники вместе с соответствующими им перепускными сливными каналами располагаются в правильно выбранных местах с точки зрения приема и сбора масла, поступающего самотеком, без возникновения при этом опасности образования обратного потока излишнего масла в случае переполнения маслоотстойника 22.
Конкретный вариант осуществления настоящего изобретения рассмотрен подробно с тем, чтобы проиллюстрировать патентоспособные признаки изобретения, однако следует при этом понимать, что возможны и иные варианты осуществления настоящего изобретения, не выходящие за пределы таковых признаков патентоспособности, которые определены в прилагаемой формуле изобретения.
Формула изобретения
1. Торцевая крышка уплотнения, конфигурация и размеры которой выбраны таким образом, чтобы она охватывала собой шейку горизонтального прокатного валка прокатного стана, содержащая кольцевой корпус, опорный буртик, выступающий в осевом направлении с внешней стороны корпуса, по меньшей мере, один маслосборник, выполненный в опорном буртике, перепускной сливной канал, идущий от маслосборника к внешней стороне корпуса, причем перепускной сливной канал находится в зоне, расположенной с угловым смещением относительно горизонтальной и вертикальной начальных плоскостей, делящих пополам торцевую крышку уплотнения.
2. Торцевая крышка уплотнения по п.1, отличающаяся тем, что содержит фланец, расположенный радиально внутри корпуса на стыке с опорным буртиком, причем маслосборник расположен на стыке.
3. Торцевая крышка уплотнения по п.1 или 2, отличающаяся тем, что зона расположена под углом примерно 15-35° вниз относительно горизонтальной начальной плоскости.
4. Торцевая крышка уплотнения по п.3, отличающаяся тем, что перепускной сливной канал расположен под углом примерно 25° вниз относительно горизонтальной начальной плоскости.
5. Торцевая крышка уплотнения по п.1 или 2, отличающаяся тем, что один из маслосборников расположен с каждой стороны вертикальной начальной плоскости.
6. Кольцевая торцевая крышка уплотнения, используемая в конструкции подшипника с пленочной смазкой такого типа, который используется в качестве опоры для шейки горизонтального прокатного валка прокатного стана с возможностью вращения прокатного валка, причем подшипник включает в себя гильзу, установленную неподвижно относительно шейки прокатного валка с возможностью совместного их вращения, вкладыш, установленный неподвижно в опорном подшипнике валка прокатного стана и внутрь которого вставлена гильза с возможностью совершения вращательного движения со скольжением ее по масляной пленке, образующейся за счет гидродинамических свойств жидкой смазки между гильзой и вкладышем, и упругое уплотнение, охватывающее собой шейку прокатного валка с возможностью ее вращения в непосредственной близости от гильзы, причем уплотнение имеет эластичный фланец, расположенный на нем радиально снаружи относительно него, при этом торцевая крышка уплотнения содержит кольцевой корпус, выполненный с возможностью крепления его к опорному подшипнику валка прокатного стана в месте охвата собой уплотнения, причем конфигурация корпуса выбрана таким образом, чтобы он совместно с опорным подшипником валка прокатного стана образовывал маслоотстойник, предназначенный для приема в него масла, вытекающего между гильзой и вкладышем, опорный буртик, выступающий в осевом направлении относительно кольцевого корпуса, причем конфигурация опорного буртика и его расположение выбраны таким образом, чтобы он находился в контакте с эластичным фланцем по поверхности соприкосновения между ними, обеспечивающей уплотнение, жесткий фланец, находящийся внутри кольцевого корпуса и расположенный радиально по отношению к нему на стыке его с опорным буртиком, причем жесткий фланец взаимодействует с опорным буртиком с возможностью улавливания всего количества масла, которое может вытечь по поверхности соприкосновения, обеспечивающей уплотнение, маслосборники, выполненные внутри кольцевого корпуса на стыке, причем маслосборники расположены в правильно выбранных местах с точки зрения приема улавливаемого ими вытекающего масла, поступающего в них самотеком, и перепускные сливные каналы, выполненные в кольцевом корпусе, которые ведут от маслосборников к маслоотстойнику и обеспечивают возврат улавливаемого ими вытекающего масла назад в маслоотстойник, причем маслосборники размещены в нижних квадрантах торцевой крышки уплотнения и находятся в пределах зон, расположенных с угловым смещением относительно горизонтальной и вертикальной начальных плоскостей, делящих пополам торцевую крышку уплотнения.
РИСУНКИ
|
|