|
|
(21), (22) Заявка: 2004100644/06, 08.01.2004
(24) Дата начала отсчета срока действия патента:
08.01.2004
(43) Дата публикации заявки: 20.06.2005
(45) Опубликовано: 10.02.2006
(56) Список документов, цитированных в отчете о поиске:
RU 2136957 C1, 10.09.1999. SU 3459 А, 31.08.1927. RU 2136958 С1, 10.09.1999. RU 2205291 С2, 27.05.2003. GB 1474295A, 18.05.1977. US 6246126 В1, 12.06.2001.
Адрес для переписки:
392006, г.Тамбов-6, ТВАИИ, научно-исследовательский отдел
|
(72) Автор(ы):
Милосердов Виктор Петрович (RU), Милосердов Игорь Викторович (RU)
(73) Патентообладатель(и):
Тамбовский военный авиационный инженерный институт (RU)
|
(54) ЭНЕРГЕТИЧЕСКАЯ УСТАНОВКА
(57) Реферат:
Энергетическая установка относится к области энергетики, а именно к конструкциям установок для преобразования энергии набегающих потоков в электрическую энергию. Техническим результатом является снижение материалоемкости и увеличение единичной мощности энергетической установки. В энергетической установке, содержащей диффузор, размещенный впереди приемной камеры с выходным каналом и ветроколесом, взаимодействующим с одним и более генераторами электрической энергии, согласно изобретению, диффузор имеет аэродинамическую направляющую флюгер-балку, имеющую вогнутую и выгнутую части, и установленную корневой частью на оси с возможностью кругового поворота на ней и под некоторым углом по отношению к набегающему потоку, при этом флюгер-балка выполнена сужающейся от корневой части к консольной, причем к вогнутой консольной части флюгер-балки присоединена боковым тангенциальным входным окном приемная камера с симметричными выходными каналами, а внутри нее между выходными каналами размещены одно и более ветроколес с генераторами электрической энергии. 4 ил. 
Изобретение относится к области энергетики, а именно к конструкции установок для преобразования энергии набегающих потоков в электрическую энергию.
Известна конструкция энергетической установки, содержащей открытый диффузор, выполненный в виде центрального профилированного тела с закрепленными на нем радиальными неподвижными лопатками, снаружи которого расположена маховичная обечайка с проточными лопатками, взаимодействующая с одним и более генераторами электрической энергии (см. пакет Российской Федерации №2205291, МКИ 7 F 03 D 1/00 от 27.05.2003 г., авторы – Милосердов В.П., Лобанов С.М., Руднев П.В. – Энергетическая установка).
Недостатком этой конструкции является зависимость вырабатываемой электрической энергии установки от площади входного диффузора и мощности набегающего ветропотока, что ведет к необходимости увеличения габаритов и массы конструкции установки.
Также известна энергетическая установка, содержащая входной диффузор в виде прямого открытого входного канала, размещенном впереди приемной камеры с выходным каналом и лопастями осевого ветроколеса. При этом консольные части этих лопастей взаимодействуют с внутренней частью вращающегося обода, который своей внешней стороной имеет возможность взаимодействовать с одним и более генераторами электрической энергии (см. патент Российской Федерации №2136957, МКИ 6 F 03 D 1/00, 7/00 от 09.12.1997 г., авторы Малышкин В.М., Калашников С.П. – Ветроэнергетическое устройство с бесконсольным креплением лопастей и способ регулирования частоты вращения ветроколеса).
Однако наличие у такой энергоустановки прямого открытого входного канала для подвода воздушного потока к ветроколесу требует для ее работы мощных рабочих потоков, а следовательно, входных устройств больших размеров для обеспечения благоприятных условий наддува осевых ветроколес по всей их поперечной площади.
Техническим результатом предложенного изобретения является снижение материалоемкости и увеличение единичной мощности энергетической установки.
Сущность изобретения заключается в том, что в энергетической установке, содержащей диффузор, размещенный впереди приемной камеры с выходным каналом и ветроколесом, взаимодействующий с одним и более генераторами электрической энергии, диффузор имеет аэродинамическую направляющую флюгер-балку, имеющую вогнутую и выгнутую части и установленную корневой частью на оси с возможностью кругового поворота на ней и под некоторым углом по отношению направления набегающего потока, при этом флюгер-балка выполнена сужающейся от корневой части к консольной, причем к вогнутой консольной части флюгер-балки присоединена боковым тангенциальным входным окном приемная камера с симметричными выходными каналами, а внутри нее между выходными каналами размещены один и более ветроколес с генераторами электрической энергии.
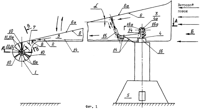
Предлагаемое техническое решение иллюстрируется графически, где на фиг.1 показан общий вид установки, на фиг.2 – вид установки по А-А фиг.1, на фиг.3 – вид по Б фиг.1, на фиг.4 – вид по В-В фиг.1.
Энергетическая установка состоит из приемной камеры 1, расположенной на консольной части 2 флюгер-балки 3 энергетической установки. Флюгер-балка 3 закреплена на вертикальной оси 4 наземной станции обслуживания 5 и имеет вогнутую 6 и выгнутую 6а поверхности. Для повышения эффективности забора набегающего потока флюгер-балка 3 установлена относительно него на горизонтальной оси 4а под некоторым углом по вертикальной плоскости.
В приемной камере 1 выполнено боковое тангенциальное входное окно 7 диффузора 8. Вогнутая наветренная поверхность 6 консольной части 2 флюгер-балки 3 формирует напорный поток в направлении входного окна 7 диффузора 8 приемной камеры 1 установки со стороны набегающего потока.
Внутри приемной камеры 1 установки между боковым тангенциальным входным окном 7 диффузора 8 и симметричными выходными каналами 9 и 9а на пилонах 10 размещены один и более ветроколес 11 с одним и более генераторами 12 электрической энергии. Ветроколеса 11 снабжены лопастями 11а и управляемыми муфтами сцепления 13. Управление работой генераторов 12 электрической энергии и другими системами осуществляется посредством систем коммуникаций 14, связанных с системами управления наземной станции обслуживания 5.
Флюгер-балка 3 энергетической установки имеет возможность изменять положение по углу относительно направления ветрового потока приводом 15 и фиксироваться в стопорном состоянии (при выполнении работ по обслуживанию установки) по вертикальной оси 4 посредством тормозного устройства 16 (например, тормозных колодок), а по горизонтальной оси 4а тормозным устройством 16а.
Энергетическая установка работает следующим образом.
Флюгер-балка 3, по команде с систем управления наземной станции обслуживания 5, через систему коммуникаций 14 снимается со стопорного состояния тормозного устройства 16 и под действием ветрового потока ориентируется по нему на вертикальной оси 4 наземной станции обслуживания 5. Затем муфтами сцепления 13 осуществляется сцепление ветроколеса 11 с генераторами 12, а приводом 15 выставляется вогнутая (наветренная) поверхность 6 флюгер-балки 3 под оптимальный угол относительно ветрового потока с последующей фиксацией в этом положении стопорным устройством 16а. Вогнутая поверхность 6 формирует напорный поток по направлению к боковому тангенциальному входному окну 7 диффузора 8 установки.
В приемной камере 1, при тангенциальном подводе напорного потока, осуществляется его вихревая закрутка, что способствует, под действием центробежных массовых сил входящего потока, формированию пристеночного потока с повышенной плотностью. Такое вихревое пристеночное движение потока способствует повышению эффективности использования пристеночных участков лопастей 11а для вращения ветроколес 11, что позволяет уменьшить их материаллоемкость. Вращающиеся ветроколеса 11 посредством генераторов 12 обеспечивают вырабатывание электрической энергии, которая по линиям систем коммуникаций 14 передается к наземной станции обслуживания 5, а далее поступает к потребителям. Из приемной камеры 1 поток выходит через симметричные выходные каналы 9 и 9а.
Для выполнения работ по обслуживанию установки с наземной станции обслуживания 5 подаются команды по линиям коммуникаций 14 на обесточивание внешних потребителей электроэнергии, остановку ветроколес 11 муфтами сцепления 13, стопорение флюгер-балки 3 на осях 4 и 4а соответственно тормозными устройствами 16 и 16а. При необходимости спуска консольной части 2 на наземную поверхность подается команда на привод 15, осуществляющий перемещение консольной части 2 флюгер-балки 3 в вертикальной плоскости по углу на горизонтальной оси 4а.
Таким образом, предложенное техническое решение позволяет по сравнению с известными решениями повысить эффективность применения энергетической установки, уменьшить ее материалоемкость, улучшить экологическую обстановку, а также снизить ее удельную стоимость и вырабатываемой ею электрической энергии.
Представленная к защите патентом энергетическая установка может быть изготовлена на предприятиях, выпускающих подобную продукцию на базе технологий производства уже известных электроустановок.
Формула изобретения
Энергетическая установка, содержащая диффузор, размещенный впереди приемной камеры с выходным каналом и ветроколесом, взаимодействующим с одним и более генераторами электрической энергии, отличающаяся тем, что диффузор имеет аэродинамическую направляющую флюгер-балку, имеющую вогнутую и выгнутую части и установленную корневой частью на оси с возможностью кругового поворота на ней и под некоторым углом по отношению к набегающему потоку, при этом флюгер-балка выполнена сужающейся от корневой части к консольной, причем к вогнутой консольной части флюгер-балки присоединена боковым тангенциальным входным окном приемная камера с симметричными выходными каналами, а внутри нее между выходными каналами размещены одно и более ветроколес с генераторами электрической энергии.
РИСУНКИ
MM4A – Досрочное прекращение действия патента СССР или патента Российской Федерации на изобретение из-за неуплаты в установленный срок пошлины за поддержание патента в силе
Дата прекращения действия патента: 09.01.2006
Извещение опубликовано: 20.09.2007 БИ: 26/2007
|
|