|
|
(21), (22) Заявка: 2002114637/03, 04.06.2002
(24) Дата начала отсчета срока действия патента:
04.06.2002
(43) Дата публикации заявки: 27.12.2003
(45) Опубликовано: 10.02.2006
(56) Список документов, цитированных в отчете о поиске:
Каталог нефтепромыслового оборудования компании Шёллер-Блекман. Берниц, 1988, с. 47-48, рис. 34, 35. SU 840473 А, 26.06.1981. SU 885544 А, 30.11.1981. SU 1472650 А1, 15.04.1989. SU 945394 А, 23.07.1982. SU 117102 А, 23.11.1959.
Адрес для переписки:
353320, Краснодарский край, г. Абинск, ул. Комсомольская, 67, кв.10, В.А. Машкову
|
(72) Автор(ы):
Щапин Игорь Вячеславович (RU), Коршунов Валерий Николаевич (RU), Машков Виктор Алексеевич (RU)
(73) Патентообладатель(и):
Закрытое акционерное общество “РА-Кубаньнефтемаш” (RU)
|
(54) ГАЗОВЫЙ ЯКОРЬ
(57) Реферат:
Изобретение относится к нефтяной промышленности и предназначено для сепарации газа на приеме штангового насоса. Обеспечивает повышение коэффициента сепарации газа и расширение области применения. Сущность изобретения: устройство содержит всасывающий патрубок с осевым и радиальными каналами, ряд последовательно размещенных одна над другой на всасывающем патрубке чашек, накопительный патрубок. Согласно изобретению радиальные каналы всасывающего патрубка расположены на уровне днища каждой чашки, высота которой определена аналитическим выражением. При этом суммарный объем чашек принят из условия превышения суммарного объема пластовой жидкости в этих чашках над объемом подачи штангового насоса за одно качание. 2 ил. 
Изобретение относится к нефтяной промышленности и предназначено для сепарации газа на приеме скважинного штангового насоса.
Известен скважинный сепаратор двойного действия (см. а.с. №1629507,5 Е 21 В 43/38, опубл. 23.02.91 г., бюл. №7), предназначенный для сепарации газа и песка в условиях повышенных расходов газожидкостной смеси, состоящий из корпуса с присоединительным патрубком и приемными отверстиями, контейнера для механических примесей, многокамерного узла предварительной сепарации газа с установленными снаружи кольцами, патрубков для отвода жидкости, делителя потока, совмещенного узла центробежной сепарации газа, содержащего шнек с перфорированными отверстиями и спираль, образующий с хвостовиком проточный канал. В теле делителя по образующей цилиндра выполнены щелевые прорези, сообщающие проточный канал штока с кольцевым каналом. Суммарная площадь сечения щелевых прорезей подобрана из условия обеспечения поля центробежных сил, необходимого для разделения фаз.
Кольцевая полость между хвостовиком шнека и корпусом разделена кольцами на отдельные камеры, связанные приемными отверстиями с полостью скважины, отверстиями в корпусе – с газосборной камерой и камерой гравитационной сепарации газа.
Работа сепаратора.
При повышенных расходах высокопенистых нефтей поток равномерно распределяется по отдельным камерам для уменьшения скорости нисходящего потока, что приводит к увеличению абсолютной скорости движения газовых пузырьков вверх.
Однако, даже при повышенных дебитах откачки, скорость газожидкостного потока изменится на небольшую величину, поскольку поле гравитационных сил имеет небольшое значение, а диаметр закрутки газожидкостного потока ограничен конструктивными размерами скважины.
При обводненности продукции в поле гравитационных сил в сочетании с центробежными силами происходит смешивание пластовой воды и жидкости с образованием эмульсий, имеющих достаточно высокую стойкость и вязкость, которая намного превышает вязкость нефти и вязкость воды, что затрудняет отделение – сепарацию газа в данном устройстве. Следует отметить, что устройство обладает достаточно высокой сложностью в изготовлении.
Известен многосекционный газовый якорь тарельчатого типа (см. а.с. №1601361, 5 Е 21 В 43/38, опубл. 23.10.90. г., бюл. №39), предназначенный для обеспечения глубинно-насосной эксплуатации скважин путем сепарации газа при работе в наклонных скважинах.
Устройство содержит всасывающий патрубок с опорными кольцами на наружной поверхности, на которых установлены перевернутые тарельчатые диски, снабженные патрубками для отвода газа, сообщающими последовательно полости под тарельчатыми дисками с полостью скважины. Тарельчатые диски снабжены противовесами в виде втулок, охватывающими всасывающий патрубок, с образованием кольцевой камеры, связанной радиальными каналами с осевым каналом всасывающего патрубка.
Однако газовый якорь при его установке в наклонных скважинах с достаточно большим углом наклона может пропускать газ внутрь всасывающего патрубка в зазорах между противовесами и наружной поверхностью всасывающего патрубка.
При наклоне тарелей за счет противовесов с учетом того, что газоотводящие трубки расположены на каждой тарели со смещением по периметру, существуют застойные зоны, где газ скапливается и не может быть переброшен в полость соседней тарели.
Известен газовый якорь чашечного типа, опубликованный в Каталоге нефтепромыслового оборудования компании Шеллер-Блекманн – Австрия (каталог 1988 г., г. Берниц, декабрь 1988 г., с.47-48, рис.34, 35), который принят авторами в качестве прототипа.
Якорь состоит из сдвоенной трубы – внешней и приемной внутренней. Внешняя труба снабжена рядом последовательно установленных тарельчатых чашек, обращенных полостью к приему штангового насоса.
В месте установки каждой чашки на внешней трубе выполнены по периметру ряд продольных пазов для пропуска нефти, высота которых принята больше высоты самой чашки. Внутрь внешней трубы пропущена приемная труба с расположением нижнего конца в полости накопительного патрубка, осевой канал которого перекрыт снизу заглушкой.
Принцип действия якоря – нефтегазовая смесь с помощью чашек якоря, установленных на внешней трубе, через продольные пазы всасывается в кольцевое пространство между внутренней поверхностью внешней трубы и приемной трубой. При этом газ поднимается по кольцевому пространству вверх и на верхних участках через продольные пазы во внешней трубе выводится в межтрубное пространство. Дегазированная нефть поступает в накопительный патрубок, откуда отсасывается штанговым насосом.
Конструкция газового якоря чашечного типа, представляющая собой несколько секций, из которых собирается непосредственно газовый якорь, не дает возможности осуществить достаточно надежную сепарацию газа, поскольку часть секций работает на подачу газонефтяной смеси в межтрубное пространство через продольные пазы во внешней трубе, а часть секции – на вывод отсепарированного газа в межтрубное пространство. При этом длина газового якоря может быть достаточно большой, что, в случае использования такого газового якоря в комплекте со штанговым насосом большой производительности, снизит надежность сепарации растворенного газа, поскольку кольцевой канал, между внешней и внутренней трубами, имеет определенные размеры. Нижние секции газового якоря служат в качестве подающих газожидкостную смесь в кольцевое пространство.
Из литературных источников известно, что для нефтей средней плотности (см. Чичеров Л.Б. «Нефтепромысловые машины и механизмы», М.: Недра, 1983 г., с.160-161) скорость всплытия пузырьков растворенного газа Vг=0,02 м/сек, при обводненности меньше 0,5. Отсюда следует, что при числе качаний насоса n=10 в минуту и ходе плунжера L=3500 мм необходимое время всплытия пузырька газа Т=3 сек – время, за которое происходит нагнетание пластовой жидкости. Отсюда следует, что за время Т=3 сек пузырьки газа переместятся вверх на L=Vг×Т=0,02 м/сек × 3 сек = 0,06 м или 6 см, а значит не весь газ выделится из нефти и попадет на прием штангового насоса, что снизит его подачу.
Анализ изобретательского уровня показал следующее. Известна конструкция четырехкорпусного газового якоря (см. Еникеев В.Р. и др. «Эксплуатация глубино-насосных скважин», М.: Недра, 1971 г., с.91-93), состоящая из нескольких последовательно соединенных секций, каждая из которых содержит внешний корпус, перфорированный в верхней части, и всасывающий патрубок, имеющий отверстия у днища ниппеля. На нижнем конце к газовому якорю присоединен песочный карман с заглушкой.
Известно, что средняя скорость всплытия пузырьков газа в нефти составляет 1÷3 см/сек. Известно также, что диаметр газового якоря принимается равным 0,5 диаметра обсадной колонны (см. Белов И.Г. «Экспериментальное исследование работы газовых якорей», Труды АзНИИ ДН, вып.2, Баку, Азнефтеиздат, 1955 г.). При существовании высокодисперсной структуры работа газового якоря малого диаметра крайне неблагоприятна, чем меньше площадь сечения затрубного пространства и выше дебит скважины, тем более тяжелые условия для сепарации газа у приема насоса. Однако при сходстве конструктивных элементов в конструкции газового якоря не учтена при расчете скорость всплытия пузырьков газа и суммарный объем полости всех секций газового якоря, в зависимости от подачи насоса.
Технический результат, который может быть получен при осуществлении предлагаемого изобретения, сводится к следующему:
– повышается коэффициент сепарации газа при относительно малой длине газового якоря за счет отказа от внутреннего всасывающего патрубка;
– расширяется область применения газового якоря для скважин с низким динамическим уровнем относительно забоя скважины.
Технический результат достигается тем, что высота чашек на всасывающем патрубке секции газового якоря определена исходя из пути, который проходит при всплытии пузырек газа за время цикла нагнетания насоса, а суммарный объем чашек, заполненный газожидкостной смесью, превосходит объем подачи насоса, при этом радиальные каналы располагаются на уровне днища каждой чашки, что исключает попадание последующей порции газожидкостной смеси из полости скважины на прием штангового насоса при цикле всасывания.
Изобретение поясняется следующими чертежами:
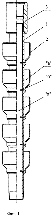
– на фиг.1 – общий вид секции чашечного газового якоря;
– на фиг.2 – общий вид компоновки секций чашечного газового якоря.
Секция чашечного газового якоря состоит из всасывающего патрубка 1, установленных на нем последовательно, одна над другой, чашек 2, внутренняя полость «а» которых связана радиальными каналами «б» с осевым каналом «в» всасывающего патрубка 1. На верхнем конце всасывающего патрубка 1 установлена соединительная муфта 3. На фиг.2 показано соединение секций I и II. К нижней секции II посредством муфты 4 присоединен накопительный патрубок 5 для накопления механических частиц с заглушкой 6.
Высота каждой чашки 2 определена из условия, что она не превышает расчетной длины пути пузырька выделившегося газа за время, равное времени 1/2 цикла нагнетания насоса. Внутренний диаметр чашки и их количество определено из условия превышения суммарного объема внутренних полостей «а» над дебитом штангового насоса за одно качание.
Количество секций газового якоря определяют исходя из числа качаний насоса, его производительности, обводненности продукции и газового фактора.
Рассмотрим работу газового якоря.
Пластовая газированная жидкость заполняет полости «а» чашек 2 и осевой канал «в» всасывающего патрубка 1. При перемещении плунжера штангового насоса вверх происходят открытие всасывающего клапана и подача пластовой жидкости в цилиндр насоса из осевого канала «в» всасывающего патрубка. Дегазированная пластовая жидкость из полости «а» каждой чашки 2 по радиальным каналам «б» вводится внутрь осевого канала «в». Уровень дегазированной пластовой жидкости в полости «а» каждой чашки 2 при откачке понижается, не доходя до уровня расположения радиальных каналов «б», при максимальном заполнении объема цилиндра с поступлением очередной порции дегазированной пластовой жидкости. При перемещении плунжера штангового насоса вниз всасывающий клапан закрывается.
Пластовая жидкость, находящаяся в полости «а» каждой чашки 2, в это время находится в состоянии покоя. Пузырьки газа выделяются в объеме каждой чашки 2 и перемещаются вверх. Поскольку высота чашек 2 определена из условия обязательного всплытия пузырьков газа в полости «а» каждой чашки 2, за время цикла нагнетания насоса, то происходит дегазация пластовой жидкости с выходом газа из полости «а» чашек 2 в кольцевое межтрубное пространство. Скорость перемещения уровня дегазированной пластовой жидкости в полости «а» каждой чашки 2 газового якоря при всасывании насоса в этом случае значительно меньше известной скорости всплытия пузырьков выделяющегося газа, что способствует дегазации нефти и в режиме всасывания насосом пластовой жидкости.
Следует отметить, что при такой скорости перемещения уровня пластовой жидкости в полости «а» чашек 2 имеет место ламинарный режим течения. Механические частицы, попадаемые в осевой канал «в» всасывающего патрубка 1, под действием гравитационных сил, оседают внутри накопительного патрубка 5, откуда они могут быть удалены при проведении замены штангового насоса и подъема газового якоря на поверхность.
Устройство прошло испытания на месторождении Белокаменное ОАО «Саратовнетегаз» с положительными результатами.
Формула изобретения
Газовый якорь чашечного типа, содержащий всасывающий патрубок с осевым и радиальными каналами, ряд последовательно размещенных одна над другой на всасывающем патрубке чашек, накопительный патрубок, отличающийся тем, что радиальные каналы всасывающего патрубка расположены на уровне днища каждой чашки, высота которой определена из соотношения:
h > Vпуз · t/2,
где Vпуз – скорость всплытия пузырьков газа в чашке;
t – время цикла откачки пластовой жидкости штанговым насосом,
при этом суммарный объем чашек принят из условия превышения суммарного объема пластовой жидкости в этих чашках над объемом подачи штангового насоса за одно качание.
РИСУНКИ
MM4A – Досрочное прекращение действия патента СССР или патента Российской Федерации на изобретение из-за неуплаты в установленный срок пошлины за поддержание патента в силе
Извещение опубликовано: 20.07.2007 БИ: 20/2007
|
|