|
| На основании пункта 3 статьи 13 Патентного закона Российской Федерации от 23 сентября 1992 г. № 3517-I патентообладатель обязуется передать исключительное право на изобретение (уступить патент) на условиях, соответствующих установившейся практике, лицу, первому изъявившему такое желание и уведомившему об этом патентообладателя и федеральный орган исполнительной власти по интеллектуальной собственности, – гражданину РФ или российскому юридическому лицу. |
|
(21), (22) Заявка: 2004120246/03, 05.07.2004
(24) Дата начала отсчета срока действия патента:
05.07.2004
(45) Опубликовано: 10.02.2006
(56) Список документов, цитированных в отчете о поиске:
SU 1073428 A1, 15.02.1984. SU 1495426 A1, 23.07.1989. SU 303410 A1, 01.07.1971. RU 2004760 C1, 15.12.1993. RU 2004757 C1, 15.12.1993. RU 2012767 C1, 15.05.1994. DE 758463 A, 11.01.1945.
Адрес для переписки:
123182, Москва, ул. Авиационная, 68, кв.490, Н.М. Панину
|
(72) Автор(ы):
Ясашин Виталий Анатольевич (RU), Сериков Дмитрий Юрьевич (RU), Панин Николай Митрофанович (RU)
(73) Патентообладатель(и):
Ясашин Виталий Анатольевич (RU), Сериков Дмитрий Юрьевич (RU), Панин Николай Митрофанович (RU)
|
(54) БУРОВОЕ ДОЛОТО
(57) Реферат:
Использование: долото предназначено для бурения по трещиноватым породам. Позволяет обеспечить повышение проходки за счет исключения сколов его твердосплавной вставки. Долото содержит корпус с очистными каналами, присоединительный хвостовик и рабочую головку с диаметральным пазом под твердосплавную вставку. Оно снабжено ограничительным приспособлением, выполненным, по меньшей мере, в виде одной полой съемной втулки, установленной в очистном канале с возможностью регулирования ее положения относительно рабочего торца долота. Полая съемная втулка выполнена с приводом в виде винтовой пары для ее осевого перемещения, а привод полой съемной втулки размещен в полости корпуса. 4 з.п. ф-лы, 2 ил. 
Изобретение относится к породоразрушающему инструменту, а именно к долотам для ударно-вращательного бурения, преимущественно, по трещиноватым породам.
Известна коронка для разбуривания трещиноватых пород, содержащая корпус с перьями, армированными твердосплавными вставками и разделенные между собой радиальными пазами, и продувочными каналами, сообщающими полость корпуса с радиальными пазами (см. п. РФ № 2004757, кл. Е 21 В 10/36, 1993 г.)
Известная коронка успешно работает при бурении по трещиноватым породам благодаря исключению заклинивания твердосплавных вставок в трещинах. Это достигается за счет использования в коронке нескольких перьев. Однако все многоперьевые коронки имеют существенные недостатки: малую скорость бурения, трудоемкость изготовления и перезаточки вставок и значительный расход дорогостоящего твердого сплава.
Наиболее близким к предложенной по технической сущности и достигаемому результату является буровое долото, содержащее корпус с очистными каналами, присоединительный хвостовик и рабочую головку с диаметральным пазом под твердосплавную вставку (а.с. СССР № 1495426, кл. Е 21 В 10/36, 1983 г.)
Данное долото обеспечивает по сравнению с аналогом более высокий кпд при разрушении горных пород, имеет более простую конструкцию, требует меньшего расхода твердого сплава и обеспечивает удобство перезаточки.
К недостаткам прототипа следует отнести малую эффективность при бурении по трещиноватым породам из-за возможности заклинивания и разрушения твердосплавной вставки.
В связи с изложенным основной задачей предложенного технического решения является повышение эффективности работы долота по трещиноватым породам при одновременном сохранении всех положительных свойств прототипа.
Поставленная задача решается тем, что буровое долото, содержащее корпус с очистными каналами, присоединительный хвостовик и рабочую головку с диаметральным пазом под твердосплавную вставку, согласно изобретению снабжено ограничительным приспособлением, выполненным, по меньшей мере, в виде одной полой съемной втулки, установленной в очистном канале с возможностью регулирования ее положения относительно рабочего торца долота.
Решению поставленной задачи способствует также и то, что:
– полая съемная втулка выполнена с приводом в виде винтовой пары для ее осевого перемещения, а привод полой съемной втулки размещен в полости корпуса;
– каждая втулка жестко соединена с винтовой парой посредством траверсы, при этом гайка винтовой пары жестко соединена с корпусом, а подвижный стержень – с траверсой;
– по меньшей мере одна из втулок выполнена с тангенциальными очистными каналами;
– корпус и хвостовик соединены резьбой, при этом гайка винтовой пары размещена между опорными торцами корпуса и хвостовика.
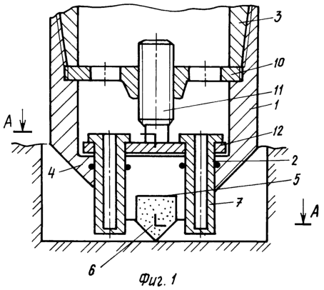
Изобретение поясняется чертежами, на фиг.1 изображен общий вид выполнения бурового долота во фронтальной плоскости (предпочтительный вариант); фиг.2 – сечение А-А на фиг.1.
Буровое долото содержит корпус 1 с очистными каналами 2, присоединительный хвостовик 3 и рабочую головку 4 с диаметральным пазом 5, в котором установлена твердосплавная вставка 6. Долото снабжено ограничительным приспособлением в виде, по меньшей мере, одного съемного элемента, включающего полую втулку 7 с приводом для ее осевого перемещения и регулирования положения втулки 7 относительно рабочего торца коронки. Втулки 7 могут использоваться как с осевым каналом 8 (левая сторона чертежа), так и с тангенциальными каналами 9 для очистного агента (правая часть чертежа). При размещении втулок 7 в специальных каналах (не показаны), а не в очистных каналах 2, съемные элементы могут быть выполнены и в виде глухих пробок.
Привод втулки 7 выполнен в виде винтовой пары, состоящей из гайки 10, неподвижно закрепленной между торцами корпуса 1 и хвостовика 3, и стержня 11, установленного с возможностью осевого перемещения относительно гайки 10 и жестко соединенного с траверсой 12. Последняя в свою очередь жестко соединена с втулками 7, установленными в очистных отверстиях 2 корпуса 1. Привод служит для установки втулок 7 на определенном расстоянии от торца твердосплавной пластины 6, величина которого выбирается в зависимости от свойств разбуриваемых горных пород (в первую очередь с учетом их трещиноватости). Количество втулок 7 выбирается в зависимости от типоразмеров буровых коронок. Чем больше диаметр коронки, тем больше может быть количество втулок. Оптимальное количество втулок 7 для коронок диаметром менее 76 мм составляет две. При этом обе втулки 7 расположены в плане симметрично относительно твердосплавной вставки 6.
Долото работает следующим образом. Под действием крутящего момента и осевой нагрузки твердосплавная вставка 6 внедряется в породу и разрушает ее. Образующийся при этом шлам выносится с забоя очистным агентом, подаваемым через каналы 2. При бурении по трещиноватым породам часто наблюдаются случаи заклинивания долот и разрушения твердосплавной вставки 6. Для исключения этого явления в предложенном долоте используются предохранительные съемные элементы, торцевая поверхность которых смещена относительно торца рабочей головки 4 на определенную величину, определяемую свойствами разбуриваемых пород и мощностью привода ударного механизма. Установка заданного смещения осуществляется винтовой парой путем вращения в ту или иную сторону стержня 11 относительно неподвижной гайки 10.
Возможен вариант выполнения корпуса 1 и хвостовика 2 в виде единой детали. В этом случае гайка 10 фиксируется между опорными поверхностями хвостовика 2 и нижним торцом бура (не показан).
При затуплении твердосплавной вставки 6 производится ее перезаточка, при этом благодаря возможности осевого перемещения втулок 7, последние полностью удаляются или поднимаются таким образом, чтобы они не мешали проведению этой операции. Благодаря такому выполнению ограничителя подачи заточка твердосплавной вставки 6 может быть осуществлена самыми простыми средствами, например наждачными кругами.
Таким образом, применение предложенной коронки обеспечивает высокую механическую и рейсовую скорости бурения за счет исключения заклинивания вставок при разбуривании трещиноватых пород при одновременном обеспечении удобства перезаточек затупившихся вставок.
Формула изобретения
1. Буровое долото, содержащее корпус с очистными каналами, присоединительный хвостовик и рабочую головку с диаметральным пазом под твердосплавную вставку, отличающееся тем, что оно снабжено ограничительным приспособлением, выполненным, по меньшей мере, в виде одной полой съемной втулки, установленной в очистном канале с возможностью регулирования ее положения относительно рабочего торца долота.
2. Буровое долото по п.1, отличающееся тем, что полая съемная втулка выполнена с приводом в виде винтовой пары для ее осевого перемещения, а привод полой съемной втулки размещен в полости корпуса.
3. Буровое долото по п.2, отличающееся тем, что каждая втулка жестко соединена с винтовой парой посредством траверсы, при этом гайка винтовой пары жестко соединена с корпусом, а подвижный стержень – с траверсой.
4. Буровое долото по п.1, отличающееся тем, что по меньшей мере одна из втулок выполнена с тангенциальными очистными каналами.
5. Буровое долото по п.1, отличающееся тем, что корпус и хвостовик соединены резьбой, при этом гайка винтовой пары размещена между опорными торцами корпуса и хвостовика.
РИСУНКИ
|
|