|
|
(21), (22) Заявка: 2004115198/15, 20.05.2004
(24) Дата начала отсчета срока действия патента:
20.05.2004
(43) Дата публикации заявки: 27.10.2005
(45) Опубликовано: 10.02.2006
(56) Список документов, цитированных в отчете о поиске:
GB 2111602 А, 06.07.1983. SU 1144977 A, 15.03.1985. RU 2001103899 А, 27.01.2003. RU 2180889 C1, 27.03.2002. US 2003119919 А, 26.06.2003. FR 2442216 A1, 20.06.1980.
Адрес для переписки:
355005, г.Ставрополь, ул. Герцена, 102, ЗАО Производственно-строительная фирма “Грантстрой”, Г.Г.Аракеляну
|
(72) Автор(ы):
Аракелян Гамлет Гургенович (RU), Аракелян Артур Гамлетович (RU)
(73) Патентообладатель(и):
Закрытое акционерное общество Производственно-строительная фирма “Грантстрой” (RU)
|
(54) СПОСОБ ПОЛУЧЕНИЯ ВОДОРОДСОДЕРЖАЩЕГО ГАЗА В ТУРБОГЕНЕРАТОРНОЙ УСТАНОВКЕ
(57) Реферат:
Изобретение относится к способу получения водородсодержащего газа в турбогенераторной установке. Способ получения водородсодержащего газа осуществляют в турбогенераторной установке, включающей I, II и III ступени, содержащей раму, на которой смонтирован топливный бак для двухкомпонентной смеси H2O+СnН2n+2 с мешалкой и приводом, турбинную горелочную систему, индукционный нагреватель I ступени, импульсный источник зажигания для запуска и систему газопроводов. При этом двухкомпонентную смесь Н2O+СnН2n+2 подают в топливный бак, включают привод и осуществляют ее перемешивание и нагнетание под давлением в I ступень турбогенераторной установки, где при помощи индукционного нагревателя осуществляют нагрев до 500°С, затем преобразованную в газообразное состояние двухкомпонентную смесь подают в турбинную горелочную систему и от импульсного источника зажигания осуществляют запуск I ступени, после чего часть газа подают на II ступень, продолжая нагрев до 1000°С, а другую часть газа подают в турбинную горелочную систему для обеспечения нагрева газа на I, II и III ступени, при этом после II ступени газ для окончательного нагрева до температуры 1300°С подают на III ступень с получением водородсодержащего газа, который подают в горелочную систему. Изобретение позволяет снизить энергоемкость процесса в сочетании с использованием дешевой углеводородной смеси. 3 ил. 
Предлагаемое изобретение относится к установкам для преобразования воды Н2О в водородсодержащий газ в сочетании среды катализатора из ряда СnН2n+2 (дизельное топливо, мазут) в непрерывной тепловой огневой среде при температуре горения свыше 500°С.
Известен способ для генерации водородсодержащего газа путем каталитической конверсии метанола или его водных растворов (SU 1144977, опубл. 15.03.1985).
Недостатком этого способа является высокая энергоемкость.
Наиболее близкой к предлагаемому изобретению относится установка с комбинированным циклом для получения синтетического газа, т.е. способ получения водородсодержащего газа в турбогенераторной установке [см. GB 2111602, опубл. 06.07.1983 г.]. Данный способ, по сути, сложная технология в двухступенчатом состоянии и потребляет большое количество электроэнергии и теплоносителей для получения высокой температуры при сжигании в камере горения топлива, которая состоит из трех самостоятельных компонентов:
– углеводородное топливо;
– кислород;
– водяной пар.
Все три компонента с помощью сложных дозаторных устройств подают в камеру сгорания для обеспечения высокотемпературного режима. Последующая операция заключается в охлаждении водородсодержащего газа и в заправке его через компрессор под высоким давлением в стальные баллоны для дальнейшего потребления в виде горючего топлива.
Задачей изобретения является снижение энергоемкости процесса в сочетании с использованием дешевой углеводородной среды из ряда CnH2n+2 (дизельное топливо, мазут и т.д.).
Поставленная задача достигается способом получения водородсодержащего газа в турбогенераторной установке. Способ осуществляют в турбогенераторной установке, включающей I, II и III ступени, содержащей раму, на которой смонтирован топливный бак для двухкомпонентной смеси H2O+CnH2n+2 с мешалкой и приводом, турбинную горелочную систему, индукционный нагреватель I ступени, импульсный источник зажигания для запуска и систему газопроводов, при этом двухкомпонентную смесь H2O+CnH2n+2 подают в топливный бак, включают привод и осуществляют ее перемешивание и нагнетание под давлением в I ступень турбогенераторной установки, где при помощи индукционного нагревателя осуществляют нагрев до 500°С, затем преобразованную в газообразное состояние двухкомпонентную смесь подают в турбинную горелочную систему и от импульсного источника зажигания осуществляют запуск I ступени, после чего часть газа подают на II ступень, продолжая нагрев до 1000°С, а другую часть газа подают в турбинную горелочную систему для обеспечения нагрева газа на I, II, III ступени, при этом после II ступени газ для окончательного нагрева до температуры 1300°С подают на III ступень с получением водородсодержащего газа, который подают в турбинную горелочную систему.
Окончательная стабилизация в преобразовании смеси Н2O+СnН2n+2 в водородсодержащий газ и углекислый газ СО2 происходит за 3-5 мин после запуска I ступени турбогенераторной установки и обеспечивает работу высокотемпературного горения до полного расхода смеси в расходном баке под давлением 0,05 МПа или при необходимости экстренной остановки через специальное клапанное устройство.
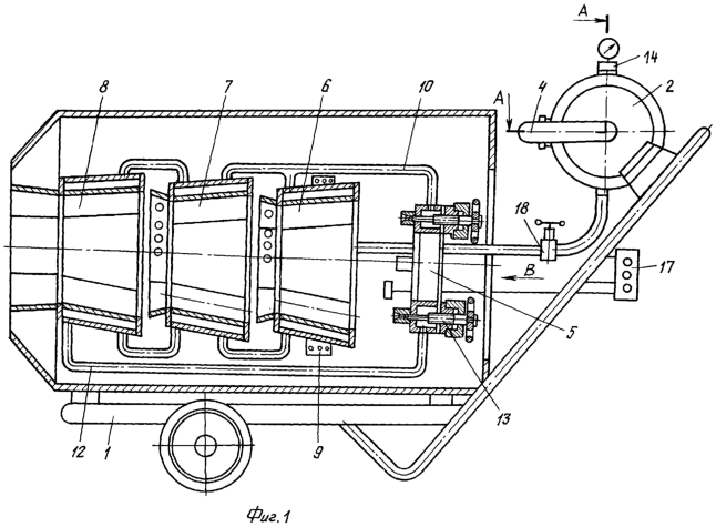
На фиг.1 изображен общий вид установки, на фиг.2 – вид сверху, на фиг.3 – схемы горелочной системы водородной турбогенераторной установки, на фиг.4 – разрез топливного бака с клапанным устройством и крышкой.
Способ получения водородсодержащего газа осуществляется в турбогенераторной установке, которая содержит общую раму (1), бак для топливной смеси (вода Н2О более 70% и углеводородная среда из ряда СnН2n+2 – диз. топливо и т.д.) с мешалкой (3), привод с электродвигателем (4), турбинную горелочную систему (5), I-ю ступень турбогенератора (6), II-ю ступень турбогенератора для получения водородсодержащего газа и углекислого газа CO2 (7), III-ю ступень турбогенератора (8), индукционный нагреватель I-й ступени (9), газопровод I-й ступени (10), газопровод II-й ступени (11), газопровод (12), соединяющий III ступень с турбинной горелочной системой (5), регулировочное устройство турбинной горелочной системы (13), крышку бака (14), двухкомпонентную горючую смесь (15), клапанное устройство (16), импульсный источник зажигания (17), игольчатое запорное устройство (18).
Способ получения водородсодержащего газа в турбогенераторной установке осуществляется следующим способом.
Установка помещается на исходное положение в рабочей зоне.
При помощи канистры в герметичный расходный бак заправляют исходные компоненты – вода (H2O) и дизельное топливо в объеме: воды 70%, дизельного топлива 30%.
После чего крышка бака (14) герметично закрывается. Включается привод (4), и при помощи мешалки (3) перемешивается двухкомпонентный состав воды и диз. топлива до получения однородного состава горючей смеси (15). Через специальное клапанное устройство (16) в расходном баке (2) создается избыточное давление 0,05 МПа. Готовая двухкомпонентная горючая смесь (15) частично нагнетается под давлением через специальное клапанное устройство в I-ю ступень турбогенератора (6). При помощи индукционного нагревателя I-й ступени (9) обеспечивается подогрев горючей смеси в полостях турбогенератора I-й ступени (6) до температуры 500°С. Преобразованная в газообразное состояние двухкомпонентная горючая смесь поступает через газопровод I-й ступени (10) в турбинную горелочную систему (5) и от импульсного источника зажигания (17) обеспечивает запуск I-й ступени, и тем самым обеспечивает устойчивое горение водородсодержащего газа и выход в атмосферу углекислого газа СО2. После запуска I-й ступени (6) и достижения устойчивой работы горения водородсодержащего газа, обеспечивающей температуру газообразования в I-й ступени до 500°С, одновременно отрывается клапанное устройство для подачи газа I-й ступени (6) во II-ю ступень (7), продолжая нагреваться до 1000°С, и в III-ю ступени (8), окончательно подогретого до температуры 1300°С, что обеспечивает получение чистого водородсодержащего газа высокой температуры.
Полученный водородсодержащий газ под давлением 0,05 МПа через газопровод III-й ступени поступает в турбинную горелочную систему (5).
После запуска II и III-й ступени отключается клапанное устройство (16) и обеспечивается стабильная работа турбогенераторной установки в рабочем режиме как самостоятельной огневой установки в режиме теплогенератора, что представляет высокотемпературный источник горения до 1300°С.
Испытания в промышленных условиях, в частности, при сушке бетонных оснований кровли с применением передвижной турбогенераторной установки показали надежность и устойчивость работы всей системы и достижение высокотемпературного эффекта.
Производительность по сушке основания бетонной поверхности составляет 200 м2/час.
Расход основных компонентов горючей смеси составляет:
– вода Н2O 14 л;
– диз. топливо 6 л;
– температура сушки основания 1300°С;
– продолжительность работы 3 ч.
Изобретение позволяет снизить потребление энергии за счет исключения использования тепло- и электроэнергии, а также катализаторов.
Формула изобретения
Способ получения водородсодержащего газа в турбогенераторной установке, отличающийся тем, что способ осуществляют в турбогенераторной установке, включающей I, II и III ступени, содержащей раму, на которой смонтирован топливный бак для двухкомпонентной смеси Н2O+СnН2n+2 с мешалкой и приводом, турбинную горелочную систему, индукционный нагреватель I ступени, импульсный источник зажигания для запуска и систему газопроводов, при этом двухкомпонентную смесь Н2O+СnН2n+2 подают в топливный бак, включают привод и осуществляют ее перемешивание и нагнетание под давлением в I ступень турбогенераторной установки, где при помощи индукционного нагревателя осуществляют нагрев до 500°С, затем преобразованную в газообразное состояние двухкомпонентную смесь подают в турбинную горелочную систему и от импульсного источника зажигания осуществляют запуск I ступени, после чего часть газа подают на II ступень, продолжая нагрев до 1000°С, а другую часть газа подают в турбинную горелочную систему для обеспечения нагрева газа на I, II и III ступени, при этом после II ступени газ для окончательного нагрева до температуры 1300°С подают на III ступень с получением водородсодержащего газа, который подают в турбинную горелочную систему.
РИСУНКИ
MM4A – Досрочное прекращение действия патента СССР или патента Российской Федерации на изобретение из-за неуплаты в установленный срок пошлины за поддержание патента в силе
Дата прекращения действия патента: 21.05.2007
Извещение опубликовано: 10.02.2008 БИ: 04/2008
NF4A Восстановление действия патента СССР или патента Российской Федерации на изобретение
Дата, с которой действие патента восстановлено: 10.02.2008
Извещение опубликовано: 10.02.2008 БИ: 04/2008
|
|