|
(21), (22) Заявка: 2003137712/11, 26.12.2003
(24) Дата начала отсчета срока действия патента:
26.12.2003
(43) Дата публикации заявки: 10.06.2005
(45) Опубликовано: 10.02.2006
(56) Список документов, цитированных в отчете о поиске:
RU 2200689 С2, 20.03.2003. RU 2139228 С1, 10.10.1999. RU 2144893 С1, 27.01.2000. US 4603732 А, 05.08.1986.
Адрес для переписки:
662972, Красноярский край, ЗАТО Железногорск, г. Железногорск, ул. Ленина, 52, ФГУП НПОПМ, Р.П. Туркеничу
|
(72) Автор(ы):
Козлов Альберт Гаврилович (RU), Бартенев Владимир Афанасьевич (RU), Кесельман Геннадий Давыдович (RU), Шелудько Вячеслав Григорьевич (RU), Халиманович Владимир Иванович (RU), Михнев Михаил Михайлович (RU), Акчурин Владимир Петрович (RU), Акчурин Георгий Владимирович (RU), Близневский Александр Сергеевич (RU), Роскин Сергей Михайлович (RU), Головенкин Евгений Николаевич (RU), Туркенич Роман Петрович (RU), Гупало Виктор Кузьмич (RU), Загар Олег Вячеславович (RU), Шилкин Олег Валентинович (RU), Дмитриев Геннадий Валерьевич (RU)
(73) Патентообладатель(и):
Федеральное государственное унитарное предприятие “Научно-производственное объединение прикладной механики имени акад. М.Ф. Решетнева” (RU)
|
(54) СПОСОБ ИЗГОТОВЛЕНИЯ МОДУЛЯ ПОЛЕЗНОЙ НАГРУЗКИ КОСМИЧЕСКОГО АППАРАТА
(57) Реферат:
Изобретение относится к космической технике и может быть использовано, в частности, при создании связных спутников. Согласно предлагаемому способу проводят испытания модуля полезной нагрузки на работоспособность. С этой целью до и после указанных испытаний к модулю подстыковывают технологическое компенсационное устройство. Газовую полость этого устройства предварительно заполняют газом под давлением, а из жидкостной полости данного устройства сливают некоторую дозу теплоносителя. Указанные давление и сливаемая доза находятся из определенных соотношений. Технический результат изобретения состоит в уменьшении вероятности брака, в том числе скрытого, при изготовлении модуля. 2 ил. 
Изобретение относится к космической технике, в частности к связным спутникам, и создано авторами в порядке выполнения служебного задания.
В настоящее время связные спутники первоначально изготавливают из двух раздельных частей: модуля полезной нагрузки (МПН), где на термостатируемых панелях с жидкостным трактом установлены приборы ретранслятора, и модуля служебных систем (МСС), где, в частности, установлена система терморегулирования (СТР) с жидкостным контуром, обеспечивающая в условиях орбитального функционирования требуемый тепловой режим МПН.
В процессе изготовления каждый модуль проходит автономные испытания на работоспособность, в частности при испытаниях МПН к его гидроразъемам жидкостного тракта для обеспечения теплового режима пристыковывают гидроразъемы имитатора системы терморегулирования (ИСТР) (смотри патенты Российской Федерации №№2144893, 2200689, 2139228), предварительно отстыковав от гидроразъема МПН технологический компенсатор объема (ТКУ – технологическое компенсационное устройство).
Опыт изготовления подобных МПН показывает, что в результате ошибок операторов в жидкостном тракте МПН возможно создание недопустимо высокого давления, которое может привести к разрушению МПН до запуска космического аппарата или к скрытому браку жидкостного тракта МПН (к преждевременному выходу из строя жидкостного тракта МПН и связного спутника в условиях орбитального функционирования из-за пребывания жидкостного тракта МПН при недопустимо повышенных давлениях в процессе изготовления МПН).
Анализ источников информации по патентной и научно-технической литературе показал, что наиболее близким по технической сущности к предлагаемому техническому решению является способ изготовления, приведенный в материалах патента №2200689.
В настоящее время реализованный в производстве способ изготовления МПН на основе патента №2200689 включает в себя следующие основные операции (см. фиг.2):
– исходное положение: пристыковывают к гидроразъему 1.2 заправленного жидким теплоносителем жидкостного тракта МПН 1 гидроразъем 2.1 ТКУ 2, жидкостная полость 2.2 которого заправлена таким же теплоносителем, а газовая полость 2.3, отделенная от жидкостной полости сильфоном 2.4, заправлена газом с атмосферным давлением 1 кгс/см2 (сообщена с атмосферой);
– отстыковывают гидроразъем 2.1 ТКУ 2 от гидроразъема 1.2 МПН 1 и после этого пристыковывают гидроразъемы 3.1, 3.2 ИСТР 3 к гидроразъемам 1.1, 1.2 МПН 1; ИСТР 3 включает в себя ЭНА 3.3, холодильник 3.5, компенсатор объема 3.4. газовая полость 3.4.1 которого заправлена газом с определенным повышенным (выше атмосферного) давлением (газовая полость компенсатора объема ИСТР заправлена повышенным давлением газа для поддержания повышенного давления теплоносителя на входе в ЭНА для обеспечения его бескавитационной (устойчивой) работы и исключения парообразования в жидкостных трактах при испытаниях МПН при повышенных температурах теплоносителя на его входе и выходе (до 55°С): например, газовая полость компенсатора объема существующего ИСТР для удовлетворения этого условия заправлена газом давлением 1,59 кгс/см2 при температуре заправки 20°С);
– включают в работу ИСТР 3;
– включают в работу МПН 1 и проверяют его работоспособность:
– избыточное тепло, выделяющееся при работе МПН, отводят в ИСТР;
– после окончания испытаний на работоспособность от МПН 1 отстыковывают ИСТР 3, а затем после этого пристыковывают к МПН 1 ТКУ 2 и передают МПН (с ТКУ) на временное хранение или в сборочный цех, где будет производиться стыковка МПН с МСС.
Как показал анализ использования известного технического решения в производстве МПН, в случае ошибки – нарушения порядка расстыковки-стыковки гидроразъемов ИСТР от МПН и ТКУ к МПН возможно полное заполнение жидкостной полости ТКУ: в случае, когда отстыкован второй гидроразъем 3.2 ИСТР от МПН и до отстыковки другого (первого) его гидроразъема 3.1 от МПН ко второму гидроразъему 1.2 МПН пристыковали гидроразъем 2.1 ТКУ, то в этом случае происходит перетекание жидкого теплоносителя из жидкостной полости компенсатора объема 3.4 ИСТР 3 в жидкостную полость компенсатора объема 2.2 ТКУ, в результате чего она заполнится полностью теплоносителем, сильфон 2.4 сожмется до упора и ТКУ теряет компенсирующую способность, а после отстыковки первого гидроразъема 3.1 ИСТР от МПН в жидкостном тракте последнего при повышении температуры окружающего воздуха давление теплоносителя повысится существенно выше допустимого (вплоть до разрушающего жидкостный тракт давления).
Таким образом, существенным недостатком известного технического решения является недостаточно высокая надежность обеспечения изготовления МПН, приводящая к разрушению жидкостного тракта МПН или к скрытому браку, приводящему к преждевременному выходу из строя в условиях орбитального функционирования жидкостного тракта МПН и космического аппарата в целом.
Целью предлагаемого авторами технического решения является устранение вышеуказанного существенного недостатка.
Поставленная цель достигается изготовлением МПН таким образом, что подстыковывают к МПН ТКУ, газовая полость которого заправлена газом давлением, удовлетворяющим условию:
Рг.п.ТКУ=Рг.п.ИСТР± Р,
где Рг.п.ТКУ – давление газа в газовой полости ТКУ при температуре заправки его, Па;
Рг.п.ИСТР – давление газа в газовой полости ИСТР при той же температуре заправки его, Па;
Р – допустимое отклонение давления газа в газовой полости ТКУ от давления газа в газовой полости компенсатора объема ИСТР, Па,
и слита из жидкостной полости его доза теплоносителя, определенная из соотношения:

где Vсл – объем слитой дозы теплоносителя, м3;
m – суммарная масса теплоносителя в жидкостном контуре модуля полезной нагрузки и жидкостной полости технологического компенсационного устройства после слива дозы теплоносителя, кг;
, сл – плотности теплоносителя при конкретной текущей температуре Т и при температуре слива дозы теплоносителя Тсл, кг/м3 (  сл);
Рсл, Р – давления газа в газовой полости компенсатора объема имитатора системы терморегулирования при температуре слива дозы теплоносителя Тсл и при конкретной текущей температуре Т, Па (Рсл Р);
Т, Тсл – конкретная текущая температура газа в газовой полости и температура газа в газовой полости при сливе дозы теплоносителя, °К (Рсл Р);
VГ.мин – минимально возможный объем газовой полости до слива дозы теплоносителя, м3;
V – технологический допуск, м3,
что и являются, по мнению авторов, существенными отличительными признаками предлагаемого авторами технического решения.
В результате анализа, проведенного авторами известной патентной и научно-технической литературы, предложенное сочетание существенных отличительных признаков заявляемого технического решения в известных источниках информации не обнаружено и, следовательно, известные технические решения не проявляют тех же свойств, что в заявляемом способе изготовления МПН космического аппарата.
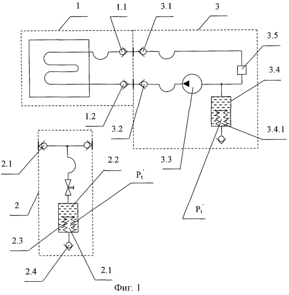
Принципиальная схема реализации предлагаемого способа изготовления МПН изображена на фиг.1.
Предложенный способ изготовления МПН включает в себя следующие основные операции:
1) В исходном состоянии до начала испытаний МПН на работоспособность пристыковывают к гидроразъему 1.2 МПН 1 гидроразъем 2.1 ТКУ 2, газовая полость 2.1 которого через вентиль заправочный 2.4 заправлена газом давлением, удовлетворяющим условию:
Рг.п.ТКУ=Рг.п.ИСТР± Р,
где Рг.п.ТКУ – давление газа в газовой полости ТКУ при температуре заправки его, Па;
Рг.п.ИСТР – давление газа в газовой полости ИСТР при той же температуре заправки его, Па;
Р – допустимое отклонение давления газа в газовой полости ТКУ от давления газа в газовой полости компенсатора объема ИСТР, Па,
а из жидкостной полости его слита доза теплоносителя, обеспечивающая при максимально возможной эксплуатационной температуре окружающего воздуха давление в газовой полости ниже максимального допустимого, определенная из соотношения:

где Vсл – объем слитой дозы теплоносителя, м3;
m – суммарная масса теплоносителя в жидкостном контуре модуля полезной нагрузки и жидкостной полости технологического компенсационного устройства после слива дозы теплоносителя, кг;
, сл – плотности теплоносителя при конкретной текущей температуре Т и при температуре слива дозы теплоносителя Тсл, кг/м3 (  сл);
Рсл, Р – давления газа в газовой полости компенсатора объема имитатора системы терморегулирования при температуре слива дозы теплоносителя Тсл и при конкретной текущей температуре Т, Па (Рсл Р);
Т, Тсл – конкретная текущая температура газа в газовой полости и температура газа в газовой полости при сливе дозы теплоносителя, К (Рсл Р);
VГ.мин – минимально возможный объем газовой полости до слива дозы теплоносителя, м3;
V – технологический допуск, м3;
2) отстыковывают ТКУ 2 от МПН 1;
3) пристыковывают ИСТР 3 к МПН 1;
4) включают в работу ИСТР;
5) включают в работу МПН;
6) после окончания испытаний МПН на работоспособность отстыковывают ИСТР от него;
7) пристыковывают к МПН ТКУ, газовая полость которого заполнена согласно п.1 и из жидкостной полости его слита доза в соответствии с п.1;
8) передают МПН с пристыкованным ТКУ на временное хранение или в сборочный цех, где будет стыковаться МПН с МСС.
Как видно из вышеизложенного предложенного способа изготовления МПН, даже если операторы ошибутся в порядке расстыковки-стыковки ИСТР, ТКУ, попадание в жидкостную полость ТКУ избыточного жидкого теплоносителя гарантированно исключено, тем самым исключено пребывание жидкостного тракта МПН при недопустимых давлениях теплоносителя в процессе его изготовления, т.е. тем самым достигаются цели изобретения.
Таким образом, предложенное авторами техническое решение исключает брак (в том числе скрытый) при изготовлении МПН, тем самым обеспечивая повышение качества и эффективности производства МПН.
Предложенное авторами техническое решение отражено в технической документации нашего предприятия, по которой будет изготавливаться МПН вновь создаваемого связного спутника.
Формула изобретения
Способ изготовления модуля полезной нагрузки космического аппарата, жидкостный тракт которого заправлен теплоносителем, включающий подстыковку к гидроразъему этого тракта гидроразъема технологического компенсационного устройства до и после испытаний модуля на работоспособность с помощью имитатора системы терморегулирования, отличающийся тем, что газовая полость подстыковываемого технологического компенсационного устройства заправлена газом под давлением, удовлетворяющим условию:
Рг.п.ТКУ=Рг.п.ИСТР± Р,
где Рг.п.ТКУ – давление газа в газовой полости технологического компенсационного устройства при температуре его заправки, Па;
Рг.п.ИСТР – давление газа в газовой полости компенсатора объема имитатора системы терморегулирования при той же температуре его заправки, Па;
Р – допустимое отклонение давления газа в газовой полости технологического компенсационного устройства от давления газа в газовой полости компенсатора объема имитатора системы терморегулирования, Па,
а из жидкостной полости указанного компенсационного устройства слита доза теплоносителя, определенная из соотношения:

где Vсл – объем слитой дозы теплоносителя, м3;
m – суммарная масса теплоносителя в жидкостном контуре модуля полезной нагрузки и жидкостной полости технологического компенсационного устройства после слива дозы теплоносителя, кг;
, сл – плотности теплоносителя при текущей температуре Т и при температуре слива дозы теплоносителя Tсл, кг/м3;
Рсл, Р – давления газа в газовой полости компенсатора объема имитатора системы терморегулирования при температуре слива дозы теплоносителя Тсл и при текущей температуре Т, Па;
Т, Тсл – указанные выше, не равные друг другу температуры, К;
VГ.мин – минимально возможный объем газовой полости до слива дозы теплоносителя, м3;
V – технологический допуск, м3.
РИСУНКИ
|