|
|
(21), (22) Заявка: 2004118435/11, 18.06.2004
(24) Дата начала отсчета срока действия патента:
18.06.2004
(45) Опубликовано: 10.02.2006
(56) Список документов, цитированных в отчете о поиске:
RU 2219107 C1, 20.12.2003. RU 2088444 C1, 27.08.1997. RU 2042582 C1, 27.08.1995. US 6375152 В1, 23.04.2002.
Адрес для переписки:
117556, Москва, Варшавское ш., 68, корп.1, кв.4, А.В. Вахтину
|
(72) Автор(ы):
Вахтин Александр Викторович (RU)
(73) Патентообладатель(и):
Вахтин Александр Викторович (RU)
|
(54) РАЗЪЕМНОЕ УСТРОЙСТВО ДЛЯ СТЫКОВКИ КРИОГЕННЫХ СИСТЕМ
(57) Реферат:
Изобретение относится к области авиационной техники, в частности к средствам перекачки и заправки в емкости криогенной жидкости. Предложенное устройство содержит штуцер и наконечник, каждый из которых включает в себя внешний и внутренний корпус, при этом между упомянутыми корпусами штуцера и наконечника смонтированы теплоизолирующие мосты, экраны и опоры, в зоне контакта корпусов штуцера и наконечника установлены уплотнительные элементы, при этом внутренний корпус штуцера и наконечника снабжены подпружиненными обратными клапанами, один из которых снабжен сильфоном, на внешнем корпусе штуцера и наконечника смонтировано замковое устройство. Также устройство снабжено дополнительным сдвижным корпусом, установленным на внешнем корпусе наконечника в зоне контакта со штуцером, упорами смонтированными в упомянутой зоне и стопором. Кроме этого, устройство снабжено съемным регулируемым ограничителем пружины обратного клапана, установленным на внешней части седла клапана внутреннего корпуса и наконечника и выполненным в виде гайки со стопорным элементом. Техническим результатом изобретения является уменьшение габаритов, повышение надежности и безопасности. 4 з.п. ф-лы, 9 ил. 
Изобретение относится к области криогенной техники, а именно к технике со средствами стыковки криогенных систем, перекачки и заправки в емкости криогенной жидкости или сжиженного природного газа (СПГ) и может быть использовано в других отраслях машиностроения.
Известны разъемные устройства для заправки криогенных жидкостей, например разъемное устройство для заправки топливных баков самолетов сжиженным природным газом (СПГ), содержащее бортовой штуцер и наконечник заправщика.
Штуцер и наконечник включают в себя внутренний корпус и внешний корпус, а между внешним и внутренним корпусами как у штуцера, так и у наконечника установлены тепловые мосты, теплозащитные экраны и теплоизолирующие опоры, предохраняющие внешние корпуса штуцера и наконечника от чрезмерного охлаждения и обледенения. В зонах контакта одноименных корпусов штуцера и наконечника смонтированы уплотнительные элементы. Внутренний корпус штуцера и наконечника оборудованы подпружиненными обратными клапанами. При этом клапан наконечника снабжен сильфоном. Штуцер и наконечник снабжены замковым устройством, смонтированным на внешних корпусах. За счет поворота рычажных механизмов замкового устройства обеспечивается поступательное перемещение наконечника относительно штуцера, открытие-закрытие клапанов и внешняя герметизация канала заправки при открытых клапанах (см. заявку №2002108665/06(009144) по классу В 64 D 37/30, В 64 F 1/28 от 05.04.2002 г.).
Однако известное устройство имеет ряд существенных недостатков, а именно: устройство имеет сравнительно большие габариты из-за увеличенной длины передней части внешних корпусов штуцера и наконечника, необходимой для закрепления наконечника на штуцере и их соосного соединения, без чего невозможен надежный контакт между собой уплотнительных элементов и обеспечение внешней герметизации канала заправки при открытых обратных клапанах. Устройство также имеет большие габариты из-за увеличенной длины внутреннего корпуса наконечника, что необходимо для смещения (отвода) пружины обратного клапана и обеспечения доступа к местам закрепления сильфона, без чего невозможно выполнение сборки наконечника, разборки и сборки обратного клапана при его ремонте.
При этом устройство относительно дорого и сложно в эксплуатации, так как при сборке и разборке клапана наконечника требуются специальные приспособления, а для замены или регулировки пружины клапана предварительно требуется выполнить демонтаж наружного корпуса и теплозащитных мостов, экранов и опор наконечника, что очень трудоемко, требует высококвалифицированных специалистов по ремонту и связано с выполнением слесарных и сварочных работ в труднодоступной зоне.
Задачей настоящего изобретения является уменьшение габаритов, увеличение срока работы, повышение надежности и безопасности, а также упрощение конструкции и эксплуатации, обеспечение проведения регулировочных работ.
Решение технической задачи достигается тем, что разъемное устройство для стыковки криогенных систем содержит штуцер и наконечник, каждый из которых включает в себя внешний корпус и внутренний корпус, при этом между упомянутыми корпусами штуцера и наконечника смонтированы теплоизолирующие мосты, экраны и опоры, а в зоне контакта одноименных корпусов штуцера и наконечника установлены уплотнительные элементы, при этом внутренний корпус штуцера и наконечника снабжены подпружиненными обратными клапанами, один из которых снабжен сильфоном, а на внешнем корпусе штуцера и наконечника смонтировано замковое устройство, а также оно снабжено дополнительным сдвижным корпусом, установленным на внешнем корпусе наконечника в зоне контакта со штуцером, упорами, смонтированными в упомянутой зоне и стопором, а также съемным регулируемым ограничителем пружины обратного клапана, установленным на внешней части седла клапана внутреннего корпуса наконечника и выполненным в виде гайки со стопорным элементом. Кроме того, на одном из внешних корпусов устройства смонтирован дополнительный клапан. При этом замковое устройство может содержать подвижный корпус, смонтированный на внешнем корпусе наконечника с возможностью взаимодействия с дополнительным сдвижным корпусом, который снабжен запорными элементами, взаимодействующими с ответными запорными элементами на внешнем корпусе штуцера, при этом на подвижном корпусе смонтирована рукоятка, а подвижный корпус снабжен фиксаторами и винтовыми направляющими, контактирующими с выступающими элементами внешнего корпуса, выполненными в виде роликов.
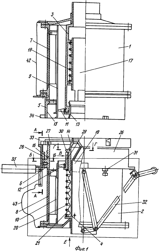
На фиг.1 изображено разъемное устройство для стыковки криогенных систем (в разъединенном положении с закрытыми обратными клапанами).
На фиг.2 – то же устройство в соединенном положении с открытыми обратными клапанами и с контактирующими между собой уплотнениями герметизации внешних и внутренних корпусов штуцера и наконечника.
На фиг.3 изображен наконечник с замковым устройством поворотного типа с подвижным корпусом.
На фиг.4 – сечение А-А по фиг.1.
На фиг.5 – сечение Б-Б по фиг.1.
На фиг.6 изображен вид В по фиг.1.
На фиг.7 – сечение Г-Г по фиг.1.
На фиг.8 – сечение Д-Д по фиг.2.
На фиг.9 изображен вид Е по фиг.1.
Разъемное устройство для стыковки криогенных систем содержит штуцер 1 и наконечник 2, каждый из которых включает в себя корпусы – внутренний корпус 3, 4 и внешний корпус 5, 6. Между упомянутыми корпусами 3, 5 штуцера и корпусами 4, 6 наконечника смонтированы теплоизолирующие мосты 7 и 8, экраны 9, 10 и опоры 11, 12. В зоне контакта внутреннего корпуса 3 штуцера и внутреннего корпуса 4 наконечника установлены уплотнительные элементы 13, 14, которые могут быть выполнены соответственно с контактной поверхностью в виде конуса и шаровой контактной поверхностью. В зоне контакта внешнего корпуса 5 штуцера и внешнего корпуса 6 наконечника установлены уплотнительные элементы 15 (например, поверхность корпуса 5) и 16. Внутренний корпус штуцера и наконечника снабжены обратными клапанами 17 и 18, которые подпружинены пружинами 19, 20. Клапаны оборудованы отверстиями для протока жидкости, клапан 18 снабжен сильфоном 21, а вентиляция полости между сильфоном и корпусом 4 может осуществляться через специальные отверстия в корпусе. Клапаны 17 и 18 содержат соосно расположенные седла 22, 23, которые могут быть выполнены с контактной поверхностью в виде конуса и тарелки 24, 25, которые могут иметь шаровую контактную поверхность. Кроме того, устройство снабжено дополнительным сдвижным корпусом 26, установленным на внешнем корпусе 6 наконечника в зоне контакта со штуцером, снабжено упорами 27, смонтированными в упомянутой зоне, и стопором 28 для закрепления и ориентирования сдвижного корпуса 26 на корпусе 6 наконечника и стопорения наконечника на штуцере. Устройство также оборудовано съемным регулируемым ограничителем 29 пружины 20 обратного клапана, установленным на внешней части седла 23 клапана внутреннего корпуса наконечника и выполненным в виде гайки со стопорным элементом 30. Кроме того, на одном из внешних корпусов устройства может быть смонтирован дополнительный клапан 31. На внешнем корпусе штуцера и наконечника смонтировано замковое устройство, которое может включать в себя симметрично установленные на внешнем корпусе наконечника рычаги 32 (рычаги могут быть установлены на элементах внутреннего корпуса), каждый из которых связан с дополнительным сдвижным корпусом 26, снабженным запорными элементами 33, взаимодействующими с ответными запорными элементами 34 на внешнем корпусе штуцера. При этом на корпусе наконечника может быть смонтирована рукоятка 35. Кроме того, замковое устройство может быть выполнено из подвижного корпуса 36, установленного на внешнем корпусе наконечника и связанного с дополнительным сдвижным корпусом 26, снабженным запорными элементами 33, взаимодействующими с ответными запорными элементами 34 на внешнем корпусе штуцера. При этом на подвижном корпусе 36 смонтирована рукоятка 37, упомянутый корпус снабжен фиксаторами 38, которые, взаимодействуя, например, с защелкой 39, фиксируют корпус 36 на корпусе 6. Кроме того, корпус 36 оборудован винтовыми направляющими 40, контактирующими с выступающими элементами 41 внешнего корпуса 6, выполненными в виде роликов.
Между корпусами 3 и 5 штуцера выполнена металлизация, например, в виде токопроводящего элемента 42 для исключения образования разности потенциалов между корпусами. Кроме того, наконечник 2 оборудован металлизацией между корпусами 4 и 6, а также токопроводящим элементом 43 в виде троса, обеспечивающим металлизацию между корпусами 4 и 26. На тросе смонтирован токопроводящий соединительный элемент 44.
Разъемное устройство для стыковки криогенных систем работает следующим образом.
Перед соединением с торцевых частей наружных корпусов штуцера и наконечника снимаются технологические заглушки (на чертежах не показаны), защищающие взаимодействующие элементы конструкции устройства от механических повреждений и от попадания на них и в межкорпусной зазор влаги. После этого наконечник 2, удерживаемый за рукоятку 35 и рукоятку на рычагах 32 (в поворотном варианте замкового устройства – за рукоятку 37), подводится к штуцеру 1 так, чтобы прорези на запорных элементах 33 были напротив запорных элементов 34 на корпусе 5. После попадания запорных элементов 34 в прорези элементов 33 обеспечивается соединение наконечника со штуцером путем продольного перемещения наконечника 2 по оси штуцера 1 до упора и последующим поворотом наконечника до упора. Соединительный элемент 44 троса 43 закрепляется на корпусе 5 (или на связанном металлизацией с корпусом 5 корпусе объекта).
После этого поворотом рычагов 32 (в поворотном варианте замкового устройства – поворотом рукоятки 37 после снятия фиксации исходного положения подвижного корпуса 36 путем выведения защелки 39 из зацепления с фиксаторами 38) наконечник 2 перемещается вдоль оси штуцера 1. В процессе перемещения наконечника сначала происходит соприкосновение уплотнительного элемента 14 с уплотнительным элементом 13. При дальнейшем поступательном движении наконечника происходит сжатие сильфона 21 и пружины 20, открывается клапан 18 для протока жидкости. В то же время торец тарелки 27 клапана 18, упираясь в торец клапана 17, поднимает его и открывает канал для протока криогенной жидкости через отверстия в корпусе клапана 17. Уплотнительный элемент 16 наконечника взаимодействует с поверхностью 15 корпуса 5 штуцера, за счет чего полость между корпусами изолируется от окружающей среды. Стопор 28, попадая в прорези на запорных элементах 33, обеспечивает стопорение наконечника на штуцере. Рычаги фиксируются (в поворотном варианте фиксируется подвижный корпус 36 при взаимодействии фиксаторов 38 и защелки 39) в крайнем положении. После этого начинается заправка объекта криогенной жидкостью или ее перекачка.
Процесс прекращения перекачки или заправки, закрытия обратных клапанов и разъединения производится в обратном порядке. Перед закрытием обратных клапанов 17, 18 и разъединением штуцера и наконечника можно провести контроль состояния среды в полости между корпусами, например с помощью дополнительного клапана 31. При наличии избыточного давления в полости можно произвести его выравнивание с окружающим давлением (атмосферой) для предотвращения воздействия паров жидкости и силового воздействия на обслуживающий персонал. После разъединения на торцевые части внешних корпусов штуцера и наконечника устанавливаются технологические заглушки.
Использование изобретения позволит обеспечить требуемую долговечность, надежность, безопасность, быстродействие, уменьшить габариты устройства и упростить его конструкцию, снизить стоимость, объемы и трудоемкость регламентных работ в процессе эксплуатации.
Формула изобретения
1. Разъемное устройство для стыковки криогенных систем, содержащее штуцер и наконечник, каждый из которых включает в себя внешний корпус и внутренний корпус, при этом между упомянутыми корпусами штуцера и наконечника смонтированы теплоизолирующие мосты, экраны и опоры, а в зоне контакта одноименных корпусов штуцера и наконечника установлены уплотнительные элементы, причем внутренний корпус штуцера и наконечника снабжены подпружиненными обратными клапанами, один из которых снабжен сильфоном, а на внешнем корпусе штуцера и наконечника смонтировано замковое устройство, отличающееся тем, что оно снабжено дополнительным сдвижным корпусом, установленным на внешнем корпусе наконечника в зоне контакта со штуцером, упорами, смонтированными в упомянутой зоне, и стопором, а также съемным регулируемым ограничителем пружины обратного клапана, установленным на внешней части седла обратного клапана внутреннего корпуса наконечника.
2. Разъемное устройство для стыковки криогенных систем по п.1, отличающееся тем, что ограничитель пружины выполнен в виде гайки со стопорным элементом.
3. Разъемное устройство для стыковки криогенных систем по п.1, отличающееся тем, что замковое устройство содержит подвижный корпус, смонтированный на внешнем корпусе наконечника с возможностью взаимодействия с дополнительным сдвижным корпусом, который снабжен запорными элементами, взаимодействующими с ответными запорными элементами на внешнем корпусе штуцера, при этом на подвижном корпусе смонтирована рукоятка, а подвижный корпус снабжен фиксаторами и винтовыми направляющими, контактирующими с выступающими элементами внешнего корпуса наконечника.
4. Разъемное устройство для стыковки криогенных систем по п.3, отличающееся тем, что выступающие элементы выполнены в виде роликов.
5. Разъемное устройство для стыковки криогенных систем по п.1, отличающееся тем, что на одном из внешних корпусов смонтирован дополнительный клапан.
РИСУНКИ
|
|