|
|
(21), (22) Заявка: 2004122313/11, 19.07.2004
(24) Дата начала отсчета срока действия патента:
19.07.2004
(45) Опубликовано: 10.02.2006
(56) Список документов, цитированных в отчете о поиске:
RU 2221728 C1, 20.01.2004. RU 2224279 C1, 20.02.2004. RU 2211172 C1, 27.08.2003. US 6311634, 06.11.2001.
Адрес для переписки:
117997, Москва, В-342, ГСП-7, ул. Профсоюзная, 65, ИПУ, патентный отдел
|
(72) Автор(ы):
Острецов Генрих Эразмович (RU)
(73) Патентообладатель(и):
Институт проблем управления им. В.А. Трапезникова РАН (RU)
|
(54) АВТОРУЛЕВОЙ С ОЦЕНКОЙ УГЛОВОЙ СКОРОСТИ
(57) Реферат:
Изобретение относится к судостроению, а именно к средствам автоматического управления движением судов. Авторулевой содержит задатчик путевого угла, датчик угла перекладки руля, две антенны, приемник спутниковой навигационной системы, рулевой привод, интегратор, дифференциатор и сумматор. При этом в него дополнительно введены датчик угловой скорости, блок перестройки, множитель и датчик квадрата скорости хода. Технический результат заключается в повышении качества стабилизации судна на заданном курсе и обеспечении требуемого запаса устойчивости замкнутой системы управления. 1 ил. 
Изобретение относится к судостроению, в частности к области автоматического управления движением морского судна,
Известно устройство (а.с. СССР №460535), обеспечивающее автоматическое удержание судна на заданном курсе. Стабилизация курса осуществляется по данным гирокомпаса, который является основным источником информации о направлении движения судна. Сигнал текущего курса и его производная поступают на вход вычислителя (суммирующего устройства), на вход которого поступает также сигнал с датчика угла перекладки руля.
Рассматриваемый авторулевой обладает следующими недостатками:
– перегружает рулевой привод при развитом морском волнении;
– сигнал угла курса, вырабатываемый гирокомпасом, зашумлен, и при дифференцировании не удается получить сигнал производной курса с требуемыми динамическими качествами, что исключает применение его на неустойчивых на курсе судах.
Известна также «Аппаратура автоматического управления движением судна» (патент России №2221728, кл. В 63 Н 25/04), принятая нами в качестве прототипа, содержащая задатчик направления движения, датчик угла перекладки руля, выходы которых подключены к вычислителю (суммирующему усилителю). К вычислителю также подключены:
– сигнал с выхода приемника спутниковой навигационной системы (СНС) путевой угол (ПУ));
– оценка сигнала угловой скорости, которая вырабатывается дифференциатором и суммирующим блоком с интегратором, выход которого подключен через блок суммирования к входу рулевого привода, последний, отклоняя руль, удерживает судно на заданном направлении движения.
Эта аппаратура обеспечивает автоматическое управление движением малотоннажного судна. Установка аппаратуры на крупнотоннажные суда не обеспечивает требуемой точности удержания крупнотоннажного судна на заданном направлении движения, т.к. восстановление сигнала производной от угла курса для коррекции оценки сигнала не достаточно эффективно. Поэтому вырабатываемая оценка угловой скорости судна на выходе интегратора далека от реальной, причем использование для коррекции оценки только сигнала производной курса, как показал опыт эксплуатации, малоэффективно. (Высокие динамические качества сигнала угловой скорости судна « » особенно важны для обеспечения необходимого запаса устойчивости замкнутой системы: «Авторулевой – рулевой привод – судно»).
Таким образом, рассмотренная аппаратура имеет следующие недостатки:
– производная угла курса ( =d/dt ) вырабатывается сильно зашумленной, что не позволяет применять эту аппаратуру на больших морских судах, и на речных судах, неустойчивых на курсе;
– восстановление оценки угловой скорости судна (с использованием стационарной неперестраиваемой математической модели движения судна) не эффективно, так как полученная оценка далека от реальной;
– из-за помех при развитом морском волнении даже на устойчивых на курсе морских судах наблюдается перегрузка рулевого привода.
В предложенном нами авторулевом отмеченные выше недостатки устранены.
Задачей, решаемой настоящим изобретением, является создание аппаратуры для автоматического управления движением судна, обеспечивающей повышенную точность стабилизации судна с требуемым запасом устойчивости замкнутой системы управления. (Авторулевой должен эффективно работает как на устойчивых на курсе судах, так и на неустойчивых на курсе морских и речных судах). Поставленная задача решается благодаря выработке высококачественного сигнала оценки угловой скорости судна (в динамике).
Предложен авторулевой с оценкой угловой скорости, содержащий задатчик путевого угла, датчик угла перекладки руля, две антенны, приемник спутниковой навигационной системы, рулевой привод, интегратор, дифференциатор и сумматор, первый вход которого соединен с выходом задатчика путевого угла, к первому и второму входам приемника СНС подключены первая и вторая антенны, первый выход приемника СНС соединен с вторым входом сумматора, к третьему входу которого подключен выход датчика угла перекладки руля, выход сумматора соединен с входом рулевого привода, четвертый вход сумматора соединен с выходом интегратора, первый вход которого соединен через дифференциатор с вторым выходом приемника СНС. По сравнению с известными авторулевой дополнительно содержит датчик угловой скорости, блок перестройки, множитель и датчик квадрата скорости хода, выход которого подключен к первому входу множителя, к второму входу которого подключен выход датчика угла перекладки руля, выход множителя подключен к второму входу интегратора, к третьему входу которого подключен выход датчика угловой скорости, выход интегратора соединен с четвертым входом интегратора через блок перестройки.
Существенной новизной предлагаемого изобретения является:
– выработка оценки угловой скорости судна ( ) с использованием перестраиваемой в процессе рейса модели углового движения судна,
– выработка текущей угловой скорости (для корректировки оценки) осуществляется не только путем дифференцирования сигнала угла курса, а также благодаря использованию сигнала угловой скорости с датчика угловой скорости,
– выработка близких к действительным оценок угловой скорости судна стало возможным благодаря введению на вход модели углового движения судна измерений: угловой скорости судна от датчика угловой скорости и производной угла курса от приемника СНС.
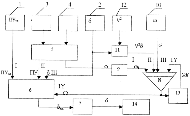
Функциональная схема предлагаемого изобретения приведена на чертеже.
Авторулевой с оценкой угловой скорости содержит задатчик путевого угла 1, датчик утла перекладки руля 2, две антенны 3, 4, приемник спутниковой навигационной системы (СНС) 5, сумматор 6, рулевой привод 7, интегратор 8, дифференциатор 9, датчик угловой скорости судна(ДУС) 10, множитель 11, датчик квадрата скорости хода судна 12, блок перестройки 13. Объект управления судно 14.
В качестве задатчика 1 и датчика угла перекладки руля 2 может быть использован любой аналоговый (цифровой) серийно выпускаемый преобразователь угла поворота в сигнал с точностью не ниже 0.5%. Антенны 3, 4 комплектуются вместе с приемником СНС 5 – типа «Волонтер» (в нашей аппаратуре приемник дополнен вторым входом для подключения второй антенны. Может также использоваться приемник 5 производства японской фирмы Furuno Elektric Co.LTD. «Model SC-120»). Датчик квадрата скорости хода 8-штатный корабельный прибор, к выходу которого подключен квадратор (можно использовать информацию о скорости судна с выхода приемника СНС 5). Датчик угловой скорости 10 типа ДУС-6 с чувствительностью не хуже 0.005 гр./с. Интегратор 8, дифференциатор 9, множитель 11 при аналоговом варианте реализации – это интегральные микросхемы типа 140 – УД – 6. и 140 – УД – 8. (Дифференциатор 9 – интегральная микросхема типа 140 – УД – 6 с подключенным на вход конденсатором с малыми утечками, интегратор 8 – это интегральная микросхемы типа 140 – УД – 8. Датчик квадрата скорости хода 12 – судовой лаг с блоком возведения в квадрат на выходе. Блок перестройки 13 – набор переключаемых вручную резисторов. Вторая антенна 4 может быть использована из угломерной аппаратуры типа МРК – 11 для спутниковых навигационных систем ГЛОНАС и GPS, разработки НИИ радиотехники Красноярского государственного технического университета. Возможен также вариант цифровой реализации авторулевого на серийном микроконтроллере.
Аппаратура работает следующим образом.
Направление движения судна задается задатчиком путевого угла 1. Если это направление движения судна не совпадает с текущим направлением, то на выходе сумматора 6 появится сигнал «d/dt зд» (в зависимости от типа рулевой машины вместо сигнала «d/dt зд» может формироваться сигнал « эд»), приводящий к отклонению пера руля судна рулевым приводом 7, после чего начинается поворот судна к заданному направлению движения. При достижении судном заданного направления движения перо руля вернется в балансировочное положение.
Рассмотрим, как формируется закон управления рулевым приводом 7. Сигнал, пропорциональный текущему направлению движения судна – ПУ, вырабатывается на выходе приемника СНС 5 и поступает на второй вход сумматора 6, на первый вход которого поступает сигнал с задатчика 1 – заданное направление движения судна – ПУзд. На выходе сумматора 6 при этом будет формироваться сигнал отклонения судна от заданного направления движения: ПУ=ПУ-ПУзд. Остальные два сигнала « , », поступающие на вход сумматора 6, необходимы для обеспечения заданной точности стабилизации судна, а также для обеспечения требуемого запаса устойчивости замкнутой системы управления: «авторулевой – рулевой привод – судно». Сигнал « » поступает с датчика угла перекладки руля 2, сигнал оценки угловой скорости судна « » поступает с выхода интегратора 8. Таким образом формируется следующий закон управления рулевым приводом:
d/dt зд=К1 ПУ+К2 -К3 ,
где d/dt зд – заданная скорость перекладки руля,
ПУ=ПУ-ПУзд – сигнал рассогласования по путевому углу,
– оценка сигнала угловой скорости судна,
– угол перекладки руля,
К1, К2, К3 – коэффициенты регулирования.
Рассмотрим, как формируется оценка угловой скорости судна « ». Для достаточно широкого класса судов математическая модель углового движения может быть представлена в виде

где 1, d/dt 1 – угловая скорость судна и ее производная,
– угол перекладки руля,
K11=const, K13=f(v)=KV2,
V – скорость хода судна.
Решение уравнения (1) реализуется на выходе интегратора 8, т.к. на четвертый вход интегратора приходит сигнал угловой скорости судна, поступающий в виде отрицательной обратной связи с выхода интегратора через блок перестройки 13, а на второй вход – сигнал угла перекладки руля, умноженный на квадрат скорости хода. На выходе интегратора 8 формируется сигнал оценки угловой скорости судна « », который может существенно отличаться от текущего значения угловой скорости судна. Для максимального приближения оценки к действительному сглаженному значению сигнала угловой скорости судна на первый вход интегратора вводится корректирующий сигнал производной от угла курса « 1», а на третий вход – сигнал угловой скорости судна, вырабатываемый ДУС ом – 10.:

где , d/dt – оценка угловой скорости судна и ее производная,
– угол перекладки руля,
К11=f (загрузки судна, угла дифферента), К12=const., К13=f(v)=KV2, K14=const.
V – скорость хода судна.
Особенности выработки сигнала угла курса ( ).
Высокую точность измерения угла поворота судна можно достичь при добавлении второй антенны – вспомогательной, размещенной также на судне с жестко фиксированным расстоянием межу двумя антеннами. Это позволит определять угол курса с использованием интерферометрического принципа (см. Cohen. С.Е. Attitude determination. Global Positioning System. Theory and – Applications, American Institute of Aeronautics and Astronautics, Washington., C. – 1996, Vol.II. Chapter 19. – P.519-538.). Суть его заключается в измерении разности фаз несущей частоты для сигналов, принимаемых от спутников на разнесенные антенны. В этих разностях, обусловленных неодинаковым расстоянием до спутников двух антенн, содержится информация об угле между направлением на спутники и вектором, образованным между двумя антеннами. С использованием данных об углах между направлениями на несколько спутников и двумя антеннами, с известным их расположением на судне, решается задача определения угла курса. Аналогичные системы в настоящее время разработаны и применяются в авиации (Graas F. V…. Interferometric GPS flight reference autoland system: Flight test results. Navigation, USA-1994, Vol.41, X2 1. – P.57-82.) Погрешность в измерении курсового угла в основном определяется отношением общей ошибки измерения смещения фазы, выраженной в единицах длины, к расстоянию между антеннами – длине базы. По данным IEEE Aerospace and Electronic Systems Society Las Vegas, Nevada. April 11-15, PLANS 94. – 1994. – Р.806-812 точность колеблется в интервале 0.02-0.3 гр. при базе между антеннами L=40-1 м.
Приведенная точность измерения угла курса существенно превышает точность выработки угла курса серийно выпускаемыми гирокомпасами. (Путевой угол при использовании позиционно-скоростной информации, применяемой в приемнике СНС «Волонтер» и др. аналогичных системах, измеряется также существенно грубее). Применив в нашей аппаратуре вспомогательную (вторую) антенну, удается выработать высококачественный текущий угол курса .
Проведенное моделирование приведенных выше законов (1, 3) подтвердило возможность получения высокоэффективной аппаратуры автоматического управления движением судна как в отношении точности стабилизации судна на заданном путевом угле, так и в отношении запаса устойчивости замкнутой системы.
Формула изобретения
Авторулевой с оценкой угловой скорости, содержащий задатчик путевого угла, датчик угла перекладки руля, две антенны, приемник спутниковой навигационной системы, рулевой привод, интегратор, дифференциатор и сумматор, первый вход которого соединен с выходом задатчика путевого угла, к первому и второму входам приемника спутниковой навигационной системы подключены первая и вторая антенны, первый выход приемника спутниковой навигационной системы соединен с вторым входом сумматора, к третьему входу которого подключен выход датчика угла перекладки руля, выход сумматора соединен с входом рулевого привода, четвертый вход сумматора соединен с выходом интегратора, первый вход которого соединен через дифференциатор с вторым выходом приемника спутниковой навигационной системы, отличающийся тем, что дополнительно содержит датчик угловой скорости, блок перестройки, множитель и датчик квадрата скорости хода, выход которого подключен к первому входу множителя, к второму входу которого подключен выход датчика угла перекладки руля, выход множителя подключен к второму входу интегратора, к третьему входу которого подключен выход датчика угловой скорости, выход интегратора соединен с четвертым входом интегратора через блок перестройки.
РИСУНКИ
|
|