|
|
(21), (22) Заявка: 2004132520/11, 29.10.2004
(24) Дата начала отсчета срока действия патента:
29.10.2004
(45) Опубликовано: 10.02.2006
(56) Список документов, цитированных в отчете о поиске:
SU 2206467 A1, 15.10.1994. SU 958177 A, 25.09.1982. US 6431594 B1, 13.08.2002.
Адрес для переписки:
198217, Санкт-Петербург, б-р Новаторов, 100, кв.79, Н.Н. Петухову
|
(72) Автор(ы):
Петухов Николай Николаевич (RU)
(73) Патентообладатель(и):
Петухов Николай Николаевич (RU)
|
(54) КОМБИНИРОВАННЫЙ ИСТОЧНИК ГАЗА
(57) Реферат:
Изобретение относится к системам безопасности с надувной оболочкой, предназначенным, в частности, для спасения транспортных средств в аварийных ситуациях. Комбинированный источник газа содержит размещенные в корпусе герметичную емкость со сжатым газом, механизм приведения в действие герметичной емкости, пиротехнический газовый генератор, устройство пуска пиротехнического газового генератора, канал для выхода газа, устройство приема проводного и беспроводного входного сигнала с микроисточником электропитания, клапан для выпуска избыточного газа, химический газовый реактор, выполненный порционным, устройство пуска химического газового реактора. Пиротехнический газовый генератор выполнен в виде пиротехнической батареи, а механизм приведения в действие герметичной емкости со сжатым газом включает вскрыватель емкости и прерыватель потока газа. Изобретение позволяет повысить быстродействие, надежность и точность управления потоком газа, наполняющего гибкие оболочки, в зависимости от параметров внешней среды и объекта спасения, а также сохранность гибких оболочек при одновременном их взаимодействии с потоком подаваемого газа и внешней средой. 11 з.п. ф-лы, 10 ил. 
Изобретение относится к системам безопасности с надувной оболочкой, предназначенным, в частности, для спасения транспортных средств в аварийных ситуациях.
Известен аппарат для наполнения газом предохранительных подушек системы безопасности транспортного средства по SU 1795617 А1, 15.10.1994, содержащий баллон со сжатым газом, газогенераторное устройство с горючим газообразующим материалом и электровоспламенителем, которое при срабатывании открывает клапан для надувания подушки сжатым газом. Аппарат не предусматривает раздельное использование содержащихся в нем источников газа и не может быть использован в системе безопасности с регулируемой подачей газа.
Задачей изобретения является создание эффективного комбинированного источника газа для систем безопасности с регулируемой подачей газа в заполняемые емкости.
Технический результат, обеспечиваемый заявляемым изобретением, заключается в повышении надежности источника газа, обеспечиваемой дополнением последнего дублирующим генератором газа и возможностью раздельного и совместного использования составляющих источник газообразующих элементов, а также в обеспечении возможности производить регулировку подаваемого потока газа.
В известном источнике газа, включающем корпус, размещенные в корпусе герметичную емкость со сжатым газом, механизм приведения в действие герметичной емкости со сжатым газом, пиротехнический газовый генератор, устройство пуска пиротехнического газового генератора, провод для поступления входного сигнала, канал для выхода газа для решения вышепоставленной задачи дополнен устройством приема проводного и беспроводного входного сигнала с микроисточником электропитания, клапаном для выпуска избыточного газа, химическим газовым реактором, выполненным порционным, устройством пуска химического газового реактора, пиротехнический газовый генератор, химический газовый реактор и герметичная емкость со сжатым газом размещены в одном корпусе, при этом пиротехнический газовый генератор выполнен в виде пиротехнической батареи, а механизм приведения в действие герметичной емкости со сжатым газом включает вскрыватель емкости и прерыватель потока газа, устройство приема проводного и беспроводного входного сигнала соединено с механизмом приведения в действие герметичной емкости со сжатым газом, устройством пуска пиротехнического газового генератора, устройством пуска химического газового реактора, канал для выхода газа является общим для герметичной емкости со сжатым газом и пиротехнического газового генератора, химический газовый реактор имеет отдельный канал для выхода газа, а пиротехнический газовый генератор размещен в корпусе между химическим газовым реактором и герметичной емкостью со сжатым газом.
Кроме того, в частных случаях реализации изобретения химический газовый реактор, выполненный порционным, содержит мембрану и механизм дозирования компонентов, обеспечивающие регулирование порционного смешивания газообразующих компонентов, а также трубку, защищенную от попадания газообразующих компонентов, с размещенным в ней клапаном для регулируемой порционной подачи газа в выходной канал.
Пиротехнический газовый генератор выполненный в виде пиротехнической батареи, содержит газообразующий материал, разделенный прокладками на слои, при этом каждый слой содержит детонатор, выполненный в виде электрического сопротивления, при этом все электрические сопротивления соединены параллельно, а характеристики электрических сопротивлений выбраны в зависимости от расположения слоя, для которого данное сопротивление является детонатором.
Механизм приведения в действие герметичной емкости со сжатым газом выполнен с возможностью срабатывания от пиротехнического газового генератора.
Герметичная емкость со сжатым газом имеет защитную мембрану, выполненную в виде полой эластичной оболочки с вырезами по краям, заполненной расширяющимся при затвердевании материалом.
Вскрыватель емкости со сжатым газом выполнен с возможностью прокалывания или расплавления защитной мембраны.
Прерыватель потока газа включает иглу для регулирования скорости потока газа посредством частичного или полного перекрывания отверстия в защитной мембране емкости со сжатым газом путем поступательного или вращательного движения иглы.
Пиротехнический газовый генератор выполнен в виде пиротехнической батареи, содержит емкости с газообразующими компонентами и механизм для вскрытия этих емкостей.
Комбинированный источник газа содержит нагреватель для повышения температуры исходящих газов.
Комбинированный источник газа содержит патрубок для разъемного соединения с надуваемой гибкой оболочкой, который имеет резьбу.
Пример реализации заявляемого комбинированного источника газа поясняется фиг.1-10
Фиг.1 (а, б), 2 – комбинированный источник газа;
Фиг.3 – химический газовый реактор;
Фиг.4 – пиротехнический газовый генератор;
Фиг.5 – защитная мембрана для емкости со сжатым газом;
Фиг.6-8 – варианты выполнения игл для вскрытия или перекрывания потока газа для емкости со сжатым газом;
Фиг.9 (а, б) – схема электромеханического устройства;
Фиг.10 – схема действия пиротехнического элемента.
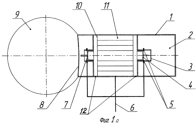
Комбинированный источник газа (фиг.1, 2) содержит корпус 1, герметичную емкость со сжатым газом 2, мембрану емкости со сжатым газом 3, поршень с иглой 4, стопор 5, проводник сигнала 6, поршень с толкателем 7, канал для выхода газа 12, химический реактор 9, мембрану химического реактора 8, пиротехническую батарею 11, дырчатый кожух 10.
Источник газа, изображенный на фиг.1а, отличается от источника газа на фиг.1б компоновкой слоев пиротехнической батареи. На фиг.1а слои расположены параллельно, а на фиг.1б – коаксиально.
В зависимости от характеристик подаваемого сигнала происходит срабатывание одного из стопоров 5, при этом стопор убирается в специально предусмотренное в стенке корпуса углубление. Электросхема пиротехнической батареи 11 срабатывает от сигнала, имеющего параметры, отличающиеся от параметров сигналов для стопоров 5.
Поршни 4, 7 при условии срабатывания стопоров 5 перемещаются давлением газа, создаваемым работающей пиротехнической батареей 11, либо под воздействием установленных на них пружин электромеханического устройства, при этом начало реакции газообразования инициирует игла.
Химический газовый реактор (фиг.3) комбинированного источника включает емкость 17 реактора с первым компонентом 18 для химической реакции, трубку 19 для выхода газа, регулирующий выход газа клапан 20, мембрану 8, связанную со штоком 13, который входит в корпус 14, содержащий вторые компоненты 15 для химической реакции. Кроме того, в корпусе 14 размещен подпружиненный толкатель 16.
Под действием мембраны 8 шток 13 с крышкой открывает отверстия в корпусе 14, при этом компонент 15 под давлением толкателя 16 падает в емкость химического реактора 17 и смешивается с компонентом 18. В результате реакции возросшее до определенной величины давление образующегося газа воздействует на мембрану 8 и, соответственно, шток 13 с крышкой, отверстия в корпусе 14 закрываются. Кроме того, возросшее давление газа в реакторе открывает клапан 20, и газ поступает по трубке 19 в канал для выхода газа. Снижение давления газа в реакторе приводит к закрытию клапана 20. Цикл импульсной подачи газа может повторяться до полного использования компонентов 15 и 18.
Пиротехнический газовый генератор (фиг.4) содержит газообразующий материал 21, разделенный прокладками 23, и детонаторы 22.
Детонаторы, представляющие собой электрические сопротивления, соединены в электрическую схему параллельно. Кроме того, электрическая схема содержит управляемый ключ 24 и микроисточник питания 25. Характеристики электрических сопротивлений, например длина или удельное сопротивление материала, последовательно изменяются в соответствии с расположением слоев газообразующего материала 21. Таким образом, при каждом импульсном сигнале происходит газообразование в определенном слое газообразующего материала.
Емкость со сжатым газом 2 после заполнения герметизируется защитной мембраной, выполненной в виде полой эластичной оболочки (фиг.5), имеющей по краям вырезы. Оболочка заполняется расширяющимся при затвердевании материалом, например пенополиуретаном, при этом по краям оболочки, где расположены вырезы, происходит расширение объема наполняющего материала, и отверстие емкости герметизируется.
Вскрыватель защитной мембраны выполняется в виде иглы, представленной на фиг.6-8.
Передача сигнала на вскрытие емкости со сжатым газом может осуществляться посредством электромеханического устройства, фиг.9, либо с помощью энергии взрыва пиротехнического элемента, фиг.10.
Иглы, изображенные на фиг.6, 7, 8, могут использоваться для частичного или полного перекрывания газа, выходящего из емкости.
Выполнение комбинированного источника газа из нескольких газообразующих элементов и возможность раздельного и совместного использования составляющих источник газообразующих элементов, связанных схемой приема входного дифференцированного сигнала, обеспечивают повышение надежности источника газа в целом, а также возможность производить регулировку подаваемого потока газа.
Формула изобретения
1. Комбинированный источник газа, включающий корпус, размещенные в корпусе герметичную емкость со сжатым газом, механизм приведения в действие герметичной емкости со сжатым газом, пиротехнический газовый генератор, устройство пуска пиротехнического газового генератора, канал для выхода газа, отличающийся тем, что дополнительно содержит устройство приема проводного и беспроводного входного сигнала с микроисточником электропитания, клапан для выпуска избыточного газа, химический газовый реактор, выполненный порционным, устройство пуска химического газового реактора, пиротехнический газовый генератор, химический газовый реактор и герметичная емкость со сжатым газом размещены в одном корпусе, при этом пиротехнический газовый генератор выполнен в виде пиротехнической батареи, а механизм приведения в действие герметичной емкости со сжатым газом включает вскрыватель емкости и прерыватель потока газа, устройство приема проводного и беспроводного входного сигнала соединено с механизмом приведения в действие герметичной емкости со сжатым газом, устройством пуска пиротехнического газового генератора, устройством пуска химического газового реактора, канал для выхода газа является общим для герметичной емкости со сжатым газом и пиротехнического газового генератора, химический газовый реактор имеет отдельный канал для выхода газа, а пиротехнический газовый генератор размещен в корпусе между химическим газовым реактором и герметичной емкостью со сжатым газом.
2. Комбинированный источник газа по п.1, отличающийся тем, что химический газовый реактор, выполненный порционным, содержит мембрану и механизм дозирования компонентов, обеспечивающие регулирование порционного смешивания газообразующих компонентов, а также трубку, защищенную от попадания газообразующих компонентов, с размещенным в ней клапаном для регулируемой, порционной подачи газа в выходной канал.
3. Комбинированный источник газа по п.1, отличающийся тем, что пиротехнический газовый генератор, выполненный в виде пиротехнической батареи, содержит газообразующий материал, разделенный прокладками на слои, при этом каждый слой содержит детонатор, выполненный в виде электрического сопротивления, при этом все электрические сопротивления соединены параллельно, а характеристики электрических сопротивлений выбраны в зависимости от расположения слоя, для которого данное сопротивление является детонатором.
4. Комбинированный источник газа по п.1, отличающийся тем, что механизм приведения в действие герметичной емкости со сжатым газом выполнен с возможностью срабатывания от пиротехнического газового генератора.
5. Комбинированный источник газа по п.1, отличающийся тем, что герметичная емкость со сжатым газом имеет защитную мембрану, выполненную в виде полой эластичной оболочки с вырезами по краям, заполненной расширяющимся при затвердевании материалом.
6. Комбинированный источник газа по п.5, отличающийся тем, что вскрыватель емкости со сжатым газом выполнен с возможностью прокалывания или расплавления защитной мембраны.
7. Комбинированный источник газа по п.6, отличающийся тем, что прерыватель потока газа включает иглу для регулирования скорости потока газа посредством частичного или полного перекрывания отверстия в защитной мембране емкости со сжатым газом путем поступательного или вращательного движения иглы.
8. Комбинированный источник газа по п.1, отличающийся тем, что пиротехнический газовый генератор выполнен в виде пиротехнической батареи, содержит емкости с газообразующими компонентами и механизм для вскрытия этих емкостей.
9. Комбинированный источник газа по п.1, отличающийся тем, что содержит нагреватель для повышения температуры исходящих газов.
10. Комбинированный источник газа по п.1, отличающийся тем, что содержит патрубок для разъемного соединения с надуваемой гибкой оболочкой.
11. Комбинированный источник газа по п.10, отличающийся тем, что патрубок для разъемного соединения с надуваемой гибкой оболочкой имеет резьбу.
12. Комбинированный источник газа по п.1, отличающийся тем, что механизм приведения в действие герметичной емкости со сжатым газом выполнен с возможностью срабатывания от электромеханического устройства.
РИСУНКИ
|
|