|
|
(21), (22) Заявка: 2004121645/14, 14.07.2004
(24) Дата начала отсчета срока действия патента:
14.07.2004
(45) Опубликовано: 10.02.2006
(56) Список документов, цитированных в отчете о поиске:
SU 1752404 A1, 07.08.1992. RU 2020967 С2, 15.10.1994. RU 2005454 C1, 15.01.1994. WO 985511 А1, 11.06.1998. FR 2577808 А, 29.08.1986.
Адрес для переписки:
355029, г.Ставрополь, пр-т Кулакова, 2, СеКавГТУ
|
(72) Автор(ы):
Большаков Михаил Михайлович (RU)
(73) Патентообладатель(и):
Северо-Кавказский государственный технический университет (RU)
|
(54) МЕДИЦИНСКАЯ БАНКА
(57) Реферат:
Изобретение относится к медицине и может быть использовано для проведения физиопроцедур. Технический результат – повышение надежности, упрощение конструкции и облегчение эксплуатации банки. Медицинская банка содержит корпус с отверстиями в верхней части и установленный в корпусе с возможностью перемещения поршень со штоком, размещенным в одном из отверстий корпуса. Банка снабжена подпружиненным клапаном, шток имеет гладкую ступень для кольца, резьбовую часть и гладкую ступень с кольцевой канавкой для поршня, поршень выполнен с центральным отверстием для штока, отверстием с конусом для клапана, двумя отверстиями для штифтов и кольцевой проточкой для кольца уплотнения. Резьбовая часть штока установлена в отверстии корпуса, шток соединен с поршнем с помощью двух штифтов, расположенных в отверстиях поршня и кольцевой проточке штока с возможностью свободного вращения в отверстии поршня, а подпружиненный клапан установлен в отверстии поршня и отверстии в верхней части корпуса. 2 ил. 
Изобретение относится к медицинской технике и может быть использовано для проведения физиопроцедур.
Известна медицинская банка (А.с. №1736505, кл. А 61 М 1/08, БИ №20, 1992 г.), содержащая клапан и соединенная гибким шлангом с вакуум-насосом, выполненным в виде корпуса и двух изогнутых пластин, причем корпус вакуум-насоса выполнен в виде сильфона, а пластины выполнены П-образной формы.
Недостатком известной медицинской банки является громоздкость конструкции, что создает неудобства в пользовании банкой.
Известна медицинская банка (А.с. №1780761, кл. А 61 М 1/08, БИ №46, 1992 г.), содержащая корпус с отверстием в боковой стенке и средство для герметизации и разгерметизации банки в виде тора из упругого материала; боковая стенка изогнута внутрь корпуса с образованием кольцевого радиального углубления.
Недостатком известной медицинской банки является сложность конструкции вследствие большого количества деталей, что снижает надежность использования медицинской банки.
Наиболее близкой по технической сущности и достигаемому положительному эффекту является медицинская банка (А.с. №1752404, кл. А 61 М 1/08, БИ №29, 1992 г.), содержащая корпус, цилиндрический поршень со штоком, установленные в корпусе с возможностью возвратно-поступательного движения, крышку с центральным отверстием для штока, причем открытый торец корпуса выполнен с буртом радиусного профиля, цилиндрическая часть поршня снабжена кольцевыми канавками, а шток соединен с поршнем посредством шарнира.
Причиной, препятствующей получению указанного ниже технического результата при использовании известной медицинской банки, является низкая надежность и сложность эксплуатации. Это обусловлено тем, чти в известной банке отсутствует приспособление для разгерметизации банки, а соединение штока с поршнем посредством шарнира может привести к заклиниванию поршня.
Технический результат, достигаемый при реализации заявленного изобретения, заключается в повышении надежности, упрощении конструкции медицинской банки и как следствие облегчении эксплуатации банки.
Указанный технический результат достигается тем, что банка снабжена подпружиненным клапаном, шток имеет гладкую ступень для кольца, резьбовую часть и гладкую ступень с кольцевой канавкой для поршня, поршень выполнен с центральным отверстием для штока, отверстием с конусом для клапана, двумя отверстиями для штифтов и кольцевой проточкой для кольца уплотнения, причем резьбовая часть штока установлена в отверстии корпуса, шток соединен с поршнем с помощью двух штифтов, расположенных в отверстиях поршня и кольцевой проточке штока с возможностью свободного вращения в отверстии поршня, а подпружиненный клапан установлен в отверстии поршня и отверстии в верхней части корпуса.
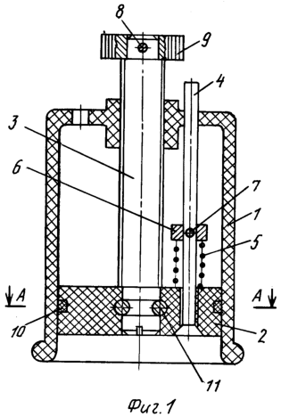
На фиг.1 изображен фронтальный разрез; на фиг.2 – горизонтальный разрез медицинской банки.
Медицинская банка состоит из корпуса 1, поршня 2, штока 3, клапана 4, пружины 5, кольца 6, штифтов 7, 8, кольца 9, кольца уплотнения поршня 10, штифтов 11. Корпус 1 изготовлен из прозрачного материала, нижний торец его утолщен и имеет радиусное закругление как с внутренней, так и с наружной стороны. В верхней части корпуса 1 выполнены три отверстия: одно из них снабжено резьбой для штока 3, второе – отверстие для клапана 4, третье – для соединения внутренней полости корпуса с атмосферой. Поршень 2 имеет центральное отверстие для гладкой части штока 3, отверстие с конусом для клапана 4 и кольцевую проточку для кольца уплотнения 10. Кроме этого, в поршне 2 выполнены два отверстия для штифтов 11. Шток 3 имеет гладкую ступень, которая входит в отверстие поршня 2; эта ступень снабжена кольцевой проточкой, имеющей радиус, равный радиусу штифта 8, резьбовую часть и гладкую ступень для кольца 9. Клапан 4 имеет отверстие для штифта 7, удерживающего кольцо 6, и коническую часть, входящую в конус отверстия поршня 2. Пружина 5 устанавливается на клапане 4 при сборке. После соединения штока 3 и поршня 2 в отверстия поршня вставляются два штифта 11 таким образом, что они проходят в кольцевую канавку штока 3. Такая конструкция позволяет штоку 3 свободно вращаться в поршне 2 и удерживать его. В отверстие поршня 2 вставляется клапан 4, на него надевается пружина и кольцо 6, которое фиксируется штифтом 7. После этого, вращая шток 3, вводят его в резьбовое отверстие корпуса 1, а клапан 4 – в гладкое отверстие. Затем кольцо 9 закрепляется штифтом 8 на штоке 3. Предварительно в канавку поршня 2 устанавливают кольцо уплотнения 10.
Медицинская банка работает следующим образом. Перед выполнением физиопроцедур нужный участок тела пациента смазывают кремом или вазелином. Затем прижимают банку к телу пациента, после этого вращают шток 3 посредством кольца 9. При этом шток вращается в поршне между двумя штифтами 8. Вращаясь и двигаясь в осевом направлении вверх, шток перемещает с собой поршень 2 внутри корпуса 1. За поршнем в нижней части корпуса 1 образуется разрежение, а воздух, находящийся перед поршнем, выходит в отверстие, что размещается в верхней части корпуса 1. Степень разрежения увеличивается по мере перемещения поршня 2 вверх.
Для того чтобы снять банку, необходимо нажать на клапан 4, при этом отверстие в поршне открывается и происходит соединение полостей за поршнем и перед ним. Давление выравнивается – банку можно снимать. Таким образом, из вышеописанного видно, насколько прост и удобен процесс постановки и снятия банки предложенной конструкции. В процессе эксплуатации банка не нуждается во вспомогательных устройствах для создания вакуума и присасывания к телу больного. Она хорошо и надежно присасывается холодным способом как в вертикальном, так и в наклонном или горизонтальном положении. Кроме того, предлагаемое устройство позволяет в зависимости от пола, возраста и физического состояния пациента выбирать и регулировать усилие присасывания и степень воздействия при выполнении назначенных процедур.
Формула изобретения
Медицинская банка, содержащая корпус с отверстиями в верхней части и установленный в корпусе с возможностью перемещения поршень со штоком, размещенным в одном из отверстий корпуса, отличающаяся тем, что она снабжена подпружиненным клапаном, шток имеет гладкую ступень для кольца, резьбовую часть и гладкую ступень с кольцевой канавкой для поршня, поршень выполнен с центральным отверстием для штока, отверстием с конусом для клапана, двумя отверстиями для штифтов и кольцевой проточкой для кольца уплотнения, причем резьбовая часть штока установлена в отверстии корпуса, шток соединен с поршнем с помощью двух штифтов, расположенных в отверстиях поршня и кольцевой проточке штока с возможностью свободного вращения в отверстии поршня, а подпружиненный клапан установлен в отверстии поршня и отверстии в верхней части корпуса.
РИСУНКИ
MM4A – Досрочное прекращение действия патента СССР или патента Российской Федерации на изобретение из-за неуплаты в установленный срок пошлины за поддержание патента в силе
Дата прекращения действия патента: 15.07.2006
Извещение опубликовано: 20.02.2008 БИ: 05/2008
|
|