|
(21), (22) Заявка: 2004115472/14, 24.05.2004
(24) Дата начала отсчета срока действия патента:
24.05.2004
(43) Дата публикации заявки: 10.10.2004
(45) Опубликовано: 10.02.2006
(56) Список документов, цитированных в отчете о поиске:
РОБЕРТ М.ЯНГСОН. Хирургия, подробное описание 73 операций, наиболее часто выполняемых врачом-хирургом. Научно-популярное издание. Минск: ООО “Хэлтон”, 1998, с.281-285, 121-128. RU 2080832 C1, 20.06.1997. FR 2425838 A1, 18.01.1980. SU 1292750 A, 28.02.1987. US 4366819 А, 04.01.1983.
Адрес для переписки:
107065, Москва, ул.Уральская, 23, к.1, кв.142, Гусейнову Рашид Кямиль оглы
|
(72) Автор(ы):
Гусейнов Рашид Кямиль оглы (RU), Хейреддин Али Садек (RU), Элиава Шалва Шалвович (RU)
(73) Патентообладатель(и):
Гусейнов Рашид Кямиль оглы (RU), Элиава Шалва Шалвович (RU)
|
(54) СПОСОБ СОЕДИНЕНИЯ СОСУДОВ И УСТРОЙСТВО ДЛЯ ГЕРМЕТИЗАЦИИ НАДРЕЗА СОСУДА И ПЕРЕРЕЗАНИЯ СТЕНКИ СОСУДА
(57) Реферат:
Группа изобретений относится к медицине, в частности к сосудистой хирургии, и может быть использована для создания межартериального широкопрофильного анастомоза. При соединении сосудов после прекращения кровотока на участке сосуда-реципиента, на котором необходимо произвести пришивание сосуда-донора, осуществляют сквозной надрез стенки сосуда-реципиента и вводят в него шляпку элемента грибообразной формы устройства. На ножке грибообразного элемента смонтирован подвижный зажимной элемент со средством поджатия. Снаружи зажимного элемента установлен подвижный режущий элемент. Стенку сосуда-реципиента прижимают к внутренней поверхности шляпки с охватом надреза и обеспечивают восстановление герметичности сосуда-реципиента. Вырезание лоскута и его удаление производят устройством после пришивания сосуда-донора к сосуду-реципиенту. В результате найдено техническое решение, которое обеспечивает резкое сокращение времени отключения (перетягивания) кровеносных сосудов, в частности, питающих мозг кислородом и глюкозой, до 2-3 минут при простоте, доступности и дешевизне как проводимой операции, так и используемого для нее оборудования. 2 н. и 15 з.п. ф-лы, 7 ил. 
Изобретение относится к медицине, в частности к сосудистой хирургии, и может быть использовано для создания межартериального широкопрофильного анастомоза хирургическим способом.
Известен способ соединения сосудов, при котором прекращают кровоток на участке сосуда-реципиента, на котором необходимо произвести пришивание сосуда-донора, на обескровленном участке сосуда-реципиента вырезают сквозные отверстия до и после места дефекта со стороны кровотока с удалением лоскутов, пришивают к кромкам стенок отверстий в сосуде-реципиенте концы сосуда-донора и восстанавливают кровоток (1).
Данный способ используется в различных случаях. В приведенном источнике информации он применен при шунтировании коронарной артерии сердца. Целью операции является пересадка куска сосудистой ткани из собственного тела больного (обычно отрезок вены из бедра или артерии из грудной стенки) таким образом, чтобы создать новый обходной канал от крупной артерии у верхней части сердца до той части поверхности сердца, которая испытывает дефицит крови.
Операции по шунтированию являются одними из наиболее крупных. Для их проведения требуется дорогостоящая сложная техника.
Известен способ соединения сосудов, при котором прекращают кровоток на участке сосуда-реципиента, на котором необходимо произвести пришивание сосуда-донора, на обескровленном участке в стенке сосуда-реципиента осуществляют вырезание и удаление, по меньшей мере, одного лоскута, а также пришивание к кромке образовавшегося отверстия конца сосуда-донора, причем восстановление кровотока производят после восстановления герметичности сосуда-реципиента (2).
Способ соединения сосудов, охарактеризованный в источнике (2), принят в качестве прототипа заявленного способа, поскольку является наиболее близким к нему по совокупности общих существенных признаков и достигаемому результату.
Сущность способа состоит в следующем.
Временно обескровливают участок сосуда-реципиента с тромбом или эмболой. Накладывают шунт, представляющий собой, например, кусок сосуда из ноги, и обходят участок с дефектом (тромб или эмболу).
Последовательность операций при этом следующая: пережимают сосуд-реципиент до места его дефекта (тромба, эмболы) так, чтобы не поступала кровь к месту дефекта, вырезают отверстие в сосуде-реципиенте и к отверстию пришивают край в край сосуд-донор, затем делают вырез отверстия в сосуде-реципиенте по другую сторону от дефекта и пришивают другой конец сосуда-донора. После этого сосуд-реципиент освобождают от пережатия, и в нем начинается движение крови по сосуду-донору.
Недостаток известного технического решения заключается в следующем.
Как известно, при церебральном тромбозе тромб в церебральном кровеносном сосуде препятствует притоку крови в мозг. В результате этого область, питаемая кровью через данный сосуд, лишается кислорода и глюкозы, что ведет к отмиранию (некрозу) некоторой части мозговой ткани. При церебральном эмболизме эмбола блокирует артерии, снабжающие кровью мозг, что также приводит к отмиранию части мозговых клеток вследствие недостатка кислорода и глюкозы. Целью операции является удаление тромба или эмболы. Однако для проведения операции хирургу требуется временно перетягивать питающие мозг кислородом и глюкозой кровеносные сосуды на некоторое время. В настоящее время оно составляет около 20 минут, что является недопустимо большим, так как столь продолжительное прекращение питания клеток мозга кислородом и глюкозой ведет к их некрозу.
Известно устройство для герметизации надреза сосуда и перерезания стенки сосуда, включающее элемент для присоединения сосуда-донора (2).
Устройство, охарактеризованное в источнике (2), принято в качестве прототипа заявленного устройства, поскольку является наиболее близким к нему по совокупности общих существенных признаков и достигаемому результату.
Устройство представляет собой скальпель, посредством которого осуществляется проведение операции. Недостаток известного устройства аналогичен недостатку вышеописанного технического решения, принятого в качестве прототипа способа.
Целью изобретений является намерение найти техническое решение, обеспечивающее резкое сокращение времени отключения (перетягивания) кровеносных сосудов, в частности, питающих мозг кислородом и глюкозой, до 2-3 минут при одновременном условии обеспечения простоты, доступности и дешевизны как проводимой операции, так и используемого для нее оборудования.
Первым объектом нашего изобретения является способ соединения сосудов, при котором прекращают кровоток на участке сосуда-реципиента, на котором необходимо произвести пришивание сосуда-донора, на обескровленном участке в стенке сосуда-реципиента осуществляют вырезание и удаление, по меньшей мере, одного лоскута, а также пришивание к кромке образовавшегося отверстия конца сосуда-донора, причем восстановление кровотока производят после восстановления герметичности сосуда-реципиента, и при этом, согласно изобретению, после прекращения кровотока осуществляют сквозной надрез стенки сосуда-реципиента с вводом в него шляпки элемента грибообразной формы устройства по п.6 настоящей формулы изобретения и прижатием стенки сосуда-реципиента к внутренней поверхности шляпки с охватом надреза и обеспечением восстановления герметичности сосуда-реципиента, а вырезание лоскута и его удаление производят устройством по п.6 настоящей формулы изобретения после пришивания сосуда-донора к сосуду-реципиенту.
Данная совокупность общих существенных признаков применима при любом использовании заявленного изобретения, независимо от вида проводимой операции. Она используется как при шунтировании сосуда головного мозга или сердца, так и при присоединении сосуда-реципиента к сосуду-донору для решения других задач, например для подключения сосуда-реципиента к другому сосуду.
Предлагаемый способ характеризуется тем, что позволяет отключать сосуды для проведения операции всего на 2-3 минуты и меньше и характеризуется простотой используемого оборудования и дешевизной. Кроме того, способ прост в осуществлении и доступен для осуществления любому практическому хирургу.
Кроме того, применительно к способу мы считаем необходимым выделить следующие развития и/или уточнения совокупности его существенных признаков, относящиеся к частным случаям выполнения или использования.
В заявленном способе возможно различное расположение сосуда-донора относительно элемента грибообразной формы. Например, если оба конца сосуда-донора свободны, что может быть, в частности, на начальном этапе присоединения сосуда-донора (шунта) к сосуду-реципиенту, то элемент грибообразной формы может быть продет через отверстие сосуда-донора от торца до торца, и после этого его шляпка введена в сквозной надрез в стенке сосуда-реципиента.
Если свободен только один конец сосуда-донора, что может быть, например, на конечном этапе присоединения, когда необходимо оставшийся свободным второй конец сосуда-донора (шунта) пришить к сосуду-реципиенту по другую сторону дефекта, то элемент грибообразной формы может быть продет через дополнительный сквозной надрез в стенке сосуда-донора недалеко от его торца, который после его извлечения зашивают. В этом случае после того как элемент грибообразной формы продет через дополнительный надрез в стенке сосуда-донора, свободный конец этого сосуда-донора пришивают к сосуду-реципиенту, вырезают лоскут в сосуде-реципиенте, тем самым соединяя полости сосуда-реципиента и сосуда-донора, удаляют лоскут из полости сосуда-реципиента при помощи элемента грибообразной формы через дополнительный сквозной надрез в стенке сосуда-донора, который перед восстановлением кровотока зашивают.
Заявитель считает необходимым отметить, что заявленный способ может использоваться для проведения различных хирургических операций. Например, он может быть применен в случае, когда осуществляют сквозной надрез стенки сосуда-реципиента, по меньшей мере, с одной стороны дефекта сосуда-реципиента, в частности, когда необходимо соединить между собой посредством сосуда-донора два сосуда-реципиента. Для шунтирования осуществляют сквозной надрез стенки сосуда-реципиента с обеих сторон дефекта в этом сосуде-реципиенте.
С другой стороны, изобретение относится к устройству для герметизации надреза сосуда и перерезания стенки сосуда, включающему элемент для присоединения сосуда-донора, при этом, согласно изобретению, элемент для присоединения сосуда-донора имеет грибообразную форму и состоит из ножки и шляпки, причем на ножке смонтирован оснащенный средством поджатия зажимной элемент с возможностью продольного перемещения и контакта торцом с внутренней поверхностью шляпки, а режущий элемент установлен снаружи зажимного элемента с возможностью продольного перемещения и резания вокруг элемента грибообразной формы.
Конструкции зажимного и режущего элементов может быть различна. Однако для простоты изготовления и использования наиболее предпочтительно, чтобы зажимной и режущий элементы были бы выполнены в виде трубок, охватывающих ножку элемента грибообразной формы, причем трубка режущего элемента установлена с возможностью вращения и ее торец, обращенный в сторону шляпки элемента грибообразной формы, заострен, а торец трубки зажимного элемента выполнен плоским.
Режущий элемент может иметь различные траектория резания. Однако желательно, чтобы диаметр заостренного торца трубки режущего элемента несколько превышал бы наружный диаметр шляпки грибообразного элемента. В этом случае обеспечивается им вырезание лоскута в стенке сосуда-реципиента по типу ножниц. Однако возможно также осуществление вырезание лоскута, когда диаметр заостренного торца трубки режущего элемента равен или меньше наружного диаметра шляпки грибообразного элемента.
В процессе вырезания лоскута в стенке сосуда-реципиента заостренным торцом трубки режущего элемента, диаметр которого больше наружного диаметра шляпки грибообразного элемента, существует опасность того, что заостренный торец пройдет несколько далее вперед и повредит противоположную стенку сосуда-реципиента. Для предотвращения этого желательно, чтобы на внутренней поверхности трубки режущего элемента вблизи заостренного торца был бы выполнен выступ, например, в форме кольца.
Средство поджатия зажимного элемента может иметь различные конструкции. Заявитель разработал множество их модификаций. Для случая, когда зажимной и режущий элементы выполнены в виде трубок, охватывающих ножку элемента грибообразной формы, предпочтительно, чтобы средство поджатия содержало бы пружину, размещенную между обращенным в противоположную от шляпки сторону торцом трубки зажимного элемента и дном стакана, жестко соединенного с ножкой элемента грибообразной формы, причем между торцом стенки стакана и обращенным к нему торцом трубки режущего элемента образован зазор. Зазор предназначен для того, чтобы хирург в процессе проведения операции мог бы охватывать пальцами трубку зажимного элемента для осуществления его перемещения (чтобы его тянуть в ту или иную сторону) (см. ниже).
Для облегчения этих действий хирурга желательно закрепление выступа, например, в виде кольца на наружной поверхности трубки зажимного элемента в зазоре между торцом стенки стакана и обращенным к нему торцом трубки режущего элемента.
Как было отмечено выше, стакан жестко соединен с ножкой элемента грибообразной формы. Соединение может быть осуществлено различно, например посредством сварки или стопорного винта.
Для облегчения проведения операции при помощи заявленного устройства и повышения безопасности проведения операции предпочтительно оснащение средства поджатия фиксатором отжатого положения. Отжатие им трубки средства поджатия необходимо, например, перед вводом шляпки элемента грибообразной формы в сквозной надрез стенки сосуда-реципиента.
Конструкция фиксатора отжатого положения может быть различна. В частности, предпочтительна модификация, согласно которой фиксатор отжатого положения содержит закрепленный на внутренней поверхности стакана штифт, размещенный в сквозном разрезе Г-образной формы, образованном в стенке трубки зажимного элемента от его торца.
В заключение данного раздела описания можно отметить, что в целом преимущество настоящего изобретения заключается в том, что оно позволяет значительно снизить время проведения операции, а также повысить надежность проведения операций. Устройство просто по конструкции и в использовании, легко стерилизуется, доступно для пользования любому практическому хирургу, дешево.
Важным преимуществом изобретения является также то, что оно может быть реализовано на технологическом оборудовании, уже используемом в медицинской промышленности.
Изобретение поясняется чертежами.
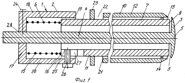
На фиг.1 изображено устройство для герметизации надреза сосуда и перерезания стенки сосуда, продольный разрез.
На фиг.2 изображена трубка зажимного элемента, вид сбоку.
На фиг.3 схематично изображен сосуд-реципиент во время проведения операции на этапе после прекращения кровотока и осуществления сквозного надреза стенки сосуда-реципиента, продольное сечение.
На фиг.4 схематично изображен сосуд-реципиент во время проведения операции на этапе после ввода шляпки элемента грибообразной формы внутрь сосуда-реципиента, продольное сечение.
На фиг.5 схематично изображен сосуд-реципиент во время проведения операции на этапе после прижатия стенки сосуда-реципиента к внутренней поверхности шляпки элемента грибообразной формы с охватом сквозного надреза и обеспечением восстановления герметичности сосуда-реципиента.
На фиг.6 схематично изображен сосуд-реципиент во время проведения операции на этапе после пришивания к нему сосуда-донора.
На фиг.7 схематично изображен сосуд-реципиент во время проведения операции на этапе после вырезания лоскута в сосуде-реципиенте.
Осуществление заявляемого способа соединения сосудов поясняется с помощью устройства 1 для герметизации надреза сосуда и перерезания стенки сосуда, изображенного на фиг.1.
Оно содержит элемент 2 для присоединения сосуда-донора, который представляет собой элемент 3 грибообразной формы, состоящий из ножки 4 и шляпки 5, причем на ножке 4 смонтирован оснащенный средством поджатия 6 зажимной элемент 7 с возможностью продольного перемещения и контакта своим торцом 8 с внутренней поверхностью 9 шляпки 5 элемента 3 грибообразной формы, а режущий элемент 10 установлен снаружи зажимного элемента 7 с возможностью продольного перемещения и резания вокруг шляпки 5 элемента 3 грибообразной формы.
При этом зажимной элемент 7 выполнен в виде трубки 11, охватывающей ножку 4 элемента 3 грибообразной формы, а режущий элемент 10 выполнен в виде трубки 12, охватывающей трубку 11 зажимного элемента 7. Трубка 12 режущего элемента 10 установлена с возможностью продольного скольжения по трубке 11 зажимного элемента 7 практически без зазора, а также с возможностью вращения вокруг трубки 11. Торец 13 трубки 12 режущего элемента 10, обращенный в сторону шляпки 5 элемента 3 грибообразной формы, заострен. По существу трубка 12 режущего элемента 10 представляет собой трубчатый нож. Отмеченный выше торец 8 трубки 11 зажимного элемента 7 выполнен плоским.
Диаметр заостренного торца 13 трубки 12 режущего элемента 10 превышает наружный диаметр шляпки 5 элемента 3 грибообразной формы. При этом обеспечивается оптимальное условие перерезания заявленным устройством стенки сосуда-реципиента по типу ножниц (см. ниже). Вместе с тем, диаметр заостренного торца 13 трубки 12 режущего элемента 10 может быть равен или меньше наружного диаметра шляпки 5 элемента 3 грибообразной формы.
На внутренней поверхности трубки 12 режущего элемента 10 вблизи заостренного торца 13 выполнен выступ 14, например, в форме кольца. Он предназначен для ограничения выдвижения заостренного торца 13 трубки 12 режущего элемента 10 за шляпку 5 элемента 3 грибообразной формы и предотвращения повреждения им стенки-сосуда реципиента.
Средство поджатия 6 зажимного элемента 7 содержит пружину 15, размещенную между обращенным в противоположную от шляпки 5 сторону торцом 16 трубки 11 зажимного элемента 7 и днищем 17 стакана 18, жестко соединенного с ножкой 4 элемента 3 грибообразной формы, причем между торцом 19 стенки 20 стакана 18 и обращенным к нему торцом 21 трубки 12 режущего элемента 10 образован зазор 22.
Зазор 22 предназначен для доступа пальцев хирурга к зажимному элементу 7. Охватив зажимной элемент пальцами, хирург может произвести перемещение зажимного элемента 7, например зафиксировать его в отжатом положении при помощи фиксатора отжатого положения. Для повышения удобства в перемещении зажимного элемента 7 на наружной поверхности трубки 11 зажимного элемента 7 в зазоре 22 между торцом 19 стенки 20 стакана 18 и обращенным к нему торцом 21 трубки 12 режущего элемента 10 может быть закреплен выступ 23, например, в виде кольца.
Как отмечено выше, стакан 18 жестко соединен с ножкой 4 элемента 3 грибообразной формы. Соединение может быть осуществлено различно, например выполнено неразъемным, в частности, посредством сварки или разъмным посредством стопорного винта 24, как показано на фиг.1. Для соединения в последнем случае в днище 17 стакана 18 выполняют отверстие. В ножке 4 элемента 3 грибообразной формы также выполняют отверстие с резьбой. Совмещают оси указанных отверстий и вводят в них ножку стопорного винта с наружной винтовой резьбой. Осуществляют ввинчивание ножки стопорного винта до тех пор, пока его шляпка не упрется в наружную поверхность стенки 20 стакана 18, и затягивают соединение.
Как было отмечено выше, средство поджатия 6 зажимного элемента 7 может быть оснащено фиксатором отжатого положения. На фиг.1 он обозначен позицией 25. Фиксатор отжатого положения 25 содержит закрепленный в стенке 20 стакана 18 штифт 26, конец которого размещен в сквозном разрезе 27 Г-образной формы, образованном в стенке трубки 11 зажимного элемента 7 непосредственно от его торца 16. В качестве штифта может быть использован винт, как это изображено на фиг.1. Для установки винта в стенке 20 стакана 18 образуют сквозное отверстие и нарезают на его внутренней поверхности резьбу. После этого ножку винта ввинчивают в это отверстие до того момента, пока ее конец станет выступать внутрь стакана на достаточную длину.
Такова конструкция устройства для проведения операции на сосудах.
Сборка устройства.
Для сборки устройства для проведения операции на сосудах сначала трубку 11 зажимного элемента 7 одевают на ножку 4 элемента 3 грибообразной формы до упора в шляпку 5. Затем надевают на трубку 11 зажимного элемента 7 трубку 12 режущего элемента 10. С торца 16 трубки 11 зажимного элемента 7 на зажимной элемент 7 одевают стакан 18 с пружиной 15 внутри так, чтобы стенка 20 стакана 18 охватила трубку 11 зажимного элемента 7. После этого вводят свободный конец ножки 4 элемента 3 грибообразной формы внутрь пружины 15 и в отверстие 28 в днище 17 стакана 18 и жестко соединяют их между собой стопорным винтом 24.
Как отмечалось выше, на внутренней поверхности отверстия трубки 12 режущего элемента 10 может быть выполнен выступ 14 в форме кольца для ограничения выдвижения заостренного торца трубки 12. Внутренний диаметр отверстия выступа 14 в форме кольца лишь немного превышает наружный диаметр трубки 11 зажимного элемента 7. В результате выступ в форме кольца скользит по трубке 11 зажимного элемента 7 почти без зазора. На практике более практично выполнять трубку 12 без зазора, изготовляя ее с диаметром внутреннего отверстия, немного большим наружного диаметра трубки 11 зажимного элемента 7, на которую она одевается, так чтобы трубка 12 почти без зазора скользила по трубке 11. Для ограничения выдвижения заостренного торца трубки 12 в этом случае внутри полости трубки 12 начиная от заостренного торца 13 может быть выполнена кольцевая выемка, в которую шляпка 5 элемента 3 грибообразной формы и садится на уступ этой выемки, что ограничивает дальнейшее перемещение заостренного торца 13 трубки 12 режущего элемента 10.
В качестве материала для изготовления заявленного устройства можно использовать нержавеющую сталь, например, марки ЭП 899, которую при необходимости закаливают для повышения прочности.
Использование устройства для проведения операции на сосудах.
Ниже приводим наиболее общий случай использования заявленного устройства для случая, когда необходимо пришить к сосуду-реципиенту 29 сосуд-донор 30 (см. фиг.3-фиг.7). Конечно, возможны многочисленные другие варианты приемов его использования в зависимости от вида операции и конкретных особенностей ее проведения.
На первом этапе хирургически проходят к сосуду-реципиенту 29, который надо лечить, открывают его сбоку и осуществляют прекращение кровотока на участке 31 сосуда-реципиента 29, на котором требуется пришить сосуд-донор 30. Условно направление кровотока показано стрелкой, обозначенной позицией 32. Для прекращения кровотока сосуд-реципиент 29 пережимают (или, иначе говоря, “клипируют”). Для этого могут быть использованы любые подходящие средства, например зажим, клипса и т.д. Место пережима обозначено позицией 33. В результате кровоток на участке 31 прекращается.
На втором этапе осуществляют сквозной надрез стенки сосуда-реципиента 29, например, серповидным ножом. Надрез обозначен позицией 34. Сосуд-реципиент 29 после завершение этого этапа показан на фиг.3. Длина надреза 34 равна или чуть больше диаметра ножки 4 элемента 3 грибообразной формы, например 0,8-1 мм. Диаметр сосуда-реципиента может находиться в интервале 2,5-3 мм.
На третьем этапе берут устройство 1 для проведения операции на сосудах и одевают на него сверху сосуд-донор 30. После этого отводят назад трубку 11 зажимного элемента 7 и трубку 12 режущего элемента 10. При перемещении трубки 11 зажимного элемента 7 сжимается пружина 15 средства поджатая 6. Для этого перемещения назад трубки 11 хирург может взяться за ее открытую боковую поверхность в зазоре 22 или за выступ 23, жестко прикрепленной к трубке 11. Для надежности удержания трубки 11 зажимного элемента 7 может быть использован фиксатор 25 отжатого положения средства поджатия 6 зажимного элемента 7. Для его использования трубку 11 надо переместить так, чтобы штифт 26 вошел в сквозной разрез 27 Г-образной формы, прошел до упора в стенку разреза, а затем в боковую часть разреза, расположенную под углом 90°. В результате шляпка 5 элемента 3 грибообразной формы оказывается выдвинутой вперед. После этого шляпку 5 заводят через сквозной надрез внутрь сосуда-реципиента 29, подобно тому, как пуговицу вводят в петлю одежды. Например, диаметр шляпки 5 элемента 3 грибообразной формы составляет 2,5 мм, диаметр сквозного надреза 0,8-1 мм, а диаметр сосуда-реципиента 2,5-3 мм. Однако ввод возможен за счет эластичности стенок сосуда-реципиента. Они растягиваются, как резина. Для ввода шляпки 5 надрез 34 растягивают, увеличивая длину надреза за счет растяжения, и вталкивают шляпку в просвет в стенке сосуда-реципиента внутрь сосуда-реципиента. Сосуд-реципиент 29 после завершение этого этапа показан на фиг.4.
На четвертом этапе освобождают пружину 15 средства поджатия 6, например, путем вывода штифта 26 из сквозного надреза 27 Г-образной формы в результате поворота трубки 11 зажимного элемента 7 относительно стакана 18. Под действием пружины 15 трубка 11 зажимного элемента 7 прижимает края сосуда-реципиента 29 к внутренней плоской поверхности шляпки 5 элемента 3 грибообразной формы. Получаем герметичное соединение, поскольку надрез 34 оказывается изолированным от внутренней полости сосуда-реципиента. Сосуд-реципиент 29 после завершение этого этапа показан на фиг.4.
На пятом этапе восстанавливают кровоток. Для этого снимают зажим или клипсу. Кровоток восстанавливается. Движение восстановленного кровотока на участке 31, на котором было прекращен кровоток, обозначено позицией 35. Продолжительность описанных этапов, на протяжении которых был прекращен кровоток, занимает максимум 2-3 минуты. Обычно меньше 1 минуты.
На шестом этапе осуществляют пришивание края сосуда-донора 30 к сосуду-реципиенту 29. Шов обозначен позицией 36. Сосуд-реципиент 29 после завершение пришивания к нему сосуда-донора 30 показан на фиг.6.
На седьмом этапе повторно останавливают кровоток буквально на 1 минуту на участке 31 и, выдвигая трубку 12 режущего элемента 10, отрезают лоскут 37 со сквозным надрезом 34. Для этого хирург пальцами берется за наружную поверхность трубки 12 и перемещает ее в сторону шляпки 5 элемента 3 грибообразной формы. При этом движении заостренный торец трубки 12 наталкивается на стенку сосуда и перерезает ее с образованием лоскута 37. Для надежности перерезания хирург может повращать трубку 12. Отрезанный лоскут оказывается надежно зажатым между трубкой 11 зажимного элемента 7 и внутренней поверхностью шляпки 5. Это исключает возможность захвата лоскута восстановленным кровотоком и закупорки им кровеносного сосуда. Сосуд-реципиент 29 после отрезания лоскута 37 показан на фиг.7.
На восьмом этапе осуществляют извлечение устройства 1 вместе с зажатым им лоскутом из сосуда-донора 30 и восстановление кровотока на участке 31 сосуда-реципиента 29, на котором пришили сосуд-донор 30.
Заявитель считает необходимым отметить, что возможны многочисленные модификации использования способа и устройства.
Например, при проведении седьмого этапа при условии обеспечения надежной герметизации возможно произвести отрезание лоскута и его удаление без остановки кровотока.
Другой пример.
Например, в случае шунтирования вышеописанным способом можно присоединить сосуд-донор к сосуду-реципиенту по одну сторону дефекта, например сгустка крови или эмболы. Затем взять второй сосуд-донор и присоединить его аналогичными приемами к сосуду-реципиенту по другую сторону дефекта, например сгустка крови или эмболы. После этого свободные концы сосудов-доноров соединить между собой.
Третий пример.
В вышеописанном случае шунтирования ножку элемента грибообразной формы вместе с трубками зажимного и режущего элементов продевали через отверстие сосуда-донора. Очевидно, что это возможно в том случае, когда оба конца сосуда-донора свободны. Однако возможен случай, когда один конец сосуда-донора не свободен, например, пришит, как после восьмого этапа в вышеописанном примере. В этом случае элемент в виде средства 3 грибообразной формы с надетыми на него трубкой 11 зажимного устройства 7 и трубкой 12 режущего элемента 10 продевают через дополнительный сквозной надрез в стенке сосуда-донора внутрь сосуда-донора недалеко от свободного конца сосуда-донора. В результате устройство 1 оказывается внутри свободного конца сосуда-донора. Его подносят к участку сосуда-реципиента, расположенного по другую сторону дефекта (например, сгустка крови в сосуде, эмболы), и производят пришивание конца сосуда-донора к сосуду-реципиенту с вырезанием лоскута и удалением его так, как это было описано в вышеописанных этапах с первого по восьмой, с той лишь разницей, что после извлечения устройства 1 с зажатым лоскутом 37 из дополнительного сквозного надреза в боковой стенке сосуда-донора до включения кровотока производят зашивание этого дополнительного сквозного надреза в боковой стенке сосуда-донора.
Диаметр круглой шляпки 5 может быть на 0,02 мм меньше диаметра заостренного торца 13 трубки 12 режущего элемента 10. Это обеспечивает наиболее оптимальные условия для резания по типу ножниц. Однако диаметр круглой шляпки 5 может быть равен или больше диаметра заостренного торца 13 трубки 12 режущего элемента 10.
Использование изобретения позволило значительно улучшить результаты хирургического лечения.
Изобретение можно эффективно использовать для проведения операций.
Преимуществом заявляемых способа и устройства являются:
1) значительное снижение травматичности и повышение надежности проведения операции за счет уменьшения продолжительности прекращения кровотока, что особенно важно при проведении нейрохирургических операций, а также операций на сердце;
2) значительная простота конструкции, состоящей из нескольких металлических деталей;
3) низкая стоимость;
4) простота изготовления и ремонта;
5) простота стерилизации;
6) простота использования практическим хирургом. Данное преимущество требует дополнительного пояснения.
Под простотой использования в данном случае помимо простоты использования способа и конструкции устройства заявитель подразумевает также следующее.
При проведении операции, при которой необходимо пришить сосуд-донор к сосуду-реципиенту, важно создать оптимальные условия их сшивания. Дело в том, что часто диаметры этих сосудов могут не совпадать, что значительно усложняет их соединение. Например, для проведения операции по шунтированию сосуда головного мозга сосуд-донор берут из ноги, и он имеет диаметр около 4 мм, а сосуд головного мозга, к которому его необходимо пришить, то есть сосуд-реципиент, имеет значительно меньший диаметр, около 2,4 мм. Это создает значительные трудности при пришивании. Чтобы конец сосуда-донора принял удобную для сшивания форму, можно использовать металлическое кольцо, например, из титана. В этом случае кромку сосуда-донора, которую необходимо пришить к сосуду-реципиенту, всовывают в кольцо, огибают его изнутри наружу и пришивают к сосуду. В ходе проведения операции край сосуда-донора вместе с кольцом пришивают к сосуду-реципиенту, и металлическое кольцо остается на сосуде-реципиенте. Помимо усложнения операции в результате пришивания титанового кольца, наличие титанового кольца на сосуде-реципиенте ведет к двум недостатка:
– любой металл обладает индуктивностью, и по этой причине на кольце оседают и могут скапливаться эритроциты;
– металлическое кольцо фиксирует сужение сосуда-донора в месте его пришивания к сосуду-реципиенту. Вслед за сужением идет расширение сосуда-донора. Поскольку по сосуду-донору движется кровоток, то его максимальная скорость будет в узком месте, то есть в месте кольца, а за ним на переходе, по мере удаления от места соединения с сосудом-реципиентом, будет наблюдаться расширение сосуда-донора. Это ведет к резкому росту давления в этом месте расширения, и сосуд-донор может даже лопнуть или ослабнуть.
В заявленном изобретении этих недостатков нет. Сосуд-донор одет на устройство 1, а точнее, на трубку 12 режущего элемента, и по этой причине принял круглую форму. Его легко можно пришить, даже несмотря на разность диаметров. Отпадает необходимость обшивать кромкой сосуда-донора титановое кольцо для предотвращения опадания сосуда-донора перед пришиванием к сосуду-реципиенту. После пришивания сосуда-донора к сосуду-реципиенту трубку 12 режущего элемента снимают с сосуда-донора. Сосуд-реципиент после операции не имеет никаких металлических элементов.
Настоящее устройство просто в обращении, доступно для пользования практическому хирургу.
Помимо приведенных вариантов изобретения возможны и другие многочисленные его модификации.
Все они охватываются приведенной далее заявителем формулой изобретения.
Источники информации, принятые во внимание
1. Ю.В.Белов. “Руководство по сосудистой хирургии с атласом оперативной техники”. М.: Издательство ДеНово, 2000, с.261-311.
2. Роберт М.Янгсон. “Хирургия”. Подробное описание 73 операций, наиболее часто выполняемых врачом-хирургом. Научно-популярное издание. Минск: ООО “Хэлтон”, 1998, с.281-285, 121-128 (прототип способа и устройства).
Формула изобретения
1. Способ соединения сосудов, при котором прекращают кровоток на участке сосуда-реципиента, на котором необходимо произвести пришивание сосуда-донора, на обескровленном участке в стенке сосуда-реципиента осуществляют вырезание и удаление, по меньшей мере, одного лоскута, а также пришивание к кромке образовавшегося отверстия конца сосуда-донора, причем восстановление кровотока производят после восстановления герметичности сосуда-реципиента, отличающийся тем, что после прекращения кровотока осуществляют сквозной надрез стенки сосуда-реципиента с вводом в него шляпки элемента грибообразной формы устройства по п.6 и прижатием стенки сосуда-реципиента к внутренней поверхности шляпки с охватом надреза и обеспечением восстановления герметичности сосуда-реципиента, а вырезание лоскута и его удаление производят устройством по п.6 после пришивания сосуда-донора к сосуду-реципиенту.
2. Способ по п.1, отличающийся тем, что элемент грибообразной формы продевают через отверстие сосуда-донора.
3. Способ по п.1, отличающийся тем, что элемент грибообразной формы продевают через дополнительный сквозной надрез в стенке сосуда-донора, недалеко от его торца, который после его извлечения зашивают.
4. Способ по п.1, отличающийся тем, что осуществляют сквозной надрез стенки сосуда-реципиента, по меньшей мере, с одной стороны дефекта сосуда реципиента.
5. Способ по п.1, отличающийся тем, что для шунтирования осуществляют сквозной надрез стенки сосуда-реципиента с обеих сторон дефекта сосуда-реципиента.
6. Устройство для герметизации надреза сосуда и перерезания стенки сосуда, включающее элемент для присоединения сосуда-донора, отличающееся тем, что элемент для присоединения сосуда-донора имеет грибообразную форму и состоит из ножки и шляпки, причем на ножке смонтирован оснащенный средством поджатия зажимной элемент с возможностью продольного перемещения и контакта торцом с внутренней поверхностью шляпки, а режущий элемент установлен снаружи зажимного элемента с возможностью продольного перемещения и резания вокруг элемента грибообразной формы.
7. Устройство по п.6, отличающееся тем, что зажимной и режущий элементы выполнены в виде трубок, охватывающих ножку элемента грибообразной формы, причем трубка режущего элемента установлена с возможностью вращения и ее торец, обращенный в сторону шляпки элемента грибообразной формы, заострен, а торец трубки зажимного элемента выполнен плоским.
8. Устройство по п.7, отличающееся тем, что диаметр заостренного торца трубки режущего элемента превышает наружный диаметр шляпки элемента грибообразной формы.
9. Устройство по п.8, отличающееся тем, что на внутренней поверхности трубки режущего элемента вблизи заостренного торца выполнен выступ.
10. Устройство по п.9, отличающееся тем, что выступ выполнен в форме кольца.
11. Устройство по п.7, отличающееся тем, что средство поджатия содержит пружину, размещенную между обращенным в противоположную от шляпки сторону торцом трубки зажимного элемента и дном стакана, жестко соединенного с ножкой элемента грибообразной формы, причем между торцом стенки стакана и обращенным к нему торцом трубки режущего элемента образован зазор.
12. Устройство по п.11, отличающееся тем, что на наружной поверхности трубки зажимного элемента в зазоре между торцом стенки стакана и обращенным к нему торцом трубки режущего элемента закреплен выступ.
13. Устройство по п.12, отличающееся тем, что выступ выполнен в виде кольца.
14. Устройство по п.11, отличающееся тем, что стакан жестко соединен с ножкой элемента грибообразной формы посредством сварки.
15. Устройство по п.11, отличающееся тем, что стакан жестко соединен с ножкой элемента грибообразной формы посредством стопорного винта.
16. Устройство по п.11, отличающееся тем, что средство поджатия оснащено фиксатором отжатого положения.
17. Устройство по п.16, отличающееся тем, что фиксатор отжатого положения содержит закрепленный в стенке стакана штифт, конец которого размещен в сквозном разрезе Г-образной формы, образованном в стенке трубки зажимного элемента непосредственно от его торца.
РИСУНКИ
|