|
|
(21), (22) Заявка: 2000111020/13, 28.04.2000
(24) Дата начала отсчета срока действия патента:
28.04.2000
(30) Конвенционный приоритет:
30.04.1999 EP 99201367.2
(43) Дата публикации заявки: 20.05.2002
(45) Опубликовано: 10.02.2006
(56) Список документов, цитированных в отчете о поиске:
RU 2001135 C1, 15.10.1994. US 3482992 А, 09.12.1969. РЯБИНИН Д.Д. ЛУКАЦ Ю.Е. Червячные машины для переработки пластических масс и резиновых смесей. М.: Машиностроение, 1965, с.192.
Адрес для переписки:
103735, Москва, ул. Ильинка, 5/2, ООО “Союзпатент”, Н.Н.Высоцкой
|
(72) Автор(ы):
ДОЙЧ Роман (CH), ХЕК Эрнст (CH), МАРТИН Жан-Пьер (CH)
(73) Патентообладатель(и):
СОСЬЕТЕ ДЕ ПРОДЮИ НЕСТЛЕ С.А. (CH)
|
(54) ЭКСТРУЗИОННАЯ ГОЛОВКА
(57) Реферат:
Экструзионная головка для производства вспученного зернового продукта содержит питающее кольцо, которое открывается в цилиндрическую распределительную камеру, сообщенную с ярусом или ярусами параллельных экструзионных трубок, расположенных в передней стенке. Головка также содержит цилиндрическую распределительную вставку, отходящую в осевом направлении от центра кольца, но отстоящую от яруса трубок. Экструзионным прессованием через вышеописанную головку получают вспученный зерновой продукт. Изобретение позволяет получить вспученный хлебный зерновой продукт в виде массы соприкасающихся между собой комочков. 4 н. и 4 з.п. ф-лы, 5 ил. 
Область техники
Настоящее изобретение относится к пищевой промышленности, в частности касается экструзионной головки, экструзионного пресса (экструдера), содержащего по меньшей мере одну такую головку вспученного зернового продукта, полученного экструзионным прессованием через указанную головку, и способа производства такого зернового продукта.
Предшествующий уровень техники
Патент ЕР 0898890 (выдан фирме СОСЬЕТЭ ДЕ ПРОДЮИ НЕСТЛЭ С.А.) описывает экструзионную головку, предназначенную для экструзионного прессования одного-единственного вещества для производства продукта, который в своем общем виде представляет собой сердцевину или ядро, окруженную кольцеобразной оболочкой. Указанная головка содержит питающую плиту, имеющую отверстие, выходящее в распределительную камеру, которая сообщается, с одной стороны, с центральным экструзионным каналом, имеющим общую конфигурацию сходящегося конуса. Этот канал проходит через круглую центральную плиту-тарелку, имеющую отверстие и предназначенную для предварительного вспучивания материала и/или для замедления потока материала. С другой стороны, распределительная головка сообщается с по меньшей мере трубчатым экструзионным каналом, который проходит коаксиально и имеет общую конфигурацию сходящегося конуса, причем этот коаксиальный канал проходит через по меньшей мере одну кольцевую фильерную пластину для предварительного взрыва материала и/или для замедления потока материала. При этом выходные отверстия центрального, коаксиального и трубчатого экструзионных каналов концентричны друг другу.
Патент US 2858218 (выдан Дж.О.Бенсону) описывает зерновой продукт в виде хлопьев, поверхность которых напоминает поверхность плодов малины, а также предлагает способ производства такого зернового продукта. Согласно этому способу зерно злаковых и воду в смеси подвергают варке при атмосферном давлении. Полученную таким образом сваренную пасту подвергают экструзионному прессованию посредством продавливания ее с помощью поршня через головку, имеющую несколько отверстий, в результате чего получают несколько параллельных волокон сваренной пасты. Из этих волокон формируют жгут, к которому прилагают боковое сжимающее усилие в трубчатой насадке на головке для того, чтобы волокна пасты в жгуте склеились вместе. Полученный жгут цилиндрической формы сушат и нарезают поперечно на тонкие ломтики, которые затем подвергают вспучиванию под воздействием тепла.
Патент US 3482992 (выдан Дж.О.БЕНСОНУ) описывает зерновой продукт в виде хлопьев, состоящих из отдельных кусочков, которые контактируют друг с другом по окрашенным линиям раздела, а также предлагает способ производства такого продукта. Согласно этому способу смесь зерен злаковых и воды подвергают варке в варочном сосуде, а сваренную пасту подвергают экструзионному прессованию через головку, имеющую несколько круглых выходных отверстий. Более конкретно, прессование осуществляется через шесть отверстий, расположенных кругом вокруг центрального отверстия, тогда как краситель впрыскивают через небольшие промежуточные отверстия. В результате получают рад параллельных волокон сваренной пасты, причем волокна окрашены по линиям раздела. Из волокон формируют жгут, к которому прилагают боковое усилие в трубчатой насадке на головке для того, чтобы склеить вместе волокна пасты. Полученный таким образом жгут подвергают волочению в продольном направлении с целью уменьшения его диаметра. Далее жгут нарезают на поперечные тонкие ломтики, которые подвергают сначала сушке, а затем разрыхлению (вспучиванию) под воздействием тепла.
Краткое описание изобретения
Цель настоящего изобретения заключается в разработке экструзионной головки, которая позволила бы производить вспученный зерновой продукт, коммерчески и потребительски привлекательной трехмерной конфигурации, более конкретно, представляющий собой совокупность соприкасающихся друг с другом комочков. Для достижения указанной цели предлагаемая экструзионная головка включает питающее кольцо, отверстие которого открывается в цилиндрическую распределительную камеру, сообщенную с ярусом или ярусами параллельных экструзионных трубок, расположенных в передней стенке, а также содержит цилиндрическую распределительную вставку, отходящую в осевом направлении от центра кольца, но отстоящую от яруса (ярусов) трубок.
Экструзионный пресс согласно предлагаемому изобретению представляет собой удлиненный цилиндрический барабан, внутри которого размещены один или два технологических шнека, по меньшей мере одну экструзионную головку, и режущее средство. Вспученный зерновой продукт, полученный экструзией через такую головку, представляет собой совокупность соприкасающихся друг с другом комочков.
Предлагаемый способ производства вспученного зернового продукта в виде совокупности соприкасающихся друг с другом комочков заключается в варке-экструзии и вспучивании смеси, содержащей (в весовых частях) 60-90 в.ч. крахмалсодержащего материала, до 15 в.ч. сахара, до 10 в.ч. масла и воду, которую добавляют в таком количестве, которое достаточно, чтобы содержание влаги в смеси было равным 15-25 вес.%%, после чего смесь экструдируют через по меньшей мере одну экструзионную головку, имеющую ярус параллельных экструзионных трубок до производства слипающихся друг с другом множества волокон вспученного термопластичного материала, после чего полученный жгут из волокон нарезают на ломтики у выхода из фильерных отверстий экструзионных трубок.
В рамках настоящего описания изобретения выражение «технологический шнек» означает экструзионный шнек или шнеки, вращающиеся внутри расточенного или рассверленного канала /каналов/, внутри цилиндрического барабана, снабженного технологическими средствами, такими как спирально навитые вокруг оси скребки (гонки). Конфигурацию, шаг хода, глубину и направление хода таких скребков (гонков) можно подобрать различными способами так, чтобы они определяли зоны осуществления различных технологических операций, таких как транспортировка сырья, его замачивание, смешивание, формование резкой, сжатие и/или варка, в качестве примера. Такие технологические шнеки могут быть цельнометаллическими или состоять из сборных элементов, последовательно засаженных на шпиндель.
Предлагаемая экструзионная головка включает питающее кольцо, отверстие которого входит в цилиндрическую распределительную камеру, сообщающуюся с ярусом параллельных экструзионных трубок, имеющихся в передней стенке, и цилиндрическую распределительную вставку, отходящую в осевом направлении от центра кольца, но отстоящую от яруса трубок.
Питающее кольцо может быть изготовлено, например, в форме двух концентричных колец, соединенных друг с другом радиальными стержнями, или, например, в форме накладывающихся друг на друга трубчатых обручей.
Распределительная вставка может состоять из первой цилиндрической части, расположенной впереди (или выше) по ходу технологического потока материала, и второй части, выполненной в форме усеченного конуса и расположенной ниже или позади по ходу указанного потока. Назначение этой вставки заключается в выполнении роли промежуточного конструкционного элемента, способного нивелировать скорость движения потока экструдируемого термопластичного материала по всей ширине фронта экструзии, причем ширина этого фронта соответствует ширине или диаметру яруса параллельных экструзионных трубок.
Трубки, составляющие указанный ярус (ярусы) трубок, могут быть самыми различными по поперечному сечению, а именно: круглыми, овальными и/или многоугольными, например, треугольными, квадратными, прямоугольными и/или трапециевидными.
Следовательно, трубки одного и того же яруса могут иметь поперечные сечения одинаковых или различающихся конфигураций и размеров. Ярус может состоять из 2-40 трубок, обычно 12-30 трубок, которые в поперечном сечении отцентрированы вдоль нескольких осей или кривых. Альтернативно трубки можно разместить в произвольном порядке, но относительно близко друг к другу.
В поперечном сечении трубки могут иметь размеры (т.е. диаметры, длину или ширину) порядка 1,0-4,0 мм, иными словами их размеры таковы, чтобы площадь проходного сечения трубок была бы равной, например, 1-16 мм2.
Расстояние между трубками в ярусе может быть равным, например, 0,2-0,6 мм.
Экструзионный пресс согласно предлагаемому изобретению содержит удлиненный цилиндрический барабан, в котором размещены один или два технологических шнека, по меньшей мере, одну экструзионную головку согласно предлагаемому изобретению, и режущее средство.
Режущее средство может быть выполнено в виде ротационного резака, несущего на себе некоторое число режущих лопастей, обычно 2-4 лопасти, вращающихся как раз напротив выходных отверстий трубок яруса, т.е. напротив передней стенки головки.
Согласно одному предпочтительному варианту выполнения экструзионного пресса с несколькими головками, в частности с 2-30 головками, нижняя по ходу потока часть барабана, содержащая нижний по ходу потока конец технологического шнека или шнеков, заканчивается в передней пластине, которая прикреплена к барабану и в которой проделано отверстие, предназначенное для предварительного распределения материала, причем это отверстие далее открывается через фильерную плиту предварительного распределения материала в колоколообразную камеру предварительного распределения материала. И наконец, эта колоколообразная камера сообщается через питающие кольца с распределительными камерами экструзионных головок.
В вышеописанном варианте выполнения экструдера с несколькими экструзионными головками, число используемых головок можно подобрать таким образом, чтобы оно соответствовало производительности экструдера. Для этого достаточно «заглушить» одну головку из двух или трех, перекрыв ее питающее кольцо с помощью крышки, размещенной в ее центре на месте ее вставной распределительной камеры.
Вспученный зерновой продукт согласно предлагаемому изобретению можно получить посредством экструзионного прессования через предлагаемую экструзионную головку. В общем виде этот продукт представляет собой совокупность соприкасающихся друг с другом комочков.
Соприкасающиеся комочки могут иметь одинаковую или различающуюся конфигурацию. Например, в частности, эти комочки могут быть круглыми и/или удлиненными. Кроме того, они могут по желанию изготовителя располагаться по оси или вдоль кривой. Общая толщина зернового продукта может быть, например, 4-16 мм.
Зерновой продукт может быть плоским или слегка искривленным. По его периферии могут располагаться комочки различной конфигурации: квадратной, прямоугольной, круглой или овальной, причем по кромкам продукта могут выступать вовне «протуберанцы» в виде внешних комочков, прилипших к зерновому продукту.
Можно также наладить производство предлагаемого зернового продукта в другом виде, например, в виде зернового продукта для завтрака или хрустящего корма для домашних животных. Так, в случае выпуска в виде зернового продукта для завтрака последний можно есть таким, каким он выпускается, или вместе с шоколадом, сахарным сиропом, фруктовым сиропом, медовым сиропом или с подливкой, содержащей витамины и ароматизирующие и вкусовые вещества.
Предлагаемый способ производства вспученного зернового продукта, представляющего собой совокупность соприкасающихся комочков, заключается в том, что варке-экструзии-вспучиванию при давлении 40-180 бар и при температуре 105-180°С подвергают смесь, содержащую (в весовых частях – (в.ч.)) 60-90 в.ч. крахмалсодержащего материала, до 15 в.ч. сахара, до 10 в.ч. масла, и воду, добавленную к смеси в таком количестве, при котором содержание влаги в смеси равно 15-25 весовых %%, после чего смесь подвергают экструзионному прессованию (экструзии) через по меньшей мере одну экструзионную головку, оснащенную по меньшей мере одним ярусом параллельных экструзионных трубок, с тем, чтобы получить жгут волокон вспученного термопластичного материала, причем волокна в жгуте приклеиваются друг к другу, после чего жгут нарезают на ломтики у входных отверстий экструзионных трубок.
Помимо вышеуказанных компонентов, смесь может также содержать до 1,5 в.ч. кальция в форме, например, карбоната кальция или трифосфата кальция.
Кроме того, к смеси можно добавить витамины, микроэлементы и поваренную соль. Сверх того, к смеси можно добавлять пищевые красители, ароматизирующие и даже вкусовые компоненты, такие как, например, какао в количестве до 6 в.ч.
В качестве крахмалсодержащего материала можно использовать муку какого-либо злака, в частности, пшеничную, ячменную, рисовую и/или кукурузную муку, и/или крахмал, в частности пшеничный, ячменный, рисовый, и/или кукурузный крахмал и/или крахмал тапиоки или картофеля.
В качестве сахара можно использовать сахарозу, глюкозу или фруктозу.
Масло, которое добавляют в количестве 4-10 в.ч., может быть сливочным маслом или растительным маслом, таким как, например, пальмовое масло.
Операции варки и экструзии можно осуществлять в варочно-экструзионном аппарате, в котором соотношение длины и диаметра шнека равно примерно 9-24, а шнеки вращаются со скоростью 240-370 оборотов/минуту, при давлении в диапазоне 40-180 бар и температуре в пределах 105-180°С с тем, чтобы волокна, полученные экструзионным прессованием, входили бы с коэффициентом вспучивания порядка 2-4.
В процессе вспучивания вода выходит из термопластичной массы в виде водяных паров, в результате чего экструдированные волокна имеют пористую структуру, а их остаточное содержание влаги может быть, например, порядка 5-12%.
Вспученный зерновой продукт, полученный вышеописанным способом, можно далее подвергнуть сушке, например, непрерывно пропуская его через канальную сушильную печь до тех пор, пока его остаточное влагосодержание не снизится до порядка 1-3%.
Описание чертежей
Предлагаемые экструзионная головка, экструзионный пресс и зерновой продукт будут далее подробно описаны со ссылкой на прилагаемые чертежи, которые являются лишь иллюстративными и на которых:
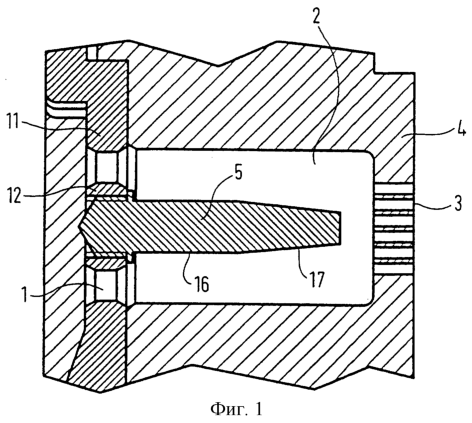
Фиг.1 представляет собой сечение по оси одного из вариантов выполнения головки.
Фиг.2 представляет собой поперечное сечение детали головки, изображенной на фиг.1.
Фиг.3 представляет собой частичное поперечное сечение одного из вариантов выполнения экструзионного пресса, содержащего несколько экструзионных головок.
Фиг.4 представляет собой вид спереди экструзионного пресса, изображенного на фиг.3.
Фиг.5 является фотографией, показывающей один из возможных вариантов выполнения предлагаемого вспученного зернового продукта. Фотография снята с трех различных ракурсов.
Подробное описание изобретения
Согласно варианту осуществления предлагаемого изобретения, показанному на Фиг.1, экструзионная головка включает питающее кольцо (кольцо-питатель) 1, которое выходит своим отверстием в цилиндрическую распределительную камеру 2, сообщающуюся с ярусом параллельных экструзионных трубок 3, проделанных в передней стенке 4, цилиндрическую распределительную промежуточную вставку камеру 5, отходящую в осевом направлении от центра кольца 1, но отстоящую от яруса трубок 3.
Как явствует из Фиг.1 и 2, питающее кольцо 1 выполнено в форме двух колец 11 и 12, соединенных друг с другом накладывающимися друг на друга трубчатыми обручами 13.
Распределительная вставка 5 состоит из первой цилиндрической части 16, расположенной выше по ходу технологического потока материала, и второй части 17, выполненной в форме усеченного конуса и расположенной ниже по ходу технологического потока материала.
Ярус экструзионных трубок 3 включает 24 цилиндрические параллельные трубки, которые имеют одно и то же круглое поперечное сечение и которые распределены на две группы с параллельными осями, которые пересекаются между собой под углом.
В варианте осуществления, показанном на Фиг.3 и 4, экструзионный пресс (экструдер) включает удлиненный барабан (не показан на чертеже), внутри которого находятся один или два технологических шнека (не показаны), некоторое число экструзионных шнеков, показанных на Фиг.1 и 2, и режущее средство для материала 14.
Нижележащая часть 17 барабана, содержащая нижележащий конец технологического шнека или шнеков, заканчивается в передней пластине 7, прикрепленной к барабану. В этой пластине 7 имеется отверстие для предварительного распределения материала 8, которое входит через фильерную плиту 10 предварительного распределения материала в колоколообразную камеру предварительного распределения материала 9, сообщающуюся через питающие кольца 1 с распределительными камерами 2 головок.
Средство для нарезания зернового материала выполнены в форме ротационного резака 14, который вращается напротив выходных отверстий трубок 3.
Как показано на Фиг.3, одна головка из двух «заглушена» посредством перекрытия ее питающего кольца с помощью крышки 15, закрепленной в ее центре вместо, например, распределительной вставки 5.
Фиг.5 показывает один из возможных вариантов зернового продукта, полученного экструзионным прессованием через экструзионную головку, показанную на Фиг.1 и 4.
Согласно этому варианту, предлагаемый зерновой продукт представляет собой совокупность соприкасающихся комочков, имеющих одну и ту же округлую форму и одни и те же размеры, причем эти комочки распределены на две группы, отцентрованные вдоль параллельных осей. Оси индивидуальных комочков могут пересекаться под различными углами. Зерновой продукт состоит из соприкасающихся комочков, слегка искривлен (с той стороны, на которой резак отделяет зерновой продукт от волокна пасты, выходящей из экструзионной головки) и в целом по периметру имеет очертания прямоугольника.
Нижеследующий пример иллюстрирует производство предпочтительной формы предлагаемого зернового продукта. В данном случае это вспученный зерновой продукт для завтрака. Он изготовлен посредством варки/экструзии смеси, состоящей в основном из муки и воды, в варочно-экструзионном аппарате, в котором использованы несколько экструзионных головок согласно предлагаемому изобретению. В этом примере – как, впрочем, и во всем описании настоящего изобретения – все единицы, т.е. проценты и части, даны как весовые единицы.
Пример
Двухшнековый варочно-экструдирующий аппарат, содержащий несколько экструзионных головок, подобных тем, которые изображены на Фиг.3 и 4, был использован для производства вспученного зернового продукта, представляющего собой совокупность комочков (смотри Фиг.5).
Для производства продукта использовали исходную смесь следующего состава (все единицы в весовых частях (в.ч.), кроме добавленной воды):
| Компонент |
Содержание |
| Рисовая мука |
40 |
| Пшеничная мука |
22 |
| Пальмовое масло |
5 |
| Кукурузная мука |
12 |
| Сахароза |
10 |
| Соль, пряности, ароматические добавки |
3 |
| Вода |
до 18% |
Для производства смеси сухие порошки сначала смешивали, а затем сухую смесь, масло и воду загружали в экструдер, в данном случае в двухшнековый экструдер типа CLEXTRAL ВС-72 с диаметром шнека 88 мм и длиной шнека 900 мм. Далее производили смешивание указанных компонентов. Затем смесь подвергали варке-экструзии при температуре 170°С и давлении 100-120 бар при скорости вращения шнеков 310 оборотов/минуту.
Полученную таким образом термопластичную массу подвергали экструзии через 6 ярусов экструзионных трубок с диаметром 1,3 мм и расстоянием между трубками 0,3 мм. В каждом ярусе было 24 трубки.
Термопластичную массу экструдировали в окружающее пространство и немедленно нарезали на ломтики с помощью четырехлопастного резака, вращавшегося со скоростью 800 оборотов/минуту напротив передней стенки экструзионных головок.
Полученный таким образом зерновой продукт представлял собой совокупность соприкасающихся друг с другом 24 комочков. Все комочки были одинаково круглыми, имели одинаковые размеры и подразделялись на две группы, параллельные оси которых пересекались под углом. Зерновой продукт был слегка искривлен (на той стороне, где резак отрезал зерновой продукт от жгута, выходящего из головки), а по периметру зерновой продукт в целом имел прямоугольные очертания.
Полученный зерновой продукт имел толщину около 6 мм, ширину около 15 мм и длину около 20 мм.
Формула изобретения
1. Экструзионная головка, содержащая питающее кольцо /1/, которое открывается в цилиндрическую распределительную камеру /2/, сообщенную с ярусом параллельных экструзионных трубок /3/, расположенных в передней стенке /4/, а также содержащая цилиндрическую распределительную вставку /5/, отходящую в осевом направлении от центра кольца /1/, но отстоящую от яруса трубок /3/.
2. Экструзионный пресс /экструдер/, содержащий удлиненный барабан, в котором размещены один или два технологических шнека, по меньшей мере одна экструзионная головка согласно п.1 и режущее средство.
3. Экструзионный пресс по п.2, содержащий несколько экструзионных головок, часть барабана, расположенная ниже по ходу потока материала, включает нижний по ходу потока материала конец технологического шнека или шнеков и заканчивается в передней пластине /7/, прикрепленной к барабану; пресс имеет также отверстие /8/ для предварительного распределения материала и это отверстие /8/ открывается через фильерную плиту /10/ предварительного распределения материала в колоколообразную камеру /9/ предварительного распределения материала и эта камера /9/ сообщена с распределительными камерами /2/ экструзионных головок через питающие кольца /1/, причем режущее средство выполнено в форме ротационного вращающегося резака /14/, который вращается напротив выходных отверстий экструзионных трубок /3/.
4. Вспученный зерновой продукт, полученный экструзионным прессованием через экструзионную головку по п.1, представляющий собой совокупность соприкасающихся друг с другом комочков.
5. Способ производства вспученного зернового продукта, представляющего собой совокупность соприкасающихся друг с другом комочков, включающий варку-экструзию и вспучивание смеси, содержащей в весовых частях 60-90 частей крахмалсодержащего материала, до 15 частей сахара, до 10 частей масла и воду, до содержания в смеси 15-25 вес.%, после чего указанную смесь подвергают экструзии через по меньшей мере одну экструзионную головку, содержащую ярус или ярусы параллельных экструзионных трубок для производства жгута, состоящего из прилипающих друг к другу волокон вспученного термопластичного вещества, с последующим нарезанием жгута на ломтики у выходных отверстий экструзионных трубок.
6. Способ по п.5, в котором в экструдированных волокнах материала достигается коэффициент вспучивания 2-4.
7. Способ по п.5, в котором экструдированные волокна материала имеют пористую структуру.
8. Способ по п.5, в котором экструдированные волокна материала имеют остаточное содержание влаги 5-12%.
РИСУНКИ
|
|