|
|
(21), (22) Заявка: 2004112877/13, 27.04.2004
(24) Дата начала отсчета срока действия патента:
27.04.2004
(43) Дата публикации заявки: 10.10.2005
(45) Опубликовано: 10.02.2006
(56) Список документов, цитированных в отчете о поиске:
RU 2202880 C1, 27.14.2003. SU 780827, 23.11.1980. SU 266442, 17.03.1970. SU 157863, 14.10.1963. SU 1074463 A, 23.02.1984.
Адрес для переписки:
129343, Москва, Берингов пр-д, 4, кв.350, В.В. Пассеку
|
(72) Автор(ы):
Комаров Анатолий Александрович (RU), Ходорковский Валерий Натанович (RU)
(73) Патентообладатель(и):
Комаров Анатолий Александрович (RU), Ходорковский Валерий Натанович (RU)
|
(54) МАШИНА ДЛЯ САНИТАРНОЙ ОБРАБОТКИ ЯИЦ
(57) Реферат:
Изобретение относится к области птицеводства и может быть использовано для санитарной обработки яиц на яйцескладах птицеводческих хозяйств, в меланжевых цехах птицекомбинатов и на кондитерских фабриках. Машина для санитарной обработки яиц содержит станину, смонтированные на ней емкость для моющего раствора, транспортер, моющую щетку, привод и систему передач для обеспечения движения транспортера и моющей щетки, систему подачи воды к транспортеру, систему сушки, подводящий и отводящий лотки. Транспортер выполнен в виде неподвижного цилиндрического шнека и концентрически расположенного внутри него направляющего цилиндра. Моющая щетка расположена внутри направляющего цилиндра концентрически по отношению к нему на общей оси с возможностью вращения ее и направляющего цилиндра с разной скоростью. Неподвижный цилиндрический шнек выполнен в виде спирали, расстояние между витками которой обеспечивает задержку яиц. Направляющий цилиндр содержит прорези шириной, соответствующей размеру яйца, и направленные параллельно оси вращения. Использование изобретения позволит снизить материалоемкость и энергоемкость, повысить эксплуатационную надежность машины при соответствующем качестве. 2 ил. 
Изобретение относится к области птицеводства и может быть использовано для санитарной обработки яиц на яйцескладах птицеводческих хозяйств, в меланжевых цехах птицекомбинатов и на кондитерских фабриках.
Известна яйцемоечная установка ЯМУ-Ф-10А, включающая роликовый шестирядный транспортер, подающий яйца под щетку, которая, совершая возвратно-поступательные движения в вертикальной плоскости, производит чистку яиц. Смачивание яиц происходит через форсунки, установленные неподвижно над блоком щеток. Моющий раствор подается по трубопроводу насосом. (Техническое описание и инструкция по эксплуатации ЯМУ-Ф-10А. ТО Уфимский завод сельскохозяйственного машиностроения, Уфа, 1988 г.).
Недостаток установки состоит в том, что конструкция щеточного механизма позволяет производить только возвратно-поступательное движение щеток относительно очищаемого объекта, что приводит к образованию лунок в ворсе, что в свою очередь ведет к снижению качества чистки, к повышению боя яиц и частой смене щеток.
Наиболее близкой к заявляемой по технической сущности и достигаемому результату является машина для санитарной обработки яиц, содержащая роликовый транспортер, расположенные над транспортером и жестко закрепленные на одном валу с возможностью вращения в горизонтальной плоскости щеточный механизм, выполненный из двух и более соосно перекрещивающихся пар цилиндрических щеток, и оросительное устройство, содержащее расположенные над щетками форсунки, основную емкость для моющего раствора, вентилятор для сушки (Патент РФ №2202880, Бюл. №12, 27.04.03).
Недостатком машины является сложность конструкции, большой вес, трудоемкость изготовления.
Предлагаемым изобретением решается задача снижения материалоемкости и энергоемкости, повышения эксплуатационной надежности машины при соответствующем качестве.
Для достижения технического результата в машине для санитарной обработки яиц, содержащей станину, смонтированные на ней емкость для моющего раствора, транспортер, моющую щетку, привод и систему передач для обеспечения движения транспортера и моющей щетки, систему подачи воды к транспортеру, систему сушки, подводящий и отводящий лотки, транспортер выполнен в виде неподвижного цилиндрического шнека и расположенного внутри него концентрически направляющего цилиндра, моющая щетка расположена внутри направляющего цилиндра концентрически по отношению к нему на общей оси с возможностью вращения ее и направляющего цилиндра с разной скоростью, при этом неподвижный цилиндрический шнек выполнен в виде спирали, шаг которой соответствует размеру яйца, а направляющий цилиндр содержит прорези шириной, соответствующей размеру яйца, и направленные параллельно оси вращения.
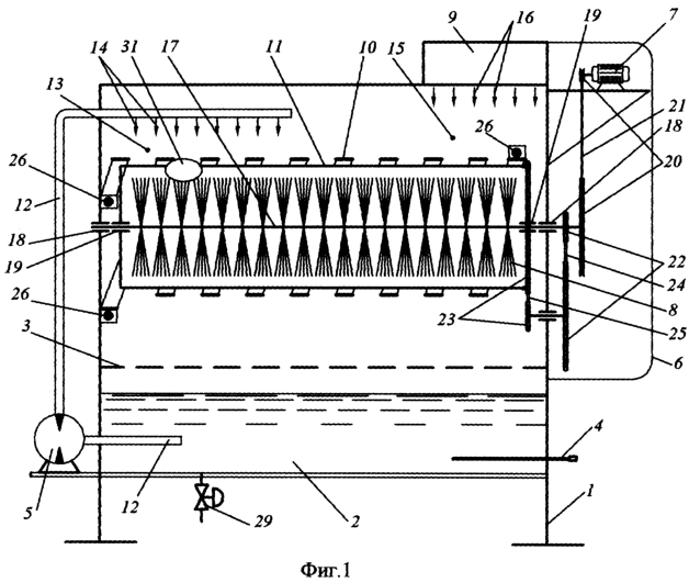
Сущность изобретения поясняется чертежами, где
на фиг.1 изображена предлагаемая машина, вид спереди;
на фиг.2 – вид сверху.
Машина для санитарной обработки яиц состоит из станины 1, емкости 2 для моющего раствора, фильтра 3, нагревателя 4, насоса 5, защитного кожуха 6, привода 7, щетки 8, воздушного электронагревателя 9 и транспортера, состоящего из неподвижного цилиндрического шнека 10 и расположенного внутри него концентрически направляющего цилиндра 11. Для подачи моющего раствора из емкости 2 к транспортеру устроен трубопровод 12. Поступление воды через отверстия трубопровода в зоне мойки 13 обозначено стрелками 14, поступление горячего воздуха в зоне сушки 15 – стрелками 16. Щетка 8 жестко закреплена на оси 17, которая вращается в подшипниках 18, направляющий цилиндр 11 вращается в подшипниках 19. Таким образом, щетка 8 и направляющий цилиндр 11 могут вращаться на одной оси с разной скоростью. Для вращения щетки 8 служит пара шкивов 20 с ременной передачей 21. Для вращения направляющего цилиндра 11 служат две пары 22 и 23 шестерен с цепными передачами 24 и 25. Неподвижный цилиндрический шнек 10 закреплен жестко на станине 1 с помощью соединений 26. Яйца для мойки поступают к неподвижному цилиндрическому шнеку 10 по подающему лотку-склизу 27, а выходят по приемному лотку-склизу 28. Для слива моющего раствора из емкости 2 служит кран 29. В направляющем цилиндре 11 выполнены продольные пазы 30, направленные параллельно образующей цилиндра. Ширина пазов 30 должна обеспечивать свободный проход яйца, а расстояние между витками спирали шнека 10 должно задерживать яйцо (кроме мест стыкования с лотками-склизами 27 и 28). Таким образом, яйцо 31 через продольные пазы 30 щеткой 8 прижато к спирали шнека 10.
Машина для санитарной обработки яиц работает следующим образом.
Яйцо поступает (подается) по лотку-склизу 27 в продольный паз 30 направляющего цилиндра 11, вращающегося со скоростью 30 об/мин, при этом вращающееся со скоростью 500 об/мин внутри направляющего цилиндра яйцо щеткой 8 прижимается к внутренней поверхности спирали шнека 10 и принудительно прокатывается по внутренней винтовой поверхности спирали, находясь в продольном пазу направляющего цилиндра 11.
При этом яйцо совершает сложное движение:
1) прокатываясь по внутренней поверхности спирали, совершает вращательное движение вокруг своей оси;
2) совершает вращательное движение по внутренней винтовой линии спирали шнека 10;
3) совершает поступательное движение по продольному пазу 30 вращающегося направляющего цилиндра по горизонтали.
Сначала яйцо подвергается всесторонней очистке вращающейся щеткой 8 с одновременным обмыванием его и щетки подогретым моющим раствором в зоне 13. При дальнейшем прохождении по транспортеру яйцо попадает в зону 15 сушки потоком подогретого воздуха из воздушного электронагревателя (калорифера) 9. Затем, выйдя из зоны действия спирали транспортера, яйцо из паза 30 вращающегося направляющего цилиндра 11 под действием собственного веса по лотку-склизу 28 поступает на приемный стол оборудования для его дальнейшей обработки (маркировки, взвешивания, калибровки, укладки в тару и т.д.).
Предлагаемая машина для санитарной обработки яиц имеет высокие эксплуатационные показатели. Таким образом, экономический эффект предлагаемой машины для мойки яиц обусловлен уменьшением материалоемкости (общий вес меньше в 3-5 раз, чем в прототипе), энергоемкости и соответственно снижением затрат на производство и эксплуатацию при соответствующем качестве мойки яиц.
Формула изобретения
Машина для санитарной обработки яиц, содержащая станину, смонтированные на ней емкость для моющего раствора, транспортер, моющую щетку, привод и систему передач для обеспечения движения транспортера и моющей щетки, систему подачи воды к транспортеру, систему сушки, подводящий и отводящий лотки, отличающаяся тем, что транспортер выполнен в виде неподвижного цилиндрического шнека и концентрически расположенного внутри него направляющего цилиндра, моющая щетка расположена внутри направляющего цилиндра концентрически по отношению к нему на общей оси с возможностью вращения ее и направляющего цилиндра с разной скоростью, при этом неподвижный цилиндрический шнек выполнен в виде спирали, расстояние между витками которой обеспечивает задержку яйца, а направляющий цилиндр содержит прорези шириной, соответствующей размеру яйца, и направленные параллельно оси вращения.
РИСУНКИ
|
|