|
| На основании пункта 3 статьи 13 Патентного закона Российской Федерации от 23 сентября 1992 г. № 3517-I патентообладатель обязуется передать исключительное право на изобретение (уступить патент) на условиях, соответствующих установившейся практике, лицу, первому изъявившему такое желание и уведомившему об этом патентообладателя и федеральный орган исполнительной власти по интеллектуальной собственности, – гражданину РФ или российскому юридическому лицу. |
|
(21), (22) Заявка: 2004126830/12, 06.09.2004
(24) Дата начала отсчета срока действия патента:
06.09.2004
(45) Опубликовано: 10.02.2006
(56) Список документов, цитированных в отчете о поиске:
SU 410824 А, 05.06.1974. SU 1727680 A1, 23.04.1992. SU 345644 A, 08.08.1972. SU 125438 A, 08.01.1960. SU 15922 A, 30.06.1930. SU 27527 A, 31.08.1932. DE 19802672 A1, 23.09.1999.
Адрес для переписки:
190000, Санкт-Петербург, Главпочтамт, “до востребования”, Л.Н. Буркову
|
(72) Автор(ы):
Бурков Лев Николаевич (RU)
(73) Патентообладатель(и):
Бурков Лев Николаевич (RU)
|
(54) ОБОРОТНЫЙ СОЛОМОТРЯС
(57) Реферат:
Изобретение относится к сельскохозяйственному машиностроению и может быть использовано в сепарирующих устройствах комбайнов. Соломотряс состоит из двух последовательно установленных соосных перфорированных барабанов. Первый барабан неподвижно закреплен сразу за молотильным аппаратом и снаружи снабжен цилиндрическим эксцентрично установленным зубовым оборачивателем соломистой массы. Зубья оборачивателя свободно входят в прорези барабана на рабочем захвате 200÷240° и обеспечивают оборот соломистой массы. Второй перфорированный барабан имеет на внутренней поверхности установленные по винтовым линиям многозаходного винта лопасти. Снизу сзади второго барабана установлена под углом скатная доска. Перфорация у обоих барабанов выполнена одинакового диаметра. Соломотряс обеспечивает устранение ударных нагрузок и улучшает выделение из соломы зерна. 4 ил. 
Изобретение относится к сельскохозяйственному машиностроению, в частности к комбайностроению, и может быть использовано при проектировании новых конструкций комбайнов или их молотильно-сепарирующих устройств.
Известен соломотряс комбайна “Нива”, описанный в книге А.Н.Карпенко и В.М.Халанского “Сельскохозяйственные машины”, М.: Агропромиздат, 1989 г., стр.275-276. Он состоит из ступенчатых клавиш, прикрепленных на коленчатые валы с возможностью вращения.
Существенным недостатком такой конструкции являются сильные ударные нагрузки на все рабочие органы и недостаточная очистка соломы от оставшегося зерна, что снижает качество уборки зерновых культур.
Задачей данного изобретения является устранение ударных нагрузок и повышение чистоты удаления из соломы оставшегося зерна за счет того, что соломотряс выполнен из неподвижного с перфорированной нижней половиной барабана с незамкнутыми параллельными друг другу и вертикальной плоскости прорезями по окружности и установленного сразу за молотильным аппаратом, при этом снаружи него с возможностью вращения эксцентрично установлен многорядный цилиндрический зубовый оборачиватель, состоящий из жестко соединенных между собой поперечин и ободов, на которых с равным шагом закреплены зубья, и они свободно входят в прорези барабана, и каждый последующий ряд смещен относительно предыдущего на половину шага, при этом эксцентриситет зубового оборачивателя смещен внутрь вверх по вертикальной оси неподвижного барабана настолько, что рабочий угол захвата зубьев составляет 200-240 градусов, а задний участок барабана на одной трети его длины по бокам горизонтальной оси симметрии с внешней стороны снабжен окнами, к которым по касательной к его поверхности жестко прикреплены каналы центробежных вентиляторов, причем край барабана установлен на подшипниках качения и входит с перекрытием внутрь дополнительного перфорированного барабана, являющегося продолжением первого и установленного на подшипниках качения с внешней стороны с возможностью вращения на охватывающих барабан по 220 градусов шарнирных подвесках, и внутри барабана по линиям многозаходного винта жестко закреплены лопасти высотой не более четверти радиуса и длиной не более радиуса с равным шагом, причем сзади и снизу дополнительного барабана на трети его длины жестко закреплена наклонная скатная доста, а перфорация у всех барабанов выполнена с одинаковым диаметром, равным 3-4 средней длины семян убираемой культуры, при этом все барабаны установлены с наклоном вперед.
Новые существенные признаки соломотряса:
– он состоит из неподвижного с перфорированной нижней половиной барабана с незамкнутыми параллельными друг другу и вертикальной плоскости прорезями по окружности и установленного сразу за молотильным аппаратом,
– снаружи неподвижного барабана с возможностью вращения эксцентрично установлен многорядный цилиндрический зубовый оборачиватель, состоящий из жестко соединенных между собой поперечин и ободов, на которых с равным шагом закреплены зубья, и они свободно входят в прорези неподвижного барабана, и каждый последующий ряд смещен относительно предыдущего на половину шага,
– эксцентриситет зубового оборачивателя смещен вверх по вертикальной оси неподвижного барабана настолько, что рабочий угол захвата зубьев составляет 200-240 градусов,
– задний участок неподвижного барабана на одной трети его длины по бокам горизонтальной оси симметрии с внешней стороны снабжен окнами, к которым по касательной к его поверхности жестко прикреплены каналы центробежных вентиляторов, задний край неподвижного барабана установлен на подшипниках качения и входит с перекрытием внутрь дополнительного перфорированного барабана,
– дополнительный перфорированный барабан является продолжением первого и установлен на подшипниках качения с внешней стороны с возможностью вращения на охватывающих барабан по 220 градусов шарнирных подвесках, и внутри барабана по линиям многозаходного винта жестко закреплены лопасти высотой не более четверти радиуса и длиной не более радиуса с равным шагом,
– сзади и снизу дополнительного барабана на трети его длины жестко закреплена наклонная скатная доска,
– перфорация у всех барабанов выполнена с одинаковым диаметром, равным 3-4 средней длины семян убираемой культуры,
– все барабаны установлены с наклоном вперед.
Перечисленные новые существенные признаки в совокупности с известными необходимы и достаточны для достижения технического результата во всех случаях, на которые распространяется испрашиваемый объем правовой защиты.
Технический результат достигается за счет того, что
– соломотряс состоит из неподвижного с перфорированной нижней половиной барабана с незамкнутыми параллельными друг другу и вертикальной плоскости прорезями по окружности и установленного сразу за молотильным аппаратом потому, что перфорация способствует просеиванию зерна, оставшегося в соломе на всем протяжении барабана, а прорези выполнены для зубьев оборачивателя,
– снаружи неподвижного барабана с возможностью вращения эксцентрично установлен многорядный цилиндрический зубовый оборачиватель, состоящий из жестко соединенных между собой поперечин и ободов, на которых с равным шагом закреплены зубья, и они свободно входят в прорези неподвижного барабана, и каждый последующий ряд смещен относительно предыдущего на половину шага для того, чтобы обеспечить оборот соломистой массы, поступающей из молотильного аппарата,
– эксцентриситет зубового оборачивателя смещен вверх по вертикальной оси неподвижного барабана настолько, что рабочий угол захвата зубьев составляет 200-240 градусов, чтобы обеспечить надежный захват сломы и ее оборот с тем, чтобы не наматывать ее на себя, а через промежуток 200-240 градусов освободить для дальнейшего продвижения по барабану,
– задний участок неподвижного барабана на трети его длины по бокам горизонтальной оси симметрии с внешней стороны снабжен окнами, к которым по касательной к его поверхности жестко прикреплены каналы центробежных вентиляторов для того, чтобы напором воздуха проталкивать солому вдоль барабана и выдувать из соломы легкие частицы, активизируя очистку и отделение примесей и зерна,
– задний край неподвижного барабана установлен на подшипниках качения и входит с перекрытием внутрь дополнительного перфорированного барабана для уменьшения сил трения и перекрытия зазоров между барабанами для исключения потерь,
– дополнительный перфорированный барабан является продолжением первого и установлен на подшипниках качения с внешней стороны с возможностью вращения на охватывающих барабан по 220 градусов шарнирных подвесках, и внутри барабана по линиям многозаходного винта жестко закреплены лопасти высотой не более четверти радиуса и длиной не более радиуса с равным шагом для того, чтобы обеспечивать оборот соломистой массы и дальнейшее ее продвижение вдоль барабана на выход,
– сзади и снизу дополнительного барабана на трети его длины жестко закреплена наклонная скатная доска для направления прошедшего через отверстия зерна далее по технологической цепочке на очистку,
– перфорация у всех барабанов выполнена с одинаковым диаметром, равным 3-4 средней длины семян убираемой культуры, для обеспечения просеивания семян через перфорацию без задержек и забивания отверстий,
– все барабаны установлены с наклоном вперед для создания некоторого торможения продвижению соломистой массы и, следовательно, лучшей очистки от зерна и мелких примесей.
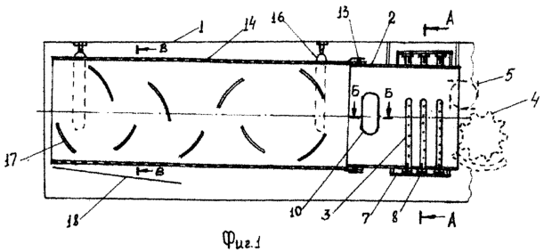
На фиг.1 дан продольный разрез корпуса молотилки комбайна и соломотряса. На фиг.2 дано сечение А-А с фиг.1, показывающее взаимосвязь зубового оборачивателя и неподвижного барабана, на фиг.3 дано сечение Б-Б с фиг.1, показывающее установку вентиляторов, на фиг.4 дан разрез В-В с фиг.1, показывающий вид лопастей, установленных на внутренней поверхности дополнительного барабана.
Рассмотрим устройство соломотряса. В корпуса молотилки 1 жестко установлен неподвижный с перфорированной нижней половиной барабан 2, у которого параллельно друг другу и вертикальной плоскости выполнены прорези 3, которые незамкнуты по окружности, а сам барабан установлен сразу за молотильным аппаратом 4 и отбойным бигером 5, которые показаны штриховыми линиями. Снаружи барабана 2 с возможностью вращения эксцентрично установлен многорядный зубовый оборачиватель 6, состоящий из жестко соединенных между собой поперечин 7 и ободов 8, на которых с равным шагом закреплены зубья 9, и они свободно входят в прорези 3 барабана 2, и каждый последующий ряд смещен относительно предыдущего на половину шага, при этом эксцентриситет зубового оборачивателя 6 смещен вверх по вертикальной оси неподвижного барабана 2 настолько, что рабочий угол захвата зубьев 9 составляет 200-240 градусов, а задний участок барабана 2 на одной трети его длины по бокам горизонтальной оси симметрии с внешней стороны снабжен окнами 10, к которым по касательной к поверхности барабана 2 жестко прикреплены каналы центробежных вентиляторов 11 и 12, причем край барабана 2 установлен на подшипниках качения 13 и входит с перекрытием внутрь дополнительного перфорированного барабана 14, являющегося продолжением барабана 2 и установленного на подшипниках качения 15 с внешней стороны с возможностью вращения на охватывающих барабан по 220 градусов шарнирных подвесках 16, и внутри барабана 14 по линиям многозаходного винта закреплены лопасти 17 высотой не более четверти радиуса барабана 14, длиной не более радиуса барабана 14 с равным шагом, причем сзади и снизу дополнительного барабана 14 на трети его длины жестко закреплена наклонная скатная доска 18, а перфорация у всех барабанов выполнена с одинаковым диаметром, равным 3-4 средней длины семян убираемой культуры, при этом все барабаны установлены с наклоном вперед.
Рассмотрим работу соломотряса. При сходе соломистой массы с молотильного аппарата 4 она попадает внутрь неподвижного барабана 2 с перфорированной нижней частью и прорезями 3, где перемещаются зубья оборачивателя 6, происходит оборачивание соломы, а через перфорацию зерно проходит на очистку, солома поступает во второй барабан 14, который своими лопастями 17 подхватывает солому и, продолжая оборачивать, проталкивает ее к выходу в копнитель, т.к. лопасти установлены по винтовым линиям, причем через окна 10 массу подталкивает поток воздуха от вентиляторов 11 и 12, а выделяющееся зерно попадает на перфорированную поверхность барабана и проходит на очистку, по скатной доске 18 на очистку проходит та часть зерна, которая отделилась на последней стадии обработки в барабане 14.
Таким образом, никаких ударов по узлам нет, солома активно оборачивается и пока продвигается по рабочим узлам соломотряса, хорошо протряхивается и очищается от зерна и мелких примесей за счет многократного оборачивания соломы, при этом динамические нагрузки устранены.
Формула изобретения
Соломотряс, состоящий из неподвижного с перфорированной нижней половиной барабана с незамкнутыми параллельными друг другу и вертикальной плоскости прорезями по окружности и установленного сразу за молотильным аппаратом, при этом снаружи него с возможностью вращения эксцентрично установлен многорядный цилиндрический зубовый оборачиватель, состоящий из жестко соединенных между собой поперечин и ободов, на которых с равным шагом закреплены зубья и они свободно входят в прорези барабана и каждый последующий ряд смещен относительно предыдущего на половину шага, при этом эксцентриситет зубового оборачивателя смещен внутрь вверх по вертикальной оси неподвижного барабана настолько, что рабочий угол захвата зубьев составляет 200÷24°, а задний участок на одной трети его длины по бокам горизонтальной оси симметрии с внешней стороны снабжен окнами, к которым по касательной к его поверхности жестко прикреплены каналы центробежных вентиляторов, причем край барабана установлен на подшипниках качения и входит с перекрытием внутрь дополнительного перфорированного барабана, являющегося продолжением первого и установленного на подшипниках качения с внешней стороны с возможностью вращения на охватывающих барабан по 220° шарнирных подвесках и внутри барабана по линиям многозаходного винта жестко закреплены лопасти высотой не более одной четверти радиуса и длиной не более радиуса с равным шагом, причем сзади и снизу дополнительного барабана на одной трети его длины жестко закреплена наклонная скатная доска, а перфорация у всех барабанов выполнена с одинаковым диаметром, равным 3÷4 средней длины семян убираемой культуры, при этом все барабаны установлены с наклоном вперед.
РИСУНКИ
|
|