|
|
(21), (22) Заявка: 2004123899/09, 04.08.2004
(24) Дата начала отсчета срока действия патента:
04.08.2004
(45) Опубликовано: 27.01.2006
(56) Список документов, цитированных в отчете о поиске:
Справочник по монтажу электроустановок промышленных предприятий/Под ред. В.В.Белоцерковца, Б.А.Делибиша. Издание второе. Книга первая. М.: Энергия, 1976, с.161, гл.4-24. RU 20041573 С1, 09.08.1995. US 6061221 A, 09.05.2000. DE 19741662, 12.03.1998.
Адрес для переписки:
664074, г.Иркутск, ул. Лермонтова, 83, Иркутский государственный технический университет
|
(72) Автор(ы):
Константинова Елена Георгиевна (RU), Тамилов Олег Николаевич (RU), Бондаренко Светлана Иосифовна (RU), Нейман Виктор Владимирович (RU)
(73) Патентообладатель(и):
Государственное образовательное учреждение высшего профессионального образования “Иркутский государственный технический университет” (ГОУ ИрГТУ) (RU)
|
(54) СПОСОБ ЗАЩИТЫ КОММУТАЦИОННОЙ АППАРАТУРЫ И УСТРОЙСТВО ДЛЯ ЕГО ОСУЩЕСТВЛЕНИЯ
(57) Реферат:
Изобретение относится к области электротехники, в частности к средствам защиты от недопустимых превышений температуры коммутационной аппаратуры и контактных резьбовых соединений токоведущих частей в схемах электроснабжения, непосредственно реагирующим на недопустимое превышение температуры. Технический результат изобретения заключается в повышении возможности предотвращения возгорания контактного соединения за счет повышения оперативности и достоверности информации о температуре наиболее подверженных возгоранию зон. Технический результат достигается тем, что в способе защиты коммутационной аппаратуры и контактных резьбовых соединений токоведущих частей осуществляют контроль отклонения от нормальной температуры зажимов коммутационной аппаратуры посредством установки в зажим коммутационной аппаратуры устройства для контроля отклонения от нормальной температуры контактных токоведущих частей, а затяжку зажима коммутационной аппаратуры проводят при появлении запахового поля, по которому судят о недопустимом отклонении температуры зажима от нормальной температуры. Технический результат достигается тем, что устройство для контроля отклонения от нормальной температуры контактных токоведущих частей, содержащее расположенный на подложке датчик температуры с герметичными полостями и, по крайней мере, с одним элементом, выполненным из материала, обладающим способностью перехода из твердой в жидкую фазу при недопустимом превышении температуры, согласно изобретению дополнительно содержит установленный с другой стороны подложки термощуп, а датчик температуры выполнен в виде контейнера, при этом герметичные полости датчика температуры образованы перегородкой, выполненной из материала, обладающего способностью перехода из твердой в жидкую фазу при недопустимом превышении температуры, и заполнены веществами, продуктом взаимодействия которых является газ с резким запахом. 2 с.п. ф-лы, 4 ил. 
Изобретение относится к области электротехники, в частности к средствам защиты от недопустимых превышений температуры коммутационной аппаратуры и контактных резьбовых соединений токоведущих частей в схемах электроснабжения, непосредственно реагирующим на недопустимое превышение температуры. Преимущественно может использоваться в системах электроснабжения жилых, административных и производственных объектов напряжением 0,4 кВ.
Известен способ защиты от перегрева электронагревательного прибора путем последовательного соединения с нагревательным элементом необратимого нормально замкнутого предохранителя (патент RU №2041573, МПК 7 Н 02 Н 5/04).
Известный способ не позволяет решить задачу защиты коммутационной аппаратуры, потому что нагретый зажим коммутационного аппарата не сможет оказывать на предохранитель теплового воздействия, достаточного для его срабатывания.
За прототип принят наиболее близкий по решаемой задаче, достигаемому результату и технической сущности широко известный способ защиты коммутационной аппаратуры, используемый при эксплуатации потребительских сетей, при котором регулярно проводят затяжку любых соединений и, в частности, затяжку контактного соединения зажима коммутационных аппаратов и силового провода путем ввинчивания винта зажима коммутационного аппарата (Справочник по монтажу электроустановок промышленных предприятий (в двух книгах) под редакцией В.В.Белоцерковца, Б.А.Делибаша. Издание второе, переработанное и дополненное. Книга первая, М.: Энергия, 1976, с.161, гл.4-24). Затяжка зажимов – признак аналога, совпадающий с существенным признаком заявляемого способа. Такая операция в способе-прототипе на некоторый период времени после ее проведения позволяет обеспечить прочное, надежное соединение между силовым проводом сети и зажимом коммутационного аппарата.
В случае ослабления соединения силового провода с зажимом коммутационного аппарата с течением времени происходит возрастание сопротивления, нагрев зажима коммутационного аппарата и местный нагрев силового провода, той части провода, которая находится в контакте с зажимом коммутационного аппарата, что может вызвать возгорание.
Известный способ не гарантирует предотвращение возгораний контактного соединения коммутационной аппаратуры из-за отсутствия информации о температуре подверженных возгоранию зон в интервалах между профилактическим обслуживанием аппаратуры проведением затяжек контактов.
Известно защитное устройство коммутационной аппаратуры, например устройство защитного отключения токов утечки для автоматического выключателя (Номенклатурный каталог 1-2003 Дивногорского завода низковольтной аппаратуры. Автоматические выключатели серии ВА 61-29. Техническое описание, с.7).
Защитное устройство обеспечивает защиту от возникновения пожаров при нарушении изоляции сетей промышленных и бытовых зданий и не предотвращает от перегрева контактов.
В качестве прототипа заявляемого устройства принята более близкая функционально схема защиты полупроводникового элемента от превышений температуры определенной величины, включающая токоведущие части схемы, полупроводниковый элемент, герметичные полости, заполненные материалом, обладающим объемным расширением и переходящим из твердой в жидкую фазу при повышении температуры, например парафином (Патент JP №32479997132, МПК 7 Н 02 Н 5 /04, Н 01 Н 37/76, опубликованный в сборнике “Изобретения стран мира”, выпуск 107, №2/2003).
Признаками прототипа, совпадающими с существенными признаками заявляемого устройства, являются: расположенный на подложке датчик температуры с герметичными полостями и с одним элементом, выполненным из материала, обладающего способностью перехода из твердой в жидкую фазу при недопустимом превышении температуры.
Недостатком прототипа-устройства является неспособность предотвращения возгораний коммутационной аппаратуры из-за того, что материал, которым заполнены герметичные полости, не создает необходимых для разрыва силового провода усилий.
Изобретение направлено на предотвращение пожаров от возгорания электропроводки систем электроснабжения жилых, административных и производственных объектов напряжением 0,4 кВ, распространяемых от зажимов коммутационной аппаратуры.
Технический результат изобретения заключается в повышении возможности предотвращения возгорания контактного соединения за счет повышения оперативности и достоверности информации о тепловом состоянии наиболее подверженных возгоранию зон. В случаях, когда в здании находится шумное производство применение запахового поля при решении задачи защиты коммутационной аппаратуры является наиболее целесообразным, чем использование, например, звукового сигнала.
Технический результат достигается тем, что в способе защиты коммутационной аппаратуры и контактных резьбовых соединений токоведущих частей, включающем поддержание температуры зажимов коммутационной аппаратуры в допустимых пределах путем затяжки зажимов, согласно изобретению осуществляют контроль отклонения от нормальной температуры зажимов коммутационной аппаратуры посредством установки в зажим коммутационной аппаратуры устройства для контроля отклонения от нормальной температуры контактных токоведущих частей, а затяжку зажима коммутационной аппаратуры проводят при появлении запахового поля, по которому судят о недопустимом отклонении температуры зажима от нормальной температуры.
Технический результат достигается тем, что устройство для контроля отклонения от нормальной температуры контактных токоведущих частей, содержащее расположенный на подложке датчик температуры с герметичными полостями и, по крайней мере, с одним элементом, выполненным из материала, обладающего способностью перехода из твердой в жидкую фазу при недопустимом превышении температуры, согласно изобретению дополнительно содержит установленный с другой стороны подложки термощуп, а датчик температуры выполнен в виде контейнера, при этом герметичные полости датчика температуры образованы перегородкой, выполненной из материала, обладающего способностью перехода из твердой в жидкую фазу при недопустимом превышении температуры, и заполнены веществами, продуктом взаимодействия которых является газ с резким запахом.
Отличием заявляемого способа от способа-прототипа является осуществление контроля отклонения от нормальной температуры зажимов коммутационной аппаратуры посредством установки в зажим коммутационной аппаратуры устройства для контроля отклонения от нормальной температуры контактных токоведущих частей, проведение затяжки зажимом коммутационной аппаратуры при появлении запахового поля, по которому судят о недопустимом отклонении температуры зажима от нормальной температуры.
Это доказывает соответствие заявляемого способа критерию “новизна”.
Контроль теплового состояния подверженных нагреву зон с помощью инфракрасных камер предполагает периодический контроль и не дает оперативной информации о тепловом состоянии контролируемых зон в момент наступления перегрева, способного вызвать возгорание оборудования.
В заявляемом способе проведение контроля отклонения от нормальной температуры зажимов коммутационной аппаратуры посредством установки в ее зажимы устройства для контроля отклонения от нормальной температуры контактных токоведущих частей позволяет по появлению запахового поля получить не только достоверную, но и оперативную информацию о температуре наиболее подверженных возгоранию зон и в результате этого позволяет обеспечить возможность предотвращения возгорания контактного соединения и распространения возгорания.
Таким образом, известное решение не обеспечивает достижения технического результата заявляемого изобретения. Кроме этого, из уровня техники не выявлены решения, в которых бы была известна установка устройства для контроля отклонения от нормальной температуры контактных токоведущих частей, находящихся под напряжением, что доказывает соответствие способа изобретательскому уровню.
Отличием заявляемого устройства от устройства-прототипа, подтверждающим его новизну, является то, что оно дополнительно содержит датчик температуры, который снабжен контейнером и термощупом, контейнер датчика температуры установлен на подложке с одной ее стороны и разделен материалом, обладающим способностью перехода из твердой в жидкую фазу при недопустимом превышении температуры, термощуп установлен в подложке с другой стороны, герметичные полости контейнера заполнены веществами, в результате взаимодействия которых получается газ с резким запахом.
В известном решении термощуп, с целью сохранения микросхемы от теплового повреждения, находится в контакте с корпусом микросхемы, не являющейся токоведущей частью.
Заявляемое устройство обеспечивает получение оперативной и достоверной информации и возможность предотвращения возгорания благодаря установке термощупа в контактную токоведущую часть коммутационного аппарата.
В известном устройстве термощуп электрически связан с термодатчиком, а в заявляемом устройстве термощуп и термодатчик связаны механически. Причем в заявляемом устройстве термощуп служит еще и основанием для установки термодатчика, благодаря чему, достигается максимальное приближение термодатчика к контролируемой части защищаемого объекта. Это позволяет обеспечить получение более оперативной и достоверной информации о температурном состоянии самой уязвимой, подверженной возгораниям части объекта защиты. Отсутствие электрической связи термодатчика с термощупом исключает ложное срабатывание, что повышает достоверность информации. Только в такой совокупности взаимосвязей достигается технический результат – оперативность срабатывания. Таким образом, сопоставительный анализ показывает, что технический результат заявляемого устройства достигается неизвестной из уровня техники совокупностью отличительных признаков, что подтверждает соответствие критерию изобретательский уровень.
Способ осуществляют следующим образом.
При монтаже или в процессе эксплуатации коммутационной аппаратуры устанавливают в зажимы устройство для контроля отклонения от нормальной температуры контактных токоведущих частей, а именно термощуп, и производят затяжку. В процессе эксплуатации коммутационной аппаратуры при появлении запахового поля, появляющегося вследствие недопустимого отклонения от нормальной температуры зажима, производят затяжку данного зажима, в котором установлено сработавшее устройство. Затяжку возможно производить как при отключенном, так и при включенном коммутационном аппарате. При затяжке зажима, включенного коммутационного аппарата применяют отвертку с изолированной ручкой.
Сущность изобретения поясняется чертежами:
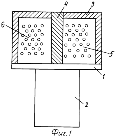
– на фиг.1 представлено схематично заявляемое устройство при нормальной температуре зажимов коммутационной аппаратуры или контактных резьбовых соединений токоведущих частей;
– на фиг.2 представлено устройство при недопустимом отклонении от нормальной температуры зажима коммутационной аппаратуры или контактных токоведущих частей;
– на фиг.3 представлен схематично вид сбоку коммутационного аппарата в момент установки в его зажим заявляемого устройства;
– на фиг.4 – то же в аксонометрии.
Устройство для контроля отклонения от нормальной температуры контактных токоведущих частей содержит расположенный на подложке 1, выполненной из теплопроводящего материала, например меди, с одной ее стороны датчик температуры и с другой стороны подложки 1 термощуп 2, выполненный, например, за одно целое с подложкой 1. Датчик температуры представляет собой контейнер 3, выполненный из диэлектрического материала, например эбонита. Герметичные полости датчика температуры образованы перегородкой 4, выполненной из материала, обладающего способностью перехода из твердой в жидкую фазу при недопустимом превышении температуры, то есть из материала с температурой плавления, позволяющей перегородке 4 находиться в твердом состоянии и обеспечивать надежную герметизацию полостей контейнера 3 между собой и атмосферой при нормальной температуре, соответствующей нормальным параметрам коммутационного аппарата 8. Перегородка 4 может быть выполнена, например, из полиэтилена. Герметичные полости датчика температуры заполнены веществами 5 и 6, например негашеной известью СаО и хлоридом аммония NH4Cl, продуктом реакции которых является газ с резким запахом, например аммиак, способный создавать при незначительных концентрациях запаховое поле в пределах предельно допустимой концентрации.
Заявляемое устройство в таком выполнении будет иметь высокую надежность и незначительные габаритные размеры.
Устройство работает следующим образом. В зажим 7 коммутационного аппарата 8 вместе с силовым проводом 9 зажимается термощуп 2 заявляемого устройства. Вследствие ослабления контакта в зажиме 7 коммутационного аппарата 8, либо вследствие других факторов, образуется местный нагрев зажима 7 коммутационного аппарата 8, который может вызвать оплавление или возгорание изоляции силового провода 9 и, как следствие, междуфазное короткое замыкание. При недопустимом нагреве зажима 7 коммутационного аппарата 8 нагревается термощуп 2 заявляемого устройства, нагрев термощупа 2 до температуры плавления материала перегородки 4 вызовет плавление перегородки 4, вследствие чего происходит разгерметизация частей контейнера 3 с веществами 5 и 6 между собой и атмосферой. Продукты реакции веществ 5 и 6 через отверстие 10 выходят в атмосферу, создавая запаховое поле, сигнализирующее о недопустимом отклонении температуры контактных токоведущих частей.
Формула изобретения
1. Способ защиты коммутационной аппаратуры и контактных резьбовых соединений токоведущих частей, включающий поддержание температуры зажимов коммутационной аппаратуры в допустимых пределах путем затяжки зажимов, отличающийся тем, что осуществляют контроль отклонения от нормальной температуры зажимов коммутационной аппаратуры посредством установки в зажим коммутационной аппаратуры устройства для контроля отклонения от нормальной температуры контактных токоведущих частей, содержащего датчик температуры с герметичными полостями, которые заполнены веществами, продуктом взаимодействия которых является газ с резким запахом, а затяжку зажима коммутационной аппаратуры проводят при появлении резкого запаха, по которому судят о недопустимом отклонении температуры зажима от нормальной температуры.
2. Устройство для контроля отклонения от нормальной температуры контактных токоведущих частей, содержащее расположенный на подложке датчик температуры с герметичными полостями и, по крайней мере, с одним элементом, выполненным из материала, обладающим способностью перехода из твердой в жидкую фазу при недопустимом превышении температуры, отличающееся тем, что оно дополнительно содержит установленный с другой стороны подложки термощуп, а датчик температуры выполнен в виде контейнера, при этом герметичные полости датчика температуры образованы перегородкой, выполненной из материала, обладающего способностью перехода из твердой в жидкую фазу при недопустимом превышении температуры, и заполнены веществами, продуктом взаимодействия которых является газ с резким запахом.
РИСУНКИ
|
|