|
(21), (22) Заявка: 2004121761/06, 15.07.2004
(24) Дата начала отсчета срока действия патента:
15.07.2004
(45) Опубликовано: 27.01.2006
(56) Список документов, цитированных в отчете о поиске:
SU 1563476 A1, 07.05.1991. SU 1739782 A1, 15.01.1994. SU 601763 A, 05.04.1978. SU 429468 A1, 25.05.1974. RU 2091876 C1, 27.09.1997. JP 62079803 A, 13.04.1987. EP 0216655 A1, 01.04.1987.
Адрес для переписки:
433510, Ульяновская обл., г. Димитровград, ФГУП “ГНЦ РФ НИИАР”
|
(72) Автор(ы):
Штында Юрий Евгеньевич (RU), Привалов Юрий Владимирович (RU), Потапов Олег Александрович (RU), Горбань Виктор Иванович (RU)
(73) Патентообладатель(и):
Федеральное государственное унитарное предприятие “Государственный научный центр Российской Федерации – Научно-исследовательский институт атомных реакторов” (RU)
|
(54) СПОСОБ РЕГЕНЕРАЦИИ ХОЛОДНЫХ ЛОВУШЕК ПРИМЕСЕЙ НАТРИЕВОГО ТЕПЛОНОСИТЕЛЯ
(57) Реферат:
Изобретение относится к атомной энергетике, преимущественно к ядерным энергетическим установкам, и используется для удаления накопленных примесей и восстановления массообменных характеристик холодных ловушек примесей натриевых контуров. Способ регенерации холодных ловушек примесей натриевого теплоносителя включает разогрев ловушки до температуры в интервале 360°С t<397°С, циркуляцию теплоносителя по замкнутому контуру через холодную ловушку примесей, вакуумируемую регенерационную камеру с развитой поверхностью натрия, и охлаждаемый отстойник оксидов для удаления растворенного в виде примесных соединений водорода и осаждения образующегося избытка оксида натрия на поверхностях регенерационной камеры и отстойника оксидов. Изобретение позволяет увеличить надежность, эффективность и безопасность процесса регенерации холодных ловушек. 5 з.п. ф-лы, 1 ил. 
Изобретение относится к атомной энергетике, преимущественно к ядерным энергетическим установкам (ЯЭУ) с реакторами на быстрых нейтронах (БН), и может быть использовано с целью удаления накопленных примесей и восстановления массообменных характеристик холодных ловушек примесей натриевых контуров.
Примеси водорода и кислорода, накапливаемые в холодных ловушках (ХЛ), например, 2-го контура АЭС с БН-реакторами, обязаны непрерывному поступлению коррозионного водорода из 3-го контура за счет диффузии через теплопередающие поверхности, течи воды в натрий в аварийных случаях нарушения герметичности в парогенераторах и ряду других факторов. После накопления некоторого количества примесей возрастает гидравлическое сопротивление ХЛ и падает эффективность очистки. Поэтому необходимо периодически удалять накопленные примеси из ХЛ для восстановления ее работоспособности либо заменять ХЛ, которые являются сложным и дорогим оборудованием.
В изобретении /АС СССР №473221. Способ регенерации ХЛ примесей жидкометаллических теплоносителей. “БИ” №21,1975. Авт. Л.Г.Волчков и др./ и в патенте /J.M.Mckee. Method and apparatus for regeneration cold trap with metal system. Patent USA №3941586, 1975/ были предложены методы регенерации ХЛ, накопивших продукты взаимодействия натрия с водой или Na2O, путем перевода твердых продуктов в относительно легкоплавкий NaOH с одновременным растворением в последнем других примесей и дренированием расплава из ловушки. Перевод твердого осадка в жидкое состояние осуществляют разогревом ХЛ до 450-550°С и выдержкой при этих температурах, добавляя или удаляя водород в газообразном виде или гидрирующие осадок вещества – NaOH или NaH.
Недостатками указанных способов являются высокая температура и образование жидкой гидрооксидной фазы, которая при контакте с поверхностью корпуса ловушки вызывает межкристаллитную щелочную коррозию. Испытание на коррозию сталей 10Х18Н9 и 10Х18Н10Т, из которых изготавливаются детали ХЛ, в NaOH при температуре 500°С показали, что скорость общей коррозии достигает 0,5-0,75 мкм/ч, поэтому регенерацию этими методами проводят по регламенту и ограничивают продолжительность 150 часами /Л.Г.Волчков и др. Разработка метода регенерации ХЛ примесей жидкометаллических теплоносителей. АЭ, 1978, т.45, вып.2, с.104-107/. Необходимо также отметить склонность применяемых в ХЛ аустенитных сталей к коррозионному растрескиванию под напряжением в контакте с NaOH. Это явление сильно зависит от температуры и не проявляется при достижении температуры ниже границы образования жидкого раствора на основе гидрооксида /A.Ardellier at all. Stress corrosion of austenitic steels in a sodium – soda medium. In: Proc. of Third Int. Conf. on liquid metal eng. and techn., BNES, London, 1981, v.2, р.483-487/.
Наиболее близким аналогом, совпадающим с заявляемым изобретением по наибольшему количеству существенных признаков, является способ по патенту РФ №1563476: Способ регенерации ХЛ примесей жидкометаллических теплоносителей, 1988, авт. Ю.В.Привалов, Ю.Е.Штында, П.П.Бочарин, опубл. 07.05.91, “БИ” №17, 1991, заключающийся в том, что ХЛ отключают от контура, разогревают до температуры около 410°С, создают циркуляцию металла по замкнутому контуру через ХЛ, где он насыщается примесями кислорода и водорода, а затем направляют его в регенерационную камеру при гарантированном подогреве в процессе транспортировки. В камере с развитой поверхностью натрия и ее заданным отношением к объемному расходу натрия  15000 м-1 с производят выдержку натрия для удаления водорода вакуумированием. Десорбция водорода при вакуумировании приводит за счет смещения химического равновесия между кислород- и водородсодержащими примесями в натрии (гидрооксид, гидрид, оксид) к пересыщению раствора оксидом и его осаждению на поверхностях регенерационной камеры. После камеры при поддержании по ходу натрия положительного градиента температуры натрий возвращают в ХЛ. В процессе регенерации контролируют расход удаляемого водорода. Признаком окончания регенерации служит снижение до нуля измеряемого расхода десорбируемого водорода.
Данный способ позволяет многократно регенерировать ХЛ, одновременно удаляя примеси водорода и кислорода из нее при минимальном коррозионном повреждении материала ловушки.
Недостатком этого способа является то, что происходит частичное осаждение оксида в линии от регенерационной камеры до ХЛ, несмотря на заявленный положительный градиент температуры в этой линии по ходу натрия. Это явление требует контроля гидравлического сопротивления линии и периодической промывки ее относительно чистым по оксиду натрием что в большой степени усложняет процесс.
Второй недостаток заключается в том, что насыщенный оксидом натрий, входящий в ХЛ, из-за более высокой температуры по сравнению с выходящим натрием частично блокирует поверхность осадка оксидом, что приводит к замедлению скорости удаления примесей из ловушки.
Третий недостаток состоит в том, что в случае использования для транспортирования натрия электромагнитного насоса происходит неизбежное охлаждении потока натрия в нем на величину до 10-15°С из-за требуемого охлаждения токовых обмоток, что при поступлении в насос практически насыщенного по оксиду натрия вызывает осаждение осадка оксида в каналах насоса и выход его из строя.
Кроме того, указанная максимальная температура проведения процесса около 410°С справедлива для натриевого теплоносителя при условии насыщения раствора оксидом, так как это есть температура плавления твердого раствора гидрида и оксида в гидрооксиде, насыщенном оксидом. Если тот же раствор будет насыщен гидридом, что наблюдается в ХЛ 2-го контура, температура его плавления будет 397°С /Ю.В.Привалов и др. О выборе способа регенерации холодных ловушек и способа очистки натрия второго контура быстрого реактора с натриевым теплоносителем после взаимодействия натрий-вода. Сборник тезисов докладов межотраслевой конференции “Теплофизика 91”, Обнинск, 1993, с.172-175/. В этом случае превышение температуры 397°С приведет к коррозионноопасным процессам за счет образования жидкой гидрооксидной фазы. Поэтому максимальную температуру процесса необходимо снижать.
Два первых недостатка обусловлены тем, что, во-первых, невозможно получить полную кристаллизацию оксида в камере при реально относительно небольшом времени пребывания раствора в ней, а, во вторых, тем, что по ходу натрия от выхода из ХЛ до входа в нее постоянно поддерживается положительный градиент температуры, приводящий к превышению температуры входа над температурой выхода.
Приведенная критика основана на опытной проверке установки регенерации, в которой реализованы признаки прототипа.
Целью изобретения является увеличение надежности, эффективности и безопасности процесса регенерации ХЛ за счет исключения образования осадка оксида в транспортных линиях, в электромагнитном насосе и в самой ХЛ (при осаждении дополнительного осадка оксида из возвращаемого натрия) и за счет гарантированного исключения образования коррозионноопасной для материала ХЛ жидкой гидрооксидной фазы при любых составах кислород- и водородсодержащего осадка в ней при многократном увеличении эффективной емкости массообменных поверхностей регенерационной камеры по осадку оксида, как и всей установки в целом, за счет перекристаллизации оксида в дополнительный отстойник оксидов.
Сущность изобретения заключается в следующем.
Способ регенерации холодных ловушек примесей натриевого теплоносителя включает разогрев холодной ловушки и удаление примесей кислорода и водорода, находящихся в виде гидрида, оксида и гидрооксида натрия, в циркулирующий по замкнутому контуру установки регенерации натрий. При этом разогревают ХЛ для образования в натрии ХЛ примесей гидрида, оксида и гидрооксида натрия из осадка ХЛ. Транспортируют натрий насосом с положительным градиентом температуры от холодной ловушки к регенерационной камере, выдерживают натрий в регенерационной камере для удаления водорода и кислорода из их соединений с натрием соответственно вакуумированием регенерационной камеры и осаждением оксида на развитых массообменных поверхностях регенерационной камеры, контролируют расход удаляемого водорода.
После регенерационной камеры натрий направляют в отстойник оксидов, непосредственно присоединенный к ней, температуру в котором поддерживают ниже температуры на выходе из регенерационной камеры, а возврат натрия в холодную ловушку осуществляют по транспортным линиям при положительном градиенте температуры от отстойника оксидов до холодной ловушки
Температуру натрия в отстойнике оксидов поддерживают на 10-15°С ниже температуры на выходе из регенерационной камеры.
В транспортных линиях от холодной ловушки к регенерационной камере и от отстойника оксидов к холодной ловушке обеспечивают подогрев натрия на величину не более 5°С в каждой линии.
При транспортировании натрия электромагнитным насосом регулируют его работу дополнительной циркуляцией натрия через байпас, обеспечивая величину тепловыделения в электромагнитном насосе, исключающую снижение температуры потока натрия в нем при наличии внешнего охлаждения токовых обмоток.
После разогрева ХЛ температуру в ней поддерживают постоянной в интервале 360°C t<397°C.
При заполнении массообменных поверхностей регенерационной камеры осадком оксида дополнительно организуют циркуляцию натрия через нагреваемую регенерационную камеру при температуре в ней до 410°С и охлаждаемый отстойник оксидов при разности температур между ними до 20-30°С для перекристаллизации оксида в отстойник оксидов.
Разогрев холодной ловушки до температуры не более 397°С обеспечивает повышение концентрации растворенных в натрии примесей до значений не более 0,004 мольных долей, т.е. до значений, обеспечивающих эффективность регенерации и, в то же время, не представляющих опасности коррозионного повреждения материала корпуса холодной ловушки. Повышение температуры выше 397°С может привести к образованию в объеме холодной ловушки коррозионно-активной жидкой гидроксидной фазы (раствора гидрида и оксида в гидрооксиде). При температуре ниже 360°С скорость удаления примесей из ХЛ уменьшается до величин, при которых регенерация становится экономически невыгодной из-за увеличения продолжительности процесса.
Натрий выдерживают в регенерационной камере, обеспечивая условия для удаления до нескольких процентов водорода из потока натрия и протекания химических реакций между компонентами раствора. В объеме натрия и у поверхности протекают следующие сдвинутые вправо реакции:


В результате реакций (1), (2) концентрации гидрида и гидрооксида в натрии уменьшаются, а по оксиду натрий становится пересыщенным.
Водород из натрия удаляют вакуумированием регенерационной камеры, при этом конденсируют пары натрия из удаляемого водорода и возвращают сконденсировавшийся натрий в контур. В процессе регенерации измеряют расход удаляемого водорода и заканчивают процесс при многократном снижении выделения водорода из натрия.
Кислород из натрия удаляют осаждением оксида на массообменных поверхностях регенерационной камеры и в зоне отстоя камеры. После камеры для полного удаления избытка оксида натрий направляют в отстойник оксидов, в котором поддерживается температура на 10-15°С меньше, чем в камере, а затем при подогреве натрия не более 5°С натрий транспортируется насосом в ХЛ. Температура отстойника оксидов поддерживается на уровне, обеспечивающем кристаллизацию оксида и исключающем кристаллизацию гидрида. В то же время снижение этой температуры должно скомпенсировать подогрев натрия в транспортных линиях. Совокупность массообменных поверхностей в камере, зоны отстоя в самой камере и отстойника оксидов обеспечивают приход раствора к химическому равновесию и осаждение оксида из пересыщенного раствора. Суммарный градиент температуры по контуру, отрицательный или близкий нулю, гарантирует от осаждения дополнительного оксида в ХЛ из возвращаемого в ловушку натрия. Кроме того, наличие отстойника оксидов соответствующего объема позволяет при переполнении массообменных поверхностей камеры оксидом провести перекристаллизацию оксида в отстойник оксидов, организуя циркуляцию при минимальной температуре контура в отстойнике оксидов и отключении от контура ХЛ.
Для того чтобы избежать снижения температуры натрия в электромагнитном насосе, организуют режим работы электромагнитного насоса с повышенным тепловыделением за счет эксплуатации электромагнитного насоса в неоптимальном режиме, которое компенсирует воздействие охлаждения токовых обмоток на температуру натрия. С этой целью с помощью регулирующих вентилей на байпасе и между электромагнитным насосом и ХЛ задают необходимые расходы по контуру и байпасу при условии постоянства температуры натрия на входе и выходе электромагнитного насоса.
Контроль расхода водорода позволяет судить об интенсивности процессов массопереноса и контролировать их изменение при изменении таких параметров как расход натрия, глубина вакуума, температура и др.
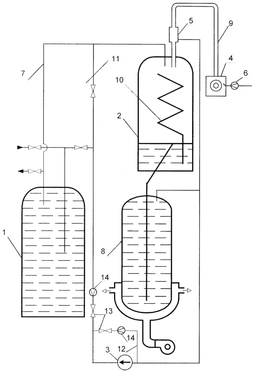
Осуществление способа регенерации ХЛ примесей натрия поясняется с помощью установки регенерации, представленной на чертеже. Установка содержит: холодную ловушку 1; регенерационную камеру 2; электромагнитный насос 3; вакуумный насос 4; конденсатор паров натрия 5; газовый расходомер 6; транспортные линии 7; отстойник оксидов 8, охлаждаемый воздухом; вакуумную линию 9; массообменные поверхности 10 в виде горизонтальных тарелок, по которым натрий последовательно переливается сверху вниз; байпасную линию холодной ловушки 11; байпасную линию электромагнитного насоса 12; регулирующие вентили 13; расходомеры натрия 14; электронагреватели, датчики и приборы контроля и электрооборудование.
Выход ХЛ 1 связан с входом регенерационной камеры 2 с помощью протяженной транспортной линии 7. Отстойник оксидов 8 монтируется практически вплотную к камере и соединяется с ней трубой с газовым теплоизолирующим зазором, проходящей в нижнюю часть отстойника оксидов. В нижней высотной отметке линии, соединяющей выход отстойника оксидов 8 с входом в ХЛ, размещается электромагнитный насос 3.
Газовый объем регенерационной камеры 2 через конденсатор паров 5 соединен вакуумной линией 9 с вакуумным насосом 4, на выходе которого установлен газовый расходомер 6.
С целью регенерации шести ХЛ объемом каждая 8 м3 второго контура ЯЭУ БН-600 с содержанием в каждой от 0,2 до 1 м3 твердого осадка с большим избытком гидрида выбраны следующие элементы: регенерационная камера объемом 1,5 м3 со свободной поверхностью натрия 12,5 м2 и объемом натрия в зоне отстоя 0,5 м; электромагнитный насос производительностью 20 м3/ч при напоре 0,8 МПа, расположенный ниже регенерационной камеры по высоте на 12 м; форвакуумный ротационный насос производительностью 1500 нл/ч при остаточном давлении 10-1 мм рт.ст.; газовый расходомер с пределом 1000 нл/ч; конденсатор паров натрия с эффективной поверхностью конденсации 1,25 м2; отстойник оксидов натрия объемом 2 м3.
Регенерацию ХЛ осуществляют следующим образом.
ХЛ отключают от контура очистки, разогревают ее, регенерационную камеру, отстойник оксидов и транспортные линии до температуры в интервале 370-390°С. Электромагнитным насосом организуют циркуляцию натрия по контуру с расходом в диапазоне 1-1,5 м3/ч и байпасу электромагнитного насоса около 10 м3/ч, устанавливая с помощью электронагревателей, охладителя отстойника оксидов и расхода через байпас электромагнитного насоса температуры элементов контура в соответствие с указанными выше величинами подогревов в каждой из транспортных линий (не более чем по 5°С) и величиной охлаждения в отстойнике оксидов (на 10-15°С). Вакуумным насосом создают давление в газовом объеме регенерационной камеры (1-10) 10-1 мм рт.ст., откачивая водород. Пары натрия при этом конденсируют в конденсаторе, находящемся при 110-140°С, и конденсат возвращают в контур регенерации.
Водород в пределах 3-5% от его количества в потоке натрия десорбируют со свободной поверхности натрия и удаляют вакуумным насосом, а образующийся избыток оксида сверх равновесного состояния осаждают на массообменных поверхностях и поверхностях в зонах отстоя натрия. При этом на выходе из регенерационной камеры температура кристаллизации оксида близка к температуре регенерационной камеры, а температура кристаллизации гидрида примерно на 20-25°С ниже, т.е. в данных условиях в отстойнике оксидов осаждается оксид, но не осаждается гидрид.
Расход водорода измеряют с помощью газового расходомера на выходе вакуумного насоса и при многократном снижении выделения водорода охлаждают ХЛ и подключают ее к контуру очистки. Время регенерации ХЛ составит 100-300 часов, что зависит от таких факторов как объем и состав осадка, расход натрия и др.
При переполнении массообменных поверхностей регенерационной камеры их восстановление осуществляют перекристаллизацией осадка оксида с этих поверхностей в отстойник оксидов при организации режима циркуляции с температурой 400-410°С в регенерационной камере и с температурой на 20-30°С ниже в отстойнике оксидов, применяя байпасирование ХЛ и заполнение регенерационной камеры аргоном. При исчерпании емкости отстойника оксидов по накопленным примесям его демонтируют и после дренажа свободного натрия отмывают по имеющимся технологиям от оксида и захватного натрия, после чего используют вновь.
В случае образовании осадка примесей во втором контуре реактора в результате аварийно больших течей воды в натрий в парогенераторе натрий-вода заявляемый способ для удаления этого осадка может использоваться напрямую, т.е. без очистки штатными холодными ловушками.
Формула изобретения
1. Способ регенерации холодных ловушек примесей натриевого теплоносителя, включающий разогрев холодной ловушки и удаление примесей кислорода и водорода, находящихся в виде гидрида, оксида и гидрооксида натрия, в циркулирующий по замкнутому контуру установки регенерации натрий, транспортирование натрия с положительным градиентом температуры от холодной ловушки к регенерационной камере, выдержку натрия для удаления водорода и кислорода из их соединений с натрием соответственно вакуумированием регенерационной камеры и осаждением оксида на развитых массообменных поверхностях регенерационной камеры, возврат натрия в холодную ловушку, контроль расхода удаляемого водорода, отличающийся тем, что после регенерационной камеры натрий направляют в отстойник оксидов, непосредственно присоединенный к ней, температуру в котором поддерживают ниже температуры на выходе из регенерационной камеры, а возврат натрия в холодную ловушку осуществляют по транспортным линиям при положительном градиенте температуры от отстойника оксидов до холодной ловушки.
2. Способ по п.1, отличающийся тем, что температуру натрия в отстойнике оксидов поддерживают на 10-15°С ниже температуры на выходе из регенерационной камеры.
3. Способ по п.1, отличающийся тем, что в транспортных линиях от холодной ловушки к регенерационной камере и от отстойника оксидов к холодной ловушке обеспечивают подогрев натрия на величину не более 5°С в каждой линии.
4. Способ по п.1, отличающийся тем, что транспортирование натрия осуществляют с помощью электромагнитного насоса, при этом регулируют его работу дополнительной циркуляцией натрия через байпас, обеспечивая величину тепловыделения в насосе, исключающую снижение температуры потока натрия при наличии внешнего охлаждения токовых обмоток.
5. Способ по п.1, отличающийся тем, что после разогрева холодной ловушки температуру в ней поддерживают постоянной в интервале 360°С t<397°С.
6. Способ по п.1, отличающийся тем, что при заполнении массообменных поверхностей регенерационной камеры осадком оксида дополнительно организуют циркуляцию натрия через нагреваемую регенерационную камеру при температуре в ней до 410°С и охлаждаемый отстойник оксидов при разности температур между ними до 20-30°С для перекристаллизации оксида в отстойник оксидов.
РИСУНКИ
Изменения:
Зарегистрирован переход исключительного права без заключения договора Дата и номер государственной регистрации перехода исключительного права: 27.11.2009/РП0000337 Патентообладатель: Открытое акционерное общество «Государственный научный центр Научно-исследовательский институт атомных реакторов» Прежний патентообладатель: Федеральное государственное унитарное предприятие «Государственный научный центр Российской Федерации – Научно-исследовательский институт атомных реакторов»
Номер и год публикации бюллетеня: 3-2006
Извещение опубликовано: 10.01.2010 БИ: 01/2010
|