|
(21), (22) Заявка: 2004116019/09, 25.05.2004
(24) Дата начала отсчета срока действия патента:
25.05.2004
(45) Опубликовано: 27.01.2006
(56) Список документов, цитированных в отчете о поиске:
RU 2127448 C1, 20.04.1999. SU 1683021 A1, 07.10.1991. US 5454078 A, 26.09.1995. US 5317693 A, 31.05.1995.
Адрес для переписки:
440000, г.Пенза, ул. Байдукова, 1а, ОАО “НПП “Рубин”, нач. пат. отд. А.Д. Доля
|
(72) Автор(ы):
Соков Михаил Васильевич (RU), Кочегаров Павел Юрьевич (RU), Шмырёв Виталий Николаевич (RU), Калинина Ольга Ивановна (RU), Зябирова Лилия Иматовна (RU), Сизов Александр Дмитриевич (RU), Оськин Валерий Анатольевич (RU)
(73) Патентообладатель(и):
Открытое акционерное общество “Научно-производственное предприятие “Рубин” (ОАО “НПП “Рубин”) (RU)
|
(54) МУЛЬТИПЛЕКСОР ТЕЛЕКОММУНИКАЦИОННЫЙ МНОГОФУНКЦИОНАЛЬНЫЙ
(57) Реферат:
Изобретение относится к области вычислительной техники, а именно к устройствам ввода-вывода в электронную вычислительную машину информации, передаваемой по каналам связи систем передачи данных, и предназначено для работы в качестве “интеллектуального” многовходового телекоммуникационного порта персональной ЭВМ, используемой в режиме узловой транспортной станции в сетях передачи данных специального назначения. Техническим результатом является расширение функциональных возможностей, позволяющих увеличить количество и типы подключаемых каналов ввода-вывода, возможность сопряжения с несколькими типами специальной аппаратуры. Указанный результат достигается за счет того, что мультиплексор содержит системный блок, в котором размещены модули четырехканальный телеграфный однополярный и двухполярный, модуль четырехканальный стандартного стыка С2, модули биимпульсные одноканальный и двухканальный, модуль одноканальный телефонный, m модулей адаптера четырехканального асинхронного, плата группового управления, а также блок регулирования и контроля, плату сопряжения. 3 з.п. ф-лы, 4 ил., 1 табл. 
Область техники
Данное техническое решение относится к области вычислительной техники, а именно к устройствам ввода-вывода в электронную вычислительную машину информации, передаваемой по каналам связи систем передачи данных.
Уровень техники
Аналогом данного технического решения является известное устройство Групповой комплекс повышения достоверности ГКПД-16М ТЮ1.700.025, осуществляющий преобразование информации при ее передаче между электронной вычислительной машиной Единой системы (ЕС) ЭВМ (через интерфейс ввода-вывода ЕС ЭВМ) и каналами связи (через многоканальное устройство преобразования сигналов телефонное ШС126 РЮ2.008.016, многоканальное устройство преобразования сигналов телеграфное ШС127 РЮ2.008.018 и устройство сопряжения со спецаппаратурой ШУ129 РЮ2.008.020).
Недостатком известного аналога является его громоздкость и невозможность сопряжения специальных каналов передачи данных с персональной ЭВМ, совместимой с IBM PC/AT.
Наиболее близким аналогом (прототипом) заявляемого устройства является также контроллер ввода-вывода БТ01-204 системного блока персональной ЭВМ (например, из состава изделия 1В563-11 ЮКСУ.466225.002), содержащий два канала RS232 (см., например, руководство по эксплуатации ЮКСУ.466225.002 РЭ, раздел 5, таблица 5.8 (интерфейс RS-232)) и выполняющий последовательный ввод-вывод информации.
Недостатками известного устройства являются ограниченные функциональные возможности, недостаточное количество каналов ввода-вывода, отсутствие сопряжения со спецаппаратурой, имеющей интерфейс С2-СПЕЦ (с расширенным набором линий и алгоритмом по сравнению с RS-232). Реализация требуемого количества входных каналов путем увеличения количества примененных контроллеров ввода-вывода ограничивается возможностями слота ПЭВМ.
Аналогичные недостатки с точки зрения сопряжения с многочисленными каналами передачи данных присущи и другим ПЭВМ, совместимым с IBM PC/AT и имеющим последовательные порты (СОМ1, COM2) с интерфейсом RS-232 (см., например, системную плату “FS10-ATX”).
Сущность изобретения
Известный мультиплексор телекоммуникационный многофункциональный построен по модульному принципу и содержит системный блок, в котором размещены модуль четырехканальный телеграфный однополярный (М4ТГО) для сопряжения мультиплексора с четырьмя выделенными или коммутируемыми четырехпроводными каналами связи и преобразования логических сигналов мультиплексора в токовые телеграфные посылки при передаче данных в каналы связи и преобразования токовых телеграфных посылок в логические сигналы, адаптированные для мультиплексора, при приеме данных из канала связи, модуль четырехканальный стыка С2 (М4С2) для электрического согласования однополюсных цепей внутреннего последовательного интерфейса (ВПИ) мультиплексора с четырьмя двухполюсными цепями стандартного стыка С2 (RS-232C), первая группа входов-выходов которого соединена с шинами С2 подключения к физической линии, модуль четырехканальный телеграфный двухполярный (М4ТГД) для сопряжения мультиплексора с четырьмя выделенными или коммутируемыми четырехпроводными каналами связи при передаче двухполярными токовыми посылками, первая группа входов-выходов которого соединена с шинами С1-ТГ подключения к телеграфным каналам связи, модуль двухканальный биимпульсный (М2БИ) для сопряжения мультиплексора с двумя выделенными четырехпроводными биимпульсными каналами связи и преобразования логических сигналов от мультиплексора в биимпульсный сигнал при передаче данных в канал связи и обратного преобразования при приеме данных из канала связи, первая группа входов-выходов которого соединена с шинами С1-И подключения к импульсным каналам, модуль одноканальный биимпульсный (М1БИ) для сопряжения мультиплексора с четырехпроводным выделенным биимпульсным каналом связи и преобразования логических сигналов, поступающих от мультиплексора по стыку RS-232C, в биимпульсный сигнал при передаче данных в канал связи и обратного преобразования при приеме данных из канала связи, первая группа входов-выходов которого соединена с шиной С1-И подключения к биимпульсному каналу, модуль одноканальный телефонный (М1ТЧ/ТФ) для сопряжения мультиплексора с арендованными и коммутируемыми телефонными каналами связи с двухпроводным и четырехпроводным окончанием и преобразования логических сигналов мультиплексора в частотно-модулированные сигналы в соответствии с рекомендациями МККТТ v 23 при передаче данных в канал связи и в преобразовании частотно-модулированных сигналов в логические сигналы мультиплексора при приеме данных из канала связи, первая группа входов-выходов которого соединена с шиной С1-ТЧ подключения к телефонному каналу связи, а также блок регулировки и контроля (БРК) для регулирования уровня сигнала в канале связи и контроля его состояния в отдельном конструктиве, первая группа входов-выходов которого соединена с первой группой входов-выходов модуля четырехканального телеграфного однополярного (М4ТГО), а вторая группа входов-выходов с шинами С1-ТГО подключения к телеграфным каналам связи.
Целью настоящего технического решения является расширение функциональных возможностей, позволяющих увеличить количество и типы подключаемых каналов ввода-вывода (каналов связи), получить возможность сопряжения с несколькими типами специальной аппаратуры, использовать персональные ЭВМ, совместимые с IBM PC.
Заявляемый мультиплексор телекоммуникационный многофункциональный дополнительно содержит конструктивно размещенные в системном блоке мультиплексора m модулей адаптера четырехканальных асинхронных (МА4А) для реализации протоколов канального уровня и выполнения процедур взаимодействия с четырьмя каналами связи в асинхронном дуплексном или полудуплексном режиме передачи данных, первые группы входов-выходов которых соединены через внутренний последовательный интерфейс (ВПИ) со второй группой входов-выходов модуля четырехканального телеграфного однополярного (М4ТГ0), или модуля четырех канального стыка С2 (М4С2), или модуля четырехканального телеграфного двухполярного (М4ТГД) или модуля двухканального биимпульсного (М2БИ), модуля одноканального биимпульсного (М1БИ) и модуля одноканального телефонного (М1ТЧ/ТФ), плату группового управления (ПГУ) для формирования групповых магистральных сигналов и специальных сигналов управления внутреннего параллельного интерфейса (ВПРИ) и реализации процедур установления соединений, преобразования и контроля данных в процессе передачи и приема информации, первая группа входов-выходов которой соединена через шину внутреннего параллельного интерфейса (ВПРИ) с группами вторых входов-выходов m модулей адаптера четырехканальных асинхронных (МА4А), плату сопряжения (ПС) для согласования сигналов ПГУ мультиплексора с системной магистралью ISA управления ПЭВМ, конструктивно размещенную в системном блоке ПЭВМ, первая группа входов-выходов которой соединена со второй группой входов-выходов платы группового управления (ПГУ), а вторая группа входов-выходов соединена с системной шиной ISA персональной электронной вычислительной машины, совместимой с IBM PC.
Плата сопряжения (ПС) содержит первый регистр (РГ), вход которого соединен с шиной ISA (A[0-19]), а выход с первым входом платы группового управления (ПГУ), первый дешифратор (ДШ), первый и второй входы которого соединены соответственно с первым (CS MEM) и вторым (CS 10) входами ПГУ, первый шинный формирователь, первая группа входов-выходов которого соединена с шиной ISA (D[0-15]), вход CS с выходом первого дешифратора ДШ, а группа выходов D[0-15] с соответствующими входами ПГУ, второй шинный формирователь ШФ, первая группа из пяти входов соединена с шиной ISA (MEM(R), MEM(W), IOR, IOW, AEN), шестой вход с выходом IRQ[10] платы группового управления, пять выходов соединены с входами MEM(R), MEM(W), IOR, IOW, AEN платы группового управления, а шестой выход с шиной ISA IRQ[10], цепь сигнала I/O CH RDY от ПГУ соединена с соответствующей цепью шины ISA.
Плата группового управления (ПГУ) содержит третий шинный формирователь, два входа которого соединены соответственно с выходами А[0-19], AEN платы сопряжения (ПС), а первый выход с шиной ВПРИ А[13-19], четвертый шинный формирователь, четыре входа которого соединены соответственно с выходами MEM R, MEM W, IOR, IOW платы сопряжения (ПС), второй дешифратор, три входа которого соединены соответственно с первым выходом третьего шинного формирователя и двумя выходами четвертого шинного формирователя, а два выхода соответственно с шиной ВПРИ PNU_ЛА[0-7], РВ_РС/РУ[0-7], третий дешифратор, два входа которого соединены соответственно с первым ША[0-19] и вторым AEN выходами третьего шинного формирователя, а три выхода соответственно с шиной ВПРИ ПДП и выходами CS MEM и CS I/O платы сопряжения ПС, первый контроллер прерывания КПР, два входа которого соединены соответственно с третьим выходом второго дешифратора и шиной ВПРИ IRQ[0-7], пятый шинный формирователь (ШФ), первый вход которого соединен с шиной ВПРИ MEM W, шестой шинный формирователь (ШФ), два входа которого соединены соответственно с выходом первого контроллера прерывания и с выходом I/O CH RDY, а два выхода соответственно с входами IRQ[10] и I/O CH RDY платы сопряжения, второй регистр прерывания РГ, три входа которого соединены соответственно со вторым выходом первого контроллера прерывания D[0-7], выходом пятого шинного формирователя D[0-15] и цепью MEM W ВПРИ, четвертым выходом четвертого шинного формирователя и MEM R ВПРИ МА4А, а выход со входом D[0-15] платы сопряжения ПС.
Модуль адаптера четырехканальный асинхронный (МА4А) содержит генератор импульсов Г, центральный процессор, первый вход которого соединен с выходом генератора импульсов, буферный регистр, два входа которого соединены соответственно с шиной А[0-19] и вторым выходом центрального процессора, восьмой шинный формирователь, два входа которого соединены соответственно с шиной D[0-13] и вторым выходом центрального процессора, а вход-выход с шиной ВПИ модуля адаптера четырехканального асинхронного МА4А, формирователь импульсов, вход и выход которого соединены соответственно со вторыми выходом центрального процессора и шиной ВПРИ STB_BR, шинный усилитель, два входа которого соединены соответственно с шиной ВПРИ А[0-16] и вторым выходом центрального процессора, а выход – с выходом буферного регистра БР, оперативное запоминающее устройство, первый вход которого соединен с выходом буферного регистра А[1-11], а выход с шиной ВПИ модуля адаптера четырехканального асинхронного, пятый дешифратор вектора прерывания, вход которого соединен с выходом буферного регистра А [0, 12, 19], а первый выход со вторым входом оперативного запоминающего устройства, постоянное запоминающее устройство ПЗУ, вход которого соединен со вторым выходом пятого дешифратора вектора прерывания, а выход – с шиной ВПИ модуля адаптера четырехканального асинхронного, четвертый дешифратор ДШ, два входа которого соединены соответственно с выходом А[4-6] и третьим выходом центрального процессора, асинхронные последовательные порты (АПП 0-3), два входа которых соединены соответственно с первым выходом четвертого дешифратора и шиной ВПИ D[0-7], а первый выход с одним из входов выборки модуля адаптера многоканального асинхронного, седьмой шинный формирователь, два входа-выхода которого соединены соответственно с выходом-входом ВПРИ и ВПИ, а вход с третьим входом центрального процессора, регистр ввода-вывода, три входа которого соединены с шиной ВПРИ D[0-7] и РВ_РС/РУ и первым выходом четвертого дешифратора ДШ, первый вход-выход с шиной ВПИ модуля четырехканального адаптера асинхронного, второй контроллер прерывания, шесть входов которого соединены соответственно с вторым и третьим выходами регистра ввода-вывода, вторым выходом асинхронного последовательного порта, третьим и четвертым выходами четвертого дешифратора и третьим выходом центрального процессора, а выход с вторым входом INT центрального процессора, схему задания адреса, схему сравнения адреса, три входа которой соединены соответственно с шиной ВПРИ ПДП и А[13-15] и выходом схемы задания адреса, буфер БУФ, два входа которого соединены соответственно с шиной ВПРИ MEM(R) и MEM(W), первый триггер (Т), два входа которого соединены соответственно с выходами схемы сравнения адреса и буфера, второй триггер, два входа которого соединены соответственно с выходом первого триггера и выходом генератора импульсов, а два выхода соответственно с третьим входом HOLD центрального процессора и шиной ВПРИ I/O CH RDY.
Перечень чертежей
На фиг.1 приведена структурная схема мультиплексора телекоммуникационного многофункционального.
На фиг.2 приведена структурная схема платы сопряжения.
На фиг.3 приведена структурная схема платы группового управления.
На фиг.4 приведена структурная схема модуля адаптера четырехканального асинхронного.
Пример варианта выполнения устройства
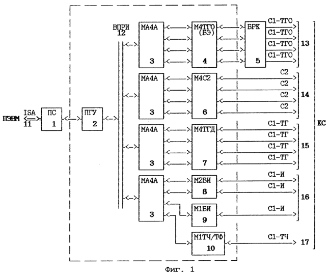
Мультиплексор телекоммуникационный многофункциональный (фиг.1) содержит плату сопряжения (ПС) 1, системный блок, в котором размещена плата группового управления (ПГУ) 2, модули адаптера четырехканальные асинхронные (МА4А) 3, модуль четырехканальный телеграфный однополярный (М4ТГ0) 4, модуль четырехканальный стыка С2 (М4С2) 6, модуль четырехканальный телеграфный двухполярный (М4ТГД) 7, модуль двухканальный биимпульсный (М2БИ) 8, модуль одноканальный биимпульсный (М1БИ). 9, модуль одноканальный телефонный (М1ТЧ/ТФ) 10 и блок регулировки и контроля (БРК) 5 в отдельном конструктиве, системную шину ISA ПЭВМ 11, внутренний параллельный интерфейс системного модуля 12, а также следующие шины подключения к каналам связи (КС): шину С1-ТГ0 подключения к телеграфным каналам связи 13, шину С2 14 подключения к физической линии, шину С1-ТГ подключения к телеграфному каналу 15, шину С1-И подключения к импульсному каналу 16, шину С1-ТЧ подключения к телефонному каналу связи 17.
Плата сопряжения (ПС) (фиг.2) содержит первый регистр(РГ) 18, первый дешифратор (ДШ) 19, первый шинный формирователь (ШФ) 20, второй шинный формирователь (ШФ) 21, шины ISA 11 и шины сопряжения с платой группового управления (ПГУ) 22.
Плата группового управления (ПГУ) (фиг.3) содержит третий шинный формирователь (ШФ) 23, четвертый шинный формирователь (ШФ) 24, первый контроллер прерываний (КПР) 25, пятый шинный формирователь (ШФ) 26, шестой шинный формирователь (ШФ) 27, второй и третий дешифраторы (ДШ) 28, 29, второй регистр(РГ) 30.
Модуль адаптера четырехканальный асинхронный (МА4А) содержит генератор импульсов (Г) 31, центральный процессор (ЦП) 32, шинный усилитель (ШУ) 33, седьмой шинный формирователь (ШФ) 34, регистр ввода-вывода (РВВ) 35, схему задания адреса (СЗА) 36, схему сравнения адреса (ССА) 37, буфер (БУФ) 38, формирователь импульсов (ФИ) 39, буферный регистр(БР) 40, восьмой шинный формирователь (ШФ) 41, четвертый дешифратор (ДШ) 42, второй контроллер прерываний (КПР) 43, первый триггер (Т) 44, оперативное запоминающее устройство (ОЗУ) 45, пятый дешифратор вектора прерываний (ДШВП) 46, постоянное запоминающее устройство (ПЗУ) 47, асинхронные последовательные порты (АПП) 48, второй триггер (Т) 49, внутренний последовательный интерфейс (ВПИ) 50.
Многофункциональный телекоммуникационный мультиплексор (далее мультиплексор) предназначен для работы в качестве “интеллектуального” многовходового телекоммуникационного порта персональной электронной вычислительной машины (ПЭВМ), используемой в режиме узловой транспортной станции в сетях передачи данных специального назначения.
Мультиплексор обеспечивает совместно с управляющей ПЭВМ взаимодействие с каналами связи в соответствии с протоколами информационного обмена физического, канального, сетевого и транспортного уровней. При этом транспортный и сетевой уровни реализуются программным обеспечением управляющей ПЭВМ. Физический и канальный уровни взаимодействия с каналами связи реализуются аппаратной частью и внутренним программным обеспечением мультиплексора.
Мультиплексор в сочетании с ПЭВМ и программным обеспечением образует транспортную станцию, обеспечивающую:
– образование специальных файлов заявок с маршрутно-адресной информацией;
– установление физических и логических соединений в сетях передачи данных;
– пересылку файлов между узловыми и абонентскими ПЭВМ в режиме коммутации сообщений с использованием контрольных точек (восстановление в случае отказов каналов связи);
– автоматический переход на резервный канал связи при отказе основного канала;
– фоновую пересылку служебных сообщений по любому из направлений с выдачей звукового сигнала о приходящей корреспонденции без остановки основного информационного обмена;
– компрессию и декомпрессию (архивацию и деархивацию) передаваемой информации;
– контроль передачи файлов по контрольному суммированию и циклическим номерам сообщений (кадров);
– ведение статической информации (журнала) с документированием имен и параметров передаваемых и принимаемых файлов и сведений о процессе их транспортирования.
В качестве программного средства управления работой мультиплексора может быть применено Телекоммуникационное программное обеспечение TS_NET РДПИ.00261-02 (свидетельство об официальной регистрации программы для ЭВМ № 2000610629), проверка функционирования мультиплексора обеспечивается тестовым программным обеспечением TS_NET РДПИ.00324-01 (свидетельство № 2000610625).
Для выполнения конкретных требований по организации связи мультиплексор может поставляться в различных вариантах исполнения, отличающихся количеством системных блоков, способом подключения к ПЭВМ, количеством направлений связи и типами обслуживаемых каналов.
Основные технические характеристики мультиплексора приведены в таблице.
| Наименование параметра |
Технические характеристики |
| Тип подключаемой ПЭВМ |
Совместимая с IBM PC |
| Тип стыка с ПЭВМ |
Шина ISA 16 (8) разрядов |
| Механизм обмена с ПЭВМ |
Двухвходовая оперативная память в разрядной сетке памяти ПЭВМ, группа обменных регистров, двухсторонний механизм прерываний |
| Номер прерывания ПЭВМ, используемый мультиплексором |
IRQ10 |
| Адресное пространство ПЭВМ, используемое мультиплексором |
D0000 – DFFFF |
| Адресное пространство I/O ПЭВМ, используемое мультиплексором |
1С0 – 1CF, 1В0 – 1BF |
| Режим передачи данных в канале связи |
Синхронный, асинхронный |
| Общее число организуемых дуплексных направлений связи |
4-32 |
| Тип линейных стыков аппаратуры передачи данных |
Стык С1-И (двухполярные посылки с избыточным перекодированием в биимпульсный сигнал); стык С1-ТГ (однополярные телеграфные посылки постоянного тока); стык С1-ТГ (двухполярные телеграфные) |
| Скорость передачи данных, обеспечиваемая линейными адаптерами |
От 50 до 9600 бит/с |
В состав мультиплексора входят:
– системный блок (блоки), предназначенный для установки модулей, платы источника электропитания;
– встраиваемые модули и платы 2-4, 6-10 предназначенные для аппаратно-программной реализации процедур телекоммуникационного обмена и обеспечения физического взаимодействия сигналами в соответствии с типами подключаемых стыков;
– плата сопряжения (ПС) 1;
– блок регулировки и контроля (БРК) 5.
В номенклатуру встраиваемых модулей и плат входят:
– плата группового управления (ПГУ) 2;
– модуль адаптера четырехканального асинхронного (МА4А) 3;
– модуль одноканальный биимпульсный (М1БИ) 9;
– модуль четырехканальный телеграфный однополярный (М4ТГ0) 4;
– модуль одноканальный телефонный (М1ТЧ/ТФ) 10;
– модуль четырехканальный телеграфный двухполярный (М4ТГД) 7;
– модуль четырехканальный стандартного стыка С2 (М4С2) 6;
– модуль двухканальный биимпульсный (М2БИ) 8.
Количество реализуемых в системном блоке направлений информационного обмена, а также число используемых системных блоков (не более трех) определятся вариантом исполнения мультиплексора.
Структура мультиплексора реализована в соответствии с модульным принципом построения и обеспечивает максимальную возможность конфигурации и адаптации устройства к условиям конкретного применения. В набор функциональных модулей, имеющихся в составе мультиплексора, входят групповые модули (модули общего назначения), модули линейного управления (линейные адаптеры) и модули преобразования сигналов.
Функциональной основой построения мультиплексора является многоуровневая микропроцессорная структура, ориентированная на выполнение многоканального информационного обмена по каналам связи и состоящая из функциональных электронных модулей, соединенных между собой интерфейсными связями.
Программно-аппаратное взаимодействие мультиплексора с управляющей ПЭВМ организовано через стандартную системную магистраль ISA ПЭВМ IBM PC AT. Информационная связь осуществляется как через оперативную память мультиплексора, размещаемую в адресной сетке процессора ЭВМ, так и через набор независимых портов ввода-вывода, доступных со стороны ПЭВМ. Запросы на информационное обслуживание, поступающие от мультиплексора, обрабатываются стандартным механизмом приоритетных прерываний ПЭВМ.
Плата группового управления ПГУ и плата сопряжения ПС с системной магистралью ПЭВМ обеспечивают взаимодействие мультиплексора с управляющей ПЭВМ и являются неизменными в любой конфигурации при подключении к ПЭВМ через ее внутренний параллельный интерфейс.
Групповые модули являются основными “интеллектуальными” элементами мультиплексора и предназначены для аппаратно-программной реализации процедур установления соединений, преобразования и контроля данных в процессе передачи и приема информации.
Модули преобразования сигналов обеспечивают физическое сопряжение линейных адаптеров (ЛА) с линейными стыками подключаемой аппаратуры передачи данных.
В структуре мультиплексора задействованы интерфейсные связи следующих типов:
– системная магистраль ISA ПЭВМ PC AT 11;
– интерфейс RS-232C ПЭВМ PC AT;
– внутренний параллельный интерфейс системного модуля (ВПРИ) 12;
– внутренний последовательный интерфейс системного модуля (ВПИ) 50;
– линейные стыки аппаратуры передачи данных 13-17.
Сигналы системной магистрали ПЭВМ транслируются в плату группового управления, осуществляющую на их основе формирование сигналов внутреннего параллельного интерфейса (ВПРИ). ВПРИ представляет собой систему электрических цепей и сигналов, включающую в себя магистрали данных, адреса, управления и электропитания, объединяющую типовые установочные места (интерфейсные соединители) платы коммутации системного блока.
Внутренний параллельный интерфейс системного модуля (ВПРИ) является упрощенным вариантом системной магистрали ISA для ПЭВМ, совместимых с IBM PC AT.
1. Групповые магистральные сигналы:
D[0-15] – магистраль данных;
А[0-19] – магистраль адреса;
ВНЕ – разрешение передачи старшего байта данных, который совместно с младшим разрядом адреса А[0] определяет формат данных, передаваемых по шине.
2. Управляющие сигналы операций обращения к памяти и портам ввода-вывода:
IOR – команда “Чтение порта”;
IOW – команда “Запись порта”;
MEMR – команда “Чтение памяти”;
MEMW – команда “Запись памяти”.
3. Сигналы общего управления ретранслируются из системной магистрали ПЭВМ:
AEN – разрешение адреса ПДП. При этом происходит логическое отключение источников адреса и команд системной шины, чтобы разрешить передачу данных по каналу ПДП;
PDP – прямой доступ памяти (ПДП);
RESET – сброс;
I/O CHR DY – готовность системной шины.
4. Специальные сигналы управления ВПРИ:
IRQ ЛА – прерывание логического адаптера;
PRQ ЛА – подтверждение обработки прерывания от логического адаптера;
ПНУ ЛА – принудительная начальная установка логического адаптера;
ПВ ЛА – принудительная выборка логического адаптера;
Т – направление передачи;
EZ – разрешение передачи.
Электрическое и логическое взаимодействие модулей адаптеров с модулями преобразования сигналов осуществляется через систему связей внутреннего последовательного интерфейса (ВПИ), аналогичного интерфейсу RS-232 с сокращенным набором цепей.
Внутренний последовательный интерфейс системного модуля (ВПИ) является упрощенным вариантом интерфейса RS-232C.
ВПИ содержит набор сигналов, соответствующий минимальной (9-контактной) номенклатуре сигналов интерфейса RS-232C:
| |
Номер цепи |
Наименование |
| 1 |
102 |
Сигнальное заземление |
| 2 |
103 |
Передаваемые данные |
| 3 |
104 |
Принимаемые данные |
| 4 |
105 |
Запрос передачи |
| 5 |
106 |
Готов к передаче |
| 6 |
107 |
АПД (аппаратура передачи данных) готова |
| 7 |
108.1 |
Присоединить АПД к линии |
| 8 |
109 |
Детектор принимаемого линейного сигнала данных |
| 9 |
125 |
Индикатор вызова |
Плата группового управления (ПГУ) предназначена для формирования групповых магистральных сигналов и специальных сигналов управления внутреннего параллельного интерфейса.
Плата сопряжения (ПС) предназначена для согласования сигналов платы группового управления (ПГУ) мультиплексора с системной магистралью ISA 11 управляющей ПЭВМ.
Основные характеристики платы сопряжения:
– шина адреса – двадцатиразрядная;
– шина данных – шестнадцатиразрядная.
Плата ПС осуществляет ретрансляцию магистральных сигналов (магистраль данных D[0-15], магистраль адреса А[0-19]), управляющих сигналов обращения к памяти и портам ввода-вывода (“MEMW”, “MEMR”, “IOW”, “IOR”), сигналов общего управления (“AEN”) и запроса прерывания (“IRQ10”).
Модуль адаптера четырехканальный асинхронный (МА4A) представляет собой специализированный микропроцессорный контроллер, предназначенный для реализации протоколов канального уровня и выполнения процедур взаимодействия с каналами связи.
Основные характеристики модуля:
| – количество обслуживаемых каналов связи |
– четыре; |
| – режим передачи данных |
– асинхронный; |
| – скорость передачи в канале связи |
– 50, 100, 200, |
| (бит/с) |
300, 600, 1200, |
| |
2400, 4800, 9600; |
| – вид работы |
– дуплексный, |
| |
полудуплексный |
Внутреннее программное обеспечение модуля хранится в программе, размещенной в ПЗУ, и состоит из двух основных частей:
– теста модуля;
– программы обслуживания канала связи.
Тест-программа включает в себя:
– проверку микропроцессора;
– проверку ОЗУ;
– проверку контроллера прерывания;
– проверку асинхронного последовательного порта по четырем каналам.
Программа обслуживания каналов связи обеспечивает:
– передачу (прием) информационных блоков в (из) канал(а) связи через асинхронные последовательные порты;
– реализацию процедур установления физического соединения;
– синхронизацию процессов информационного обмена нижнего и верхнего уровней программного обеспечения транспортной системы с организацией входных и выходных информационных буферов;
– реализацию алгоритмов помехозащищающего кодирования и исправления ошибок в информации, поступающей из канала связи.
Модуль четырехканальный стыка С2 М4С2 6 предназначен для электрического согласования цепей внутреннего последовательного интерфейса с двухполюсными цепями стандартного стыка С2 (RS-232C).
Основные характеристики модуля:
– количество подключаемых по стыку С2 внешних устройств – 4;
– количество цепей, формируемых в каждом стыке – 9;
– параметры модуля в части сопряжения со стыком С2 – по ГОСТ 23675-79.
Модуль представляет собой набор усилителей-передатчиков и усилителей-приемников, обеспечивающих преобразование однополюсных уровней ТТЛ в двухполюсные (плюс 12 В, минус 12 В) уровни стыка С2.
Уровню логической “1” в стыке С2 соответствует уровень минус 12 В, а уровню логического “0” – уровень плюс 12 В.
Модуль одноканальный телефонный М1ТЧ/ТФ 10 предназначен для сопряжения мультиплексора с арендованными и коммутируемыми телефонными каналами связи с двухпроводным и четырехпроводным окончанием.
| Основные характеристики модуля: |
|
| – подключение к мультиплексору |
– по стыку последовательного интерфейса (RS-232C); |
| – скорость работы |
– 600, 1200 бит/с; |
| – тип канала связи |
– коммутируемый телефонный с двухпроводным окончанием, арендованный с двухпроводным окончанием, арендованный с четырехпроводным окончанием; |
| – способ передачи информации в канале связи |
– асинхронный, синхронный дуплекс по четырехпроводному каналу связи, асинхронный полудуплекс по коммутируемому телефонному и арендованному каналу связи; |
| – способ модуляции дискретного сигнала |
– частотный по МККТТ v23 |
| – уровень передачи |
– в коммутируемом телефонном канале от минус 15 до 0 дб, в арендованном четырехпроводном канале от минус 43 до минус 15 дб; |
| – уровень приема |
– в коммутируемом канале от минус 43 до 0 дб, в арендованном четырехпроводном канале от минус 30 до минус 0 дб; |
| – способ набора номера в коммутируемом телефонном канале |
– импульсный; |
| – режимы работы |
– рабочий режим “ДАННЫЕ”, контрольные режимы “ШЛЕЙФ” (контроль по шлейфу со стороны интерфейса RS-232C) и |
| |
“ШЛЕЙФ УС” (контроль по шлейфу со стороны линии). |
Принцип работы модуля заключается в преобразовании логических сигналов мультиплексора в частотно-модулированные сигналы в соответствии с рекомендациями МККТТ v23 при передаче данных в канал связи и в преобразовании частотно-модулированного сигнала в логические сигналы, адаптированные для мультиплексора, при приеме данных из канала связи.
Структурно модуль состоит из следующих функциональных блоков:
– блока сопряжения по стыку С2;
– блока передатчика частотно-модулированного сигнала;
– блока приемника частотно-модулированного сигнала;
– блока сопряжения с телефонным каналом.
В состав блока сопряжения по стыку С2 входят:
– приемники, которые преобразуют сигналы по цепям “108”, “105”, “103”, имеющие параметры ТТЛ микросхем, в сигналы с параметрами микросхем с питанием 12 В, передатчики, преобразующие сигналы с параметрами, поступающими из модуля, в сигналы с параметрами ТТЛ микросхем по цепям “107”, “106”, “104”, “109”, “114”, “115”, “125”.
Передатчик частотно-модулированного сигнала состоит из кварцевого генератора, модулятора, формирователя ступенчатого сигнала и фильтра нижних частот, подавляющего побочные продукты сигнала данных. Кварцевый генератор формирует высокостабильный сигнал частотой 2400 кГц. Модулятор представляет собой переключаемый в зависимости от значения информации (цепь “103”) делитель. Коэффициент деления переключаемого делителя, кроме значения информации, определяется состоянием цепи “111”. Так при состоянии “ВКЛЮЧЕНО” цепи “111” информационному “0” соответствует коэффициент деления 143, информационной “1” – 231. изменение коэффициента деления переключаемого делителя осуществляется на периоде в 88 раз меньшем, чем период сигнала данных, что эквивалентно скачкообразной фазовой модуляции на угол от 0 до 4. Таким образом обеспечивается “безобрывность фазы” частотно-модулированного сигнала при передаче.
Ступенчатое формирование сигнала данных осуществляется на увосьмеренной частоте. Это позволяет добиться достаточного подавления побочных продуктов формирования с помощью относительно простого фильтра нижних частот. Состояние “ВЫКЛЮЧЕНО” в цепи “105” блокирует работу формирователя, а следовательно, и всего передатчика.
Приемник частотно-модулированного сигнала состоит из полосового фильтра, усилителя-ограничителя, частотного детектора последетекторного фильтра с пороговым устройством, делителя на 250 со схемой управления, детектора уровня и фильтра на частоту 2600 Гц. Полосовой фильтр выделяет сигнал данных на фоне шумов канала связи. Частотный детектор формирует сигнал логической “1” заданной длительности после любой смены полярности сигнала на выходе усилителя-ограничителя и сигнала логического “0” до следующей смены полярности. Длительность сигнала логической “1” выбрана таким образом, что при приеме сигнала со средней частотой 1700 Гц на выходе частотного детектора будет формироваться сигнал со скважностью 2, а при частоте “нажатия” и “отжатия” скважность будет меняться в сторону уменьшения и увеличения соответственно.
Последетекторный фильтр с пороговым устройством выделяет постоянную составляющую из сигнала с выхода частотного детектора и формирует асинхронную информацию приема.
Детектор уровня формирует сигнал в цепи “109”. Состояние “ВКЛЮЧЕНО” в цепи “109” поддерживается до тех пор, пока уровень принимаемого сигнала более минус 43 дб.
Блок сопряжения с каналами связи по стыку С1 состоит из двух регулируемых усилителей – передачи и приема, четырех ключей, двух согласующих трансформаторов, узла удерживания линии и набора номера, реле подключения к каналу связи, приемника сигнала ответа станции, приемника сигнала ВЫЗОВ, переключателей, с помощью которых устанавливаются различные режимы работы.
Сигнал вызова, частотой от 16 до 50 Гц, обрабатывается модулем, формируя сигнал по цепи “125”. При необходимости произвести вызов с данного модуля цепь “108” переводится в состояние “ВКЛЮЧЕНО”. При этом на вход приемника начинает поступать сигнал “Ответа станции”, переводя цепь “109” в состояние “ВКЛЮЧЕНО”. После этого можно начинать набор номера, который осуществляется по цепи “103”. Управление работой передатчика и приемника осуществляется по сигналу в цепи “105”. При включенной цепи “105” работает передатчик, и сигнал с его выхода через ключ, регулируемый усилитель и трансформатор поступает в канал связи. При выключенной цепи “105” работа передатчика блокируется, и через открывшийся ключ канал связи подключается ко входу регулируемого усилителя приема.
При работе по арендованному каналу с четырехпроводным окончанием в цепь передачи включается усилитель, передача осуществляется через трансформатор Т1, а прием – через трансформатор Т2.
Модуль одноканальный биимпульсный (М1БИ) 9 предназначен для сопряжения мультиплексора с выделенным четырехпроводным биимпульсным каналом связи, в том числе закрытым спецаппаратурой.
Модуль одноканальный биимпульсный осуществляет преобразование логических сигналов, поступающих от мультиплексора, в биимпульсный сигнал при передаче данных в канал связи и преобразование биимпульсного сигнала в логические сигналы, адаптированные для мультиплексора, при приеме данных из канала связи.
| Основные технические характеристики модуля: |
| – подключение к мультиплексору |
– по стыку последовательного интерфейса (RS-232C); |
| – скорость работы |
– 1200, 2400, 4800, 9600 бит/с; |
| – тип канала связи |
– выделенный с четырехпроводным окончанием; |
| – способ передачи информации в канале связи |
– синхронный четырехпроводный дуплекс; |
| – способ модуляции дискретного сигнала |
– двухполярные посылки с избыточным перекодированием в биимпульсный сигнал; |
| – номинальное амплитудное значение биимпульсного сигнала при передаче |
– 0,5 В; |
| – амплитудное значение биимпульсного сигнала при приеме |
– 0,05 В |
Структурно модуль состоит из следующих блоков:
– блока приемников сопряжения;
– блока передатчиков сопряжение
– блока буферного;
– блока генератора тактовой частоты с делителем;
– блока кодера биимпульсного сигнала;
– блока декодера биимпульсного сигнала;
– блока линейного передатчика;
– блока линейного приемника.
В состав блока буферного входят:
– приемники и передатчики сопряжения по стыку С2 по цепям “Ц103”, “Ц104”, “Ц106”;
– входные регистры с элементами управления для “перепривязки” асинхронной информации под синхронную тактовую частоту.
Генератор тактовой частоты представляет собой высокостабильный кварцевый генератор с делителем. При различных скоростях работы требуются различные частоты, которые получаются на выходе делителя. Коэффициент деления делителя устанавливается с помощью переключателя.
В блоке кодера биимпульсного сигнала сигнал данных преобразуется в биимпульсный сигнал. Символы “0” и “1” сигнала данных передаются в тактовом интервале двумя импульсами равной длительности и противоположной полярности. Порядок чередования полярности импульсов по сравнению с предыдущим тактовым интервалом не изменяется при передаче символа “1” и изменяется при передаче символа “0”. Биимпульсный сигнал проходит через цифровой фильтр с тем, чтобы сформировать фронты импульсов, передаваемых в линию, для исключения высокочастотных составляющих спектра сигнала. В зависимости от скорости работы производится выбор переключателем корректирующих конденсаторов.
Линейные части приемников и передатчиков обеспечивают гальваническую развязку и симметрию входных и выходных цепей модуля.
Принятый из канала биимпульсный сигнал с выхода компаратора, нормализованный под логические уровни, поступает на декодер биимпульсного сигнала.
Для правильного декодирования используется подстроечная тактовая частота. Она формируется с помощью фазовой подстройки частоты под фронты принимаемого сигнала. Декодированная информация поступает на вход передатчика буфера.
Модуль двухканальный биимпульсный (М2БИ) 8 представляет два независимых субмодуля преобразования сигналов, аналогичных модулю одноканальному биимпульсному (М1БИ) и служит для преобразования логических сигналов, поступающих от мультиплексора по стыку RS-232C, в биимпульсные сигналы при передаче данных в один из двух каналов связи и преобразование биимпульсных сигналов в логические, адаптированные для мультиплексора, при приеме данных из каналов связи.
Модуль четырехканальный телеграфный двухполярный М4ТГД 7 или модуль четырехканальный телеграфный однополярный М4ТГО 4 предназначены для сопряжения мультиплексора с четырьмя выделенными или коммутируемыми четырехпроводными каналами связи.
| Основные характеристики модуля: |
| – подключение к мультиплексору |
– по стыку последовательного интерфейса RS-232C; |
| – скорость работы |
– от 50 до 200 бит/с; |
| – количество каналов связи |
– 4; |
| – тип канала связи |
– выделенный или коммутируемый четырехпроводный; |
| – способ модуляции дискретного сигнала |
– двухполярные посылки с параметрами, соответствующими ГОСТ 22937-78, или однополярные токовые и бестоковые посылки; |
| – способ передачи информации в каждый канал связи |
– асинхронный дуплекс; |
| – значение тока при бестоковых посылках |
– не более 2 мА; |
| – значение тока при токовых посылках |
– не более 50 мА |
Принцип работы модуля заключается в преобразовании логических сигналов мультиплексора в токовые телеграфные посылки при передаче данных в каналы связи и в преобразовании токовых телеграфных посылок в логические сигналы, адаптированные для мультиплексора, при приеме данных из каналов связи.
Функционально модуль состоит из следующих блоков:
– блока связи с телеграфными каналами;
– блока преобразования сигналов стыка С2 (RS-232C) в стандартные уровни ТТЛ и обратно.
Работа модуля осуществляется под управлением входных логических сигналов “Ц105” и “Ц108”. Сочетание состояний этих сигналов определяет следующие три режима работы модуля:
1) “Ц105” – “1”, “Ц108” – “1”. Это исходный режим, при котором разрешен только прием информации из канала, рабочий ток в линии передачи отсутствует, передача информации запрещена;
2) “Ц105” – “1”, “Ц108” – “0”. Это режим готовности к передаче, при котором наряду с разрешением приема информации из канала в цепи передачи протекает рабочий ток, хотя сама передача еще запрещена;
3) “Ц105” – “0”, “Ц108” – “0”. Это рабочий режим дуплексного обмена информацией с каналами, при котором одновременно разрешены прием и передача.
Работа модуля с телеграфными каналами возможна в двух вариантах:
1) однополярном – с токовыми и бестоковыми посылками;
2) двухполярном – двухполярными импульсами в соответствии с ГОСТ 22938-78.
Изменение варианта работы осуществляется перепайкой перемычек в плате модуля.
Модуль состоит из следующих частей:
– импульсного источника питания;
– четырех однотипных приемопередающих схем для каналов 0, 1, 2, 3;
– узла связи с модулем МА4А;
– узла связи с каналом для осуществления однополярного варианта.
Импульсный источник питания модуля предназначен для выработки восьми постоянных напряжений 20 В, обеспечивающих независимое электропитание четырех узлов формирования и стабилизации тока приема и четырех узлов формирования и стабилизации тока передачи.
Приемопередающие тракты для каналов 0, 1, 2, 3 служат для приема из телеграфной линии и передачи в адаптер информационных посылок и обратно. Приемопередающие тракты для всех каналов однотипны.
Блок передатчика состоит из следующих функциональных узлов:
– схемы выработки входных сигналов формирователей посылок;
– схемы формирования положительных посылок;
– схемы формирования отрицательных посылок;
– схемы сопряжения формирователей посылок с линией;
– схемы ограничения величины тока короткого замыкания в линии.
Блок приемника состоит из следующих функциональных узлов:
– схемы приема и формирования входных сигналов;
– схемы регистрации принятых данных;
– схемы формирования выходных сигналов.
Узел связи с модулем МА4А предназначен для преобразования однополярных уровней ТТЛ сигналов адаптера группового в двухполярные импульсы плюс/минус 12 В приемопередающих трактов и обратно.
Приемопередающая схема для работы в однополярном режиме канала состоит из следующих узлов:
– линейных фильтров передачи и приема;
– линейных диодных выпрямителей передачи и приема, обеспечивающих нечувствительность схемы к полярности подключения линии;
– схем формирования и стабилизации токов передачи и приема, обеспечивающих потенциальное разделение логических и линейных цепей, управление формирователями токов и стабилизацию установленных величин токов.
Мультиплексор работает следующим образом.
Функционирование осуществляется в двух режимах:
– передачи информации от ПЭВМ в канал связи;
– приема информации из канала связи в ПЭВМ.
Передача.
Для каждого канала мультиплексора в оперативном запоминающем устройстве ОЗУ модуля адаптера четырехканального асинхронного МА4А 3 выделены два буфера на передачу и два буфера на прием. Блок информации в ПЭВМ готовится на шине ISA 11.
Из ПЭВМ блок информации помещается в буфер на передачу следующим образом. Выставляются адрес на А[0-19] шины ISA, который проходит в плату сопряжения ПС 1 через первый регистр РГ 18, третий шинный формирователь ШФ 23, анализируются разряды А[16-19] третьим дешифратором ДШ 29. При совпадении адреса с областью памяти D0000 вырабатываются сигналы CSMEM и ПДП. Сигнал CSMEM поступает в плате сопряжения на первый дешифратор ДШ 19 и разрешает работу первого шинного формирователя ШФ 20. Сигнал ПДП поступает в МА4А 3 в схему сравнения адреса ССА 37. В ССА 37 сигналы А[13-15] вместе с сигналом ПДП сравниваются со значениями, заданными в схеме задания адреса СЗА 36. При сравнении на вход D первого триггера Т 44 поступает разрешающий сигнал. ПЭВМ выставляет сигнал записи MEMW, который проходит через второй шинный формирователь ШФ 21, четвертый шинный формирователь ШФ 24, буфер БУФ 38 и поступает на вход занесения С первого триггера Т 44. На втором триггере Т 49 производится синхронизация с внутренней частотой МА4А 3, формируется запрос на прямой доступ HOLD, который поступает в центральный процессор ЦП 32. ЦП 32 завершает текущий цикл, переводит свои выходы в неактивное состояние, выставляет сигнал HLDA – подтверждение разрешения прямого доступа, который переводит буферный регистр БР 40, седьмой шинный формирователь ШФ 41 в неактивное состояние и разрешает прохождение сигналов А[0-16] через шинные усилители ШУ 33. Адрес А[0,12,19] в пятом дешифраторе вектора прерывания ДШВП 46 формирует выбор ячейки оперативного запоминающего устройства ОЗУ 45, адрес А[1-11] выбирает ячейку памяти. Данные D[0-15] проходят с шины ISA 11 через ШФ 20, ШФ 26, интерфейс ВПРИ 12, шестой шинный формирователь ШФ 34 и записываются в ОЗУ 45. Таким образом последовательно из ПЭВМ в МА4А 3 записывается весь блок на передачу. Затем центральный процессор ЦП 32 под управлением драйвера, находящегося в постоянной запоминающем устройстве ПЗУ 47, выбирает последовательно по одному байту и записывает в асинхронный последовательный порт АПП 48. АПП 48 выдает байт в последовательном коде, приформировывает биты СТАРТ и СТОП. Этот байт поступает на один из модулей преобразования сигналов (М4ТГ0 4, блок регулировки и контроля БРК 5, М4С2 6, М4ТГД 7, М2БИ 8, М1БИ 9, М1ТЧ/ТФ 10), где формируется линейный сигнал определенного типа 13-17 для передачи в канал связи.
Прием.
Информация из каналов связи КС поступает в один из модулей 4-10, где линейный сигнал вида 13-17 преобразуется в сигнал интерфейса RS-232 и поступает в асинхронный последовательный порт АПП 48, который принимает байт, выдает запрос на прерывание во второй контроллер прерывания КПР 43. КПР 43 формирует запрос на прерывание INT, который поступает в центральный процессор ЦП 32. ЦП 32 завершает текущий цикл, выдает два сигнала INTA, по которым КПР 43 выставляет номер в асинхронный последовательный порт АПП 48, от которого пришло прерывание. После этого ЦП 32 забирает байт данных из АПП 48 через внутренний последовательный интерфейс ВПИ 50, седьмой шинный формирователь ШФ 41. После приема всего блока данных ЦП 32 выставляет на четвертый дешифратор ДШ 42 адрес регистра ввода-вывода РВВ 35 и записывает в него адрес, определяя, что блок готов к передаче в ПЭВМ. РВВ 35 формирует сигнал IRQ[10], который через пятый и шестой шинные формирователи 27, 21 поступает в ПЭВМ. ПЭВМ опрашивает первый контроллер прерывания КПР 25, считывая номер МА4А 3, от которого пришло прерывание. После этого ПЭВМ считывает содержимое регистра ввода-вывода РВВ 35 и начинает прием блока данных.
ПЭВМ выставляет адрес на шину А[0-19] ISA 11, который проходит через первый регистр РГ 18 и третий шинный формирователь ШФ 23. Анализирует состояние А[16-19] в третьем дешифраторе ДШ 29. При совпадении адреса с содержимым области D0000 вырабатываются сигналы SCMEM и ПДП. Сигнал SCMEM поступает в первый дешифратор ДШ 19 и разрешает работу первого шинного формирователя ШФ 20. Сигнал ПДП поступает в МА4А 3 в схему сравнения адреса ССА 37. Содержание шины адреса А[13-15] по сигналу ПДП сравнивается в ССА 37 со значениями, заданными в схеме задания адреса СЗА 36. При сравнении на вход D первого триггера Т 44 поступает разрешающий сигнал. ПЭВМ выставляет сигнал чтения MEMR, который проходит через второй шинный формирователь ШФ 21, четвертый шинный формирователь ШФ 24, буфер БУФ 38 и поступает на вход С первого триггера Т 44. На втором триггере Т 49 производится синхронизация с внутренней частотой от генератора импульсов Г 31 МА4А 3. С выхода триггера Т 49 формируются сигналы I/О CHRDY и HOLD. Сигнал CHRDY через шестой шинный формирователь ШФ 34 поступает в ПЭВМ и задерживает цикл чтения. ЦП 32 завершает текущий цикл, выставляет сигнал HLDA, который переводит буферный регистр БР 40, седьмой шинный формирователь ШФ 41 в неактивное состояние. Сигнал HLDA разрешает прохождение шинного адреса А[0-16] через шинный усилитель ШУ 33. Адрес А[0,12,19] в пятом дешифраторе вектора прерывания ДШВП 46 формирует выбор ячейки ОЗУ 45. Адрес А[1-11] выбирает требуемую ячейку памяти. Данные D[0-15] из ОЗУ 45 через шестой шинный формирователь ШФ 34 записываются во второй регистр РГ 30 по сигналу STB BR, который формируется формирователем импульсов ФИ 39. Из РГ 30 данные D[0-15] через первый шинный формирователь ШФ 20 поступают в ПЭВМ, и цикл чтения завершается. Аналогично ПЭВМ считывает весь блок данных из модуля адаптера четырехканального асинхронного МА4А 3.
Промышленная применимость
Предложенное устройство промышленно реализуемо, обладает более широкими функциональными возможностями, позволяющими подключить к персональной ЭВМ, совместимой с IBM PC, большое число каналов связи различного типа, в том числе и оснащенных специальной аппаратурой.
Формула изобретения
1. Мультиплексор телекоммуникационный многофункциональный, построенный по модульному принципу и содержащий системный блок, в котором размещены модуль четырехканальный телеграфный однополярный (М4ТГО) для сопряжения мультиплексора с четырьмя выделенными или коммутируемыми четырехпроводными каналами связи и преобразования логических сигналов мультиплексора в токовые телеграфные посылки при передаче данных в каналы связи и преобразования токовых телеграфных посылок в логические сигналы, адаптированные для мультиплексора, при приеме данных из канала связи, модуль четырехканальный стыка С2 (М4С2) для электрического согласования однополюсных цепей внутреннего последовательного интерфейса (ВПИ) мультиплексора с четырьмя двухполюсными цепями стандартного стыка С2 (RS-232С), первая группа входов-выходов которого соединена с шинами С2 подключения к физической линии, модуль четырехканальный телеграфный двухполярный (М4ТГД) сопряжения мультиплексора с четырьмя выделенными или коммутируемыми четырехпроводными каналами связи при передаче двухполярными токовыми посылками, первая группа входов-выходов которого соединена с шинами С1-ТГ подключения к телеграфным каналам связи, модуль двухканальный биимпульсный (М2БИ) для сопряжения мультиплексора с двумя выделенными четырехпроводными биимпульсными каналами связи и преобразования логических сигналов от мультиплексора в биимпульсный сигнал при передаче данных в канал связи и обратного преобразования при приеме данных из канала связи, первая группа входов-выходов которого соединена с шинами С1-И подключения к импульсным каналам, модуль одноканальный биимпульсный (М1БИ) для сопряжения мультиплексора с четырехпроводным выделенными биимпульсным каналом связи и преобразования логических сигналов, поступающих от мультиплексора по стыку RS-232C, в биимпульсный сигнал при передаче данных в канал связи и обратного преобразования при передаче данных из канала связи, первая группа входов-выходов которого соединена с шиной С1-И подключения и биимпульсному каналу, модуль одноканальный телефонный (М1ТЧ/ТФ) для сопряжения мультиплексора с арендованными и коммутируемыми телефонными каналами связи с двухпроводным и четырехпроводным окончанием и преобразования логических сигналов мультиплексора в частотно-модулированные сигналы в соответствии с рекомендациями МККТТ v 23 при передаче данных в канал связи и в преобразовании частотно-модулированных сигналов в логические сигналы мультиплексора при приеме данных из канала связи, первая группа входов-выходов которого соединена с шиной С1-ТЧ подключения к телефонному каналу связи, а также блок регулировки и контроля (БРК) для регулирования уровня сигнала в канале связи и контроля его состояния в отдельном конструктиве, первая группа входов-выходов которого соединена с первой группой входов-выходов модуля четырехканального телеграфного однополярного (М4ТГО), а вторая группа входов-выходов – с шинами С1-ТГО подключения к телеграфным каналам связи, отличающийся тем, что мультиплексор дополнительно содержит конструктивно размещенные в системном блоке мультиплексора m модулей адаптера четырехканальных асинхронных (МА4А) для реализации протоколов канального уровня и выполнения процедур взаимодействия с четырьмя каналами связи в асинхронном дуплексном или полудуплексном режиме передачи данных, первые группы входов-выходов которых соединены через внутренний последовательный интерфейс (ВПИ) со второй группой входов-выходов модуля четырехканального телеграфного однополярного (М4ТГО), или модуля четырехканального стыка С2 (М4С2), или модуля четырехканального телеграфного двухполярного (М4ТГД), или модуля двухканального биимпульсного (М2БИ), модуля одноканального биимпульсного (М1БИ) и модуля одноканального телефонного (М1ТЧ/ТФ), плату группового управления (ПГУ) для формирования групповых магистральных сигналов и специальных сигналов управления внутреннего параллельного интерфейса (ВПРИ) и реализации процедур установления соединений, преобразования и контроля данных в процессе передачи и приема информации, первая группа входов-выходов которой соединена через шину внутреннего параллельного интерфейса (ВПРИ) с группами вторых входов-выходов m модулей адаптера четырехканальных асинхронных (МА4А), плату сопряжения (ПС) для согласования сигналов ПГУ мультиплексора с системной магистралью ISA управления ПЭВМ, конструктивно размещенную в системном блоке ПЭВМ, первая группа входов-выходов которой соединена со второй группой входов-выходов платы группового управления (ПГУ), а вторая группа входов-выходов соединена с системной шиной ISA персональной электронной вычислительной машины, совместимой с IBM PC.
2. Мультиплексор по п.1, отличающийся тем, что плата сопряжения (ПС) содержит первый регистр (РГ), вход которого соединен с шиной ISA (A[0-19]), а выход – с первым входом платы группового управления (ПГУ), первый дешифратор (ДШ), первый и второй входы которого соединены соответственно с первым (CS MEM) и вторым (CS I0) входами ПГУ, первый шинный формирователь, первая группа входов-выходов которого соединена с шиной ISA (D[0-15]), вход CS – с выходом первого дешифратора ДШ, а группа выходов D[0-15] – с соответствующими входами ПГУ, второй шинный формирователь ШФ, первая группа из пяти входов соединена с шиной ISA (MEM(R), MEM(W), IOR, IOW, AEN), шестой вход – с выходом IRQ[10] платы группового управления, пять выходов соединены с входами MEM(R), MEM(W), IOR, IOW, АЕМ платы группового управления, а шестой выход – с шиной ISA IRQ[10], цепь сигнала I/O CH RDY от ПГУ соединена с соответствующей цепью шины ISA.
3. Мультиплексор по п.1, отличающийся тем, что плата группового управления (ПГУ) содержит третий шинный формирователь, два входа которого соединены соответственно с выходами А[0-19], AEN платы сопряжения (ПС), а первый выход – с шиной ВПРИ А[13-19], четвертый шинный формирователь, четыре входа которого соединены соответственно с выходами MEM R, MEM W, IOR, IOW платы сопряжения (ПС), второй дешифратор, три входа которого соединены соответственно с первым выходом третьего шинного формирователя и двумя выходами четвертого шинного формирователя, а два выхода соответственно – с шиной ВПРИ PNU_ЛА[0-7], РВ_РС/РУ[0-7], третий дешифратор, два входа которого соединены соответственно с первым ША[0-19] и вторым AEN выходами третьего шинного формирователя, а три выхода соответственно – с шиной ВПРИ ПДП и выходами CS MEM и CS I/O платы сопряжения ПС, первый контроллер прерывания КПР, два входа которого соединены соответственно с третьим выходом второго дешифратора и шиной ВПРИ IRQ[0-7], пятый шинный формирователь (ШФ), первый вход которого соединен с шиной ВПРИ MEM W, шестой шинный формирователь (ШФ), два входа которого соединены соответственно с выходом первого контроллера прерывания и с выходом I/O CH RDY, а два выхода соответственно – с входами IRQ[10] и I/O СП RDY платы сопряжения, второй регистр прерывания РГ, три входа которого соединены соответственно со вторым выходом первого контроллера прерывания D[0-7], выходом пятого шинного формирователя D[0-15] и цепью MEM W ВПРИ, четвертым выходом четвертого шинного формирователя и MEM R ВПРИ МА4А, а выход – со входом D[0-15] платы сопряжения ПС.
4. Мультиплексор по п.1, отличающийся тем, что модуль адаптера четырехканальный асинхронный (МА4А) содержит генератор импульсов Г, центральный процессор, первый вход которого соединен с выходом генератора импульсов, буферный регистр, два входа которого соединены соответственно с шиной А[0-19] и вторым выходом центрального процессора, восьмой шинный формирователь, два входа которого соединены соответственно с шиной D[0-13] и вторым выходом центрального процессора, а вход-выход – с шиной ВПИ модуля адаптера четырехканального асинхронного, формирователь импульсов, вход и выход которого соединены соответственно со вторыми выходом центрального процессора и шиной ВПРИ STB_BR, шинный усилитель, два входа которого соединены соответственно с шиной ВПРИ А[0-16] и вторым выходом центрального процессора, а выход – с выходом буферного регистра БР, оперативное запоминающее устройство, первый вход которого соединен с выходом буферного регистра А [1-11], а выход – с шиной ВПИ модуля адаптера четырехканального асинхронного, пятый дешифратор вектора прерывания, вход которого соединен с выходом буферного регистра А[0, 12, 19], а первый выход – со вторым входом оперативного запоминающего устройства, постоянное запоминающее устройство ПЗУ, вход которого соединен со вторым выходом пятого дешифратора вектора прерывания, а выход – с шиной ВПИ модуля адаптера четырехканального асинхронного, четвертый дешифратор ДШ, два входа которого соединены соответственно с выходом А[4-6] и третьим выходом центрального процессора, асинхронные последовательные порты (АПП 0-3), два входа которых соединены соответственно с первым выходом четвертого дешифратора и шиной ВПИ D[0-7], а первый выход – с одним из входов выборки модуля адаптера многоканального асинхронного, седьмой шинный формирователь, два входа-выхода которого соединены соответственно с выходом-входом ВПРИ и ВПИ, а вход – с третьим входом центрального процессора, регистр ввода-вывода, три входа которого соединены с шиной ВПРИ D[0-7] и РВ_РС/РУ и первым выходом четвертого дешифратора ДШ, первый вход-выход – с шиной ВПИ модуля четырехканального адаптера асинхронного, второй контроллер прерывания, шесть входов которого соединены соответственно с вторым и третьим выходами регистра ввода-вывода, вторым выходом асинхронного последовательного порта, третьим и четвертым выходами четвертого дешифратора и третьим выходом центрального процессора, а выход – с вторым входом INT центрального процессора, схему задания адреса, схему сравнения адреса, три входа которой соединены соответственно с шиной ВПРИ ПДП и А[13-15] и выходом схемы задания адреса, буфер БУФ, два входа которого соединены соответственно с шиной ВПРИ MEM(R) и MEM(W), первый триггер (Т), два входа которого соединены соответственно с выходами схемы сравнения адреса и буфера, второй триггер, два входа которого соединены соответственно с выходом первого триггера и выходом генератора импульсов, а два выхода соответственно – с третьим входом HOLD центрального процессора и шиной ВПРИ I/O CH RDY.
РИСУНКИ
HE4A – Изменение адреса для переписки с обладателем патента Российской Федерации на изобретение
Новый адрес для переписки с патентообладателем:
440000, г. Пенза, ул. Байдукова, 2, ОАО “НПП “Рубин”
Извещение опубликовано: 20.07.2006 БИ: 20/2006
|