|
(21), (22) Заявка: 2004121887/28, 16.07.2004
(24) Дата начала отсчета срока действия патента:
16.07.2004
(45) Опубликовано: 27.01.2006
(56) Список документов, цитированных в отчете о поиске:
RU 2138842 С1, 27.09.1999. SU 756370 А, 15.08.1980. SU 947841 А, 30.07.1982. SU 1024889 А, 23.06.1983. GB 1583158 А, 21.01.1981. US 5860591 А, 19.01.1999.
Адрес для переписки:
620062, г.Екатеринбург, а/я 33, М.Я. Кауфману
|
(72) Автор(ы):
Питателев Владимир Александрович (RU), Свяжин Алексей Иванович (RU)
(73) Патентообладатель(и):
Питателев Владимир Александрович (RU)
|
(54) РЕГУЛЯТОР ТЕМПЕРАТУРЫ
(57) Реферат:
Изобретение относится к регулированию температуры циркулирующих сред. Регулятор температуры содержит корпус, запорный орган, термосистему с термобаллоном и устройство защиты термосистемы от перегрева. Устройство защиты выполнено в виде двух полостей с поршнями и общим штоком. Полость, сообщенная с термобаллоном, имеет поршень, диаметр которого меньше диаметра поршня другой полости. Полость, сообщенная с термобаллоном, имеет сквозное отверстие для отвода термочувствительной жидкости в случае ее заполнения. Изобретение направлено на упрощение конструкции устройства и повышение надежности в эксплуатации. 1 з.п. ф-лы, 1 ил. 
Изобретение относится к регулированию температуры циркулирующих сред, а именно – к регуляторам температуры прямого действия, которые используются для автоматического поддержания температуры горячего водоснабжения, обратной воды отопления и т.д.
Регуляторы температуры известны, например, из следующих источников: а.с. СССР № 756370, G 05 D 23/12, 1980; патент РФ № 2175142, G 05 D, 2001; свидетельство № 27431 на полезную модель РФ G 05 D 23/02, 2003.
Наиболее близким аналогом можно считать регулятор температуры а.с. СССР № 756370, G 05 D 23/12, 1980. Он содержит корпус, запорный орган, термосистему, включающую термобаллон с термочувствительной жидкостью и устройство защиты термосистемы от перегрева. Указанное устройство включает сифон, подвижный упор с толкателем, пружину, неподвижный упор, дополнительный клапан с пружиной и подвижным упором.
При температурной перегрузке под действием расширяющейся термочувствительной жидкости увеличивается объем термосистемы, что предотвращает резкий рост давления в термосистеме и препятствует ее поломке.
Однако регулятор температуры имеет недостаточно высокую эксплуатационную надежность, в виду сложности и громоздкости устройства защиты термосистемы из-за наличия пружин и большого числа механически подвижных элементов.
Изобретение направлено на создание более компактного, надежного и удобного в эксплуатации регулятора температуры с длительным сроком применения.
Технический результат, который достигается патентуемым решением, состоит в повышении эксплуатационной надежности регулятора температуры за счет упрощения устройства защиты термосистемы от перегрева.
Для обеспечения этого устройства защиты от перегрева выполнено в виде двух полостей с поршнями и общим штоком, одна из которых сообщена с термобаллоном и имеет поршень, диаметр которого меньше диаметра поршня другой полости.
При таком выполнении указанное устройство не содержит пружин и других механически взаимосвязанных элементов, что упрощает его конструкцию и повышает эксплуатационную надежность регулятора температуры.
Более простой конструкции устройства и уменьшению его размеров способствует указанное соотношение диаметров поршней полостей, поскольку для воздействия на поршень с большим диаметром требуется приложить давление во столько раз меньше, во сколько раз диаметр этого поршня больше диаметра меньшего поршня полости, сообщенной с термобаллоном.
Для повышения надежности работы регулятора путем исключения поломки термосистемы при максимальном заполнении полости устройства защиты, сообщенной с термобаллоном, эта полость имеет сквозное отверстие для отвода термочувствительной жидкости (п.2 формулы).
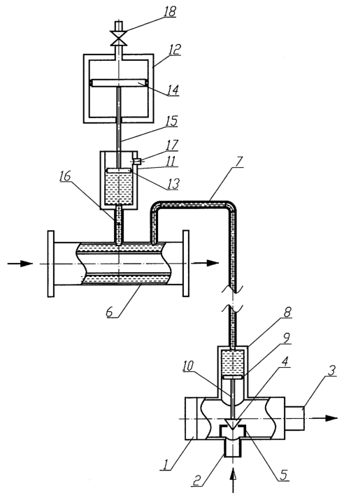
Изобретение поясняется чертежом, где показан общий вид патентуемого регулятора температуры.
Регулятор температуры содержит корпус 1 с подводящим 2 и отводящим 3 каналами, запорный орган с клапаном 4 и седлом 5, термосистему, включающую термобаллон 6 с термочувствительной жидкостью и устройством защиты термосистемы от перегрева и роста давления термочувствительной жидкости.
Термобаллон сообщен капилляром 7 с установленным в корпусе 1 силовым цилиндром 8, имеющим поршень 9 и шток 10, соединенным с клапаном 4 запарного органа.
Устройство защиты термосистемы от перегрева выполнено в виде двух полостей 11 и 12 с поршнями 13, 14 и общим штоком 15. Полость 11 сообщена с термобаллоном посредством капилляра 16, а ее поршень 13 имеет диаметр меньше, чем диаметр поршня 14 другой полости 12. Предпочтительно, чтобы диаметры поршней отличались в 1,5-30 раза.
В стенке полости 11 имеется сквозное отверстие 17 для отвода термочувствительной жидкости в случае заполнения этой полости термочувствительной жидкостью до крайнего положения ее поршня 13. Надпоршневое пространство полости 12 заполнено сжатым газом при давлении, большем атмосферного, предпочтительно 2-8 атмосфер. Рабочая среда поступает в корпус 1 регулятора через подводящий канал 2, далее дросселируется между клапаном 4 и седлом 5 и отводится по каналу 3. Температура рабочей среды воспринимается термочувствительной жидкостью термобаллона 6. При изменении температуры подводимой рабочей среды термочувствительная жидкость соответственно расширяется или сжимается, ее объем в термосистеме изменяется, что вызывает изменение проходного сечения между клапаном 4 и седлом запорного органа. При закрытии седла и в случае дальнейшего увеличения температуры рабочей среды термочувствительная жидкость расширяется, заполняет полость 11 под поршнем 13 и заставляет шток 15 с поршнями 13 и 14 перемещаться. Когда температура рабочей среды поднимается выше допустимой, термочувствительная жидкость, увеличивается, в объеме заполняет подпоршневое пространство полости 11, что предотвращает рост давления в термосистеме и ее поломку.
В случае аварийной ситуации, когда термочувствительная жидкость заполняет полость 11 до крайнего положения поршня 13, то сквозное отверстие 17 сообщается с термобаллоном и термочувствительная жидкость отводится из полости 11, исключая поломку термосистемы.
Таким образом, создан регулятор температуры относительно простой конструкции без пружин и взаимосвязанных с ним механических частей, что повышает эксплуатационную надежность регулятора при его чутком реагировании на перегрев в термосистеме и рост давления термочувствительной жидкости без поломки термосистемы.
Формула изобретения
1. Регулятор температуры, содержащий корпус, запорный орган, термосистему, включающую термобаллон с термочувствительной жидкостью и устройство защиты термосистемы от перегрева термочувствительной жидкости, отличающийся тем, что устройство защиты термосистемы от перегрева выполнено в виде двух полостей с поршнями и общим штоком, одна из которых сообщена с термобаллоном и имеет поршень, диаметр которого меньше диаметра поршня другой полости.
2. Регулятор температуры по п.1, отличающийся тем, что полость устройства защиты термосистемы от перегрева, сообщенная с термобаллоном, имеет сквозное отверстие для отвода термочувствительной жидкости в случае заполнения этой полости термочувствительной жидкостью до крайнего положения ее поршня.
РИСУНКИ
QB4A Регистрация лицензионного договора на использование изобретения
Лицензиар(ы): Питателев Владимир Александрович
НИЛ
Лицензиат(ы): Общество с ограниченной ответственностью “Уральская энергосберегающая компания “КОРАЛ”
Договор № РД0011447 зарегистрирован 22.08.2006
Извещение опубликовано: 10.10.2006 БИ: 28/2006
* ИЛ – исключительная лицензия НИЛ – неисключительная лицензия
QB4A Регистрация лицензионного договора на использование изобретения
Лицензиар(ы): Питателев Владимир Александрович
НИЛ
Лицензиат(ы): Общество с ограниченной ответственностью “Котельная машиностроительная компания “КОРАЛ”
Договор № РД0011460 зарегистрирован 22.08.2006
Извещение опубликовано: 10.10.2006 БИ: 28/2006
* ИЛ – исключительная лицензия НИЛ – неисключительная лицензия
|