|
(21), (22) Заявка: 2003125161/28, 11.08.2003
(24) Дата начала отсчета срока действия патента:
11.08.2003
(43) Дата публикации заявки: 20.02.2005
(45) Опубликовано: 27.01.2006
(56) Список документов, цитированных в отчете о поиске:
SU 1704020 A1 07.01.1992. SU 685548 A1 15.09.1979. SU 1415099 A1 07.08.1988. SU 1833006 A1 10.09.1995. SU 1284514 A1 09.11.1983. US 6321594 A 27.11.2001. SU 966548 A1 15.10.1982.
Адрес для переписки:
308015, г.Белгород, ул. Победы, 85, БелГУ, Т.М. Токтаревой
|
(72) Автор(ы):
Колесников Сергей Анатольевич (RU), Горелик Светлана Гиршевна (RU), Мясников Альберт Дмитриевич (RU), Горелик Игорь Анатольевич (RU), Денисов Илья Васильевич (RU)
(73) Патентообладатель(и):
Белгородский государственный университет (RU)
|
(54) УСТРОЙСТВО ДЛЯ ИССЛЕДОВАНИЯ СТАТИЧЕСКОЙ ПРОЧНОСТИ ЭЛАСТИЧНЫХ ПЛЕНОК ИЗ БИОМАТЕРИАЛА
(57) Реферат:
Изобретение относится к испытательной технике. Устройство состоит из корпуса, выполненного с возможностью заполнения рабочей средой, прижимного кольца, источника давления и средства для измерения давления. Корпус выполнен с возможностью герметичного закрепления прижимным кольцом образца исследуемого биоматериала, а также с возможностью погружения в рабочую среду. В качестве рабочей среды используют теплый физиологический раствор. Технический результат: простота и надежность, удобство использования устройства для исследования. 2 ил. 
Изобретение относится к испытательной технике и может быть использовано в любой отрасли для научных исследований, в частности в медицине и ветеринарии.
Известно устройство для испытания эластичных пленок, содержащее герметический цилиндрический корпус со съемным дном, соединение между ними резьбовое. Съемное дно выполнено с осевым отверстием и равномерно расположенными по окружности отверстиями в виде глухих полусферических углублений, также дно имеет кольцевую острую кромку. Устройство содержит кольцо, размещенное в корпусе соосно с отверстиями в съемном дне, при этом внутренний диаметр кольца равен диаметру отверстия в съемном дне. Кольцевой острой кромкой дна вырезают образец исследуемой пленки и при помощи кольца прижимают его ко дну, дно ввинчивают в корпус. Рабочую среду подают в корпус под давлением, в результате чего происходит выдавливание материала образца в полусферические отверстия для фиксации пленки. А о прочностных свойствах исследуемого материала судят по давлению в корпусе в момент разрыва образца (Авторское свидетельство №17004020, G 01 N 3/12, 1992 г.)
Недостатком данного устройства для испытания эластичных пленок (биоматериала) является то, что:
– в данном устройстве необходимая среда соприкасается с образцом только с одной стороны, а для точного измерения прочности различных биотканей необходимы определенные условия, являющиеся для них оптимальными, приближенными к естественным с обеих сторон. Для некоторых пленок необходим определенный газовый состав, для других – физиологическая жидкость;
– ненадежность фиксации образца, т.к. при заполнении емкости корпуса прижимное незакрепленное кольцо может сдвинуться и сместить образец, в результате не произойдет закрепления образца;
– для подачи среды под давлением необходимо иметь источник давления типа насоса;
– резьбовое соединение съемного дна и корпуса не обеспечивает достаточной герметичности, т.е. снижается точность измерений.
Техническая задача состоит в создании простого и надежного, удобного в использовании устройства для исследования статической прочности эластичных пленок из биоматериала, в том числе биологических тканей, пригодных для закрытия дефектов, например:
– для дефектов брюшной стенки – кожа, твердая мозговая оболочка, брюшина, грыжевый мешок;
– для дефектов плевральной полости – плевра.
Для достижения этого технического результата предлагается устройство для исследования статической прочности эластичных пленок из биоматериала, которое, в отличие от ближайшего аналога, имеющего кольцо для прижатия исследуемого материала без предварительного закрепления исследуемой ткани, содержит прижимное кольцо, затягиваемое скобками при помощи винтов, для герметичного закрепления исследуемого образца биоматериала, что повышает точность измерения. Емкость корпуса заполняется физиологическим раствором и в отличие от аналога имеется возможность погружения устройства в физиологический раствор с целью создания оптимальных условий для исследуемой пленки. Для повышения давления рабочей среды можно использовать любой источник давления, в том числе можно использовать грушу от аппарата для измерения артериального давления, а в качестве средства измерения давления – манометр, можно использовать также манометр от аппарата для измерения артериального давления.
Анализ патентной и технической литературы не выявил подобного устройства, что подтверждает соответствие предлагаемого технического решения критерию «новизна».
Соответствие критерию «изобретательский уровень» подтверждается:
– наличием прижимного кольца с возможностью фиксации скобками при помощи винтов до состояния герметичности, в результате достигается надежное закрепление образца, т.е. повышение точности измерения, т.к. исключается сдвиг образца.
– возможность погружения всего устройства с исследуемым материалом в рабочую среду, в результате чего также повышается точность измерений за счет того, что образец полностью находится в необходимых для исследований средах.
Благодаря вышеперечисленным признакам предлагаемое устройство для измерения статической прочности эластичных пленок позволяет экспериментально определить прочность исследуемого материала в рабочей среде.
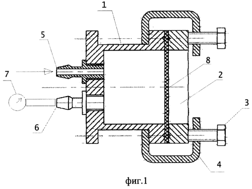
Изобретение иллюстрируется чертежами, где
на фиг.1 изображен вид устройства в сборе с исследуемым материалом,
на фиг.2 – устройство, готовое к эксперименту, с присоединенным источником давления – грушей и манометром от аппарата для измерения артериального давления.
Устройство состоит из корпуса (1), прижимного кольца (2), затягиваемого винтами (3) в скобках (4) до состояния герметичности. В днище корпуса расположены 2 штуцера (5, 6), по первому штуцеру (5) нагнетается воздух и создается давление, ко второму штуцеру (6) присоединяется манометр (7), например, от аппарата для измерения артериального давления.
Устройство работает следующим образом.
Перед установкой устройства в рабочее положение к штуцеру (5) присоединяется источник давления, к штуцеру (6) присоединяется манометр, например, от аппарата для измерения артериального давления. Емкость корпуса (1) заполняется жидкой средой или газом. На фланец корпуса (1) укладывается исследуемый материал (8), прижимается кольцом (2) и затягивается винтами (3) до обеспечения герметичности. Исследования производятся с погружением устройства с исследуемым материалом в жидкую среду, например, теплый физиологический раствор для создания необходимых условий для испытаний эластичных пленок из биологических тканей. Источник давления в аппарате создает требуемое давление, образец выдерживается под давлением определенное время. Прочность пленки определяется возможностью выдерживать требуемое давление определенное время.
Предлагаемое устройство, в частности, позволяет производить вне организма исследования на прочность эластичных пленок из биоматериала, пригодных для закрытия дефектов, например:
– для дефектов брюшной стенки – кожа, твердая мозговая оболочка, брюшина, грыжевый мешок:
– для дефектов плевральной полости – плевра.
Пример
Необходимо исследовать прочность грыжевого мешка вне организма человека. Перед установкой устройства в рабочее положение к штуцеру (5) присоединяется источник давления – груша от аппарата для измерения артериального давления, к штуцеру (6) присоединяется манометр от того же аппарата. Емкость корпуса (1) заполняется теплым физиологическим раствором (37 градусов). На фланец корпуса (1) укладывается грыжевой мешок (из 2 стенок), взятый во время операции грыжесечения. Прижимается кольцом (2) и затягивается винтами (3) до обеспечения герметичности. Исследования производят с погружением устройства с грыжевым мешком в теплый физиологический раствор для создания оптимальных условий для биологических тканей. Нагнетателем воздуха в аппарате создается давление до 300 мм рт. ст., что превышает максимально известные значения внутрибрюшного давления (по Ю.М.Стойко и С.Н.Силищеву,1989, максимальные цифры внутрибрюшного давления – 260 мм рт. ст.).
Исследование длится до 2 часов с поддержанием давления в устройстве с исследуемым материалом и температуры физиологического раствора.
Таким образом, с помощью предложенного устройства для определения статической прочности биологических тканей вне организма, в частности грыжевого мешка, можно экспериментально доказать способность последнего выдерживать внутрибрюшное давление. Следовательно, показывается возможность выполнения герниопластики многослойно с учетом морфофункциональной детерминированности мышечно-апоневротических тканей с сохранением рубцово-измененных участков мышц и апоневрозов, грыжевого мешка, создание из последнего дубликатуры и более, при необходимости использование его в качестве свободного трансплантата. Положительные качества данного метода аутопластики в том, что укрепляется передняя и задняя стенки пахового канала, сохраняется принцип использования для пластики однородных по структуре тканей, без натяжения, создается возможность использования гипотрофичных, растянутых тканей.
Предлагаемое устройство может быть использовано для исследования прочностных характеристик любых эластичных пленок (в том числе биотканей) в различных средах: жидких, газообразных и с разной степенью агрессивности.
Формула изобретения
Устройство для исследования статической прочности эластичных пленок из биоматериала, содержащее корпус с возможностью заполнения рабочей средой, прижимное кольцо, источник давления и средство для измерения давления, отличающееся тем, что корпус выполнен с возможностью герметичного закрепленния прижимным кольцом образца исследуемого биоматериала, а также с возможностью погружения в рабочую среду, в качестве которой используют, например, теплый физиологический раствор.
РИСУНКИ
MM4A – Досрочное прекращение действия патента СССР или патента Российской Федерации на изобретение из-за неуплаты в установленный срок пошлины за поддержание патента в силе
Дата прекращения действия патента: 12.08.2006
Извещение опубликовано: 20.08.2007 БИ: 23/2007
|