|
(21), (22) Заявка: 2004114663/28, 13.05.2004
(24) Дата начала отсчета срока действия патента:
13.05.2004
(45) Опубликовано: 27.01.2006
(56) Список документов, цитированных в отчете о поиске:
Методические указания. Угольники поверочные 90. Методика контроля. МИ 1799-87. М.: Изд-во стандартов, 1988, с.9-10, черт.4. RU 2187068 С2, 10.08.2002. SU 1522021 A1, 15.11.1989. SU 1753240 A1, 07.08.1992. SU 359510 A1, 01.01.1972. SU 164961 A1, 01.01.1964.
Адрес для переписки:
144005, Московская обл., г. Электросталь, ОАО “ЭЗТМ”, Начальнику патентно-информационного отдела З.С. Вольшонку
|
(72) Автор(ы):
Сорокин Александр Кузьмич (RU), Музалева Наталья Андреевна (RU), Файков Алексей Иванович (RU)
(73) Патентообладатель(и):
Открытое акционерное общество “Электростальский завод тяжелого машиностроения” (RU)
|
(54) УСТРОЙСТВО ДЛЯ ПОВЕРКИ ЦИЛИНДРИЧЕСКИХ УГОЛЬНИКОВ
(57) Реферат:
Изобретение относится к области измерительной техники, в частности к устройствам для определения отклонения от перпендикулярности измерительных поверхностей к опорным поверхностям поверочных цилиндрических угольников. Устройство содержит штатив с закрепленной на нем измерительной головкой с наконечником и упор для угольника. При этом устройство снабжено несущей штатив плитой с опорными ножками с омедненной сферической поверхностью и призматическим вырезом в качестве упора с закрепленными по его периметру наделками с контактной цилиндрической поверхностью. Измерительная головка с наконечником закреплена на штативе по оси симметрии призматического выреза с помощью хомутов и стержня между ними. Технический результат – повышение точности поверки и упрощение процесса измерения. 5 ил. 
Изобретение относится к области измерительной техники, а точнее к устройствам для определения отклонения от перпендикулярности измерительных поверхностей к опорным поверхностям поверочных цилиндрических угольников.
Угольником называется угловая мера с рабочим углом 90°, используемая в машиностроении для поверки перпендикулярности сторон детали. Цилиндрический угольник – это цилиндрический вал, у которого торец перпендикулярен образующим.
Поверка угольников осуществляется в основном методом сравнения с образцовым угольником с оценкой отклонения на просвет или по измерительной головке (см. Н.Н.Марков, Г.М.Ганевский “Конструкция, расчет и эксплуатация измерительных инструментов и приборов”, М.: Машиностроение, 1981 г., с.249-250).
Недостатком способа поверки методом сравнения с образцовым угольником с оценкой отклонения на просвет является недостаточная точность поверки, так как при измерении используются щупы с определенной толщиной, и, кроме того, при измерении просвета щупом возможно повреждение поверхности угольника гранями щупа.
Наиболее близким по технической сущности является устройство для поверки цилиндрических угольников, содержащее штатив с закрепленной на нем измерительной головкой с наконечником и упор для угольника (см. Методические указания. Угольники поверочные 90°. Методика контроля. МИ 1799-87, М., изд-во стандартов, 1988 г., с.9-10, черт.4).
В качестве упора используют цилиндрический ролик, закрепляемый струбцинами на поверочной плите. Рычажно-зубчатая измерительная головка снабжена плоским наконечником. При поверке рабочая поверхность плоского наконечника должна быть расположена параллельно образующей роликового упора. Контролируемый угольник устанавливают на поверочной плите и прижимают к упору.
Недостаток известной конструкции устройства для поверки цилиндрических угольников заключается в том, что оно не обеспечивает необходимой точности поверки в связи с тем, что сложно выдержать параллельность образующей роликового упора, закрепляемого струбциной и рабочей поверхности плоского наконечника, и при этом цилиндрический угольник не фиксируется в заданном положении.
Задача настоящего изобретения состоит в создании устройства, позволяющего повысить точность поверки и упростить процесс.
Поставленная задача достигается тем, что устройство для поверки цилиндрических угольников, содержащее штатив с закрепленной на нем измерительной головкой с наконечником и упор для угольника, согласно изобретению снабжено несущей штатив плитой с опорными ножками с омедненной сферической поверхностью и призматическим вырезом в качестве упора с закрепленными по его периметру наделками с контактной цилиндрической поверхностью, а измерительная головка с наконечником закреплена на штативе по оси симметрии призматического выреза с помощью хомутов и стержня между ними.
Такое конструктивное выполнение устройства для поверки цилиндрических угольников позволяет повысить точность поверки благодаря тому, что поверяемый цилиндрический угольник фиксируется в призматическом упоре, по оси симметрии которого расположен измерительный наконечник. При этом устройство позволяет с одной установки плиты со штативом на поверочной плите проводить поверку угольников различных диаметров.
Кроме того, устройство можно быстро собрать и разобрать, что позволяет метрологу производить поверку цилиндрических угольников непосредственно на рабочем месте.
Для пояснения изобретения ниже приводится конкретный пример выполнения изобретения со ссылкой на прилагаемые чертежи, на которых:
на фиг.1 изображено устройство для поверки цилиндрических угольников;
на фиг.2 – разрез А-А на фиг.1;
на фиг.3 – сечение Б-Б на фиг.2;
на фиг.4 – сечение В-В на фиг.1;
на фиг.5 – сечение С-С на фиг.4.
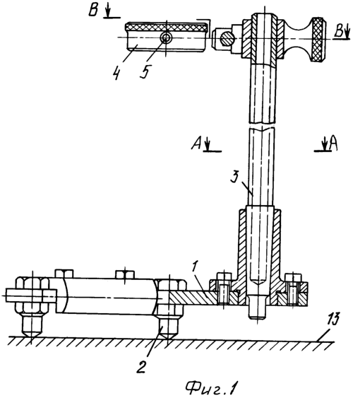
Устройство для поверки цилиндрических угольников состоит из плиты 1 с тремя опорными ножками 2 с омедненной сферической поверхностью; закрепленного на плите 1 штатива 3, на котором с возможностью перемещения смонтирована измерительная головка 4 с плоским или сферическим наконечником 5.
На плите 1 в качестве упора для цилиндрического угольника выполнен призматический вырез с закрепленными по его периметру наделками 6 с контактной цилиндрической поверхностью.
Штатив 3 установлен на плите 1 со смещением относительно оси симметрии призматического выреза. На штативе 3 смонтирован хомут 7, концы которого связаны между собой болтом 8 с барашком 9. В головке 10 болта 8 выполнено отверстие для установки стержня 11, несущего хомут 12, закрепленный на корпусе измерительной головки 4. На хомуте 12 также смонтирован наконечник 5, установленный по оси симметрии призматического выреза на плите 1 и по оси измерительной головки 4.
Для крепления устройства на поверочной плите 13 предусмотрена струбцина (не показана).
Устройство работает следующим образом.
На поверочной плите 13 укрепляют струбциной плиту 1 со штативом 3, несущим измерительную головку 4 с наконечником 5. Контролируемый угольник 14 устанавливают в призматическом вырезе плиты 1 и прижимают к цилиндрическим наделкам 6. Измерительный наконечник 5 головки 4 подводят перемещением стержня 11 к измерительной поверхности угольника 14 на расстоянии 2-3 мм от верхнего края, закрепляют положение стержня 11 барашком 9 и снимают показания измерительной головки 4. Измерения проводят не менее чем в трех диаметральных сечениях угольника. Отклонение от перпендикулярности определяют известным способом.
Предложенное устройство для поверки цилиндрических угольников по сравнению с известными позволяет повысить точность поверки.
Формула изобретения
Устройство для поверки цилиндрических угольников, содержащее штатив с закрепленной на нем измерительной головкой с наконечником и упор для угольника, отличающееся тем, что оно снабжено несущей штатив плитой с опорными ножками с омедненной сферической поверхностью и призматическим вырезом в качестве упора с закрепленными по его периметру наделками с контактной цилиндрической поверхностью, а измерительная головка с наконечником закреплена на штативе по оси симметрии призматического выреза с помощью хомутов и стержня между ними.
РИСУНКИ
|