|
(21), (22) Заявка: 2004118879/06, 22.06.2004
(24) Дата начала отсчета срока действия патента:
22.06.2004
(45) Опубликовано: 27.01.2006
(56) Список документов, цитированных в отчете о поиске:
RU 93057495 A, 27.10.1995. RU 2220381 C1, 27.12.2003. RU 2040738 C1, 25.07.1995. RU 2013712 С1, 30.05.1994. DE 4022759 A1, 16.01.1992.
Адрес для переписки:
454080, г.Челябинск, ул.Васенко, 63, ЮУТПП
|
(72) Автор(ы):
Звездин Леонид Николаевич (RU)
(73) Патентообладатель(и):
ЗАКРЫТОЕ АКЦИОНЕРНОЕ ОБЩЕСТВО “ДЕЛОВОЕ СОТРУДНИЧЕСТВО” (RU)
|
(54) ПРОТОЧНЫЙ ЭЛЕКТРОВОДОНАГРЕВАТЕЛЬ
(57) Реферат:
Изобретение относится к нагревателям текучей среды, в частности водонагревателям со средствами для получения тепла, а именно с погруженными электронагревательными элементами. Задачей изобретения являются повышение производительности за счет интенсификации теплообмена с одновременным уменьшением габаритов электроводонагревателя, улучшение технологичности за счет исключения сложных узлов герметизации. Сущность изобретения заключается в том, что проточный электроводонагреватель содержит корпус, входной и выходной патрубки. В корпусе параллельно его вертикальной оси установлен электронагревательный модуль, состоящий из кожуха, выполненного в виде замкнутой емкости, содержащей сообщающиеся полости. Емкость закреплена в корпусе посредством быстроразъемного соединения. Полости разделены перегородкой, в верхней части которой выполнено отверстие. В каждой из полостей установлены электронагревательные элементы, например, S-образной формы. Одна из полостей связана с входным патрубком, другая – с выходным. Устройство содержит также реле давления, термовыключатель закрепленные на кожухе, клеммы электропитания, светосигнальную арматуру. Входной и выходной концы каждого электронагревательного элемента герметично связаны с кожухом посредством, например, пайки. 14 з.п. ф-лы, 2 ил. 
Предлагаемое изобретение относится к нагревателям текучей среды, в частности водонагревателям со средствами для получения тепла, а именно с погруженными электронагревательными элементами.
Известен электроводонагреватель, содержащий корпус, входной и выходной патрубки, электронагревательный элемент, установленный внутри теплообменника. Теплообменник выполнен в виде замкнутой емкости, внутри которой в шахматном порядке установлено несколько электронагревательных элементов, прилегающих к стенкам емкости, датчик температуры (RU, з. №93057495, F 24 H 1/00, от 29.12.93, опубл. 27.10.95.)
Указанный электроводонагреватель выбран заявителем в качестве ближайшего аналога (прототипа).
Недостатком данного электроводонагревателя является то, что внутри замкнутой емкости теплообменника установлены в шахматном порядке и с зазором между электронагревательными элементами и датчик температуры, что предполагает довольно большие габариты емкости. Кроме того, между емкостью и корпусом электроводонагревателя имеется слой теплоизоляции, что удорожает и усложняет конструкцию.
Техническими задачами предлагаемого изобретения являются повышение производительности за счет интенсификации теплообмена с одновременным уменьшением габаритов электроводонагревателя, улучшение технологичности за счет исключения сложных узлов герметизации.
Поставленные задачи достигаются тем, что в проточном электроводонагревателе, содержащем корпус, установленный в корпусе теплообменный модуль, состоящий из кожуха в виде замкнутой емкости с трубчатым электронагревательным элементом внутри, связанной с впускным и выпускным патрубками, реле давления, термовыключатель, светосигнальную арматуру, согласно изобретению замкнутая емкость установлена параллельно вертикальной оси корпуса и содержит сообщающиеся полости, в каждой из которых установлен трубчатый электронагревательный элемент, длина которого превышает высоту замкнутой емкости, при этом одна из полостей связана с входным патрубком, а другая – с выходным.
Емкость имеет коробчатую форму.
Емкость имеет корытообразную форму.
Емкость имеет эллипсообразную форму.
Емкость имеет круглую форму.
Емкость связана с корпусом электроводонагревателя посредством разъемного соединения.
Сообщающиеся полости емкости разделены, по меньшей мере, одной перегородкой.
На перегородке выполнено, по меньшей мере, одно отверстие.
Емкость и перегородка выполнены из антикоррозийного материала.
Электронагревательный элемент выполнен S-образной формы.
Электронагревательный элемент выполнен W-образной формы.
Электронагревательный элемент выполнен V-образной формы.
Электронагревательный элемент выполнен U-образной формы.
Входной и выходной концы электронагревательных элементов герметично связаны с емкостью.
Установка емкости параллельно относительно вертикальной оси корпуса водонагревателя позволяет уменьшить его габариты по ширине.
Наличие сообщающихся полостей позволяет установить в них несколько электронагревательных элементов, что позволяет повысить производительность устройства.
Установка в полостях электронагревательных элементов, длина которых равна или больше высоты емкости, расширяет технологические и эксплуатационные возможности устройства.
Связь одной из сообщающихся полостей емкости напрямую с входным, а другой с выходным патрубками обеспечивает работоспособность устройства, кроме того, упрощаются узлы герметизации соединения.
Выполнение емкости заявляемых форм, т.е. коробчатой, корытообразной, эллипсообразной и круглой, позволяет изменять габаритные размеры электроводонагревателя в целом, что расширяет номенклатуру выпускаемых изделий.
Связь емкости с корпусом электроводонагревателя посредством быстроразъемного соединения технологично и надежно фиксирует его в корпусе.
Разделение сообщающихся полостей емкости, по меньшей мере, одной перегородкой позволяет устанавливать в них изолированно друг от друга несколько электронагревательных элементов, что повышает эффективность теплоотдачи и скорость нагрева воды.
Выполнение на перегородке, по меньшей мере, одного отверстия обеспечивает поступление воды из одной полости в другую.
Выполнение емкости и перегородки из антикоррозийного материала или материала с антикоррозионным покрытием увеличивает их срок службы.
Выполнение электронагревательных элементов заявляемых форм, т.е. S, W, V, U-образными позволяет создать номенклатурный ряд устройств с оптимальной эффективностью теплообмена и производительностью.
Обеспечение герметичной связи, например пайкой, входного и выходного концов электронагревательных элементов с емкостью технологично и позволяет обеспечить надежность соединения без применения сложных узлов герметизации.
В результате проведенных патентных исследований не выявлено технических решений, характеризующихся заявляемой совокупностью признаков, следовательно, можно предположить, что проточный электроводонагреватель соответствует критерию “новизна”. Использование совокупности отличительных признаков не выявлено из изученного уровня техники, что говорит о соответствии критерию “изобретательский уровень”. Заявляемое устройство может быть изготовлено на любом промышленном предприятии, что соответствует критерию “промышленная применимость”.
На одном из предприятий Челябинской области изготовлен и прошел испытания опытный образец устройства.
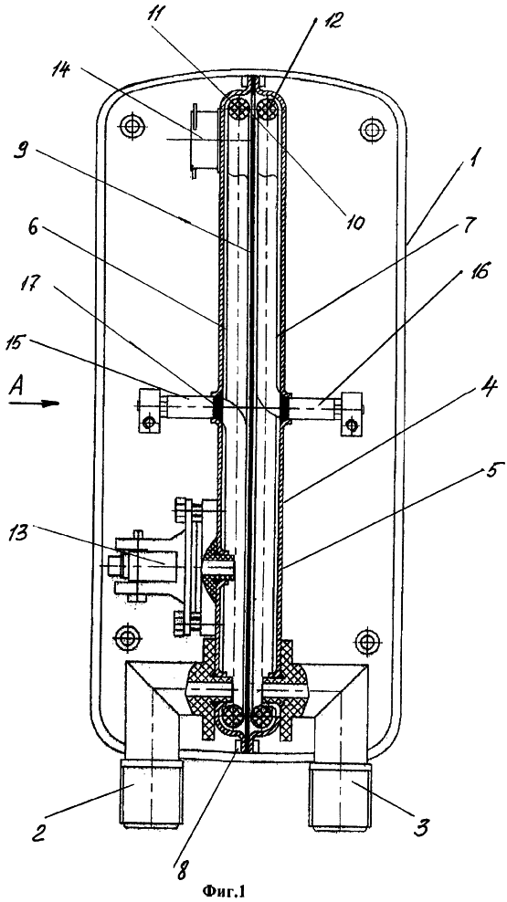
Сущность предлагаемого изобретения поясняется чертежами, где на фиг.1 – общий вид электроводонагревателя в разрезе, на фиг.2 – разрез по А-А на фиг.1.
Заявляемый электроводонагреватель содержит корпус 1, входной 2 и выходной 3 патрубки. В корпусе 1 параллельно его вертикальной оси установлен электронагревательный модуль 4, состоящий из кожуха, выполненного в виде замкнутой емкости 5, содержащей сообщающиеся полости 6 и 7. Емкость 5 закреплена в корпусе 1 посредством быстроразъемного соединения 8. Полости 6 и 7 разделены перегородкой 9, в верхней части которой выполнено отверстие 10. В каждой из полостей 6 и 7 установлены электронагревательные элементы 11 и 12, например, S-образной формы. Полость 6 связана с входным патрубком 2, полость 7 – с выходным патрубком 3. Устройство содержит также реле давления 13, термовыключатель 14, закрепленные на кожухе 5, клеммы электропитания, светосигнальную арматуру (не показано). Входной 15 и выходной 16 концы каждого электронагревательного элемента 10 герметично связаны с кожухом 5 посредством, например, пайки 17. Электропитание устройства осуществляется от сети.
Устройство работает следующим образом.
Устройство подключают к сети электропитания и входным патрубком 2 к водопроводной сети. При поступлении воды в устройство реле давления 13 срабатывает, включает микропереключатель (не показано), который замыкает электрическую сеть, включая электронагревательные элементы 11 и 12. Включается светосигнальный индикатор, информирующий потребителя о рабочем состоянии устройства. Вода, поступающая из входного патрубка 2, омывает один из электронагревательных элементов 11, установленный в одной из полостей 6, нагреваясь, поднимается вдоль перегородки 9 и через отверстие 10 попадает во вторую полость 7. Так как отверстие 10 выполнено в верхней части перегородки 9, вода омывает по всей его длине и второй электронагревательный элемент 12, установленный в полости 7, и поступает через выходной патрубок 3 потребителю. Благодаря тому, что длина электронагревательных элементов 11 и 12 значительно превышает высоту емкости 5, за счет выбора его оптимальной формы, например S-образной, можно достичь высокой производительности за счет эффективности теплообмена устройства с одновременным сокращением его габаритов по высоте. При отсутствии давления воды или при ее отсутствии в системе вообще термовыключатель 14 автоматически отключает устройство от сети.
Благодаря тому, что входной 2 и выходной 3 патрубки связаны непосредственно только с полостями емкости 5, не требуется сложных узлов герметизации между ними. А герметизация входного 15 и выходного 16 концов электронагревательных элементов, например, пайкой относительно емкости 5 также технологична.
Таким образом, заявляемое устройство технологично, надежно, обладает высокой производительностью, имеет небольшие габариты. Позволяет за счет подбора форм емкости и электронагревательных элементов удовлетворять потребности потребителей по габаритам, а также мощности устройства и производительности.
Формула изобретения
1. Проточный электроводонагреватель, содержащий корпус, установленный в корпусе теплообменный модуль, состоящий из кожуха в виде замкнутой емкости с трубчатым электронагревательным элементом внутри, связанной с входным и выходным патрубками, реле давления, термовыключатель, светосигнальную арматуру, отличающийся тем, что замкнутая емкость установлена параллельно вертикальной оси корпуса и содержит сообщающиеся полости, в каждой из которых установлен трубчатый электронагревательный элемент, длина которого превышает высоту замкнутой емкости, при этом одна из полостей связана с входным патрубком, а другая – с выходным.
2. Проточный электроводонагреватель по п.1, отличающийся тем, что емкость имеет коробчатую форму.
3. Проточный электроводонагреватель по п.1, отличающийся тем, что емкость имеет корытообразную форму.
4. Проточный электроводонагреватель по п.1, отличающийся тем, что емкость имеет эллипсообразную форму.
5. Проточный электроводонагреватель по п.1, отличающийся тем, что емкость имеет круглую форму.
6. Проточный электроводонагреватель по п.1, отличающийся тем, что емкость связана с корпусом электроводонагревателя посредством быстроразъемного соединения.
7. Проточный электроводонагреватель по п.1, отличающийся тем, что сообщающиеся полости емкости разделены, по меньшей мере, одной перегородкой.
8. Проточный электроводонагреватель по п.7, отличающийся тем, что на перегородке выполнено, по меньшей мере, одно отверстие.
9. Проточный электроводонагреватель по пп.1 и 7, отличающийся тем, что емкость и перегородка выполнены из антикоррозионного материала.
10. Проточный электроводонагреватель по пп.1 и 7, отличающийся тем, что емкость и перегородка выполнены из материала с антикоррозионным покрытием.
11. Проточный электроводонагреватель по п.1, отличающийся тем, что электронагревательный элемент выполнен S-образной формы.
12. Проточный электроводонагреватель по п.1, отличающийся тем, что электронагревательный элемент выполнен W-образной формы.
13. Проточный электроводонагреватель по п.1, отличающийся тем, что электронагревательный элемент выполнен V-образной формы.
14. Проточный электроводонагреватель по п.1, отличающийся тем, что электронагревательный элемент выполнен U-образной формы.
15. Проточный электроводонагреватель по п.1, отличающийся тем, что входной и выходной концы электронагревательных элементов герметично связаны с емкостью.
РИСУНКИ
MM4A – Досрочное прекращение действия патента СССР или патента Российской Федерации на изобретение из-за неуплаты в установленный срок пошлины за поддержание патента в силе
Дата прекращения действия патента: 23.06.2006
Извещение опубликовано: 20.08.2007 БИ: 23/2007
|