|
|
(21), (22) Заявка: 2004120594/06, 05.07.2004
(24) Дата начала отсчета срока действия патента:
05.07.2004
(45) Опубликовано: 27.01.2006
(56) Список документов, цитированных в отчете о поиске:
RU 2159890 C1, 27.11.2000. RU 2203360 C1, 27.04.2003. RU 23486 U1, 20.06.2002. RU 25563 U1, 10.10.2002. US 4494893 A, 22.01.1985. JP 59-12914, 26.03.1984.
Адрес для переписки:
453266, Республика Башкортостан, г. Салават-16, а/я 328, НПЦ “Шэрыкъ”, И.Ю. Хасанову
|
(72) Автор(ы):
Хасанов Ильмер Юсупович (RU)
(73) Патентообладатель(и):
Хасанов Ильмер Юсупович (RU)
|
(54) КАМЕРА ДЛЯ ПРОВЕДЕНИЯ РЕМОНТНЫХ РАБОТ НА ПОДВОДНОМ ТРУБОПРОВОДЕ
(57) Реферат:
Изобретение относится к строительству трубопроводного транспорта и используется при ремонте подводных трубопроводов. Камера содержит полый корпус и поворотное днище в виде усеченной цилиндрической обечайки с несущими торцевыми элементами, охватывающими трубопровод и выполненными с противоположно расположенными арочными вырезами под трубопровод, устройство поворота днища вокруг трубопровода. В корпусе расположены направляющие поворотного днища и уплотняющие элементы. Камера снабжена надстройкой, площадками обслуживания, уплотнительными и удерживающими элементами. Полый корпус выполнен в виде усеченной снизу цельной сверху цилиндрической обечайки с гибко соединенными торцевыми элементами и с основанием надстройки. Поворотное днище по направляющим элементам поворачивается внутри корпуса и охватывает трубопровод снизу, образуя полость между трубой и внутренней стенкой камеры. Корпус по обоим концам через вылеты в торцевых элементах и штанги с тросами связан с центраторами для установки и удержания камеры на трубопроводе, а уплотнительные элементы камеры снабжены узлами приема герметика. Повышает надежность проведения ремонтных работ. 4 з.п. ф-лы, 6 ил. 
Изобретение относится к области трубопроводного транспорта, а именно к ремонту подводных трубопроводов.
Известен кессон для ремонта подводных трубопроводов (пат. РФ №2203360, Е 02 В 23/00, БИ ПМ №12. Опубл. 27.04.2003), включающий камеру, состоящую из двух разъемных частей, верхней и нижней, шахту для входа водолаза с поверхности воды в камеру, сменные кольца для установки кессона на трубопровод с болтовыми соединениями, для уплотнения применена листовая резина, сменные кольца для жесткости подкреплены пластинами, камера снабжена грузоподъемными рамами и откидными площадками для обслуживания.
Недостатком известного кессона являются ненадежность конструкции из-за необходимости заводить под трубопровод нижнюю часть камеры без касаний, ударов, задиров и царапин трубопровода, отцентрировать ее по отношению к трубопроводу, отцентрировать по отношению к трубопроводу нижнюю и верхнюю части, соединить две разъемные части с уплотнениями под водой, выполняя большой объем длительных, дорогостоящих, тяжелых водолазных работ.
Наиболее близким техническим решением является устройство для проведения ремонтных работ на трубопроводе (пат. РФ №2159890, F 16 L 55/18, БИ ПМ №33, опубл. 27.11.2000), состоящее из полого корпуса с противоположно расположенными арочными вырезами с направляющими, поворотного днища, охватывающего трубопровод, устройства поворота днища, надувных уплотнительных элементов, причем поворотное днище выполнено в виде усеченной цилиндрической емкости тонкостенным, усиленным внутренними бандажами и ребрами, корпус камеры содержит самоцентрирующиеся надстройки с вложенными уплотнениями и снабжен опорными балками с поддерживающими пятами, фиксирующими талрепами и распорно-стяжными страховочными приспособлениями.
Недостатком устройства является выполнение уплотнений надувными, что не исключает опасность их прокола, разрыва и разгерметизации камеры, при нахождении и работе в ней персонала, жесткое соединение камеры с трубой сужает эксплуатационные ее возможности, не позволяет использовать ее, например, для ремонта трубопровода с врезкой катушки, поскольку при вырезке трубопровода отрезанные концы его, как правило, смещаются, устройство также невозможно применять для ремонта трубопроводов, проложенных в значительных глубинах.
Задача предлагаемого изобретения заключается в повышении надежности и технических возможностей камеры для проведения ремонтных работ на подводном трубопроводе при значительном уменьшении времени, финансовых, материальных и трудовых затрат, безопасности и облегчении условий работы персонала по техническому обслуживанию и ремонту подводного трубопровода.
Технический результат достигается за счет того, что в камере для проведения ремонтных работ на подводном трубопроводе, содержащей полый корпус и поворотное днище в виде усеченных цилиндрических обечаек с несущими торцевыми элементами, охватывающими трубопровод, выполненными с противоположно расположенными арочными вырезами под трубопровод, устройство поворота днища вокруг трубопровода, в корпусе расположены направляющие, поворотное днище и уплотняющие элементы, кроме того, камера снабжена надстройкой, площадками обслуживания, уплотнительными и удерживающими элементами, согласно изобретению полый корпус выполнен в виде усеченной снизу цилиндрической обечайки с гибко соединенными торцевыми элементами и с основанием надстройки, торцевые элементы поворотного днища выполнены также соединенными гибко, ответно корпусным, поворотное днище по направляющим элементам, расположенным на днище, поворачивается внутри корпуса и охватывает трубопровод снизу, образуя полость между наружной поверхностью трубопровода и внутренней поверхности камеры, уплотнения между трубопроводом, корпусом и поворотным днищем и между днищем и корпусом применены манжетные, причем продольные манжетные уплотнения выполнены подтапливаемыми перед поворотом днища и расположены так, что элементы привода не разрывают целостность манжетного уплотнения, корпус через вылеты на торцевых элементах и направляющие штанги с тросами связан с центраторами для установки камеры на трубопроводе, а также снятия эллипсности трубопровода в зоне арочных вырезов, уплотнительные элементы камеры в местах перехода от продольных в радиальные и от радиальных в кольцевые снабжены узлами приема герметика.
Надстройка в виде разъемной шахты обслуживания, разделенная на части для техоснастки и для перемещения обслуживающего персонала, снабжена площадкой обслуживания с вентиляционным и насосным оборудованием, линиями воздухообмена, опорожнения и промывки, подачи герметика и энергии, а привод устройства поворота днища расположен на наружной поверхности корпуса, а на поворотном днище установлены зацепы для ее реверсивного поворота и удержания по отношению к корпусу, передача может быть зубчатой или другой, а привод гидравлическим или взрывозащищенным электрическим, причем расположение привода и зацепов может быть заменено местами, т.е. выполнены и в обратном исполнении.
Корпус, торцевые элементы и поворотное днище выполнены толстостенными, опоры выполнены с гидравлическим приводом с необходимой регулировкой, а торцевые элементы выполнены полусферическими, эллиптическими, плоскими отбортованными или плоскими. Сечение шахты обслуживания может быть эллиптическое, круглое или другой формы, а шахта – состоящей из одной или нескольких царг, соединенных между собой герметично любым из известных способов, причем размеры основания надстройки и сечения шахты выбирают, исходя из размеров заменяемой ремонтной катушки. Масса камеры с надстройками и оснасткой должна быть выбрана с учетом архимедовой силы выталкивания и отбаллансирована по отношению к оси трубопровода.
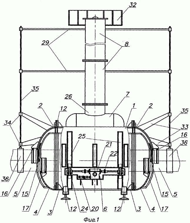
На фиг.1, фиг.2 изображен общий вид ремонтной камеры на трубопроводе, на фиг.3 показано гибкое соединение торцевых элементов, на фиг.4 показана зубчатая передача, на фиг.5 показано устройство подтопления продольного манжетного уплотнения, на фиг.6 показана шахта сверху.
Камера для проведения ремонтных работ содержит полый корпус 1 с торцевыми элементами 2 и поворотное днище 3 с торцевыми элементами 4, охватывающие трубопровод 5. На корпусе 1 установлен привод 6, основание 7 шахты обслуживания 8, продольные уплотнительные манжеты 9 с устройствами подтопления 10, гибкое соединение 11 торцевых элементов 2, опоры 12, регулирующие положение камеры по отношению к трубопроводу и удерживающие камеру на палубе, транспортном средстве и трубопроводе в заданном положении с гидравлическими приводами. Поворотное днище 3 содержит зацепы 13, гибкое соединение 14 торцевых элементов 4. Торцевые элементы 2 корпуса 1 и торцевые элементы 4 поворотного днища 3 уплотнены между собой манжетами 15, между корпусом 1 и поворотным днищем 3 манжеты 9, спаренные манжетные уплотнения 16 расположены между корпусом 1 и трубопроводом 5, аналогично между поворотным днищем 3 и трубопроводом 5 установлены внутренние спаренные манжетные уплотнения 17.
Между корпусом 1 и основанием 18 подтапливаемой продольной манжеты 9 установлены аналогичные продольные манжеты 19.
Привод 6 днища 3 в показанном варианте исполнения содержит двигатель 20, редуктор 21, муфты 22, валы 23, звездочки 24 (фиг.4) передачи и изолирующую крышку 25 с уплотнениями. Направляющие элементы представляют собой установленные на корпусе 1 звездочки 24, входящие в зацепление с зацепами 13. Основание 7 шахты обслуживания 8 копирует форму корпуса и имеет размеры, обеспечивающие операции с ремонтной катушкой (не показана).
На верхней части основания 7 находится патрубок 26 с ответным соединительным элементом. Шахта обслуживания 8, которая представляет собой одну или несколько царг 28, герметично соединенных между собой, снабжены вылетами 29. В сечении шахта разделена на отсеки 30 и 31.
Отсек 30 служит для расположения линий: подачи энергии и герметика, воздухообмена, откачки и закачки воды (пульпы).
Отсек 31 служит для перемещения обслуживающего персонала, инструментов, материалов и оборудования. На верхней царге шахты установлена площадка обслуживания 32, а в самой камере расположены навесные и настилаемые на поворотное днище площадки обслуживания (не показаны) для проведения ремонтных работ на трубопроводе.
Для точной установки камеры на трубопровод она снабжена 4 гидравлическими опорами 12.
Для направленного спуска камеры на заданный участок трубопровода 5 она снабжена спаренными вылетами 33, имеющими направляющие 34 под штанги 35 с канатами, соединенные с установленными на трубопровод 5 с обеих сторон ремонтируемого участка самооткрывающимися центраторами 36, связанными при помощи штанг с канатами держателями (не показано), расположенными на вылетах, находящихся на палубе обслуживающего плавсредства, камера должна быть отбаллансирована относительно оси трубопровода в заводских условиях.
Монтаж камеры для проведения ремонтных работ на участок подводного трубопровода осуществляют следующим образом.
При помощи крана, установленного на плавсредстве, центраторы 36, соединенные со штангами с канатом, опускают на трубопровод 5 и устанавливают их по концам на ремонтируемый участок на расстоянии, равном длине камеры с учетом длины вылетов 29, 33. Камеру с плавсредства строповкой при помощи грузоподъемного механизма по штангам с канатами, установленным между центраторами 36 на трубопроводе 5 и держателями, расположенными на вылетах на палубе плавсредства, опускают на трубопровод и устанавливают соосно оси трубопровода на гидравлические опоры 12. В ходе операции спуска камеры в воду, при необходимости, постепенно наращивают шахту обслуживания 8 царгами 28 до посадки камеры на трубопровод, обеспечив расположение площадки обслуживания 32 на палубе плавсредства. Одновременно наращивают длины линий подачи: энергии, воздухообмена, герметика, откачки и закачки воды (пульпы) до выхода их на обслуживающую площадку.
Если окажется большая овальность трубы на месте установки камеры – нет концентричности дуг арочных вырезов корпуса и днища с поверхностью трубопровода, устанавливают камеру на гидравлические опоры 12 и при помощи центраторов снимают эллипсность трубопровода в зоне контактов спаренных уплотнений 16, 17. Затем по команде водолаза оператор включает двигатель 20 устройства поворота днища 3 и днище совершает полный охват трубы до касания продольного торца с выступом на корпусе, что фиксируется концевыми выключателями, при этом установленные манжетные уплотнения, кроме продольных, ложатся на свои места. Затем приводят в действие устройства подтопления продольных уплотнительных манжет 9 и 19 и они выводятся из подтопленного состояния до контакта с поверхностью поворотного днища. Во все стыки между манжетными уплотнениями подают прессом герметик (не показаны) и выдерживают его до схватывания.
Затем откачивают из камеры и обслуживающей шахты воду (пульпу) при постоянном контроле за состоянием уплотнения в камере. При отсутствии утечек (или небольших утечках) снова промывают камеру, вентилируют, подают свет и свежий воздух, установив вентиляционный режим. Готовят трубопровод к ремонту, для чего в шахте устанавливают (при необходимости) лифт и ремонтное оборудование.
Ремонт ведут согласно действующих инструкций.
После окончания ремонта в обратной последовательности шахту и камеру разбирают и консервируют для дальнейшего использования.
Ремонтные работы на подводных трубопроводах в настоящее время с использованием аналогичных камер не ведут, так как подготовка ремонтного котлована на водных объектах не отработана. Обычно производят замену вышедшего из строя трубопровода, то есть прокладывают новый трубопровод, что трудоемко и дорогостояще.
Предлагаемая камера позволяет проводить ремонтные работы на подводном трубопроводе, а не прокладывать новый трубопровод, выбросив старый, который бывает иногда большой протяженности, следовательно, дорогостоящим. Техническое обслуживание и ремонт подводного трубопровода с применением ремонтной камеры описанной конструкции значительно упрощается, повышается надежность подводного трубопровода. Камера работоспособна, может быть применима и при работах на трубопроводах, проложенных в различных водных объектах и глубинах.
Формула изобретения
1. Камера для проведения ремонтных работ на подводном трубопроводе, содержащая полый корпус и поворотное днище в виде усеченной цилиндрической обечайки с несущими торцевыми элементами, охватывающие трубопровод, выполненные с противоположно расположенными арочными вырезами под трубопровод, устройство поворота днища вокруг трубопровода, в корпусе расположены направляющие поворотное днище и уплотняющие элементы, кроме того, камера снабжена надстройкой, площадками обслуживания, уплотнительными и удерживающими элементами, отличающаяся тем, что полый корпус выполнен в виде усеченной снизу, цельной сверху цилиндрической обечайки с гибко соединенными торцевыми элементами и с основанием надстройки, торцевые элементы поворотного днища выполнены также соединенными гибко, ответно корпусным, поворотное днище по направляющим элементам поворачивается внутри корпуса и охватывает трубопровод снизу, образуя полость между трубой и внутренней стенкой камеры, уплотнения между трубопроводом, корпусом и поворотным днищем и между днищем и корпусом предусмотрены манжетные, причем продольные манжетные уплотнения выполнены подтапливаемыми перед поворотом днища и расположены так, что элементы привода не разрывают манжетные уплотнения, корпус по обоим концам через вылеты в торцевых элементах и штанги с тросами связан с центраторами для установки и удержания камеры на трубопроводе, а также для снятия эллипсности трубопровода в зоне арочных вырезов, уплотнительные элементы камеры в местах перехода от продольных в радиальные и от радиальных в кольцевые снабжены узлами приема герметика.
2. Камера по п.1, отличающаяся тем, что надстройка в виде разъемной шахты обслуживания, состоящая из части для техоснастки и части для перемещения обслуживающего персонала, снабжена площадкой обслуживания с вентиляционным и насосным оборудованием, линиями воздухообмена, опорожнения и промывки, подачи герметика и энергии.
3. Камера по п.1, отличающаяся тем, что привод устройства поворота днища расположен на наружной поверхности корпуса, а на поворотном днище установлены зацепы для ее реверсивного поворота и удержания по отношению к корпусу, передача может быть зубчатой или другой, а привод – гидравлическим или взрывозащищенным электрическим, причем расположения привода и зацепов могут быть выполнены и в обратном исполнении.
4. Камера по п.1, отличающаяся тем, что корпус, торцевые элементы и поворотное днище выполнены толстостенными, опоры выполнены с гидравлическим приводом с необходимой регулировкой, а торцевые элементы – полусферическими, эллиптическими или плоскими.
5. Камера по пп.1 и 2, отличающаяся тем, что сечение шахты обслуживания может быть круглое или другой формы, а шахта – состоящей из одной или нескольких царг, соединенных между собой герметично любым из известных способов, причем размеры основания надстройки и сечения шахты выбирают исходя из размеров заменяемой ремонтной катушки.
РИСУНКИ
|
|